Research and Development of Automatic Monitoring System for Livestock Farms
Abstract
1. Introduction
2. Overview of the System Architecture
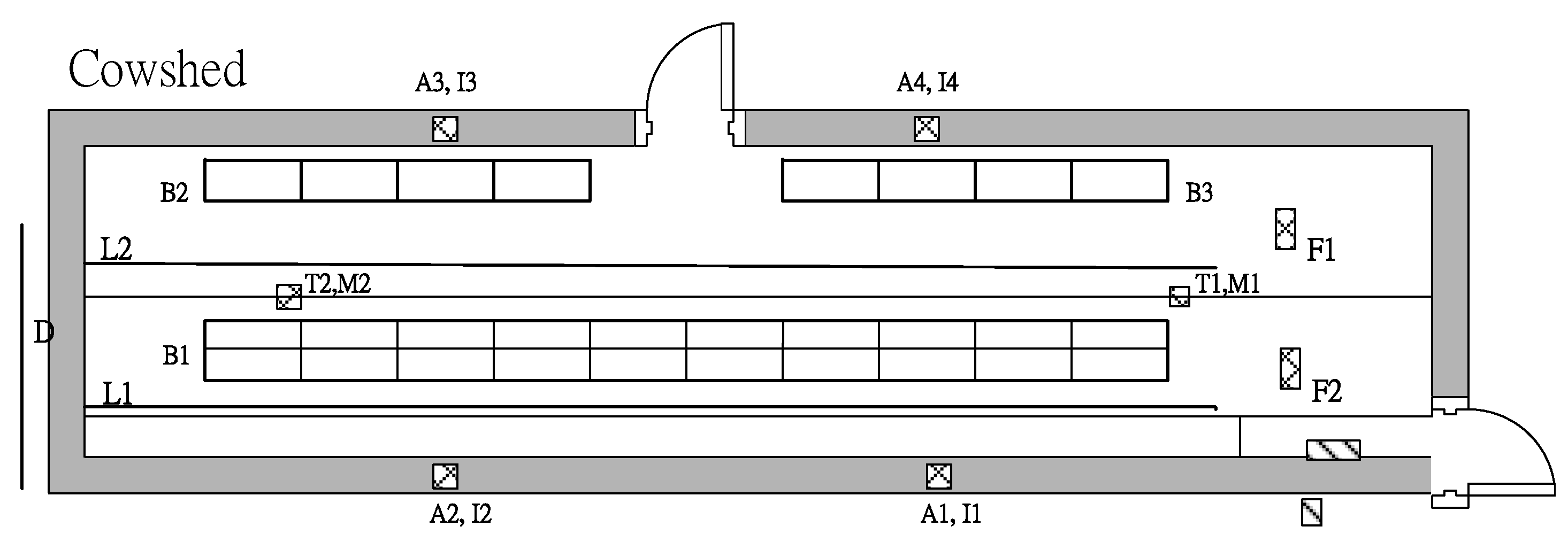
2.1. Experimental Environment
2.2. Experimental Hardware Architecture
2.3. Experimental Software Architecture
3. Research Process
3.1. Planning and Implementation of the Hardware for the Automatic Monitoring System of Livestock Farms
3.2. Installation of Environmental Sensors and Communication Equipment
3.3. Data Retrieving and Analysis
4. Results and Discussions
- 1.
- The Correlations Between Lactation Yield and Season
- 2.
- The Correlation Between Lactation Yield and Short-term Temperature Changes
- 3.
- The Correlation Between Lactation Yield and Temperature-Humidity Under Moderate Heat Stress Status
- 4.
- The Correlation Between Lactation Yield and Apparent Temperature
- 5.
- Differences in Lactation Yield Between Morning and Afternoon
- 6.
- The pig barns were far away from the office, and there were many obstacles such as farmhouses and trees. Though a wireless relay was set up between the pig barns and office, the data retrieving for the environmental status data in pig barns were unstable, especially under bad weather.
5. Conclusions and Prospects
Author Contributions
Funding
Acknowledgments
Conflicts of Interest
References
- National Development Council of Taiwan R.O.C. Population Projections for the R.O.C. (Taiwan): 2018~2065, Demographic Fact Book R.O.C.; National Development Council of Taiwan: Taipei, Taiwan, 2018; ISBN 978-986-05-6645-1.
- Park, D.H.; Park, J.W. Wireless Sensor Network-Based Greenhouse Environment Monitoring and Automatic Control System for Dew Condensation Prevention. Sensors 2011, 11, 3640–3651. [Google Scholar] [CrossRef] [PubMed]
- Kevin, K.; Gifford, K.K.; Kuzminsky, S.; Williams, S. An Integrated Architecture for Advanced Environmental and Physiological Monitoring. In Proceedings of the 35th International Conference on Environmental Systems (ICES), Rome, Italy, 11–14 July 2005. [Google Scholar]
- Tzounis, A.; Katsoulas, N.; Bartzanas, T.; Kittas, C. Internet of Things in agriculture, recent advances and future challenges. Biosyst. Eng. 2017, 164, 31–48. [Google Scholar] [CrossRef]
- Potdar, M.; Wani, S. Wireless Sensor Network in Vehicles; SAE Technical Paper 2015-01-0241; SAE International: Troy, NY, USA, 2015. [Google Scholar] [CrossRef]
- Srivastava, J.R.; Sudarshan, T.S.B. Intelligent traffic management with wireless sensor networks. In Proceedings of the 2013 ACS International Conference on Computer Systems and Applications (AICCSA), Ifrane, Morocco, 27–30 May 2013; pp. 1–4. [Google Scholar] [CrossRef]
- Minaie, A.; Sanati-Mehrizy, A.; Sanati-Mehrizy, P.; Sanati-Mehrizy, R. Application of Wireless Sensor Networks in Health Care System. In Proceedings of the 120th ASEE Annual Conference & Exposition, Atlanta, GA, USA, 23–26 June 2013. [Google Scholar]
- Lazarescu, M.T. Design of a WSN Platform for Long-Term Environmental Monitoring for IoT Applications. IEEE J. Emerg. Sel. Top. Circutts Syst. 2013, 3, 45–54. [Google Scholar] [CrossRef]
- Cai, K.; Tie, F.; Huang, H.; Lin, H.; Chen, H. Innovative Experimental Platform Design and Teaching Application of the Internet of Things. iJOE 2015, 11, 28–32. [Google Scholar]
- Wang, J.; Niu, X.; Zheng, L.; Zheng, C.; Wang, Y. Wireless Mid-Infrared Spectroscopy Sensor Network for Automatic Carbon Dioxide Fertilization in a Greenhouse Environment. Sensors 2016, 16, 1941. [Google Scholar] [CrossRef] [PubMed]
- Akkaşa, M.A.; Sokullu, R. An IoT-based Greenhouse Monitoring System with Micaz Motes. Procedia Comput. Sci. 2017, 113, 603–608. [Google Scholar] [CrossRef]
- Akyildiz, I.F.; Melodia, T.; Chowdhury, K.R. A survey on wireless multimedia sensor networks. Comput. Netw. 2007, 51, 921–960. [Google Scholar] [CrossRef]
- Su, Y.S. Establishment of Environment Monitoring System for Plant Factory. Master’s Thesis, Department of Biomechatronic Engineering, National Chiayi University, Chiayi, Taiwan, 2012. [Google Scholar]
- Chen, S.N. The Design of Multi-Platforms Cloud Environmental Control Systems. Master’s Thesis, Department of Biomechatronic Engineering, National Pingtung University of Science and Technology, Neipu, Taiwan, 2013. [Google Scholar]
- Chang, C.L. Design and Implementation of a High-Efficiency and Energy-Saving IoT Platform for Agricultural Applications. Master’s Thesis, Department of Biomechatronic Engineering, National Pingtung University of Science and Technology, Neipu, Taiwan, 2017. [Google Scholar]
- Wang, S.H.; Lee, K.H.; Chen, J.Y.; Chiang, C.C.; Lan, W.W.; Kuo, S.Y.; Chang, C.L. Application of radio frequency identification technology on the management of dairy farm. Taiwan Livestock Res. 2014, 47, 251–260. [Google Scholar]
- Edwards Murphy, F.; Popovici, E.; Whelan, P.; Magno, M. Development of an heterogeneous wireless sensor network for instrumentation and analysis of beehives. In Proceedings of the 2015 IEEE International Instrumentation and Measurement Technology Conference (I2MTC) Proceedings, Pisa, Italy, 11–14 May 2015; pp. 346–351. [Google Scholar]
- Asikainen, M.; Haataja, K.; Toivanen, P. Wireless indoor tracking of livestock for behavioral analysis. In Proceedings of the 2013 9th International Wireless Communications and Mobile Computing Conference, IWCMC, Sardinia, Italy, 1–5 July 2013; pp. 1833–1838. [Google Scholar] [CrossRef]
- Spink, A.; Cresswell, B.; Koelzsch, A.; Langevelde, F.; Neefjes, M.; Noldus, L.; Oeveren, H.; Prins, H.; van der Wal, T.; de Weerd, N.; et al. Animal behaviour analysis with GPS and 3D accelerometers. In Proceedings of the European Conference on Precision Livestock Farming, Leuven, Belgium, 10–12 September 2013; pp. 229–239. [Google Scholar]
- Llario, F.; Sendra, S.; Parra, L.; Lloret, J. Detection and protection of the attacks to the sheep and goats using an intelligent wireless sensor network. In Proceedings of the 2013 IEEE International Conference on Communications Workshops, Budapest, Hungary, 9–13 June 2013; pp. 101–1019. [Google Scholar]
- Parra, L.; Sendra, S.; García, L.; Lloret, J. Design and deployment of low-cost sensors for monitoring the water quality and fish behavior in aquaculture tanks during the feeding process. Sensors 2018, 18, 750. [Google Scholar] [CrossRef] [PubMed]
- Loreti, P.; Catini, A.; Luca, M.D.; Bracciale, L.; Gentile, G.; Natale, C.D. Ultra Low Power Wireless Sensor Network for Pink Iguanas Monitoring. Proceedings 2018, 2, 978. [Google Scholar] [CrossRef]
- Qi, L.; Zhang, J.; Mark, X.; Fu, Z.; Chen, W.; Zhang, X. Developing WSN-based traceability system for recirculation aquaculture. Math. Comput. Modell. 2011, 53, 2162–2172. [Google Scholar] [CrossRef]
- Ugurlu, M.; Teke, B.; Akdag, F.; Arslan, S. Effect of Temperature-Humidity Index, Cold Stress Index and Dry Period Length on Birth Weight of Jersey Calf. Bulgarian J. Agric. Sci. 2014, 20, 1227–1232. [Google Scholar]
- ICP DAS CO., LTD. RFU-400/RFU-433 User Manual; ICP DAS CO.: Hsinshu, Taiwan, 2017. [Google Scholar]
- Mitsubishi CO., LTD.v. FX3S·FX3G·FX3GC·FX3U·FX3UC Series User Manual [MODBUS Communication]; Mitsubishi Electric Corporation: Tokyo, Japan, 2014; pp. 87–113. [Google Scholar]
- Ahirwar, M.K.; Kataktalware, M.; Prasad, K.; Pal, R.P.; Barman, D.; Thul, M.; Rawat, N. Effect of Non-Genetic Factors on Semen Quality in Bulls: A review. J. Entomol. Zool. Stud. 2018, 6, 38–45. [Google Scholar]
- Steadman Robert, G. A universal scale of apparent temperature. J. Climatol. Appl. Meteorol. 1984, 23, 1674–1687. [Google Scholar] [CrossRef]
- Yano, M.; Shimadzu, H. Modelling temperature effects on milk production: a study on Holstein cows at a Japanese farm. Springerplus 2014, 3, 129. [Google Scholar] [CrossRef] [PubMed]
- Summer, A.; Lora, I.; Formaggioni, P.; Gottardo, F. Impact of heat stress on milk and meat production. Anim. Front. 2018, 9, 39–46. [Google Scholar] [CrossRef]
- West, J.W. Effects of Heat-Stress on Production in Dairy Cattle. J. Dairy Sci. 2003, 86, 2131–2144. [Google Scholar] [CrossRef]
- Joksimović-Todorović, M.; Davidović, V.; Hristov, S.; Stanković, B. Effect of Heat Stress on Milk Production in Dairy Cows. Biotechnol. Anim. Husb. 2011, 27, 1017–1023. [Google Scholar] [CrossRef]


















| Device name (product model) | Supplier |
|---|---|
| PLC 1 (FX3U-32MR) | Mitsubishi Electric CO., Tokyo Japan |
| Left communication module (FX3U-485ADP-MB) | Mitsubishi Electric CO., Tokyo Japan |
| HMI 2 (EC210-CT1H) | Shihlin Electric CO., Taipei Taiwan |
| Wireless modem (RFU-400) | ICP DAS CO., Hsinshu Taiwan |
| PC 3 (DESKTOP - R8C395T) | ASUS CO., Taipei Taiwan |
| Device name (product model) | Supplier |
|---|---|
| PLC 1 (FX3U-32MR) | Mitsubishi Electric CO., Tokyo Japan |
| Left communication module (FX3U-485ADP-MB) | Mitsubishi Electric CO., Tokyo Japan |
| Wireless modem (RFU-400) | ICP DAS CO., Hsinshu Taiwan |
| Temperature & humidity sensor (EYC-THS307) | YUDEN-TECH CO., New Taipei Taiwan |
| Aviation plug - Wind speed sensor (CWS-013A) | JETEC Electronics CO., Taipei Taiwan |
| Photo sensor (LXT-401S) | Rixen Technology CO., New Taipei Taiwan |
| THI | Stress Level | Symptoms in Cattle |
|---|---|---|
| THI 1 < 72 | None | Optimum productive and reproductive performance |
| 72 ≤ THI < 79 | Mild | Dairy cows seek for shade, increase inrespiration rate and dilation of blood vessels |
| 80 ≤ THI < 89 | Moderate | Increase in respiration rate and saliva secretion. Reduction in feed intake and water consumption. Body temperature is increased and reproductive performances are severely affected in cattle |
| 90 ≤ THI < 98 | Severe | There is rapid increase in respiration and excessive saliva production. The reproductive performances in animals are significantly decreased |
© 2019 by the authors. Licensee MDPI, Basel, Switzerland. This article is an open access article distributed under the terms and conditions of the Creative Commons Attribution (CC BY) license (http://creativecommons.org/licenses/by/4.0/).
Share and Cite
Chen, C.-S.; Chen, W.-C. Research and Development of Automatic Monitoring System for Livestock Farms. Appl. Sci. 2019, 9, 1132. https://doi.org/10.3390/app9061132
Chen C-S, Chen W-C. Research and Development of Automatic Monitoring System for Livestock Farms. Applied Sciences. 2019; 9(6):1132. https://doi.org/10.3390/app9061132
Chicago/Turabian StyleChen, Chin-Shan, and Wei-Cheng Chen. 2019. "Research and Development of Automatic Monitoring System for Livestock Farms" Applied Sciences 9, no. 6: 1132. https://doi.org/10.3390/app9061132
APA StyleChen, C.-S., & Chen, W.-C. (2019). Research and Development of Automatic Monitoring System for Livestock Farms. Applied Sciences, 9(6), 1132. https://doi.org/10.3390/app9061132
