Experimental and Parametric Study on the Pull-Out Resistance of a Notched Perfobond Shear Connector
Abstract
:1. Introduction
2. Pull-Out Test
2.1. Test Program
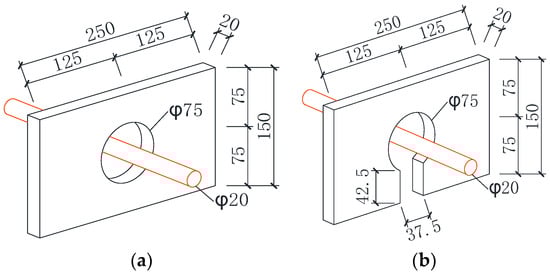
2.2. Specimen Layout
2.3. Details of Perfobond Ribs
2.4. Material Properties
2.5. Test Setup and Instrumentation
3. Test Results and Analysis
3.1. Failure Mode
3.2. Load–Separation Behavior
3.3. Pull-Out Mechanism
4. Finite Element Analysis
4.1. General
4.2. Finite Element Type and Mesh
4.3. Interaction and Boundary Conditions
4.4. Material Constitution of Concrete
4.5. Material Constitution of Steel
4.6. Verification of Finite Element Model
5. Parametric Study
5.1. Influence of Hole Diameter
5.2. Influence of Cut Width
5.3. Influence of Perfobond Thickness
5.4. Influence of Concrete Strength
5.5. Influence of Rebar Diameter
5.6. Influence of Rebar Strength
5.7. Influence of Steel Strength
6. Analytical Work
6.1. Equations for Shear Resistance
6.2. Proposal for Pull-Out Resistance
6.3. Comparison and Validation
7. Conclusions
- (1)
- The pull-out failure modes of notched perfobond shear connectors are characterized by cracks in the concrete slab, shear of the concrete dowel, and deformation of the perforating rebar. At specimen failure, the perfobond ribs are pulled out from concrete and induce great tension forces in the concrete slab. The concrete dowels in the hole fail in shear. The rebars in the notched hole are not pulled out, while those in the circular hole yield with large deformation. There was no obvious deformation in the perfobond ribs.
- (2)
- The proposed finite element method is validated by comparison with pull-out test results. The numerical results resemble the pull-out failures of perfobond shear connectors quite well. The analyzed pull-out resistances account for 105% and 97% of the mean test results of perfobond shear connectors with circular holes and notched holes, respectively. It is indicated that the proposed finite element model can be used to generate reasonable parametric results for pull-out tests of notched perfobond shear connectors.
- (3)
- A total of 33 parametric simulations further indicate that the pull-out resistance of notched perfobond shear connectors could be greatly increased by increasing the hole diameter, the thickness of the perfobond rib, the concrete strength, and the diameter and strength of the rebar in the hole. The strength of the structural steel has little influence on the pull-out resistance of notched perfobond shear connectors. When the cut ratio cw/dp is greater than 0.75, the pull-out resistance of the notched perfobond shear connector reduces sharply.
- (4)
- An analytical model is proposed to estimate the pull-out resistance of notched perfobond shear connectors. Compared with the existing equations for shear resistance, the calculated pull-out resistance from the proposal in this study agrees reasonably well with the experimental and numerical results. Therefore, the proposed equation may be used to evaluate the pull-out resistance of notched perfobond shear connectors.
Author Contributions
Funding
Conflicts of Interest
Nomenclature
| dp | hole diameter | cw | cut width |
| cw/dp | cut ratio | dr | diameter of the rebar |
| lp | perfobond rib length | hp | perfobond rib height |
| tp | perfobond rib thickness | fcu | concrete cube strength |
| fc | uniaxial compressive strength | fry | yield strength of the reinforcing bar |
| fru | tensile strength of the reinforcing bar | fsy | yield strength of the structural steel |
| fsu | tensile strength of the structural steel | Tu | pull-out resistance |
| kt | pull-out stiffness | sp | peak separation |
| Tu,i | tested pull-out resistance (i = 1,2,3) | Tu,avg | averaged pull-out resistance |
| kt,i | tested pull-out stiffness (i = 1,2,3) | kt,avg | averaged pull-out stiffness |
| sp,i | tested peak separation (i = 1,2,3) | sp,avg | averaged peak separation |
| σc | compressive stress of concrete | εc | compressive strain of concrete |
| Ec | Young’s modulus of concrete | fc | compressive strength of concrete |
| k | plasticity number of concrete | η | ratio of strain to peak strain |
| εcp | peak strain of concrete | εcu | ultimate strain of concrete |
| σt | tensile stress of concrete | ft | tensile strength of concrete |
| w | crack width of concrete | wc | crack width at the complete release of stress |
| GF | fracture energy required to create a unit area of stress-free crack | ci | constants (i = 1,2) |
| dc | uniaxial damage variables of concrete due to compressive crushing | dt | uniaxial damage variables of concrete due to tensile cracking |
| εcpl | plastic strain of concrete | εcin | inelastic strain of concrete |
| bc | constant factor for concrete damage in compression | wpl | “plastic” crack width of concrete |
| bt | constant factor for concrete damage in tension | l0 | unit length |
| Es | Young’s modulus of steel | Vu | shear resistance |
| γw | influence factor of the notch | Ci | fitting coefficients (i = 1,2,3) |
References
- Mirza, O.; Uy, B. Effects of the combination of axial and shear loading on the behaviour of headed stud steel anchors. Eng. Struct. 2010, 32, 93–105. [Google Scholar] [CrossRef]
- Hassanieh, A.; Valipour, H.R.; Bradford, M.A. Bolt shear connectors in grout pockets: Finite element modelling and parametric study. Constr. Build Mater. 2018, 176, 179–192. [Google Scholar] [CrossRef]
- Zheng, S.; Zhao, C.; Liu, Y. Analytical model for load–slip relationship of perfobond shear connector based on push-out test. Materials 2019, 12, 29. [Google Scholar] [CrossRef]
- Allahyari, H.; Nikbin, I.M.; Rahimi, R.S.; Heidarpour, A. A new approach to determine strength of perfobond rib shear connector in steel-concrete composite structures by employing neural network. Eng. Struct. 2018, 157, 235–249. [Google Scholar] [CrossRef]
- Kim, S.H.; Kim, K.S.; Lee, D.H.; Park, J.S.; Han, O. Analysis of the shear behavior of stubby Y-type perfobond rib shear connectors for a composite frame structure. Materials 2017, 10, 1340. [Google Scholar] [CrossRef] [PubMed]
- Alves, A.R.; Isabel, B.V.; Washintgon, B.V.; Gustavo, S.V. Prospective study on the behaviour of composite beams with an indented shear connector. J. Constr. Steel Res. 2018, 148, 508–524. [Google Scholar] [CrossRef]
- Classen, M.; Herbrand, M.; Kueres, D.; Hegger, J. Derivation of design rules for innovative shear connectors in steel-concrete composites through the systematic use of non-linear finite element analysis (FEA). Struct. Concrete 2016, 17, 646–655. [Google Scholar] [CrossRef]
- Ataei, A.; Bradford, M.A.; Liu, X. Experimental study of composite beams having a precast geopolymer concrete slab and deconstructable bolted shear connectors. Eng. Struct. 2016, 114, 1–13. [Google Scholar] [CrossRef]
- Zheng, S.; Liu, Y.; Yoda, T.; Lin, W. Parametric study on shear capacity of circular-hole and long-hole perfobond shear connector. J. Constr. Steel Res. 2016, 117, 64–80. [Google Scholar] [CrossRef]
- Zheng, S.; Zhao, C.; Liu, Y. Experimental shear strength evaluation of perfobond shear connector with various hole shapes. Struct. Eng. Mech. 2018, 67, 131–142. [Google Scholar] [CrossRef]
- Kim, Y.H.; Kang, J.Y.; Kim, S.H.; Kim, D.J. Structural performance of steel pile caps strengthened with perfobond shear connectors under lateral loading. Appl. Sci. 2016, 6, 317. [Google Scholar] [CrossRef]
- Xue, D.; Liu, Y.; He, J.; Ma, B. Experimental study and numerical analysis of a composite truss joint. J. Constr. Steel Res. 2011, 67, 957–964. [Google Scholar] [CrossRef]
- Leonhardt, F.; Andrä, W.; Andrä, H.P.; Harre, W. New advantageous shear connection for composite structures with high fatigue strength. Beton Stahlbetonbau 1987, 82, 325–331. [Google Scholar] [CrossRef]
- Oguejiofor, E.C.; Hosain, M.U. Numerical analysis of push-out specimens with perfobond rib connectors. Comput. Struct. 1997, 62, 617–624. [Google Scholar] [CrossRef]
- Hosaka, T.; Mitsuki, K.; Hiragi, H.; Ushijima, Y.; Tachibana, Y.; Watanabe, H. An experimental study on shear characteristics of perfobond strip and its rational strength equations. J. Struct. Eng. JSCE 2000, 46A, 1593–1604. [Google Scholar]
- Ahn, J.H.; Lee, C.G.; Won, J.H.; Kim, S.H. Shear resistance of the perfobond-rib shear connector depending on concrete strength and rib arrangement. J. Constr. Steel Res. 2010, 66, 1295–1307. [Google Scholar] [CrossRef]
- Zheng, S.; Liu, Y.; Yoda, T.; Lin, W. Shear behavior and analytical model of perfobond connectors. Steel Compos. Struct. 2016, 20, 71–89. [Google Scholar] [CrossRef]
- Kraus, D.; Wurzer, O. Nonlinear finite-element analysis of concrete dowels. Comput. Struct. 1997, 64, 1271–1279. [Google Scholar] [CrossRef]
- Lin, Z.; Liu, Y.; Roeder, C.W. Behavior of stud connections between concrete slabs and steel girders under transverse bending moment. Eng. Struct. 2016, 117, 130–144. [Google Scholar] [CrossRef]
- Kim, Y.H.; Kang, J.Y.; Koo, H.B.; Kim, D.J. Pull-out resistance capacity of a new perfobond shear connector for steel pile cap strengthening. Adv. Mater. Sci. Eng. 2016, 2016, 1374689. [Google Scholar] [CrossRef]
- Cho, J.R.; Park, S.Y.; Cho, K.; Kim, S.T.; Kim, B.S. Pull-out test and discrete spring model of fibre-reinforced polymer perfobond rib shear connector. Can. J. Civ. Eng. 2012, 39, 1311–1320. [Google Scholar] [CrossRef]
- EN 1994–1–1:2004. Eurocode 4: Design of Composite Steel and Concrete Structures, Part 1–1: General Rules and Rules for Buildings; European Committee for Standardization (CEN): Brussels, Belgium, 2004. [Google Scholar]
- Ghazijahani, T.G.; Jiao, H.; Holloway, D. Influence of a cutout on circular steel hollow sections under cyclic loading. J. Constr. Steel Res. 2014, 100, 12–20. [Google Scholar] [CrossRef]
- Ghazijahani, T.G.; Jiao, H.; Holloway, D. Fatigue experiments on circular hollow sections with CFRP reinforced cutouts. J. Constr. Steel Res. 2015, 106, 322–328. [Google Scholar] [CrossRef]
- ABAQUS Documentation, Version 6.10; Dassault System: Waltham, WA, USA, 2010.
- FIB. Model Code 2010—Final Draft, Vol. 1; FIB: Lausanne, Switzerland, 2010. [Google Scholar]
- Nguyen, H.T.; Kim, S.E. Finite element modeling of push-out tests for large stud shear connectors. J. Constr. Steel Res. 2009, 65, 1909–1920. [Google Scholar] [CrossRef]
- Hordijk, D.A. Tensile and tensile fatigue behaviour of concrete; experiments, modelling and analyses. Heron 1992, 37, 3–79. [Google Scholar]
- Birtel, V.; Mark, P. Parameterised finite element modelling of RC beam shear failure. In Proceedings of the 19th Annual International ABAQUS Users’ Conference, Cambridge, MA, USA, 23–25 May 2006; ABAQUS Inc.: Boston, MA, USA, 2006; pp. 95–108. [Google Scholar]





















| Specimen | dp (mm) | cw (mm) | cw/dp | dr (mm) | lp (mm) | hp (mm) | tp (mm) | Notch |
|---|---|---|---|---|---|---|---|---|
| CPT–1 | 75 | 0 | 0 | 20 | 250 | 150 | 20 | No |
| CPT–2 | 75 | 0 | 0 | 20 | 250 | 150 | 20 | No |
| CPT–3 | 75 | 0 | 0 | 20 | 250 | 150 | 20 | No |
| NPT–1 | 75 | 37.5 | 0.5 | 20 | 250 | 150 | 20 | Yes |
| NPT–2 | 75 | 37.5 | 0.5 | 20 | 250 | 150 | 20 | Yes |
| NPT–3 | 75 | 37.5 | 0.5 | 20 | 250 | 150 | 20 | Yes |
| Specimen | Pull-out Resistance | Pull-out Stiffness | Separation Deformation | |||
|---|---|---|---|---|---|---|
| Tu,i (kN) | Tu,avg (kN) | kt,i (kN) | kt,avg (kN) | sp,i (kN) | sp,avg (kN) | |
| CPT–1 | 279.8 | 631.3 | 1.00 | |||
| CPT–2 | 245.3 | 262.6 | 609.5 | 621.9 | 0.98 | 1.14 |
| CPT–3 | 262.7 | 625.0 | 1.43 | |||
| NPT–1 | 294.2 | 662.5 | 1.15 | |||
| NPT–2 | 279.8 | 282.7 | 674.0 | 658.0 | 1.06 | 1.19 |
| NPT–3 | 274.1 | 637.5 | 1.35 | |||
| Model | dp (mm) | cw (mm) | tp (mm) | fcu (MPa) | dr (mm) | fry (MPa) | fsy (MPa) | Tu (kN) |
|---|---|---|---|---|---|---|---|---|
| DP–40 | 40 | 30 | 20 | 50 | 20 | 400 | 390 | 181.0 |
| DP–50 | 50 | 30 | 20 | 50 | 20 | 400 | 390 | 190.4 |
| DP–60 | 60 | 30 | 20 | 50 | 20 | 400 | 390 | 212.9 |
| DP–70 | 70 | 30 | 20 | 50 | 20 | 400 | 390 | 233.5 |
| DP–80 | 80 | 30 | 20 | 50 | 20 | 400 | 390 | 213.2 |
| CW–00 | 60 | 10 | 20 | 50 | 20 | 400 | 390 | 220.1 |
| CW–15 | 60 | 20 | 20 | 50 | 20 | 400 | 390 | 203.2 |
| CW–30 | 60 | 30 | 20 | 50 | 20 | 400 | 390 | 212.9 |
| CW–45 | 60 | 40 | 20 | 50 | 20 | 400 | 390 | 195.2 |
| CW–60 | 60 | 50 | 20 | 50 | 20 | 400 | 390 | 25.3 |
| TP–12 | 60 | 30 | 12 | 50 | 20 | 400 | 390 | 188.7 |
| TP–16 | 60 | 30 | 16 | 50 | 20 | 400 | 390 | 186.0 |
| TP–20 | 60 | 30 | 20 | 50 | 20 | 400 | 390 | 212.9 |
| TP–25 | 60 | 30 | 25 | 50 | 20 | 400 | 390 | 220.5 |
| TP–30 | 60 | 30 | 30 | 50 | 20 | 400 | 390 | 234.5 |
| CU–30 | 60 | 30 | 20 | 30 | 20 | 400 | 390 | 152.5 |
| CU–40 | 60 | 30 | 20 | 40 | 20 | 400 | 390 | 183.3 |
| CU–50 | 60 | 30 | 20 | 50 | 20 | 400 | 390 | 212.9 |
| CU–60 | 60 | 30 | 20 | 60 | 20 | 400 | 390 | 238.0 |
| CU–70 | 60 | 30 | 20 | 70 | 20 | 400 | 390 | 236.3 |
| DR–16 | 60 | 30 | 20 | 50 | 16 | 400 | 390 | 181.5 |
| DR–18 | 60 | 30 | 20 | 50 | 18 | 400 | 390 | 194.0 |
| DR–20 | 60 | 30 | 20 | 50 | 20 | 400 | 390 | 212.9 |
| DR–22 | 60 | 30 | 20 | 50 | 22 | 400 | 390 | 203.2 |
| DR–25 | 60 | 30 | 20 | 50 | 25 | 400 | 390 | 203.1 |
| RY–335 | 60 | 30 | 20 | 50 | 20 | 335 | 390 | 188.0 |
| RY–400 | 60 | 30 | 20 | 50 | 20 | 400 | 390 | 212.9 |
| RY–500 | 60 | 30 | 20 | 50 | 20 | 500 | 390 | 204.9 |
| SY–235 | 60 | 30 | 20 | 50 | 20 | 400 | 235 | 205.5 |
| SY–345 | 60 | 30 | 20 | 50 | 20 | 400 | 345 | 206.4 |
| SY–390 | 60 | 30 | 20 | 50 | 20 | 400 | 390 | 212.9 |
| SY–420 | 60 | 30 | 20 | 50 | 20 | 400 | 420 | 209.3 |
| SY–460 | 60 | 30 | 20 | 50 | 20 | 400 | 460 | 199.2 |
© 2019 by the authors. Licensee MDPI, Basel, Switzerland. This article is an open access article distributed under the terms and conditions of the Creative Commons Attribution (CC BY) license (http://creativecommons.org/licenses/by/4.0/).
Share and Cite
Zheng, S.; Liu, Y.; Liu, Y.; Zhao, C. Experimental and Parametric Study on the Pull-Out Resistance of a Notched Perfobond Shear Connector. Appl. Sci. 2019, 9, 764. https://doi.org/10.3390/app9040764
Zheng S, Liu Y, Liu Y, Zhao C. Experimental and Parametric Study on the Pull-Out Resistance of a Notched Perfobond Shear Connector. Applied Sciences. 2019; 9(4):764. https://doi.org/10.3390/app9040764
Chicago/Turabian StyleZheng, Shuangjie, Yuqing Liu, Yangqing Liu, and Chen Zhao. 2019. "Experimental and Parametric Study on the Pull-Out Resistance of a Notched Perfobond Shear Connector" Applied Sciences 9, no. 4: 764. https://doi.org/10.3390/app9040764
APA StyleZheng, S., Liu, Y., Liu, Y., & Zhao, C. (2019). Experimental and Parametric Study on the Pull-Out Resistance of a Notched Perfobond Shear Connector. Applied Sciences, 9(4), 764. https://doi.org/10.3390/app9040764

