Improved Shear Strength Equation for Concrete Wide Beams
Abstract
Featured Application
Abstract
1. Introduction
2. Shear Strength Equation
2.1. ACI Building Code (ACI 318-14)
2.2. Modified ACI Building Code (Kim et al. [12])
2.3. Lubell’s Equation for Support Conditions
2.4. Shuraim’s Equation for Transverse Spacing
3. Experimental Program
3.1. Materials
3.2. Specimen Details
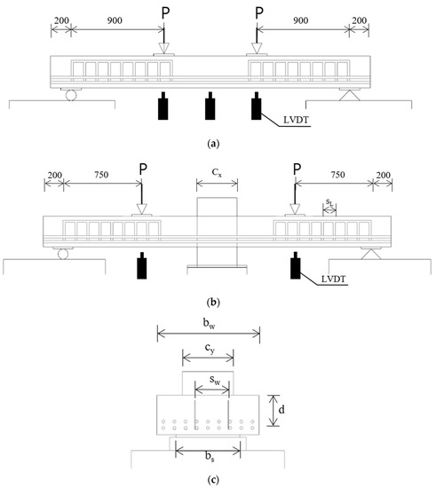
3.3. Test Setup
4. Experimental Results and Discussion
4.1. Failure Mode and Crack Pattern
4.2. Transverse Legs and Spacing
4.3. Support Conditions
5. Proposal Equation for Capacity
5.1. Consideration of Transverse Spacing
5.2. Support Conditions
5.3. Proposed Shear Equation
6. Evaluation of the Proposed Equation
7. Conclusions
- The shear capacity decreased as the transverse reinforcement spacing increased. There was no significant effect of the number of legs on the shear strength when the transverse spacing was 1.1d.
- The shear strength of the wide beam decreased as the transverse width of the support decreased, regardless of the support conditions; increasing the width of the longitudinal support was insignificant. This indicates that changing the transverse width rather than changing the longitudinal support width is more effective for determining shear capacity.
- The proposed shear strength equation can better predict adequate shear strength for a wide beam than the equations described in ACI 318-14 and other researchers. This is possible by considering all the main variables that affect shear capacity.
Author Contributions
Funding
Conflicts of Interest
References
- Leonhardt, F.; Walther, R. The Stuttgart shear tests, 1961. Cem. Concr. Assoc. Libr. 1961, 111, 49–54. [Google Scholar]
- Hsiumg, W.; Frantz, G.C. Transverse Stirrup Spacing in R/C Beams. J. Struct. Eng. 1985, 111, 353–362. [Google Scholar] [CrossRef]
- Anderson, N.S.; Ramirez, J.A. Detailing of Stirrup Reinforcement. ACI Struct. J. 1989, 86, 507–515. [Google Scholar]
- Lubell, A.S.; Bentz, E.C.; Collins, M.P. Shear Reinforcement Spacing in Wide Members. ACI Struct. J. 2009, 106, 205–214. [Google Scholar]
- Shuraim, A.B. Transverse Stirrup Configurations in RC Wide Shallow Beams Supported on Narrow Columns. J. Struct. Eng. 2012, 138, 416–424. [Google Scholar] [CrossRef]
- Mohammadyan-Yasouj, S.E.; Marsono, A.K.; Abdullah, R.; Moghadasi, M. Wide Beam Shear Behavior with Diverse Types of Reinforcement. ACI Struct. J. 2015, 112, 199–208. [Google Scholar] [CrossRef][Green Version]
- Conforti, A.; Minelli, F.; Tinini, A.; Plizzari, G.A. Influence of Polypropylene Fibre Reinforcement and Width-to-Effective Depth Ratio in Wide-Shallow Beams. Eng. Struct. 2015, 88, 12–21. [Google Scholar] [CrossRef]
- Conforti, A.; Minelli, F.; Plizzari, G.A. Influence of width-to-effective depth ratio on shear strength of reinforced concrete elements without web reinforcement. ACI Struct. J. 2017, 114, 995–1006. [Google Scholar] [CrossRef]
- Khalil, A.E.H.; Etman, E.; Atta, A.; Baraghith, A.; Behiry, R. The Effective Width in Shear Design of Wide-shallow Beams: A Comparative Study. KSCE J. Civ. Eng. 2019, 23, 1670–1681. [Google Scholar] [CrossRef]
- Conforti, A.; Tinini, A.; Minelli, F.; Plizzari, G.; Moro, S. Structural Applicability of Polypropylene Fibres: Deep and Wide-Shallow Beams subjected to Shear. ACI Spec. Publ. 2017, 310, 171–180. [Google Scholar]
- Navas, F.O.; Navarro, G.J.; Herdocia, G.L.; Serna, P.; Cuenca, E. An Experimental Study on the Shear Behaviour of Reinforced Concrete Beams with Macro-Synthetic Fibres. Constr. Build. Mater. 2018, 169, 888–899. [Google Scholar] [CrossRef]
- Kim, D.J.; Kim, M.S.; Choi, J.H.; Kim, H.C.; Lee, Y.H. Concrete Beams with Fiber-Reinforced Polymer Shear Reinforcement. ACI Struct. J. 2014, 111, 903–912. [Google Scholar] [CrossRef]
- ACI Committee 318. Building Code Requirements for Reinforced Concrete and Commentary (ACI 318-14); American Concrete Institute: Farmington Hills, MI, USA, 2014; p. 520. [Google Scholar]
- ACI Committee 440. Guide for the Design and Construction of Structural Concrete Reinforced with Fiber-Reinforced Polymer Bars (ACI 440.1R-15); American Concrete Institute: Farmington Hills, MI, USA, 2015; p. 88. [Google Scholar]
- Kim, H.C.; Kim, M.S.; Ko, M.J.; Lee, Y.H. Shear Behavior of Concrete Beams Reinforced with GFRP Shear Reinforcement. Int. J. Polym. Sci. 2015, 2015, 213583. [Google Scholar] [CrossRef]









| Yield Strength (MPa) | Modulus of Elasticity (GPa) | ||
| Rebar | 400 | 200 | |
| Steel Plate | 402 | 200 | |
| Compressive Strength (MPa) | Modulus of Elasticity (GPa) | Maximum Aggregate Size (mm) | |
| 2-Concrete | 35.0 | 55 | 25 |
| 1-Concrete | 28.8 | 51.6 | 25 |
| No | Group | Name | [MPa] | [mm] | [mm] | [mm] | [mm] | [mm] | [mm] | [kN] | ||||
|---|---|---|---|---|---|---|---|---|---|---|---|---|---|---|
| 1 | A (Transvers spacing) | 1S-N151 | 35 | 225.5 | 2 | 120 | 151 | 0.67 | - | - | 800 | 1 | 277 | |
| 2 | 1S-N199 | 35 | 225.5 | 2 | 120 | 199 | 0.88 | - | - | 800 | 1 | 277 | ||
| 3 | 1S-N262 | 35 | 225.5 | 2 | 120 | 262 | 1.16 | - | - | 800 | 1 | 277 | ||
| 4 | 1S-N321 | 35 | 225.5 | 2 | 120 | 321 | 1.42 | - | - | 800 | 1 | 277 | ||
| 5 | 1S-N373 | 35 | 225.5 | 2 | 120 | 373 | 1.65 | - | - | 800 | 1 | 277 | ||
| 6 | 1S-N500 | 35 | 225.5 | 2 | 120 | 500 | 2.22 | - | - | 800 | 1 | 277 | ||
| 7 | 1S-N548 | 35 | 225.5 | 2 | 120 | 548 | 2.43 | - | - | 800 | 1 | 277 | ||
| 3 | B (Number of legs) | 1S-NL2 | 35 | 225.5 | 2 | 120 | 262 | 1.16 | - | - | 800 | 1 | 277 | |
| 8 | 1S-NL3 | 35 | 225.5 | 3 | 120 | 262 | 1.16 | - | - | 800 | 1 | 277 | ||
| 9 | 1S-NL4 | 35 | 225.5 | 4 | 120 | 262 | 1.16 | - | - | 800 | 1 | 277 | ||
| 10 | C | C1 (Column aspect ratio) | 1S-IC1 | 35 | 225.5 | 3 | 120 | 349 | 1.55 | 200 | 200 | 800 | 0.25 | 277 |
| 11 | 1S-IC2 | 35 | 225.5 | 3 | 120 | 349 | 1.55 | 200 | 400 | 800 | 0.5 | 277 | ||
| 12 | 1S-IC3 | 35 | 225.5 | 3 | 120 | 349 | 1.55 | 200 | 800 | 800 | 1 | 277 | ||
| 13 | 1S-IC4 | 35 | 225.5 | 3 | 120 | 349 | 1.55 | 400 | 400 | 800 | 0.5 | 277 | ||
| 14 | 1S-IC5 | 35 | 225.5 | 3 | 120 | 349 | 1.55 | 600 | 600 | 800 | 0.75 | 277 | ||
| 15 | C2 (Support width) | 2S-SB1 | 28.8 | 240 | 3 | 120 | 334 | 1.39 | - | - | 200 | 0.25 | 277.86 | |
| 16 | 2S-SB2 | 28.8 | 240 | 3 | 120 | 334 | 1.39 | - | - | 400 | 0.5 | 277.86 | ||
| 17 | 2S-SB3 | 28.8 | 240 | 3 | 120 | 334 | 1.39 | - | - | 600 | 0.75 | 277.86 | ||
| 18 | 2S-SB4 | 28.8 | 240 | 3 | 120 | 334 | 1.39 | - | - | 800 | 1 | 277.86 | ||
| No | Group | Name | [kN] | [kN] | Failure Mode | ||
|---|---|---|---|---|---|---|---|
| 1 | A | 1S-N151 | 277.59 | 279 | 1.01 | Shear | |
| 2 | 1S-N199 | 277.59 | 287.88 | 1.04 | Shear | ||
| 3 | 1S-N262 | 277.59 | 298 | 1.08 | Shear | ||
| 4 | 1S-N321 | 277.59 | 289.5 | 1.04 | Shear | ||
| 5 | 1S-N373 | 277.59 | 287 | 1.04 | Shear | ||
| 6 | 1S-N500 | 277.59 | 271.88 | 0.98 | Shear | ||
| 7 | 1S-N548 | 277.59 | 230 | 0.83 | Shear | ||
| - | B | 1S-NL2 | 277.10 | 298.01 | 1.08 | Shear | |
| 8 | 1S-NL3 | 277.10 | 290.00 | 1.05 | Shear | ||
| 9 | 1S-NL4 | 277.10 | 293.00 | 1.06 | Shear | ||
| 10 | C | C1 | 1S-IC1 | 277.10 | 260.53 | 0.94 | Shear |
| 11 | 1S-IC2 | 277.10 | 303.02 | 1.09 | Shear | ||
| 12 | 1S-IC3 | 277.10 | 342.23 | 1.24 | Shear | ||
| 13 | 1S-IC4 | 277.10 | 307.40 | 1.11 | Shear | ||
| 14 | 1S-IC5 | 277.10 | 323.35 | 1.17 | Shear | ||
| 15 | C2 | 2S-SB1 | 277.86 | 200.06 | 0.72 | Shear | |
| 16 | 2S-SB2 | 277.86 | 227.85 | 0.82 | Shear | ||
| 17 | 2S-SB3 | 277.86 | 263.97 | 0.95 | Shear | ||
| 18 | 2S-SB4 | 277.86 | 323.38 | 1.16 | Shear | ||
| No | Name | [MPa] | [MPa] | [mm] | [mm2] | [mm] | [mm] | [mm] | [mm] | [mm] | [kN] | |||
|---|---|---|---|---|---|---|---|---|---|---|---|---|---|---|
| 1 | AW4 | 39.9 | - | 506 | - | - | 300 | - | - | 305 | 305 | 1168 | 0.26 | 619.66 |
| 2 | AW8 | 39.4 | - | 507 | - | - | 300 | - | - | 152 | 1169 | 1169 | 1.00 | 620.16 |
| 3 | AX8 | 41 | - | 289 | - | - | 175 | - | - | 152 | 152 | 705 | 0.22 | 217.46 |
| 4 | AX6 | 41 | - | 288 | - | - | 175 | - | - | 152 | 703 | 703 | 1.00 | 216.03 |
| 5 | AW5 | 34.8 | 458 | 511 | 272 | 4 | 300 | 375 | 0.73 | 305 | 305 | 1170 | 0.26 | 802.50 |
| 6 | AW7 | 35.8 | 458 | 512 | 272 | 4 | 300 | 370 | 0.72 | 152 | 1170 | 1170 | 1.00 | 807.52 |
| 7 | AW2 | 39.3 | 452 | 507 | 400 | 2 | 300 | 1080 | 2.13 | 305 | 305 | 1172 | 0.26 | 929.55 |
| 8 | AW6 | 43.7 | 452 | 509 | 400 | 2 | 300 | 1080 | 2.12 | 152 | 1170 | 1169 | 1.00 | 966.67 |
| 9 | AW3 | 37.2 | 452 | 509 | 400 | 2 | 300 | 800 | 1.57 | 305 | 305 | 1165 | 0.26 | 909.54 |
| 10 | AX1 | 42 | 458 | 289 | 136 | 2 | 175 | 625 | 2.16 | 152 | 703 | 703 | 1.00 | 322.31 |
| 11 | AX2 | 42 | 600 | 286 | 103.2 | 2 | 175 | 625 | 2.79 | 152 | 703 | 703 | 1.00 | 318.36 |
| 12 | AX3 | 42 | 613 | 285 | 116.1 | 3 | 175 | 350 | 1.23 | 152 | 707 | 707 | 1.00 | 333.54 |
| 13 | AX4 | 42 | 625 | 285 | 103.2 | 4 | 175 | 235 | 0.82 | 152 | 698 | 698 | 1.00 | 319.91 |
| 14 | AX5 | 41 | 458 | 283 | 136 | 2 | 175 | 470 | 1.66 | 152 | 697 | 697 | 1.00 | 311.23 |
| No | Name | [MPa] | [MPa] | [mm] | [mm2] | [mm] | [mm] | [mm] | [mm] | [mm] | [kN] | |||
|---|---|---|---|---|---|---|---|---|---|---|---|---|---|---|
| 1 | S1-80 | 29 | 483 | 152 | 157 | 2 | 80 | 660 | 4.34 | 200 | 140 | 700 | 0.20 | 239.58 |
| 2 | S2-80 | 29 | 483 | 152 | 157 | 2 | 80 | 440 | 2.89 | 200 | 140 | 700 | 0.20 | 239.58 |
| 3 | S3-80 | 29 | 483 | 152 | 157 | 2 | 80 | 230 | 1.51 | 200 | 140 | 700 | 0.20 | 239.58 |
| 4 | S1-75-1A | 28 | 465 | 149 | 201 | 2 | 75 | 660 | 4.43 | 200 | 140 | 700 | 0.20 | 277.67 |
| 5 | S3-75-1 | 28 | 465 | 149 | 201 | 2 | 75 | 230 | 1.54 | 200 | 140 | 700 | 0.20 | 277.67 |
| 6 | S13-75-1A | 28 | 465 | 149 | 201 | 4 | 75 | 230 | 1.54 | 200 | 140 | 700 | 0.20 | 277.67 |
| 7 | S13-100-1 | 28 | 465 | 149 | 201 | 4 | 100 | 230 | 1.54 | 200 | 140 | 700 | 0.20 | 231.25 |
| 8 | S13-125-1 | 28 | 465 | 149 | 201 | 4 | 125 | 230 | 1.54 | 200 | 140 | 700 | 0.20 | 203.39 |
| 9 | S1-75-2 | 30 | 465 | 149 | 201 | 2 | 75 | 660 | 4.43 | 200 | 140 | 700 | 0.20 | 280.90 |
| 10 | S3-75-2 | 30 | 465 | 149 | 201 | 2 | 75 | 230 | 1.54 | 200 | 140 | 700 | 0.20 | 280.90 |
| 11 | S13-75-2 | 30 | 465 | 149 | 201 | 4 | 75 | 230 | 1.54 | 200 | 140 | 700 | 0.20 | 280.90 |
| 12 | S13-100-2 | 30 | 465 | 149 | 201 | 4 | 100 | 230 | 1.54 | 200 | 140 | 700 | 0.20 | 234.48 |
| 13 | S13-125-2 | 30 | 465 | 149 | 201 | 4 | 125 | 230 | 1.54 | 200 | 140 | 700 | 0.20 | 206.62 |
| No. | Name | No. | Name | ||||||||
|---|---|---|---|---|---|---|---|---|---|---|---|
| 1 | AW5 | 1.2 | 1.54 | 1.2 | 1.3 | 22 | S13-100-2 | 1.19 | 1.56 | 1.41 | 1.357 |
| 2 | AW7 | 1.33 | 1.33 | 1.32 | 1.331 | 23 | S13-125-2 | 1.17 | 1.53 | 1.33 | 1.316 |
| 3 | AW2 | 0.88 | 1.13 | 1.02 | 1.077 | 24 | 1S-N151 | 1.17 | 1.17 | 1.15 | 1.01 |
| 4 | AW6 | 0.87 | 0.87 | 1 | 0.919 | 25 | 1S-N199 | 1.21 | 1.21 | 1.26 | 1.05 |
| 5 | AW3 | 0.92 | 1.18 | 1.02 | 1.102 | 26 | 1S-N262L2 | 1.25 | 1.25 | 1.37 | 1.098 |
| 6 | AX1 | 1.17 | 1.5 | 1.17 | 1.502 | 27 | 1S-N321 | 1.22 | 1.22 | 1.38 | 1.077 |
| 7 | AX2 | 1.2 | 1.55 | 1.2 | 1.124 | 28 | 1S-N373 | 1.21 | 1.21 | 1.41 | 1.077 |
| 8 | AX3 | 0.87 | 0.87 | 1 | 1.385 | 29 | 1S-N500 | 1.14 | 1.14 | 1.39 | 1.038 |
| 9 | AX4 | 1.33 | 1.33 | 1.32 | 1.313 | 30 | 1S-N548 | 0.97 | 0.97 | 1.2 | 0.889 |
| 10 | AX5 | 1.29 | 1.29 | 1.29 | 1.2 | 31 | 1S-NL3 | 1.05 | 1.05 | 1.13 | 1.071 |
| 11 | S1-80 | 0.92 | 1.21 | 1.43 | 1.41 | 32 | 1S-NL4 | 1.06 | 1.06 | 1.14 | 1.082 |
| 12 | S2-80 | 0.93 | 1.22 | 1.32 | 1.272 | 33 | 1S-IC1 | 0.94 | 1.21 | 1.06 | 1.078 |
| 13 | S3-80 | 0.97 | 1.27 | 1.19 | 1.212 | 34 | 1S-IC2 | 1.09 | 1.29 | 1.23 | 1.204 |
| 14 | S1-75-1A | 0.58 | 0.77 | 0.97 | 0.932 | 35 | 1S-IC3 | 1.24 | 1.24 | 1.39 | 1.282 |
| 15 | S3-75-1 | 0.79 | 1.04 | 1.01 | 1.003 | 36 | 1S-IC4 | 1.11 | 1.31 | 1.25 | 1.222 |
| 16 | S13-75-1A | 0.99 | 1.3 | 1.28 | 1.151 | 37 | 1S-IC5 | 1.17 | 1.26 | 1.31 | 1.244 |
| 17 | S13-100-1 | 1.16 | 1.52 | 1.39 | 1.327 | 38 | 2S-2B1 | 0.72 | 0.93 | 0.81 | 0.823 |
| 18 | S13-125-1 | 1.18 | 1.56 | 1.36 | 1.337 | 39 | 2S-2B2 | 0.82 | 0.96 | 0.92 | 0.901 |
| 19 | S1-75-2 | 0.86 | 1.13 | 1.42 | 1.364 | 40 | 2S-2B3 | 0.95 | 1.03 | 1.07 | 1.011 |
| 20 | S3-75-2 | 0.86 | 1.13 | 1.09 | 1.085 | 41 | 2S-2B4 | 1.16 | 1.16 | 1.31 | 1.205 |
| 21 | S13-75-2 | 1.09 | 1.43 | 1.38 | 1.269 |
| Equation | Mean | SD | Error (%) |
|---|---|---|---|
| ACI 318-14 | 1.05 | 0.17 | 43.9 |
| Lubell’s | 1.22 | 0.20 | 14.6 |
| Shuraim’s | 1.22 | 0.16 | 7.3 |
| Proposed | 1.16 | 0.16 | 12.2 |
© 2019 by the authors. Licensee MDPI, Basel, Switzerland. This article is an open access article distributed under the terms and conditions of the Creative Commons Attribution (CC BY) license (http://creativecommons.org/licenses/by/4.0/).
Share and Cite
Kim, M.S.; Kang, J.; Lee, Y.H. Improved Shear Strength Equation for Concrete Wide Beams. Appl. Sci. 2019, 9, 4513. https://doi.org/10.3390/app9214513
Kim MS, Kang J, Lee YH. Improved Shear Strength Equation for Concrete Wide Beams. Applied Sciences. 2019; 9(21):4513. https://doi.org/10.3390/app9214513
Chicago/Turabian StyleKim, Min Sook, Joowon Kang, and Young Hak Lee. 2019. "Improved Shear Strength Equation for Concrete Wide Beams" Applied Sciences 9, no. 21: 4513. https://doi.org/10.3390/app9214513
APA StyleKim, M. S., Kang, J., & Lee, Y. H. (2019). Improved Shear Strength Equation for Concrete Wide Beams. Applied Sciences, 9(21), 4513. https://doi.org/10.3390/app9214513

