Research on Grooved Concrete Pavement Based on the Durability of Its Anti-Skid Performance
Abstract
:1. Introduction
2. Materials and Methods
2.1. Raw Materials
2.2. LT Method
2.3. Preparation of the Test Samples
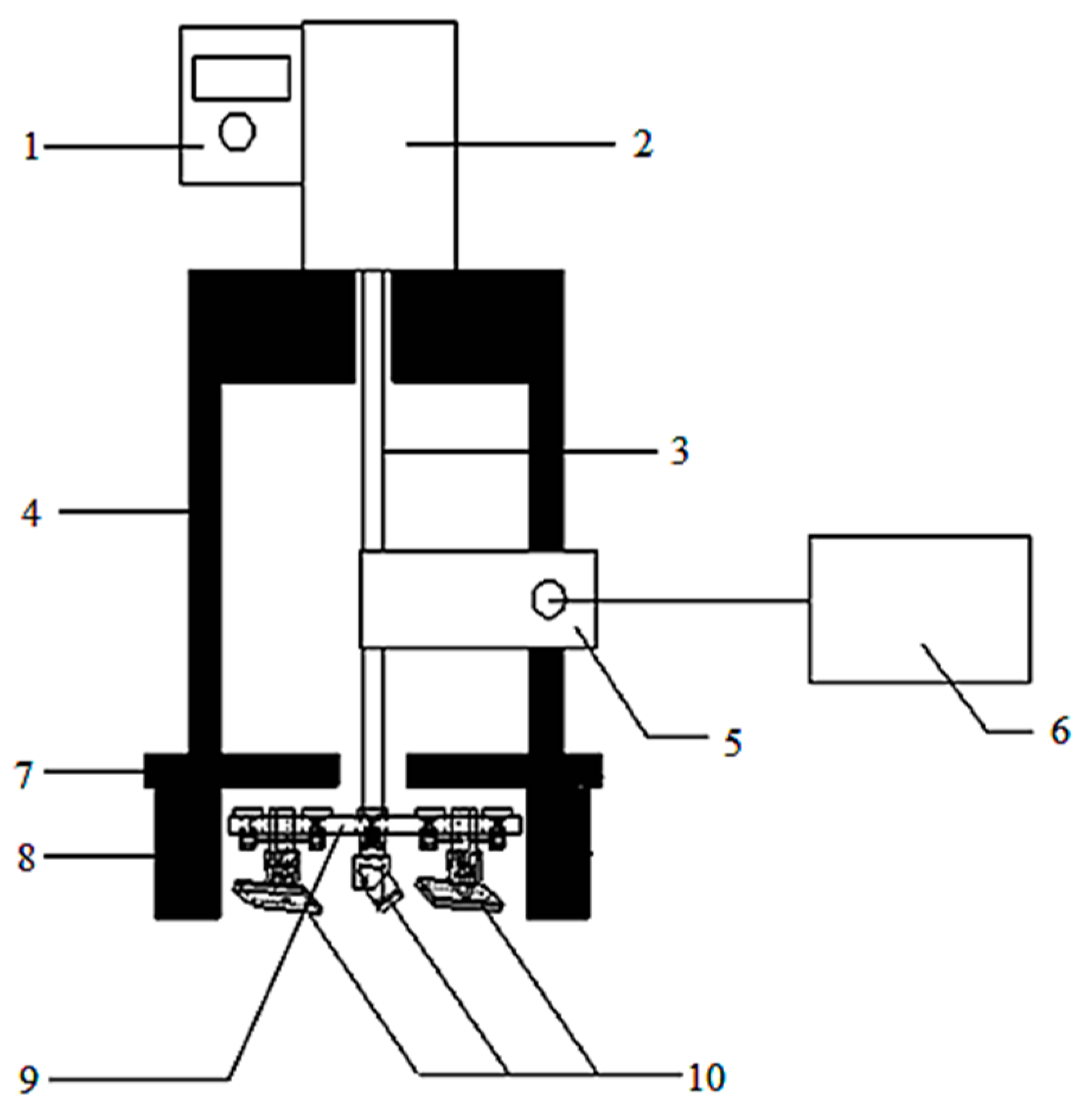
2.4. Anti-Skid Tests
2.4.1. T Schemes
2.4.2. LT Schemes
2.4.3. Comparative Analysis of Different Groove Forms
2.5. Skid Resistance Test
2.5.1. Evaluation of the Grooved Samples
2.5.2. Evaluation of Samples under Different Curing Methods
3. Results and Conclusions
3.1. Results of Anti-Skid Tests
3.1.1. Anti-Skid Results for T Schemes
3.1.2. Anti-Skid Results for LT Schemes
3.1.3. Comparative Analysis of Test Results for Different Groove Forms
3.2. Results of Abrasion Resistance Tests
3.2.1. Results for Grooved Samples
3.2.2. Results of Using the Curing Agent
4. Conclusions
- (1)
- The two techniques used in this study, including LT grooving and a curing method using a composite concrete curing agent, could effectively enhance the anti-skid performance of the pavement.
- (2)
- From the experimental study of the anti-skid performance of concrete pavement with different groove schemes, LT had relatively good skid resistance compared to other schemes.
- (3)
- The improvement in durability observed for concrete cured using the sprayed composite curing agent indicates that this can be an effective method to maintain concrete pavement in practical applications.
- (4)
- Based on the results of skid and abrasion resistance tests, the longitudinally-transversely grooved sample (5, 5, 30, 6, 4, 10) provides better skid resistance and durability and can be suggested to be adopted as the optimal dimensions for good anti-skid durability for concrete pavement. This sample’s dimensions, including transverse groove width, transverse groove depth, transverse groove spacing, longitudinal groove width, longitudinal groove depth, and longitudinal groove spacing, were 5, 5, 30, 6, 4, and 10 mm, respectively.
Author Contributions
Acknowledgments
Conflicts of Interest
References
- Yang, X.D.; Zheng, M.L.; Zhu, H.T.; Li, Z.Z.; Wang, B.G. Numerical analysis of frictional contact condition between tire and cement concrete pavement. J. Chang’an Univ. (Nat. Sci. Ed.) 2010, 30, 13–17. [Google Scholar]
- Liu, Y.; Tian, B.; Niu, K.M. Research on skid resistance and noise reduction properties of cement concrete pavements with different surface textures. J. Highw. Transp. Res. Dev. (Eng. Ed.) 2013, 7, 22–27. [Google Scholar] [CrossRef]
- José, M.; Pardillo, M.; Rafael, J.P. An assessment of the skid resistance effect on traffic safety under wet-pavement conditions. Accid. Anal. Prev. 2009, 41, 881–886. [Google Scholar]
- Wang, L.L.; Zhang, J.X.; Zhang, C.; Zhao, E.Q. Discussion about anti-skid changing-laws of cement concrete pavement. Highw. Eng. 2008, 33, 5–8. [Google Scholar]
- Liu, Y.; Tian, B.; Niu, K.M. Skid-resistance and denoising properties of cement concrete pavement with different surface texture. J. Highw. Transp. Res. Dev. 2012, 29, 28–33. [Google Scholar]
- Song, Y.C.; Fu, B.F.; Liang, N.X. Comprehensive evaluation of surface function of exposed-aggregate cement concrete pavement. J. Chongqiong Jiaotong Univ. (Nat. Sci. Ed.) 2015, 34, 43–47. [Google Scholar]
- Wang, F.Z.; Yang, L.; Wang, H.; Yu, H.G. Facile preparation of photo catalytic exposed aggregate concrete with highly efficient and stable catalytic performance. Chem. Eng. J. 2015, 264, 577–586. [Google Scholar] [CrossRef]
- Chen, Y.; Wu, X.Y. Fractal features and surface texture parameters of porous cement concrete pavement. J. Changsha Univ. Sci. Technol. (Nat. Sci. Ed.) 2007, 4, 13–17. [Google Scholar]
- Zhu, S.Z.; Huang, X.M. Numerical simulation of tire hydroplaning speed on transverse grooved concrete pavements. J. Southeast Univ. (Nat. Sci. Ed.) 2016, 46, 1296–1300. [Google Scholar]
- Li, B.; Han, S. Review on the selection of the parameters of the concrete pavement at home and abroad. East China Highw. 2010, 2, 81–82. [Google Scholar]
- Huo, M. Research on Skid Resistance Function Attenuation and Evaluation Method of Cement Concrete Pavement; China Architecture and building Press: Beijing, China, 2011. [Google Scholar]
- Han, S.; Li, N.; Li, B.; Huo, M.; Han, W.W. Tests study on skid resistance attenuation of cement concrete pavement. J. Guangxi Univ. (Nat. Sci. Ed.) 2010, 35, 896–900. [Google Scholar]
- Wang, K.; Lin, L.; Li, Q.J.; Nguyen, V.; Hayhoe, G.; Larkin, A.L. Runway groove identification and evaluation using 1 mm 3D image data. In Proceedings of the Airfield and Highway Pavement Conference, Los Angeles, CA, USA, 9–12 June 2013; pp. 730–741. [Google Scholar]
- Alexandre, L.O.; Luiz, R.P.J. Evaluation of the superficial texture of concrete pavers using digital image processing. J. Constr. Eng. Manag. 2015, 141, 04015034. [Google Scholar] [CrossRef]
- Kelvin, C.P.W.; Luo, W.T.; Joshua, Q.L. Hydroplaning risk evaluation of highway pavements based on IMU and 1 mm 3D texture data. In Transportation and Development Institute Congress 2nd. 2014 (T&DI 2014); ASCE: Reston, VA, USA, 2014; pp. 511–522. [Google Scholar] [CrossRef]
- Lee, Y.P.K.; Liu, Y.R.; Liu, Y.; Fwa, T.F.; Choo, Y.S. Skid resistance prediction by computer simulation. Appl. Adv. Technol. Transp. Eng. 2004, 465–469. [Google Scholar] [CrossRef]
- Scott, H.R.; Joseph, R.R.; John, J.H. Criteria for predicting hydroplaning potential. J. Transp. Eng. 1986, 112, 549–553. [Google Scholar] [CrossRef]
- Fwa, T.F.; Ong, G. Transverse pavement grooving against hydroplaning. II: Design. J. Transp. Eng. 2006, 132, 449–457. [Google Scholar] [CrossRef]
- Lee, M.H.; Chou, C.P.; Li, K.H. Automatic measurement of runway grooving construction for pavement skid evaluation. Autom. Constr. 2009, 18, 856–863. [Google Scholar] [CrossRef]
- MOT (Ministry of Transportation). Technical Guideline for Construction of Highway Cement Concrete Pavements (JTG/T F30-2014); China Communication Press: Beijing, China, 2014.
- MOHURD (Ministry of Housing and Urban-Rural Development). Specification for Mix Proportion Design of Ordinary Concrete (JGJ 55-2011); China Architecture and Building Press: Beijing, China, 2011.
- Wen, S.T.; Huang, P. Principles of Tribology, 4th ed.; Tsinghua University Press: Beijing, China, 2010; ISBN 978-7-302-30188-2. [Google Scholar]
- MOHURD (Ministry of Housing and Urban-Rural Development). Code for Concrete Admixture Application (GB 50119-2013); China Architecture and Building Press: Beijing, China, 2013.
- MOHURD (Ministry of Housing and Urban-Rural Development). Standard for Test Method of Mechanical Properties on Ordinary Concrete (GB/T 50081-2002); China Architecture and Building Press: Beijing, China, 2002.
- MOT (Ministry of Transportation). Test Methods of Cement and Concrete for Highway Engineering (JTG E30-2005); China Communication Press: Beijing, China, 2005.
- MOT (Ministry of Transportation). Technical Specification for Construction of Highway Concrete Pavement (JTG F30–2003); China Communication Press: Beijing, China, 2003.
- MOT (Ministry of Transportation). Field Test Methods of Subgrade and Pavement for Highway Engineering (JTG E60-2008); China Communication Press: Beijing, China, 2008.
- Li, Y.Y.; Hu, C.R. Experiment Design and Data Processing; Chemical Industry Press: Beijing, China, 2008. [Google Scholar]








| Items | Unit | Value | |
|---|---|---|---|
| Concrete Strength Level | … | C30 | |
| Water to Cement Ratio | … | 0.46 | |
| Sand Ratio | % | 34 | |
| Mix Proportion | Cement | kg/m3 | 411 |
| Crushed Limestone | kg/m3 | 1212 | |
| Sand | kg/m3 | 624 | |
| Water | kg/m3 | 190 | |
| Parameter | Unit | Value | |
|---|---|---|---|
| Cement Type | … | P.O.42.5 | |
| Density | g/cm3 | 3.2 | |
| Specific Surface Area | m2/kg | 355 | |
| Setting Time | Initial Set | min | 215 |
| Final Set | min | 270 | |
| Compressive Strength | 3 days | MPa | 27.6 |
| 28 days | MPa | 45.1 | |
| Flexural Strength | 3 days | MPa | 5.9 |
| 28 days | MPa | 7.8 | |
| Parameter | Unit | Value | Conclusion |
|---|---|---|---|
| Apparent Density | g/cm3 | 2.69 | … |
| Loose Density | g/cm3 | 1.47 | … |
| Crushing Value | % | 9.7 | Qualified |
| Mud Content | % | 0.827 | Qualified |
| Elongated Articles | % | 9.3 | Qualified |
| Parameter | Unit | Value | Conclusion |
|---|---|---|---|
| Apparent Density | g/cm3 | 2.628 | … |
| Loose Density | g/cm3 | 2.621 | … |
| Fineness Modulus | % | 2.365 | … |
| Mud Content | % | 1.407 | Qualified |
| Moisture Content | % | 2.876 | Qualified |
| Parameter | Unit | Value | Conclusion | |
|---|---|---|---|---|
| Effective Water Retention Rate | % | 93.78 | ≥90 | |
| Abrasion Loss | kg/m2 | 2.365 | ≤3.0 | |
| Solid Content | % | 31.04 | ≥20 | |
| Drying Time | h | 0.6 | ≤4 | |
| Compressive Strength Rate | 7 days | min | 105 | ≥95 |
| 28 days | min | 108 | ≥95 | |
| Road Section | Acceptance Value of TD (The Texture Depth) | Unit | |
|---|---|---|---|
| Expressway, First-Class Highway | General Road Section | 0.7~1.10 | mm |
| Special Road Section | 0.8~1.20 | mm | |
| Sample No. | TD/mm | μ |
|---|---|---|
| 1 | 0.91 | 0.63 |
| 2 | 1.02 | 0.64 |
| 3 | 0.89 | 0.56 |
| 4 | 0.97 | 0.59 |
| 5 | 1.09 | 0.74 |
| 6 | 0.9 | 0.60 |
| 7 | 1.24 | 0.78 |
| 8 | 1.02 | 0.80 |
| 9 | 1.01 | 0.69 |
| Road Section | Acceptance Value of μ | |
|---|---|---|
| Expressway, First-Class Highway | General Road Section | ≥0.55 |
| Special Road Section | ≥0.60 | |
| Sample No. | T (Transversely Grooved) Width/mm | T Depth/mm | T Spacing/mm |
|---|---|---|---|
| 1 | 6 | 2 | 10 |
| 2 | 6 | 2 | 20 |
| 3 | 6 | 2 | 30 |
| 4 | 6 | 4 | 10 |
| 5 | 6 | 4 | 20 |
| 6 | 6 | 4 | 30 |
| 7 | 6 | 6 | 10 |
| 8 | 6 | 6 | 20 |
| 9 | 6 | 6 | 30 |
| Level | T Width (A) | T Depth (B) | T Spacing (C) | L (Longitudinally Grooved) Width (D) | L Depth (E) | L Spacing (F) |
|---|---|---|---|---|---|---|
| k1 | 2 | 2 | 15 | 2 | 2 | 10 |
| k2 | 3 | 3 | 30 | 3 | 3 | 17 |
| k3 | 4 | 4 | 45 | 4 | 4 | 24 |
| k4 | 5 | 5 | 60 | 5 | 5 | 31 |
| k5 | 6 | 6 | 75 | 6 | 6 | 37 |
| Sample No. | 1 | 2 | 3 | 4 | 5 | 6 | 7 | 8 | 9 |
|---|---|---|---|---|---|---|---|---|---|
| μ | 0.63 | 0.58 | 0.63 | 0.56 | 0.82 | 0.46 | 0.57 | 0.65 | 0.61 |
| Sample No. | 1 | 2 | 3 | 4 | 5 | 6 | 7 | 8 | 9 | 10 |
| μ | 0.758 | 0.623 | 0.573 | 0.544 | 0.528 | 0.574 | 0.919 | 0.863 | 0.505 | 0.727 |
| Sample No. | 11 | 12 | 13 | 14 | 15 | 16 | 17 | 18 | 19 | 20 |
| μ | 0.696 | 0.492 | 0.756 | 1.039 | 0.772 | 0.949 | 0.567 | 0.904 | 1.200 | 0.609 |
| Sample No. | 21 | 22 | 23 | 24 | 25 | |||||
| μ | 0.824 | 1.157 | 0.652 | 0.586 | 0.797 |
| Level | A | B | C | D | E | F |
|---|---|---|---|---|---|---|
| k1 | 0.605 | 0.760 | 0.917 | 0.636 | 0.709 | 0.886 |
| k2 | 0.718 | 0.752 | 0.764 | 0.728 | 0.705 | 0.792 |
| k3 | 0.751 | 0.750 | 0.677 | 0.710 | 0.763 | 0.791 |
| k4 | 0.846 | 0.775 | 0.729 | 0.793 | 0.728 | 0.637 |
| k5 | 0.605 | 0.760 | 0.917 | 0.636 | 0.709 | 0.886 |
| Range | 0.241 | 0.088 | 0.281 | 0.253 | 0.112 | 0.269 |
| Factors in Primary and Secondary Order | C > F > D > A > E > B | |||||
| Optimal Scheme | C1F1D5A4E5B4 |
| Samples Dimensions | (6, 4, 20) | (6, 6, 20) | (5, 5, 30, 6, 4, 10) | (6, 3, 15, 6, 5, 24) |
|---|---|---|---|---|
| μ | 0.821 | 0.651 | 1.200 | 1.157 |
| Sample Dimensions | (6, 4, 20) | (6, 6, 20) | (6, 3, 15, 6, 5, 24) | (5, 5, 30, 6, 4, 10) |
|---|---|---|---|---|
| Gc (kg/m2) | 3.17 | 3.28 | 4.56 | 3.69 |
| Samples Dimensions | Standard Method without Agent | Spraying Curing Agent |
|---|---|---|
| (6, 4, 20) | 3.17 | 1.83 |
| (6, 6, 20) | 3.28 | 2.12 |
| (6, 3, 15, 6, 5, 24) | 4.56 | 2.38 |
| (5, 5, 30, 6, 4, 10) | 3.69 | 1.97 |
© 2018 by the authors. Licensee MDPI, Basel, Switzerland. This article is an open access article distributed under the terms and conditions of the Creative Commons Attribution (CC BY) license (http://creativecommons.org/licenses/by/4.0/).
Share and Cite
Zheng, M.; Tian, Y.; Wang, X.; Peng, P. Research on Grooved Concrete Pavement Based on the Durability of Its Anti-Skid Performance. Appl. Sci. 2018, 8, 891. https://doi.org/10.3390/app8060891
Zheng M, Tian Y, Wang X, Peng P. Research on Grooved Concrete Pavement Based on the Durability of Its Anti-Skid Performance. Applied Sciences. 2018; 8(6):891. https://doi.org/10.3390/app8060891
Chicago/Turabian StyleZheng, Mulian, Yanjuan Tian, Xiaoping Wang, and Ping Peng. 2018. "Research on Grooved Concrete Pavement Based on the Durability of Its Anti-Skid Performance" Applied Sciences 8, no. 6: 891. https://doi.org/10.3390/app8060891
APA StyleZheng, M., Tian, Y., Wang, X., & Peng, P. (2018). Research on Grooved Concrete Pavement Based on the Durability of Its Anti-Skid Performance. Applied Sciences, 8(6), 891. https://doi.org/10.3390/app8060891
