Modeling and Analysis of a Compliance Model and Rotational Precision for a Class of Remote Center Compliance Mechanisms
Abstract
:1. Introduction
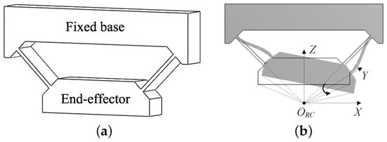
2. Configuration of the Remote Center Compliance (RCC) Mechanism
3. Analytical Model
3.1. Compliance Modeling
3.2. Rotational Precision Analysis
4. Finite Element Analysis Validation
5. Experimental Verification
6. Performance Analysis
- (1)
- The compliance factors increase when θ increases. The variation tendency of versus is dependent on θ.
- (2)
- has no influence on the vertical compliance factor , which increases sensitively with the decrease of θ. decreases when the two parameters increase.
- (3)
- varies slightly with , and presents a maximum in terms of θ, around .
7. Conclusions
Acknowledgments
Author Contributions
Conflicts of Interest
References
- Choi, K.B.; Lee, J.J. Passive compliant wafer stage for single-step nano-imprint lithography. Rev. Sci. Instrum. 2005, 76, 075106.1–075106.6. [Google Scholar] [CrossRef]
- Choi, B.J.; Sreenivasan, S.V.; Johnson, S.; Colburn, M.; Wilson, C.G. Design of orientation stages for step and flash imprint lithography. Precis. Eng. 2001, 25, 192–199. [Google Scholar] [CrossRef]
- Lan, H.B.; Ding, Y.C.; Liu, H.Z.; Lu, B.H. Development of a step micro-imprint lithography tool. J. Micromech. Microeng. 2007, 17, 2039–2048. [Google Scholar] [CrossRef]
- Simeone, F.C.; Albonetti, C.; Cavallini, M. Progress in Micro- and Nanopatterning via Electrochemical Lithography. J. Phys. Chem. C 2009, 113, 18987–18994. [Google Scholar] [CrossRef]
- Ahmed, N. Towards Active Monitoring of the Micro Transfer Printing Process. Master’s Thesis, University of Illinois at Urbana-Champaign, Urbana, IL, USA, 2011. [Google Scholar]
- Drake, S.H.; Simunovic, S.N. Compliant Assembly System Device. US Patent 4155169, 22 May 1979. [Google Scholar]
- Watson, P.C. Remote Center Compliance System. US Patent 4098001, 4 July 1978. [Google Scholar]
- Nakao, M.; Sugiyama, S.; Hatamura, Y.; Hamaguchi, T. Remote-centered compliance mechanism of micro-suspension for contact recording head. IEEE-ASME Trans. Mechatron. 1996, 1, 245–249. [Google Scholar] [CrossRef]
- Zhao, F.; Wu, P.S.Y. VRCC: A variable remote center compliance device. Mechatronics 1998, 8, 657–672. [Google Scholar] [CrossRef]
- Lee, S.; Won, S.; Choi, S. Development of a new variable remote center compliance for assembly robots. Adv. Robot. 2000, 14, 241–255. [Google Scholar] [CrossRef]
- Hiroshima, H.; Komuro, M.; Kurashima, Y.; Kim, S.H.; Muneishi, T. Step-and-Repeat Photo-Nanoimprint System Using Active Orientation Head. Jpn. J. Appl. Phys. 2004, 43, 4012–4016. [Google Scholar] [CrossRef]
- Qu, J.; Chen, W.; Zhang, J. A parallelogram-based compliant remote-center-of-motion stage for active parallel alignment. Rev. Sci. Instrum. 2014, 85, 095112. [Google Scholar] [CrossRef] [PubMed]
- Qu, J.; Chen, W.; Zhang, J.; Chen, W. A piezo-driven 2-DOF compliant micropositioning stage with remote center of motion. Sens. Actuators A: Phys. 2016, 239, 114–126. [Google Scholar] [CrossRef]
- Ciblak, N.; Lipkin, H. Design and Analysis of Remote Center of Compliance Structures. J. Rob. Syst. 2003, 20, 415–427. [Google Scholar] [CrossRef]
- Pei, X.; Yu, J.J.; Zong, G.H.; Bi, S.S.; Yu, Z.W. Analysis of Rotational Precision for an Isosceles-Trapezoidal Flexural Pivot. ASME J. Mech. Des. 2008, 130, 052302. [Google Scholar]
- Pei, X.; Yu, J.J.; Zong, G.H.; Bi, S.S. The stiffness model of leaf-type isosceles-trapezoidal flexural pivots. ASME J. Mech. Des. 2008, 130, 1–6. [Google Scholar]
- Su, H.J.; Shi, H.; Yu, J. A Symbolic Formulation for Analytical Compliance Analysis and Synthesis of Flexure Mechanisms. ASME J. Mech. Des. 2012, 134, 1–9. [Google Scholar] [CrossRef] [PubMed]
- Hopkins, J.B.; Culpepper, M.L. Synthesis of multi-degree of freedom, parallel flexure system concepts via Freedom and Constraint Topology (FACT) Part I: Principles. Precis. Eng. 2010, 34, 259–270. [Google Scholar] [CrossRef]
- Yu, J.; Li, S.; Su, H.J.; Culpepper, M.L. Screw Theory Based Methodology for the Deterministic Type Synthesis of Flexure Mechanisms. Precis. Eng. 2011, 3, 1–14. [Google Scholar] [CrossRef]
- Choi, K.B.; Kim, D.H. Monolithic parallel linear compliant mechanism for two axes ultraprecision linear motion. Rev. Sci. Instrum. 2006, 77, 1–7. [Google Scholar] [CrossRef]
- Hao, G.; Kong, X. A normalization-based approach to the mobility analysis of spatial compliant multi-beam modules. Mech. Mach. Theory 2013, 59, 1–19. [Google Scholar] [CrossRef]
- Lobontiu, N.; Garcia, E.; Hardau, M.; Bal, N. Stiffness Characterization of Corner-Filleted Flexure Hinges. Rev. Sci. Instrum. 2004, 75, 4896–4905. [Google Scholar] [CrossRef]
- Dai, J.S.; Ding, X. Compliance analysis of a three-legged rigidly-connected platform device. ASME J. Mech. Des. 2006, 128, 755–764. [Google Scholar] [CrossRef]
- Murray, R.M.; Li, Z.; Sastr, S.S. A Mathematical Introduction to Robotic Manipulation; CRC Press: Boca Raton, FL, USA, 1994. [Google Scholar]
- Lin, R.; Zhang, X.; Long, X.; Fatikow, S. Hybrid flexure hinges. Rev. Sci. Instrum. 2013, 84, 085004. [Google Scholar] [CrossRef] [PubMed]










| Sample | l (mm) | D (mm) | θ (°) | |OO1| (mm) |
|---|---|---|---|---|
| 1 | 12.5 | 1.5 | 45 | 10 |
| 2 | 15 | 2 | 60 | 15 |
| 3 | 20 | 1.2 | 30 | 20 |
| Sample 1 | Sample 2 | Sample 3 | |||||||
|---|---|---|---|---|---|---|---|---|---|
| Compliance factors | An | FEA | Err (%) | An | FEA | Err (%) | An | FEA | Err (%) |
| , (μm/N) | 31.93 | 32.23 | 0.93 | 29.93 | 31.43 | 4.77 | 188.9 | 183.5 | 2.94 |
| , (mm/Nm) | 2.96 | 3.07 | 3.58 | 1.08 | 1.13 | 4.42 | 15.9 | 15.4 | 3.25 |
| (μm/N) | 2.12 | 2.30 | 7.83 | 0.96 | 1.04 | 7.69 | 10.63 | 11.11 | 4.32 |
| , (mrad/N) | 2.96 | 3.08 | 3.89 | 1.08 | 1.13 | 4.42 | 15.9 | 15.4 | 3.25 |
| , (mrad/Nm) | 314.6 | 330.3 | 4.75 | 47.35 | 50.56 | 6.35 | 1391.8 | 1352.3 | 2.92 |
| (mrad/Nm) | 452.2 | 469.3 | 3.64 | 147.8 | 153.6 | 3.78 | 1163.6 | 1136.7 | 2.37 |
| Compliance Factors | Analytical | Experimental | Error (%) |
|---|---|---|---|
| , (μm/N) | 31.93 | 32.78 | 2.59 |
| , (mm/Nm) | 2.96 | 3.18 | 6.91 |
| , (mrad/N) | 2.96 | 3.18 | 6.91 |
| , (mrad/Nm) | 314.6 | 311.8 | 0.9 |
© 2016 by the authors; licensee MDPI, Basel, Switzerland. This article is an open access article distributed under the terms and conditions of the Creative Commons Attribution (CC-BY) license (http://creativecommons.org/licenses/by/4.0/).
Share and Cite
Lai, L.-J.; Zhu, Z.-N. Modeling and Analysis of a Compliance Model and Rotational Precision for a Class of Remote Center Compliance Mechanisms. Appl. Sci. 2016, 6, 388. https://doi.org/10.3390/app6120388
Lai L-J, Zhu Z-N. Modeling and Analysis of a Compliance Model and Rotational Precision for a Class of Remote Center Compliance Mechanisms. Applied Sciences. 2016; 6(12):388. https://doi.org/10.3390/app6120388
Chicago/Turabian StyleLai, Lei-Jie, and Zi-Na Zhu. 2016. "Modeling and Analysis of a Compliance Model and Rotational Precision for a Class of Remote Center Compliance Mechanisms" Applied Sciences 6, no. 12: 388. https://doi.org/10.3390/app6120388
APA StyleLai, L.-J., & Zhu, Z.-N. (2016). Modeling and Analysis of a Compliance Model and Rotational Precision for a Class of Remote Center Compliance Mechanisms. Applied Sciences, 6(12), 388. https://doi.org/10.3390/app6120388
