Cascaded Finite State Control for a Five-Phase Induction Machine
Abstract
1. Introduction
Novelty and Contributions
2. Background on Finite State Predictive Control
3. Cascaded Structure
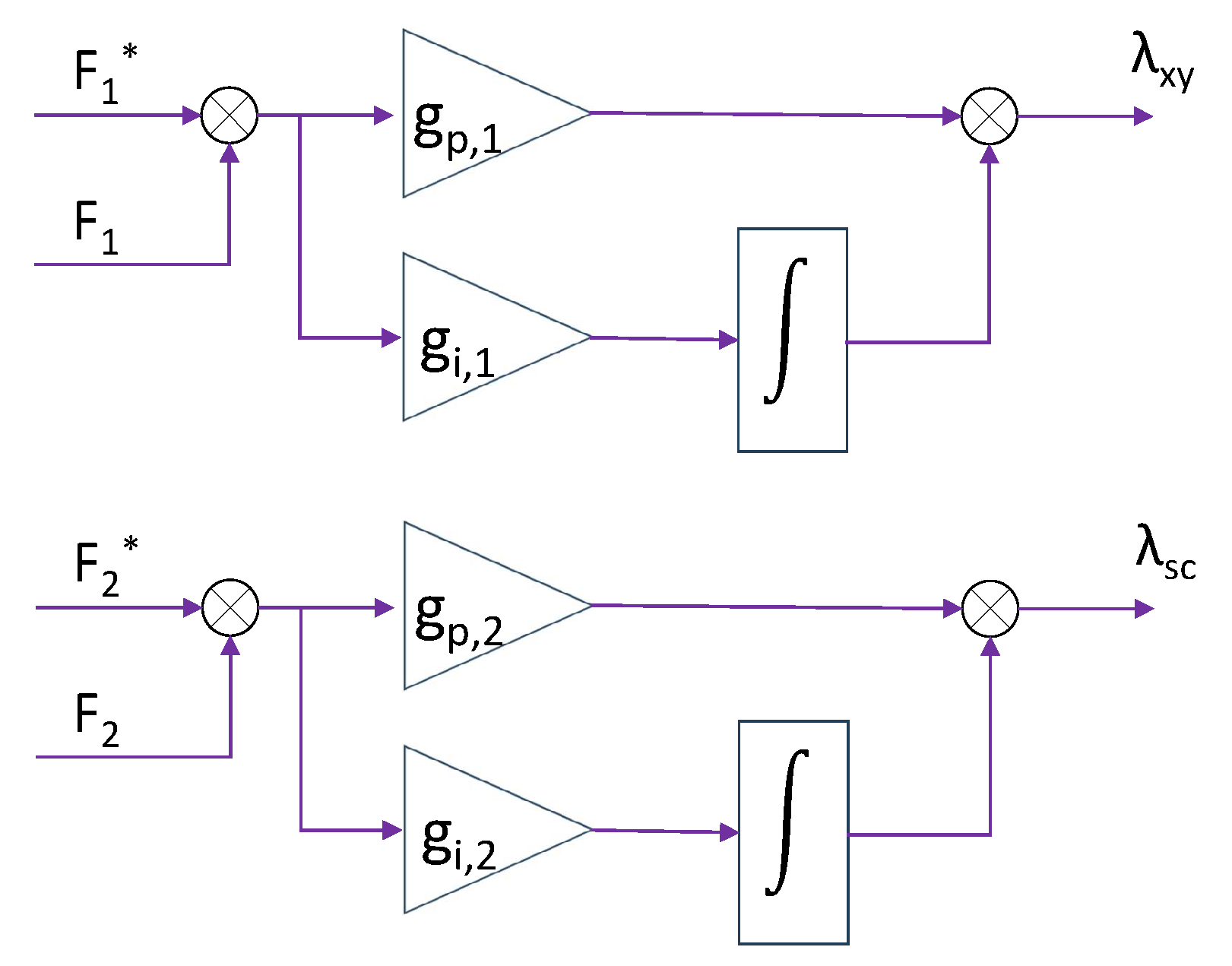
3.1. The “Figures of Merit” Block
3.2. WF Correction Block
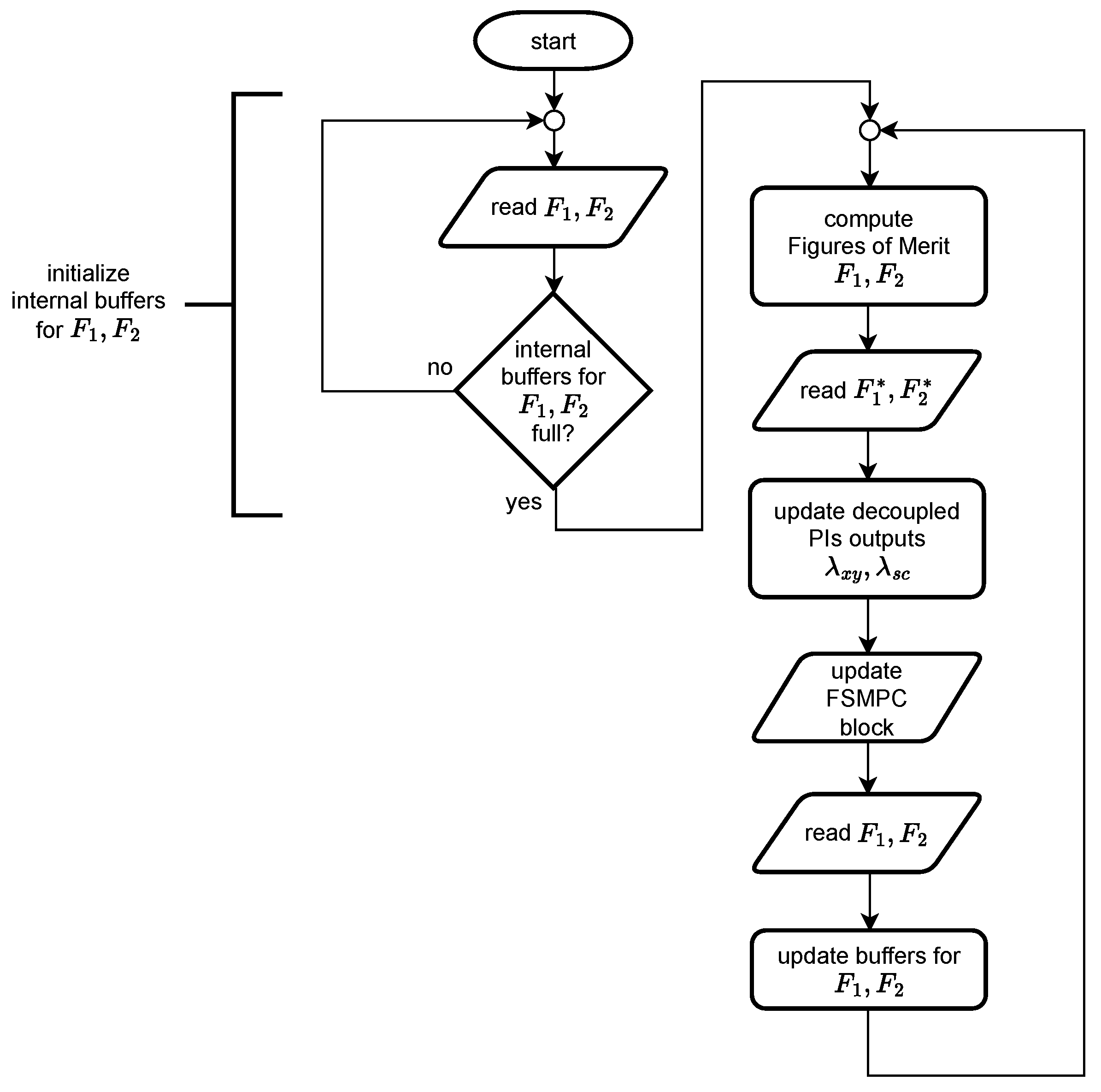
3.3. Workflow
4. Experimental Results
4.1. Tuning of WF Correction Block
4.2. Operating Conditions
4.3. Results for the Proposed Method
4.4. Mechanical Transients
5. Discussion
6. Conclusions
Author Contributions
Funding
Institutional Review Board Statement
Informed Consent Statement
Data Availability Statement
Conflicts of Interest
Abbreviations
| CF | Cost Function |
| DC | Direct Current |
| FSMPC | Finite State Model Predictive Control |
| IM | Induction Machine |
| MPC | Model Predictive Control |
| MPD | Multi-Phase Drive |
| RMS | Root Mean Squared |
| VSD | Variable Speed Drive |
| VSI | Voltage Source Inverter |
| VV | Voltage Vector |
| WF | Weighting Factor |
References
- Lin, C.H.; Farooqui, S.A.; Liu, H.D.; Huang, J.J.; Fahad, M. Finite Control Set Model Predictive Control (FCS-MPC) for enhancing the performance of a single-phase inverter in a Renewable Energy System (RES). Mathematics 2023, 11, 4553. [Google Scholar] [CrossRef]
- Yang, P.; Zeng, X.; Wu, Q.; Cai, H.; Xia, Y.; Li, J. A modified single-vector based FCS-MPC with delayed and suboptimal switching for VSI. Int. J. Electr. Power Energy Syst. 2025, 171, 111014. [Google Scholar] [CrossRef]
- Colodro, F.; Torralba, A. Multirate single-bit Sigma Delta modulators. IEEE Trans. Circuits Syst. II Analog. Digit. Signal Process. 2003, 49, 629–634. [Google Scholar] [CrossRef]
- Yang, L.; Li, H.; Zhao, H.; Huang, J.; Zhou, C. Finite Control Set Model Predictive Control with Feedback-Based Flux-Weakening Operation for PMSM Drives. IEEJ Trans. Electr. Electron. Eng. 2025, 20, 956–965. [Google Scholar] [CrossRef]
- Yu, Z.; Long, J. Review on advanced model predictive control technologies for high-power converters and industrial drives. Electronics 2024, 13, 4969. [Google Scholar] [CrossRef]
- Colodro, F.; Martínez-Heredia, J.M.; Mora, J.L.; Ramirez-Angulo, J.; Torralba, A. Time-Interleaving Sigma–Delta Modulator-Based Digital-to-Analog Converter with Time Multiplexing in the Analog Domain. IEEE Trans. Circuits Syst. II Express Briefs 2022, 70, 441–445. [Google Scholar] [CrossRef]
- Hoggui, A.; Benachour, A.; Madaoui, M.C.; Mahmoudi, M.O. Implementation of Finite Control Set Model Predictive Control (FCS-MPC) for Five-Phase Induction Motors. Enp Eng. Sci. J. 2025, 5, 7–12. [Google Scholar] [CrossRef]
- Lim, C.S.; Levi, E.; Jones, M.; Rahim, N.A.; Hew, W.P. FCS-MPC-Based Current Control of a Five-Phase Induction Motor and its Comparison with PI-PWM Control. IEEE Trans. Ind. Electron. 2014, 61, 149–163. [Google Scholar] [CrossRef]
- Han, J.; Yuan, H.; Li, W.; Zhou, L.; Deng, C.; Yan, M. FCS-MPC Based on Dimension Unification Cost Function. Energies 2024, 17, 2479. [Google Scholar] [CrossRef]
- Zhou, H.; Xiang, X.; Li, H.; Yuan, B.; Jiang, P. FCS-MPC for t-type three-level dual three-phase PMSM drives with multi-objective decoupling optimization. IEEE Trans. Transp. Electrif. 2025, 12, 515–528. [Google Scholar] [CrossRef]
- Vijayan, A.K.; da Costa Gonçalves, P.F.; Batkhishig, B.; Nahid-Mobarakeh, B.; Emadi, A. Integrated FCS-MPC with Synchronous Optimal Pulse-Width Modulation for Enhanced Dynamic Performance in Two-Level Voltage-Source Inverters. Electronics 2025, 14, 3757. [Google Scholar] [CrossRef]
- Satué, M.e.a. Concurrent AI Tuning of a Double-Loop Controller for Multi-Phase Drives. Machines 2024, 12, 899. [Google Scholar] [CrossRef]
- Zhang, Y.; Liu, Y.; Luo, B.; Ling, Y. Variable weight coefficient MPC control strategy for qZSI-VSG wind power grid-connected system. IET Renew. Power Gener. 2023, 17, 1952–1965. [Google Scholar] [CrossRef]
- Guazzelli, P.R.U.; de Andrade Pereira, W.C.; de Oliveira, C.M.R.; de Castro, A.G.; de Aguiar, M.L. Weighting factors optimization of predictive torque control of induction motor by multiobjective genetic algorithm. IEEE Trans. Power Electron. 2019, 34, 6628–6638. [Google Scholar] [CrossRef]
- Arshad, M.H.; Abido, M.A.; Salem, A.; Elsayed, A.H. Weighting factors optimization of model predictive torque control of induction motor using NSGA-II with TOPSIS decision making. IEEE Access 2019, 7, 177595–177606. [Google Scholar] [CrossRef]
- Fretes, H.; Rodas, J.; Doval-Gandoy, J.; Gomez, V.; Gomez, N.; Novak, M.; Rodriguez, J.; Dragičević, T. Pareto Optimal Weighting Factor Design of Predictive Current Controller of a Six-Phase Induction Machine based on Particle Swarm Optimization Algorithm. IEEE J. Emerg. Sel. Top. Power Electron. 2021, 10, 207–219. [Google Scholar] [CrossRef]
- Muddineni, V.P.; Sandepudi, S.R.; Bonala, A.K. Finite control set predictive torque control for induction motor drive with simplified weighting factor selection using TOPSIS method. IET Electr. Power Appl. 2017, 11, 749–760. [Google Scholar] [CrossRef]
- Colodro, F.; Torralba, A. Frequency-to-digital conversion based on sampled phase-locked loop with third-order noise shaping. Electron. Lett. 2011, 47, 1069–1070. [Google Scholar] [CrossRef]
- Ravi Eswar, K.M.; Venkata Praveen Kumar, K.; Vinay Kumar, T. Enhanced predictive torque control with auto-tuning feature for induction motor drive. Electr. Power Components Syst. 2018, 46, 825–836. [Google Scholar] [CrossRef]
- Deng, A.; Yang, W.; Hu, G.; Huang, W.; Xu, D. Reinforcement Learning based Weight-Tuning Model Predictive Control of Permanent Magnet Synchronous Motor. In Proceedings of the 2024 IEEE 10th International Power Electronics and Motion Control Conference (IPEMC2024-ECCE Asia), Chengdu, China, 17–20 May 2024; IEEE: Piscataway, NJ, USA, 2024; pp. 317–322. [Google Scholar]
- Shahid, M.B.; Jin, W.; Abbasi, M.A.; Li, L.; Rasool, A.; Bhatti, A.R.; Hussen, A.S. Optimal weighting factor design based on entropy technique in finite control set model predictive torque control for electric drive applications. Sci. Rep. 2024, 14, 12791. [Google Scholar] [CrossRef] [PubMed]
- Arahal, M.R.; Satue, M.G.; Barrero, F.; Martinez-Heredia, J. Model Reference Adaptive Predictive Current Control of Six-Phase Induction Machine. IEEE Trans. Ind. Electron. 2025, 72, 10927–10934. [Google Scholar] [CrossRef]
- Zhang, Y.; Zhang, Z.; Babayomi, O.; Li, Z. Weighting factor design techniques for predictive control of power electronics and motor drives. Symmetry 2023, 15, 1219. [Google Scholar] [CrossRef]
- Bándy, K.; Stumpf, P. Dynamic weighting factor assignment method for the predictive control of electrical drives. IET Power Electron. 2024, 17, 2083–2094. [Google Scholar] [CrossRef]
- Satué, M.G.; Arahal, M.R.; Ramírez, D.R. Rotor Current Estimation in Predictive Control of Multi-phaseDrives. Rev. Iberoam. Autom. Inform. Ind. 2023, 20, 25–31. [Google Scholar]
- Skogestad, S. Probably the best simple PID tuning rules in the world. In Proceedings of the AIChE Annual Meeting, Reno, NV, USA, 4–9 November 2001; Volume 77, p. 276h. [Google Scholar]
- Bożek, A.; Trybus, L. Tuning PID and PI-PI servo controllers by multiple pole placement. Bull. Pol. Acad. Sci. Tech. Sci. 2022, 70, e139957. [Google Scholar] [CrossRef]
- Wu, X.; Qiao, Y. A new identification method of linear system based on the feature of step response curve. In Proceedings of the 2012 International Conference on Modelling, Identification and Control, Wuhan, China, 24–26 June 2012; IEEE: Piscataway, NJ, USA, 2012; pp. 158–163. [Google Scholar]









| Parameter | Value | Units |
|---|---|---|
| Stator resistance, | 12.85 | Ω |
| Rotor resistance, | 4.80 | Ω |
| Stator leakage inductance, | 79.93 | mH |
| Rotor leakage inductance, | 79.93 | mH |
| Mutual inductance, | 681.7 | mH |
| Rotational inertia, | 0.02 | kg m2 |
| Number of pairs of poles, P | 3 | - |
| Case | ||
|---|---|---|
| (mA) | (kHz) | |
| T1 no adaptation | 50 | 5.5 |
| T1 proposal | 30 | 5.5 |
| T2 no adaptation | 30 | 6 |
| T2 proposal | 30 | 4.5 |
Disclaimer/Publisher’s Note: The statements, opinions and data contained in all publications are solely those of the individual author(s) and contributor(s) and not of MDPI and/or the editor(s). MDPI and/or the editor(s) disclaim responsibility for any injury to people or property resulting from any ideas, methods, instructions or products referred to in the content. |
© 2026 by the authors. Licensee MDPI, Basel, Switzerland. This article is an open access article distributed under the terms and conditions of the Creative Commons Attribution (CC BY) license.
Share and Cite
Arahal, M.R.; Satué, M.G.; Vega-Leal, A.P. Cascaded Finite State Control for a Five-Phase Induction Machine. Appl. Sci. 2026, 16, 2313. https://doi.org/10.3390/app16052313
Arahal MR, Satué MG, Vega-Leal AP. Cascaded Finite State Control for a Five-Phase Induction Machine. Applied Sciences. 2026; 16(5):2313. https://doi.org/10.3390/app16052313
Chicago/Turabian StyleArahal, Manuel R., Manuel G. Satué, and Alfredo P. Vega-Leal. 2026. "Cascaded Finite State Control for a Five-Phase Induction Machine" Applied Sciences 16, no. 5: 2313. https://doi.org/10.3390/app16052313
APA StyleArahal, M. R., Satué, M. G., & Vega-Leal, A. P. (2026). Cascaded Finite State Control for a Five-Phase Induction Machine. Applied Sciences, 16(5), 2313. https://doi.org/10.3390/app16052313

