Next Article in Journal
Effect of Snow on Automotive LiDAR Perception Under Controlled Climatic Chamber Conditions
Previous Article in Journal
Performance Evaluation of Flexible Optical Pressure Sensors Using Inverse Model-Based Pressure Mapping
 
 
Font Type:
Arial Georgia Verdana
Font Size:
Aa Aa Aa
Line Spacing:
Column Width:
Background:
Article

Integrated Mathematical Modelling of a Robot Manipulator Control System Using ANSYS and MATLAB Simulink for Accurate Dynamic Response Prediction

Department of Electric Drive, Mechatronics and Electromechanics, South Ural State University, Chelyabinsk 454080, Russia
*
Author to whom correspondence should be addressed.
Appl. Sci. 2026, 16(4), 2088; https://doi.org/10.3390/app16042088
Submission received: 20 January 2026 / Revised: 18 February 2026 / Accepted: 19 February 2026 / Published: 20 February 2026
(This article belongs to the Section Robotics and Automation)

Abstract

As robotic manipulators evolve toward lightweight and long-link structures, flexibility increasingly affects dynamic response and trajectory tracking accuracy. However, existing studies often lack a consistent coupling mechanism between finite element structural models and control models, and flexible effects are typically treated as disturbances, limiting the direct use of structural parameters for control prediction and optimization. This paper proposes a structure–control collaborative co-simulation framework for a six-degree-of-freedom (6-DOF) flexible-joint manipulator. ANSYS-based finite element analysis (FEA) is integrated with the MATLAB/Simulink control environment to extract joint-level equivalent stiffness, inertia, modal frequencies, and damping parameters, which are embedded into a rigid–flexible coupled dynamic model. A regression-based representation is introduced to capture unmodeled flexible residual dynamics, and a regression-compensated adaptive PID torque controller with σ-modification and a dead-zone mechanism is developed to ensure bounded adaptation and closed-loop stability. Simulation results under no-load and payload conditions demonstrate improved oscillation suppression and tracking accuracy. By establishing a unified coupling mechanism from structural parameters to the control model, the proposed method achieves consistent co-modeling of the structural and control domains and provides an engineering-feasible co-simulation approach for dynamic prediction and control optimization of multi-DOF flexible manipulators under varying operating conditions.

1. Introduction

In recent years, robotic manipulators have been widely applied in precision manufacturing, aerospace operations, and medical robotics, placing increasingly stringent requirements on dynamic response and trajectory tracking accuracy. As manipulators evolve toward lightweight structures and extended links, structural flexibility becomes more pronounced. Under such conditions, conventional rigid-body dynamic models are insufficient to capture vibration and elastic deformation induced by high-speed motion and payload variations. Consequently, flexible manipulator modeling and robust control have become important research topics.
Rigid-body models retain advantages in simplicity and computational efficiency; however, high-precision applications require explicit consideration of structural flexibility. The mainstream modeling approaches include the Modal Expansion Method (MEM), the Assumed Modes Method (AMM), and the Finite Element Method (FEM).
MEM represents elastic deformation as a truncated combination of dominant natural modes derived from the structural eigenvalue problem. It provides clear physical interpretation and modal orthogonality, forming a fundamental framework for flexible multibody modeling. Craig–Bampton component mode synthesis (CMS) improves reduction efficiency by combining fixed-interface and constraint modes [1], while the modal derivatives (MD) approach introduces higher-order correction terms to enhance geometric nonlinear accuracy [2]. Accurate modal parameter identification is also critical for MEM-based modeling. Ni et al. identified payload parameters of flexible space manipulators using complex eigenvalue estimation [3], and Jing et al. proposed a hybrid optimization strategy for dynamic parameter identification under complex configurations [4]. Cheng et al. [5] addressed posture singularity and numerical stability using quaternion-based identification, whereas Jiao et al. [6] developed an autonomous modal analysis method considering spatial dynamic sensitivity. Seyed Hosseini et al. [7,8] applied transfer learning to predict modal parameters and frequency response functions (FRFs) with limited experimental data. Although MEM is effective for high-DOF flexible systems, accuracy under large configuration variations requires nonlinear extensions and refined reduction strategies.
AMM discretizes deformation using predefined shape functions that satisfy boundary conditions and derives rigid–flexible coupled equations within the Lagrangian framework. Subedi et al. validated an Euler–Bernoulli beam-based ODE model for multi-link flexible manipulators [9]. While AMM is computationally efficient and relatively straightforward to implement, truncation errors and configuration dependency must be carefully addressed [10].
FEM provides high-fidelity structural dynamic descriptions through mass and stiffness matrix formulation and is commonly combined with modal reduction for control-oriented simulation. Salamina et al. embedded FEM-derived modes into control simulations [11]; Cammarata et al. investigated global reduction using the finite element floating frame of reference formulation (FE-FFRF) [1]; and Stavropoulos et al. applied FEM models for closed-loop validation [12]. Due to the high degrees of freedom of FEM models, CMS and related reduction techniques are typically required to meet real-time simulation demands.
In terms of control strategies, conventional PID and computed torque control methods achieve satisfactory tracking performance under rigid-body assumptions but degrade significantly when structural flexibility becomes dominant. To enhance robustness, regression-based and adaptive compensation strategies have been proposed. Zhou and Zuo et al. [13,14] constructed error-driven regression vectors to estimate flexible dynamic terms online. Dong et al. [15] reformulated trajectory tracking as a constraint-following servo control problem and designed adaptive laws with leakage and dead-zone mechanisms, validated on a two-link flexible-joint system. Xu et al. [16] addressed actuator nonlinearities through adaptive prescribed-performance control. Other studies introduced leakage-type adaptive laws [17], inverse compensation under dead-zone and quantization effects [18], and adaptive feedback linearization approaches [19]. However, most existing methods treat flexibility as equivalent disturbance or uncertainty, rather than incorporating structural modal information into a physically consistent control framework.
Meanwhile, digital twin (DT) technology has emerged as a promising framework for structure–control collaborative simulation. A digital twin is generally defined as a high-fidelity digital representation of a physical system in virtual space, characterized by deep integration of data interaction, functional mapping, and state synchronization between physical entities and virtual models, thereby enabling predictive analysis, model updating, and performance optimization [20,21,22]. Unlike traditional offline simulation, DT emphasizes model consistency and traceability, allowing structural parameters and operational states to be dynamically incorporated into control design processes.
In robotics, DT has been widely applied to control algorithm validation, task planning optimization, and system-level performance evaluation [23,24,25]. More recently, researchers have integrated finite element (FEM) structural models into DT architectures to support control design and dynamic behavior prediction [26,27,28,29]. High-fidelity structural modeling enables accurate capture of flexible modal characteristics and facilitates closed-loop validation within virtual environments. In addition, cross-platform co-simulation approaches based on ANSYS–Simulink integration have become an important technical pathway for structure–control collaborative modeling, allowing structural parameters extracted from FEM to directly participate in dynamic computation and closed-loop control evaluation [11,12,30,31]. This trend provides a technical foundation for achieving consistent coupling between structural and control domains.
Despite these advances, a key issue remains insufficiently addressed in multi-degree-of-freedom flexible manipulators, which represent strongly coupled electromechanical systems: the lack of a unified and reusable mapping mechanism between finite element structural parameters and control models. Structural parameters such as modal frequencies, equivalent stiffness, and damping are often extracted for structural analysis or offline identification, but are rarely integrated into control-oriented models in a consistent manner. Consequently, a disconnect persists between structural and control domains. Although DT research has progressed at the architectural and system levels, a control-oriented unified structure–control modeling pathway remains lacking for flexible manipulators with pronounced structural dynamics.
To address this issue, this paper proposes a structure–control collaborative modeling approach with the following main contributions:
  • Establish a digital twin–based collaborative co-simulation framework that integrates ANSYS finite element analysis with MATLAB/Simulink control modeling, enabling unified mapping of structural parameters into the control model;
  • Develop a rigid–flexible coupled dynamic model that balances computational efficiency with physical consistency;
  • Propose a regression-compensated adaptive PID control strategy, incorporating σ-modification and a dead-zone mechanism to ensure bounded parameter adaptation and closed-loop stability;
  • Construct a unified closed-loop evaluation framework to quantitatively assess oscillation suppression and tracking performance under varying load conditions.
In summary, this study establishes a unified coupling pathway between finite element structural parameters and control models, achieving consistent collaborative modeling between structural and control domains and providing an engineering-feasible co-simulation method for dynamic prediction and control optimization of multi-DOF flexible manipulators under diverse operating conditions.

2. Six-DOF Robotic Manipulator Model

Accurate dynamic modeling is the foundation for achieving high-performance control and reliable dynamic prediction of robotic manipulators. For multi-degree-of-freedom serial manipulators, the system dynamics are not only influenced by rigid-body inertia, Coriolis/centrifugal effects, and gravity, but also exhibit pronounced joint flexibility and structural vibration characteristics under lightweight design, high-speed motion, and varying payload conditions.
Based on these considerations, this subsection develops a rigid–flexible coupled joint-space dynamic model for a six-DOF robotic manipulator. The dominant rigid-body dynamics are described using a conventional joint-space formulation, while the effects of joint flexibility and unmodeled dynamics are represented through equivalent parameters and residual dynamic terms. The relevant structural parameters are identified via FEA and incorporated into the control model, thereby ensuring physical consistency while satisfying the computational requirements of control design and digital-twin-based co-simulation. Under this modeling framework, the subsequent sections present the trajectory planning method, the dynamic model formulation, and the corresponding torque control strategy.

2.1. Trajectory Planning

Trajectory planning is performed in joint space using polynomial interpolation to generate smooth point-to-point motions. In this work, quintic polynomial interpolation is adopted to generate the desired position, velocity, and acceleration trajectories for each joint. Compared with cubic polynomials, quintic polynomials ensure the continuity of position, velocity, and acceleration simultaneously, thereby avoiding discontinuities in acceleration. This characteristic effectively suppresses joint impacts and energy fluctuations, which is beneficial for stable controller tracking [30,31]. Moreover, given prescribed boundary conditions at the initial and final instants—typically position, velocity, and acceleration—the quintic polynomial yields a unique trajectory. Owing to its higher-order smoothness, this approach is widely used in trajectory generation scenarios aimed at reducing vibration and improving motion quality [32].
The desired angular trajectory of the i-th joint is defined as
q i ( t ) = a 0 i + a 1 i t + a 2 i t 2 + a 3 i t 3 + a 4 i t 4 + a 5 i t 5 ,
and its first- and second-order derivatives are given by
q ˙ i ( t ) = a 1 i + 2 a 2 i t + 3 a 3 i t 2 + 4 a 4 i t 3 + 5 a 5 i t 4 ,
q ¨ i ( t ) = 2 a 2 i + 6 a 3 i t + 12 a 4 i t 2 + 20 a 5 i t 3 ,
where a 0 i , a 1 i , , a 5 i denote the constant coefficients of the quintic polynomial describing the desired trajectory of the i -th joint;
q i ( t ) denotes the desired joint angle of the i-th joint at time t ;
q ˙ i ( t ) represents the desired joint angular velocity;
q ¨ i ( t ) represents the desired joint angular acceleration.
For point-to-point trajectory generation, the robotic manipulator is required to start and stop with zero velocity and zero acceleration. Therefore, the following boundary conditions are imposed over the time interval t [ 0 , t f ] :
q i ( 0 ) = q i 0 , q i ( t f ) = q i f ,
q ˙ i ( 0 ) = 0 , q ˙ i ( t f ) = 0 ,
q ¨ i ( 0 ) = 0 , q ¨ i ( t f ) = 0 .
In these equations, q i 0 and q i f denote the initial and final joint angles, respectively, and t f represents the total trajectory duration. By substituting the six boundary conditions in Equations (4)–(6) into Equations (1)–(3), all polynomial coefficients can be uniquely determined, yielding a complete joint trajectory that satisfies continuity up to the third derivative.

2.2. Torque Control and Dynamic Model

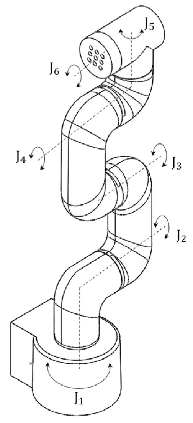
The robotic manipulator considered in this study is a Six-DOF serial robot with flexible joints. Figure 1 illustrates the structure of the Six-DOF serial manipulator investigated in this work. The corresponding physical parameters, including link masses   m i , lengths   L i , and Center of mass (COM) x c , i , y c , i , z c , i (m), are listed in Table 1 and serve as the basis for the dynamic modeling.
The generalized coordinate vector of the system is defined as
q = [ q 1 , q 2 , , q 6 ] T ,
where q i   denotes the angular position of the ith joint.
Based on the Euler–Lagrange formulation, the dynamics of the robotic manipulator can be expressed as
τ = M ( q ) q ¨ + C ( q , q ˙ ) q ˙ + G ( q ) + τ d ,
where τ represents the vector of joint driving torques.
Here, M(q) is the inertia matrix accounting for the mass distribution and rotational inertia of each link;
C ( q , q ˙ ) q ˙   denotes the Coriolis and centrifugal force terms;
G ( q ) represents the gravity vector;
τ d   aggregates unmodeled dynamics, including joint friction, elastic torques induced by joint flexibility, and other external disturbances.
For a general rigid multibody system, the inertia matrix is composed of translational and rotational kinetic energy contributions of each link [3], and can be written as
M ( q ) = i = 1 n ( m i J v , i T J v , i + J ω , i T R i I i R i T J ω , i ) ,
where n denotes the number of degrees of freedom;
R i   is the rotation matrix of the ith link with respect to the base coordinate frame;
J v , i   and J ω , i   are the linear and angular velocity Jacobian matrices, respectively;
m i   is the mass of the link;
I i   is the inertia tensor of the ith link expressed in its local coordinate frame.
Under this approximation, the Coriolis and centrifugal term C ( q , q ˙ ) q ˙   can be defined by
c i j = k = 1 n 1 2 ( m i j q k + m i k q j m k j q i ) q ˙ k .
The gravity vector G ( q ) is obtained by taking the first-order partial derivative of the system potential energy with respect to the generalized coordinates,
G i ( q ) = U q i .
Assuming that the center of mass of each link is located at a distance x i from the corresponding joint axis, the system potential energy can be expressed as
U = k = 1 n m k g z c , k ( q )
where q   denotes the vector of generalized joint coordinates;
n   is the number of degrees of freedom;
m k represents the mass of the k -th link;
g   is the gravitational acceleration constant;
z c , k ( q ) denotes the height of the center of mass of the k -th link expressed in the base coordinate frame.
Substituting it into Equation (12) yields
G i ( q ) = k = 1 n J u , c k ( q ) T m k g e z .
where J v , c k ( q ) denotes the linear velocity Jacobian matrix of the center of mass of the k -th link;
e z is the unit vector representing the gravity direction in the base coordinate frame.

2.3. Control Law Based on Regression Models

Based on the robotic manipulator dynamic model described above, this subsection further develops the control law. In robotic systems, parameter uncertainties, flexible joint effects, and external disturbances are inevitably present. Under such conditions, feedforward compensation solely relying on an accurate dynamic model cannot guarantee satisfactory tracking performance over the entire operating range. Therefore, on the basis of model-based compensation control, a regression-based compensation term incorporating modal information is introduced to online approximate the unmodeled dynamic residuals, thereby enhancing system robustness and control accuracy.
First, a classical model-compensation-based PID control structure is adopted as the baseline controller. Let the desired joint position, velocity, and acceleration generated by the trajectory planning module be denoted by q d , q ˙ d , and q ¨ d , respectively, while the actual joint position and velocity are θ and θ ˙ . The position and velocity tracking errors are defined as
e = q d q , e ˙ = q ˙ d θ ˙ .
To eliminate steady-state errors, an integral error term is introduced, whose discrete-time form is given by
e i n t ( k + 1 ) = e i n t ( k ) + e ( k ) T s ,
where T s   denotes the sampling period.
By combining proportional, derivative, and integral gains K p , K v , and K i , the equivalent joint acceleration a e q   is constructed as
a e q = q ¨ d + K v e ˙ + K p e + K i e i n t .
Accordingly, the baseline control torque is defined as
τ b a s e = M a e q + C q ˙ d ,
where M and C denote the inertia matrix and the Coriolis-related matrix, respectively.
In robotic manipulator systems, the presence of joint flexibility, structural vibrations, and parameter uncertainties inevitably leads to discrepancies between the mathematical model and the actual system behavior. The dynamic residuals induced by such model uncertainties act on the system in the form of equivalent residual torques, which may degrade control accuracy and, in certain operating conditions, even excite undesired vibrations [11]. To compensate for the aforementioned unmodeled flexible dynamics, a regression-based adaptive compensation term is introduced. In this approach, the additional stiffness and damping effects induced by joint flexibility, together with external disturbances, are treated as equivalent residual dynamics and estimated online through the construction of an error-driven regression vector [5,6].
For the ith joint, the regression vector is defined as
ϕ i = [ q ¨ d , i e ˙ i e i ω 1 2 e i ω 2 2 e i 2 ζ i ω 1 e ˙ i 2 ζ i ω 2 e ˙ i ] R 7 ,
where ω 1   and ω 2   denote the first and second dominant natural angular frequencies obtained from global modal analysis, respectively, and ζ i   represents the corresponding modal damping ratio.
This regression vector embeds the equivalent stiffness and damping characteristics of flexible joints into error-related terms, thereby enabling effective representation of flexible residual dynamics without explicitly introducing high-order flexible dynamic models.
The corresponding regression compensation torque is defined as
τ r e g , i = ϕ i T ϑ ^ i ,
where ϑ ^ i   denotes the online-estimated regression parameter vector.
To ensure boundedness of the parameter estimates and suppress parameter drift caused by noise or small steady-state errors, a σ -modification adaptive law with a dead-zone mechanism is adopted [1]. Its discrete-time update law is given by
ϑ ^ i ( k + 1 ) = { ( 1 T s σ ) ϑ ^ i ( k ) + T s Γ ϕ i e i ( k ) , if   e i ( k ) > δ , ( 1 T s σ ) ϑ ^ i ( k ) , otherwise ,
where Γ is the learning-rate matrix, σ is the leakage coefficient used to suppress parameter drift, and δ denotes the dead-zone threshold introduced to avoid unnecessary parameter adaptation when the tracking error approaches zero, the controller is updated in discrete time with sampling period T s = 0.001   s.
To justify the boundedness of the proposed regression-compensated adaptive PID controller incorporating σ-modification and a dead-zone mechanism, a brief Lyapunov-based analysis is provided. Define the tracking errors as
e = q d q , e ˙ = q ˙ d q ˙ ˙ .
Based on the manipulator dynamic model and the composite control input, the closed-loop system can be expressed in the standard adaptive control form. Consider the Lyapunov candidate function
V = 1 2 e ˙ T M ( q ) e ˙ + 1 2 e T K P e + 1 2 θ ~ T Γ 1 θ ~ ˙ ,
where θ ~ = θ θ ^ denotes the parameter estimation error. Using the well-known structural property of robotic manipulators that the matrix M ˙ ( q ) 2 C ( q , q ˙ ) is skew-symmetric [33], and applying the σ-modified adaptive law with a dead-zone mechanism [34], the time derivative of the Lyapunov function satisfies the dissipative inequality
V ˙ c 1 e ˙ 2 σ θ ~ 2 + c 2 ,
where c 1 > 0 and c 2 is a bounded constant associated with residual modeling errors and external disturbances. Therefore, under the assumption that the unmodeled flexible dynamics and disturbances are bounded, all closed-loop signals are uniformly ultimately bounded (UUB). The σ-modification prevents parameter drift, while the dead-zone mechanism suppresses unnecessary parameter updates near steady state, thereby enhancing robustness.
Finally, the overall control input torque of the robotic manipulator is composed of the baseline control term, the regression-based compensation term, and the gravity compensation term, i.e.,
τ = τ b a s e + α r e g τ r e g + G ,
where α r e g   is the weighting factor of the regression compensation, and G denotes the gravity compensation vector.

3. Simulation Analysis and Results

To evaluate the effectiveness and robustness of the proposed control strategy for flexible-joint robotic manipulators, a digital-twin-integrated co-simulation framework was developed based on the MATLAB/Simulink platform (2024b). As shown in Figure 2, the overall simulation environment consists of three interdependent subsystems:
  • a trajectory generation module based on quintic polynomial interpolation, which provides smooth desired joint position, velocity, and acceleration profiles;
  • a composite torque controller integrating conventional PID control with adaptive regression-based compensation;
  • a high-fidelity multibody dynamics system constructed using Simscape Multibody, in which structural parameters are obtained from finite element modal analysis to capture the flexible characteristics of the manipulator; a visualization and feedback module for closed-loop verification, which enables real-time monitoring of joint motion states and tracking performance.
This integrated simulation framework enables coordinated evaluation of trajectory planning, control performance, and flexible structural dynamics within a unified digital-twin environment, thereby providing a reliable basis for validating the proposed control approach.

3.1. Finite Element–Based Structural Parameter Identification

The geometric model of the manipulator was developed in Solidworks 2018 and imported into ANSYS Mechanical 2024R2 for static structural analysis. All components were assumed to be homogeneous and isotropic, and aluminum alloy was used as the material. The corresponding material properties are listed in Table 2.
The finite element model was discretized using tetrahedral solid elements. Local mesh refinement was applied in the joint regions to improve computational accuracy. The overall mesh consists of 140,267 elements and 273,141 nodes, with a minimum element size of 2 × 10 3 m.

3.1.1. Joint Stiffness Identification

In the finite element model, the base of the manipulator is fixed to the ground, and each joint is modeled as an ideal revolute joint, allowing only rotational motion between adjacent links without relative translation.
To reflect practical working conditions, the maximum payload of the manipulator is approximately 5 kg. Therefore, a vertical downward load of 50 N is applied at the end-effector in the finite element model to simulate typical operating conditions.
It should be noted that the identified stiffness corresponds to an equivalent stiffness at the operating point under the given loading condition, rather than the intrinsic material stiffness of the structure.
Under the static assumption, the equivalent rotational stiffness of the i-th joint can be expressed as
K i = T i q
where K i denotes the equivalent rotational stiffness of the i-th joint, T i   represents the reaction torque generated at the joint under the prescribed angular displacement, and θ   is the applied rotational displacement.
Following the above procedure, identical loading conditions are sequentially applied to all six joints. With a terminal load of 50 N applied at the end-effector, the reaction torques corresponding to each joint are extracted, and the results are summarized in Table 3.
As shown in Table 3, the reaction torque exhibits a decreasing trend from the base joint to the end-effector along the kinematic chain, indicating that the equivalent joint stiffness gradually decreases with increasing joint index. This observation is consistent with the general structural and load-transmission characteristics of lightweight serial manipulators, in which joints farther from the base typically exhibit lower torsional stiffness due to reduced cross-sectional dimensions, enlarged moment arms, and increased structural compliance.
In the initial stage of dynamic modeling, the coupling effects among joints are neglected. Accordingly, the joint-space equivalent stiffness matrix is assumed to be diagonal and can be expressed as
K = d i a g ( 131.179 ,     85.63 ,     85.60 ,     85.79 ,     51.61 ,     16.00 ) .

3.1.2. Inertia Matrix Identification

Based on the mass distribution and rotational inertia properties of the structural model, the joint-level inertia matrix is obtained using an equivalent rotational inertia accumulation approach. For a serial robotic manipulator, the rotational inertia of the i-th joint is contributed by all subsequent structural components that participate in the rotational motion about that joint. Accordingly, the equivalent inertia of the i-th joint can be expressed as [27]
J i = k = i n ( I k + m k d k 2 ) ,
where I k , m k , and d k   denote the rotational inertia, mass, and the distance between the center of mass of the k-th link and the corresponding joint axis, respectively.
By substituting the extracted inertia parameters into Equation (28), the joint-space inertia vector is obtained as
J = [ 3.58532 ,     2.97787 ,     2.14511 ,     1.31235 ,     0.89153 ,     0.070302 ] × 10 4 kg · m 2
The equivalent rotational inertia exhibits a progressively decreasing trend along the kinematic chain. Joints closer to the base possess larger inertia due to the accumulation of downstream link masses, whereas distal joints involve fewer participating masses and therefore exhibit significantly reduced inertia. This behavior is consistent with the inertia coupling characteristics of serial robotic manipulators.

3.1.3. Modal Analysis

Modal analysis is performed on the robotic manipulator to investigate its vibration characteristics. The deformation contours of the first six mode shapes of the manipulator are illustrated in Figure 3.

3.1.4. Joint Damping

In the dynamic modeling of flexible robotic manipulators, structural damping is commonly approximated as viscous damping. For multi-degree-of-freedom serial mechanical systems dominated by low- and mid-frequency vibration modes, the Rayleigh damping model is widely adopted due to its concise formulation, clear physical interpretation, and ease of implementation in both finite element and multibody dynamics frameworks. In this study, the basic form of the Rayleigh damping model is referenced as the theoretical foundation for damping modeling, upon which a joint-space damping model is constructed by incorporating the structural characteristics of the manipulator.
Under the Rayleigh damping assumption, the system damping matrix can be expressed as a linear combination of the mass and stiffness matrices [35]:
D = α M + β K ,
where D denotes the damping matrix, M and K represent the system mass and stiffness matrices, respectively, and α and β are the mass-proportional and stiffness-proportional damping coefficients. For the i-th vibration mode, the corresponding modal damping ratio is given by [29]
ξ i = 1 2 ( α ω i + β ω i ) ,
where ω i   denotes the circular natural frequency of the i-th mode.
Considering that the dynamic response of serial robotic manipulators is primarily governed by low-order modes, while higher-order modes have a relatively limited influence on joint motion and end-effector vibration, the first two vibration modes are selected as characteristic modes for damping parameter identification based on the finite element modal analysis results. As shown in Figure 3, the circular natural frequencies of the first and second modes are
ω 1 = 410.12   rad / s , ω 2 = 458.44   rad / s .
Based on numerical simulation results and structural damping characteristics, the first two modes are assumed to share the same equivalent damping ratio, i.e.,
ξ 1 = ξ 2 = 0.01 .
Substituting these parameters into the Rayleigh damping relations, the mass-proportional damping coefficient α and the stiffness-proportional damping coefficient β can be determined.
α 2.60 × 10 13 , β 1.9997 × 10 2
Subsequently, since α is extremely small and can be regarded as approximately zero, the mass-proportional damping term is neglected in the practical modeling process. Therefore, the final damping is dominated by the stiffness-proportional term β. Accordingly, the equivalent joint-space damping matrix in diagonal form is constructed as:
D = d i a g ( 2.62 ,     1.71 ,     1.71 ,     1.72 ,     1.03 ,     0.32 ) ,
The resulting damping matrix indicates that the joint damping coefficients decrease progressively from the base to the end-effector along the kinematic chain. This distribution is consistent with the structural characteristics of lightweight serial manipulators, in which joints closer to the base typically possess larger equivalent mass and stiffness and thus exhibit stronger energy dissipation capability, whereas distal joints show relatively smaller equivalent damping. From a dynamic perspective, these results verify the physical rationality and engineering applicability of the proposed joint-space damping model.

3.2. Digital-Twin Co-Simulation Platform Based on MATLAB/Simulink

To ensure consistency between the mechanical structural model and the control-oriented dynamic model within the proposed digital twin framework, and to evaluate the influence of flexibility on trajectory tracking performance under closed-loop conditions, a digital-twin co-simulation platform for a six-DOF flexible robotic manipulator is developed in MATLAB/Simulink. The platform adopts Simscape Multibody as the core environment to construct the virtual manipulator entity, enabling joint-torque actuation, state feedback, and 3D visualization in an integrated manner. Meanwhile, the trajectory planning module and the torque control module are incorporated to form a closed-loop validation workflow of “desired trajectory–control law–digital twin model–state feedback”. Unlike directly establishing a high-order flexible-body dynamic model, the key structural parameters identified by the ANSYS FEA in Section 3.1 are used as inputs to the digital twin model, including joint equivalent stiffness K, equivalent inertia J, modal, damping-related information D and inertia tensor I p n , i . This parameter mapping makes the dynamic parameters used in control simulations traceable and consistent with the structural-domain identification results, thereby reducing the impact of parameter mismatch on closed-loop performance evaluation.
The principal moments of inertia I p n , i provided by ANSYS are listed in Table 4.
As illustrated in Figure 4, the overall framework integrates trajectory planning, structural parameter extraction, dynamic modeling, and closed-loop torque control into a unified architecture. The trajectory generator employs quintic polynomial interpolation to produce the desired joint position q d , velocity q ˙ d , and acceleration q ¨ d , ensuring smoothness and continuity of motion.
The computed torque controller receives the desired signals ( q d , q ˙ d , q ¨ d ) together with the measured joint states ( q , q ˙ ) from the robot plant. Structural parameters extracted from the finite element analysis (FEA) model, including the link masses m , link lengths L , equivalent joint inertia J , equivalent stiffness D , and center-of-mass (COM) information, are supplied to the dynamic model. These parameters are used to compute the inertia matrix M ( q ) , Coriolis and centrifugal matrix C ( q , q ˙ ) , and gravity vector G ( q ) . Based on these dynamic terms, the controller generates the control torque τ .
In addition, a regression-based compensation term constructed from modal parameters is incorporated to enhance the suppression capability against flexibility-induced disturbances. In the robot plant model, structural properties are configured according to the principal inertia components I p , equivalent stiffness D , COM coordinates, and damping parameters obtained from FEA. The key structural data are mapped into the physical model to ensure consistency between the structural representation and the control-oriented simulation.
Finally, the control torque τ   is applied to the robot plant, and the resulting joint states are fed back to the controller, forming a digital twin-based closed-loop co-simulation framework.
As shown in Figure 5, after receiving the joint torque commands from the controller, the digital-twin plant model computes and outputs the joint states ( q , q ˙ ) in real time and feeds them back to the controller as feedback signals, thereby enabling a closed-loop assessment of tracking errors and transient/steady-state dynamic response characteristics. In addition, key time-domain signals, including joint angle responses, position errors, and velocity errors, are recorded to support subsequent quantitative analysis. Meanwhile, the joint damping matrix D   and the equivalent inertia vector J identified in the preceding subsection are incorporated into the manipulator model to characterize its dynamic behavior.
During simulation, a visualization module is configured as shown in Figure 6, which is used to observe the manipulator posture evolution.
Based on the above platform, joint-space trajectory tracking simulations are conducted under no-load and payload conditions to verify the adaptability and robustness of different modeling strategies against load disturbances.

4. Result

To comprehensively evaluate the control performance of the regression-based dynamic model under different operating conditions, joint-space trajectory tracking simulations of the six-DOF robotic manipulator were conducted under both no-load and loaded conditions. The conventional dynamic model and the regression-based dynamic model employed identical PID control parameters to ensure a fair and consistent comparison. In all cases, the desired joint trajectories were generated using quintic polynomial planning. Figure 7, Figure 8, Figure 9 and Figure 10 present the tracking results of the six joints for the two models under both loading conditions, Figure 11 shows the system responses under external torque disturbance conditions.
From the no-load simulation results, it can be observed that the actual trajectories of all six joints converge stably to their respective target positions within 1.5–2 s, without noticeable overshoot or oscillations. This behavior is consistent with observations reported in studies on robot dynamic identification, indicating that under light-load conditions with insufficient excitation of dynamic parameters, differences in model structure have a negligible influence on control performance [12,26].
Under loaded operating conditions, oscillatory characteristics and modeling errors are further amplified, causing the conventional model to exhibit pronounced periodic fluctuations in the responses of Joints 2–5. The steady-state peak-to-peak amplitudes generally reach 0.040–0.080 rad. In contrast, when the regression-based model is applied, load-induced high-frequency oscillations are significantly suppressed, with steady-state peak-to-peak values typically reduced to 0.015–0.035 rad. Overall, the oscillation magnitude is decreased by approximately 50–65%.
From the error response curves of all six joints, it can be observed that, under identical PID control parameters, the system based on the conventional dynamic model exhibits pronounced error overshoot and steady-state oscillations when subjected to external loads. In contrast, the regression-based dynamic model demonstrates smoother and more controllable error characteristics across all joints. During the initial transient phase, the conventional model generally produces relatively large error peaks, with the maximum error of some joints exceeding 0.10 rad. By comparison, the peak errors of the regression-based model are smaller, typically reduced by approximately 40–60%, indicating improved transient performance under loaded conditions.
In the steady-state phase, the error responses of the conventional model exhibit persistent and relatively large periodic oscillations, with amplitudes remaining in the range of approximately 0.04–0.10 rad for most joints. In contrast, the steady-state error amplitudes of the regression-based model are generally reduced to 0.02–0.04 rad, corresponding to an overall oscillation reduction of about 50%. Moreover, the regression-based model achieves faster error convergence, typically reaching a stable oscillatory pattern within 1–1.5 s, whereas the conventional model continues to exhibit pronounced decaying oscillations.
These results indicate that the regression-based dynamic model can more accurately capture the inertia and torque characteristics of the system under load variations, thereby significantly enhancing error suppression capability and steady-state performance in closed-loop control.
From the velocity error responses of all six joints, it can be generally observed that, under loaded conditions, the conventional dynamic model exhibits relatively large initial velocity error peaks accompanied by pronounced high-frequency oscillations. In contrast, the regression-based model significantly suppresses these effects, enabling faster convergence of the velocity errors and a more stable steady-state behavior. Specifically, within the first 0.5–1 s, the conventional model commonly experiences large-amplitude velocity error oscillations, with peak values in some joints exceeding ±6 rad/s. By comparison, the transient error amplitudes of the regression-based model are markedly smaller, with oscillation peaks typically reduced by approximately 40–60%, effectively mitigating the initial impact caused by dynamic mismatches.
As time progresses, the conventional model continues to exhibit noticeable decaying oscillations beyond 1.0–1.5 s, whereas the velocity errors of the regression-based model have largely converged to a stable state, showing only small-amplitude periodic fluctuations. This behavior indicates stronger damping characteristics and a smoother dynamic response for the regression-based model.
As shown in Figure 11, to evaluate the influence of external disturbances on the dynamic response of the system, an additional torque disturbance T = 10   Nm is applied to Joint 2 at t = 2 s. After the disturbance is introduced, the system response exhibits noticeable changes.
First, the directly disturbed Joint 2 shows persistent periodic oscillations around the steady-state position, with an oscillation amplitude of approximately ±0.02–0.04 rad, whereas a relatively smooth response is maintained in the absence of disturbance. This indicates that the external torque disturbance disrupts the dynamic equilibrium of Joint 2, leading to additional vibration responses.
Furthermore, due to the inter-joint dynamic coupling effects of the robotic manipulator, the disturbance propagates from Joint 2 to other joints, causing Joints 3 and 4 to exhibit oscillatory behaviors as well. The oscillation amplitudes of these joints are approximately ±0.01–0.03 rad, characterized by small periodic fluctuations around their equilibrium positions.
In contrast, Joints 1, 5, and 6 show nearly identical responses under both conditions, with only negligible variations, and their fluctuation amplitudes remain below ±0.01 rad. Based on the structural configuration shown in Figure 1, Joints 2, 3, and 4 share similar motion directions, which further explains their higher sensitivity to the disturbance applied to Joint 2, while Joints 1, 5, and 6 are less affected by the coupling.
Despite the presence of sustained oscillations in some joints, all joint responses remain bounded and no divergence is observed, indicating that the overall system maintains good stability and a certain level of robustness under external disturbance.

5. Conclusions

This paper developed an integrated structural–control co-modeling framework for a six-DOF flexible-joint robotic manipulator by coupling ANSYS-based FEA with a MATLAB/Simulink (Simscape Multibody) digital-twin co-simulation environment. Within this framework, FEA was used primarily as a parameter identification tool to extract joint-level equivalent stiffness, inertia, and modal/damping-related characteristics, which were then mapped into a control-oriented joint-space dynamics model and embedded into the digital-twin plant for closed-loop verification.
Based on the identified structural information, a rigid–flexible coupled joint-space model incorporating modal stiffness and damping parameters was constructed, and a regression-equation representation was introduced to capture unmodeled flexible residual dynamics. On this basis, a regression-compensated adaptive PID torque control strategy was designed, where σ-modification and a dead-zone mechanism were adopted to ensure bounded adaptation and mitigate parameter drift.
Joint-space trajectory tracking simulations under both no-load and payload conditions were conducted in the unified digital-twin platform, with identical PID parameters used for the conventional model and the regression-based model to ensure a fair comparison. Under no-load conditions, both approaches achieved stable convergence to target positions within approximately 1.5–2 s without obvious overshoot or oscillations. Under payload conditions, the conventional model exhibited pronounced periodic fluctuations (notably in Joints 2–5), whereas the regression-enhanced approach substantially suppressed load-induced oscillations: the steady-state peak-to-peak joint position fluctuations were reduced from about 0.040–0.080 rad to 0.015–0.035 rad (approximately 50–65% reduction). Moreover, the position error peaks during the transient phase were typically reduced by about 40–60%, and the steady-state position error amplitudes decreased from roughly 0.04–0.10 rad to 0.02–0.04 rad. The velocity error results further confirmed these improvements, showing markedly smaller transient peaks (often reduced by 40–60%) and an overall steady-state oscillation attenuation of approximately 30–50% under payload disturbances.
Overall, the proposed structure–control collaborative co-simulation framework provides a consistent approach for integrating finite element structural parameters into control-oriented dynamic modeling of flexible-joint robotic manipulators. By explicitly incorporating modal-related information into the regression-based compensation, the proposed method improves the representation of flexible residual dynamics and enhances the adaptability of the control system under varying load conditions and modeling uncertainties.
Compared with conventional approaches that treat flexibility as an equivalent disturbance, the present method establishes a unified mapping mechanism between structural parameters and control models, thereby improving the physical consistency of the dynamic model and enabling more reliable performance evaluation within the co-simulation environment.
Future work will focus on real-time implementation and experimental validation, such as hardware-in-the-loop testing or prototype-based experiments. In addition, further investigations will consider stronger joint coupling effects, more detailed friction modeling, and nonlinear compliance characteristics to extend the applicability of the proposed approach to more complex operating conditions.

Author Contributions

Conceptualization, C.W. and M.A.G.; methodology, C.W., S.Z. and M.A.G.; software, C.W. and S.Z.; validation, C.W.; formal analysis, C.W.; investigation, M.A.G. and V.K.; resources, M.A.G. and I.K.; data curation, C.W. and V.K.; writing—original draft preparation, C.W. and S.Z.; writing—review and editing, M.A.G., V.K. and I.K.; supervision, M.A.G.; project administration, M.A.G. and I.K.; funding acquisition, M.A.G. All authors have read and agreed to the published version of the manuscript.

Funding

This research was funded by the Russian Science Foundation (grant no. 25-79-10376). https://rscf.ru/project/25-79-10376/ (accessed on 1 October 2025).

Institutional Review Board Statement

Not applicable.

Informed Consent Statement

Not applicable.

Data Availability Statement

The original contributions presented in the study are included in the article; further inquiries can be directed to the corresponding author.

Conflicts of Interest

The authors declare no conflicts of interest.

References

  1. Cammarata, A. Global modes for the reduction of flexible multibody systems. Multibody Syst. Dyn. 2021, 53, 59–83. [Google Scholar] [CrossRef]
  2. Wu, L.; Tiso, P. Model Order Reduction Using Modal Derivatives for Nonlinear Flexible Multibody Systems. Mech. Syst. Signal Process. 2021, 148, 107146. [Google Scholar]
  3. Ni, Z.; Wu, S.; Zhang, Y.; Wu, Z. Payload Parameter Identification of a Flexible Space Manipulator System via Complex Eigenvalue Estimation. Int. J. Aerosp. Eng. 2020, 2020, 5142925. [Google Scholar] [CrossRef]
  4. Jing, H.; Ma, X.; Chen, M.; Chen, J. Dynamic Parameter Identification Method for Space Manipulators Based on Hybrid Optimization Strategy. Actuators 2025, 14, 497. [Google Scholar] [CrossRef]
  5. Cheng, J.; Bi, S.; Yuan, C. Dynamic Parameters Identification Method of 6-DOF Industrial Robot Based on Quaternion. Mathematics 2022, 10, 1513. [Google Scholar] [CrossRef]
  6. Jiao, Y.; Chen, X.; Peng, Y.; Mao, X.; Guo, Q. Autonomous Modal Analysis Method for Industrial Robots Considering Dynamic Spatial Sensitivity and Excitation Randomness. Sci. Rep. 2025, 15, 12581. [Google Scholar] [CrossRef]
  7. Seyed Hosseini, S.H.; Hajzargarbashi, S.; Côté, G.; Liu, Z. Transfer Learning Approach for Estimating Modal Parameters of Robot Manipulators Using Minimal Experimental Data. Vibration 2025, 8, 65. [Google Scholar] [CrossRef]
  8. Seyed Hosseini, S.H.; Hajzargarbashi, S.; Liu, Z. Enhancing robotic manipulator performance through analyzing vibration, identifying deep-learning-based modal parameters and estimating frequency response functions. Machines 2025, 13, 822. [Google Scholar] [CrossRef]
  9. Subedi, D.; Tyapin, I.; Hovland, G. Dynamic Modeling of Planar Multi-Link Flexible Manipulators. Robotics 2021, 10, 70. [Google Scholar] [CrossRef]
  10. Fan, J.; Zhang, D. Dynamic Modeling of Flexible Robots Based on Different Discretization Methods. Chin. J. Theor. Appl. Mech. 2016, 48, 843–856. [Google Scholar]
  11. Salamina, L.; Botto, D.; Mauro, S.; Pastorelli, S. Modeling of Flexible Bodies for the Study of Control in the Simulink Environment. Appl. Sci. 2020, 10, 5861. [Google Scholar] [CrossRef]
  12. Stavropoulos, P.; Gerontas, C.; Bikas, H.; Souflas, T. Multi-body dynamic simulation of a machining robot driven by CAM. In Proceedings of the 55th CIRP Conference on Manufacturing Systems 2022, Lugano, Switzerland, 29 June–1 July 2022; Procedia CIRP; Volume 107, pp. 764–769. [Google Scholar]
  13. Zhou, J.; Zuo, G.; Li, X.; Yu, S.; Dong, S. Motion Control Strategy for Robotic Arm Using Deep Cascaded Feature-Enhancement Bayesian Broad Learning System with Motion Constraints. ISA Trans. 2025, 160, 268–278. [Google Scholar] [CrossRef] [PubMed]
  14. Zuo, G.; Dong, S.; Zhou, J.; Yu, S.; Zhao, M. Motion Control Strategy for Robotic Arm Using Cascaded Feature-Enhancement ElasticNet Broad Learning System. Control Eng. Pract. 2025, 158, 106278. [Google Scholar] [CrossRef]
  15. Dong, F.; Yu, B.; Zhao, X.; Chen, S.; Liu, H. Constraint-Following Servo Control for Trajectory Tracking of Manipulator with Flexible Joints and Mismatched Disturbances. Machines 2021, 9, 202. [Google Scholar] [CrossRef]
  16. Xu, H.; Yang, Q.; Cai, J.; Zhu, C.; Mei, C. Adaptive Prescribed Performance Control for Flexible-Joint Robotic Manipulators with Unknown Deadzone and Actuator Faults. Electronics 2025, 14, 1917. [Google Scholar] [CrossRef]
  17. Wang, H.; Zhang, N.; Shah, U.H.; Li, M.; Hou, D. Adaptive Neural Network Anti-Disturbance Control of a Cable-Driven Flexible-Joint-Based Underwater Vehicle Manipulator System with Dead-Zone Input Nonlinearities via Multiple Neural Observers. Intell. Mar. Technol. Syst. 2024, 2, 5. [Google Scholar] [CrossRef]
  18. Zhao, Z.; Tan, Z.; Liu, Z.; Efe, M.O.; Ahn, C.K. Adaptive Inverse Compensation Fault-Tolerant Control for a Flexible Manipulator with Unknown Dead-Zone and Actuator Faults. IEEE Trans. Ind. Electron. 2023, 70, 12698–12707. [Google Scholar] [CrossRef]
  19. Montoya-Cháirez, J.; Moreno-Valenzuela, J. An Input–Output Feedback Linearization Approach to the Motion Control of Flexible Joint Manipulators. IET Control Theory Appl. 2022, 16, 31–50. [Google Scholar]
  20. Schluse, M.; Priggemeyer, M.; Atorf, L.; Rossmann, J. From Simulation to Experimentable Digital Twins: Streamlining Simulation-Based Systems Engineering for Industry 4.0. IEEE Trans. Ind. Inform. 2018, 14, 1722–1731. [Google Scholar] [CrossRef]
  21. Liu, M.; Fang, S.; Dong, H.; Xu, C. Review of Digital Twin about Concepts, Technologies, and Industrial Applications. J. Manuf. Syst. 2021, 58, 346–361. [Google Scholar] [CrossRef]
  22. Anwer, N.; Stark, R.; Tao, F.; Erkoyuncu, J.A. Developing and Leveraging Digital Twins in Engineering Design. CIRP Annals 2025, 74, 843–868. [Google Scholar] [CrossRef]
  23. Huang, Z.; Shen, Y.; Li, J.; Fey, M.; Brecher, C. A Survey on AI-Driven Digital Twins in Industry 4.0: Smart Manufacturing and Advanced Robotics. Sensors 2021, 21, 6340. [Google Scholar] [CrossRef] [PubMed]
  24. Kuts, V.; Marvel, J.A.; Aksu, M.; Pizzagalli, S.L.; Sarkans, M.; Bondarenko, Y.; Otto, T. Digital Twin as Industrial Robots Manipulation Validation Tool: A VR User Interface. Robotics 2022, 11, 113. [Google Scholar] [CrossRef]
  25. Baratta, A.; Cimino, A.; Longo, F.; Nicoletti, L. Digital Twin for Human–Robot Collaboration Enhancement in Manufacturing Systems. Comput. Ind. Eng. 2024, 187, 109764. [Google Scholar] [CrossRef]
  26. Modelica Association. Functional Mock-up Interface (FMI) Standard—Specification Version 2.0; Modelica Association: Linköping, Sweden, 2014. [Google Scholar]
  27. Shao, D. An FMI-Based Co-Simulation Framework for a Hybrid Wave Energy Converter with Digital Twin Integration. Energy Convers. Manag. 2025, 323, 119220. [Google Scholar] [CrossRef]
  28. Zhao, X.; Wang, M.; Liu, N.; Tang, Y. Trajectory Planning for 6-DOF Robotic Arm Based on Quintic Polynomial. In Proceedings of the 2nd International Conference on Control, Automation and Artificial Intelligence (CAAI 2017), Sanya, China, 25–26 June 2017. [Google Scholar]
  29. Zhang, J.; Meng, Q.; Feng, X.; Shen, H. A 6-DOF Robot Time-Optimal Trajectory Planning Based on an Improved Genetic Algorithm. Robot. Biomim. 2018, 5, 3. [Google Scholar] [CrossRef]
  30. Goubej, M.; Königsmarková, J.; Kampinga, R.; Nieuwenkamp, J.; Paquay, S. Employing Finite Element Analysis and Robust Control Concepts in Mechatronic System Design-Flexible Manipulator Case Study. Appl. Sci. 2021, 11, 3689. [Google Scholar] [CrossRef]
  31. Caiza, J.; Sanz, J. ISO 23247-Based Digital Twin Architecture for Manufacturing Systems. Appl. Sci. 2024, 14, 4204. [Google Scholar] [CrossRef]
  32. Abir, G.; Atal, A.K.; Bassem, H.; Peter, P. Digital Twin for Human–Robot Interactions by Means of Industry 4.0 Enabling Technologies. Sensors 2022, 22, 4950. [Google Scholar] [CrossRef]
  33. Spong, M.W.; Hutchinson, S.; Vidyasagar, M. Robot Modeling and Control; Wiley: New York, NY, USA, 2006. [Google Scholar]
  34. Ioannou, P.; Sun, J. Robust Adaptive Control; Dover Publications: Mineola, NY, USA, 2012. [Google Scholar]
  35. Tsubasa, M.; Toshio, U.; Mitsunori, T.; Haruki, T. Digital Twin Framework for Human–Robot Collaboration. Sensors 2021, 21, 8266. [Google Scholar]
Figure 1. Schematic of the robotic manipulator and joint motions.
Figure 1. Schematic of the robotic manipulator and joint motions.
Applsci 16 02088 g001
Figure 2. Integrated structural–control co-simulation framework for a six-DOF manipulator.
Figure 2. Integrated structural–control co-simulation framework for a six-DOF manipulator.
Applsci 16 02088 g002
Figure 3. Mode shapes of the robotic manipulator from the first to the sixth order. (a) Mode 1. (b) Mode 2. (c) Mode 3. (d) Mode 4. (e) Mode 5. (f) Mode 6.
Figure 3. Mode shapes of the robotic manipulator from the first to the sixth order. (a) Mode 1. (b) Mode 2. (c) Mode 3. (d) Mode 4. (e) Mode 5. (f) Mode 6.
Applsci 16 02088 g003
Figure 4. Control block diagram of the robotic manipulator.
Figure 4. Control block diagram of the robotic manipulator.
Applsci 16 02088 g004
Figure 5. Simscape-based digital-twin plant model of the robotic manipulator.
Figure 5. Simscape-based digital-twin plant model of the robotic manipulator.
Applsci 16 02088 g005
Figure 6. Visualization and data-logging module.
Figure 6. Visualization and data-logging module.
Applsci 16 02088 g006
Figure 7. Comparison of joint position under no-load conditions. (a) Joint 1. (b) Joint 2. (c) Joint 3. (d) Joint 4. (e) Joint 5. (f) Joint 6.
Figure 7. Comparison of joint position under no-load conditions. (a) Joint 1. (b) Joint 2. (c) Joint 3. (d) Joint 4. (e) Joint 5. (f) Joint 6.
Applsci 16 02088 g007
Figure 8. Comparison of joint position under load conditions. (a) Joint 1. (b) Joint 2. (c) Joint 3. (d) Joint 4. (e) Joint 5. (f) Joint 6.
Figure 8. Comparison of joint position under load conditions. (a) Joint 1. (b) Joint 2. (c) Joint 3. (d) Joint 4. (e) Joint 5. (f) Joint 6.
Applsci 16 02088 g008
Figure 9. Comparison of joint position errors under loaded conditions. (a) Joint 1. (b) Joint 2. (c) Joint 3. (d) Joint 4. (e) Joint 5. (f) Joint 6.
Figure 9. Comparison of joint position errors under loaded conditions. (a) Joint 1. (b) Joint 2. (c) Joint 3. (d) Joint 4. (e) Joint 5. (f) Joint 6.
Applsci 16 02088 g009
Figure 10. Comparison of joint velocity errors under loaded conditions. (a) Joint 1. (b) Joint 2. (c) Joint 3. (d) Joint 4. (e) Joint 5. (f) Joint 6.
Figure 10. Comparison of joint velocity errors under loaded conditions. (a) Joint 1. (b) Joint 2. (c) Joint 3. (d) Joint 4. (e) Joint 5. (f) Joint 6.
Applsci 16 02088 g010
Figure 11. Comparison of joint position with disturbance. (a) Joint 1. (b) Joint 2. (c) Joint 3. (d) Joint 4. (e) Joint 5. (f) Joint 6.
Figure 11. Comparison of joint position with disturbance. (a) Joint 1. (b) Joint 2. (c) Joint 3. (d) Joint 4. (e) Joint 5. (f) Joint 6.
Applsci 16 02088 g011
Table 1. Physical parameters of the 6-DOF robotic manipulator.
Table 1. Physical parameters of the 6-DOF robotic manipulator.
Joint IndexJ1J2J3J4J5J6
Length   L i (m)0.0590.1080.1080.0380.0380.020
Mass   m i (kg)0.1170.1410.1560.0620.0940.034
COM   x c , i (m)−3.324 × 10−55.400 × 10−45.400 × 10−46.868 × 10−35.535 × 10−30
COM   y c , i (m)4.068 × 10−2−3.090 × 10−2−3.090 × 10−2−2.739 × 10−23.330 × 10−26.904 × 10−3
COM   z c , i (m)8.287 × 10−35.121 × 10−25.121 × 10−25.487 × 10−6−1.254 × 10−70
Table 2. Material properties in the finite element model.
Table 2. Material properties in the finite element model.
MaterialDensity (kg/m3)Young’s Modulus (Pa)Poisson’s RatioTensile Strength (Pa)Yield Strength (Pa)
Aluminum Alloy27707.16 × 10100.333.1 × 1082.8 × 108
Table 3. Joint reaction torque and rotation angle.
Table 3. Joint reaction torque and rotation angle.
Joint IndexJ1J2J3J4J5J6
Reaction torque (N·m)68.68444.8444.82644.90227.0218.378
Rotation angle q (rad)0.51.0−0.80.60.3−0.5
Table 4. Principal components of the inertia tensor of each link expressed in the local coordinate frame (extracted from ANSYS Mechanical).
Table 4. Principal components of the inertia tensor of each link expressed in the local coordinate frame (extracted from ANSYS Mechanical).
ComponentJ1J2J3J4J5J6
Ip 1   ( kg · m 2 )1.374 × 10−41.586 × 10−41.403 × 10−48.117 × 10−51.059 × 10−47.002 × 10−5
Ip 2   ( kg · m 2 )9.108 × 10−58.198 × 10−58.398 × 10−52.599 × 10−56.436 × 10−51.147 × 10−5
Ip 3   ( kg · m 2 )3.826 × 10−53.827 × 10−53.826 × 10−54.026 × 10−53.812 × 10−53.005 × 10−5
Disclaimer/Publisher’s Note: The statements, opinions and data contained in all publications are solely those of the individual author(s) and contributor(s) and not of MDPI and/or the editor(s). MDPI and/or the editor(s) disclaim responsibility for any injury to people or property resulting from any ideas, methods, instructions or products referred to in the content.

Share and Cite

MDPI and ACS Style

Wen, C.; Grigorev, M.A.; Kushnarev, V.; Zhang, S.; Kholodilin, I. Integrated Mathematical Modelling of a Robot Manipulator Control System Using ANSYS and MATLAB Simulink for Accurate Dynamic Response Prediction. Appl. Sci. 2026, 16, 2088. https://doi.org/10.3390/app16042088

AMA Style

Wen C, Grigorev MA, Kushnarev V, Zhang S, Kholodilin I. Integrated Mathematical Modelling of a Robot Manipulator Control System Using ANSYS and MATLAB Simulink for Accurate Dynamic Response Prediction. Applied Sciences. 2026; 16(4):2088. https://doi.org/10.3390/app16042088

Chicago/Turabian Style

Wen, Chenfei, Maksim A. Grigorev, Victor Kushnarev, Siyuan Zhang, and Ivan Kholodilin. 2026. "Integrated Mathematical Modelling of a Robot Manipulator Control System Using ANSYS and MATLAB Simulink for Accurate Dynamic Response Prediction" Applied Sciences 16, no. 4: 2088. https://doi.org/10.3390/app16042088

APA Style

Wen, C., Grigorev, M. A., Kushnarev, V., Zhang, S., & Kholodilin, I. (2026). Integrated Mathematical Modelling of a Robot Manipulator Control System Using ANSYS and MATLAB Simulink for Accurate Dynamic Response Prediction. Applied Sciences, 16(4), 2088. https://doi.org/10.3390/app16042088

Note that from the first issue of 2016, this journal uses article numbers instead of page numbers. See further details here.

Article Metrics

Back to TopTop