Parameter Calculation of Coal Mine Gas Drainage Networks Based on PSO–Newton Iterative Algorithm
Abstract
1. Introduction
2. Literature Review
3. Gas Drainage Network and Mathematical Model
3.1. Gas Drainage Network
3.2. Mathematical Model of Confluence Structure
3.3. Gas Drainage Network Solving Process
- (1)
- Sequential calculation for gas drainage network
- (2)
- Exogenous parameters of the model
- (3)
- Verification of the model solution
4. Algorithm Design
4.1. Newton’s Algorithm for Solving Confluence Structure
4.2. PSO Algorithm Based Exogenous Parameters Search
- (1)
- Range of exogenous parameters
- (2)
- Iteration of the algorithm
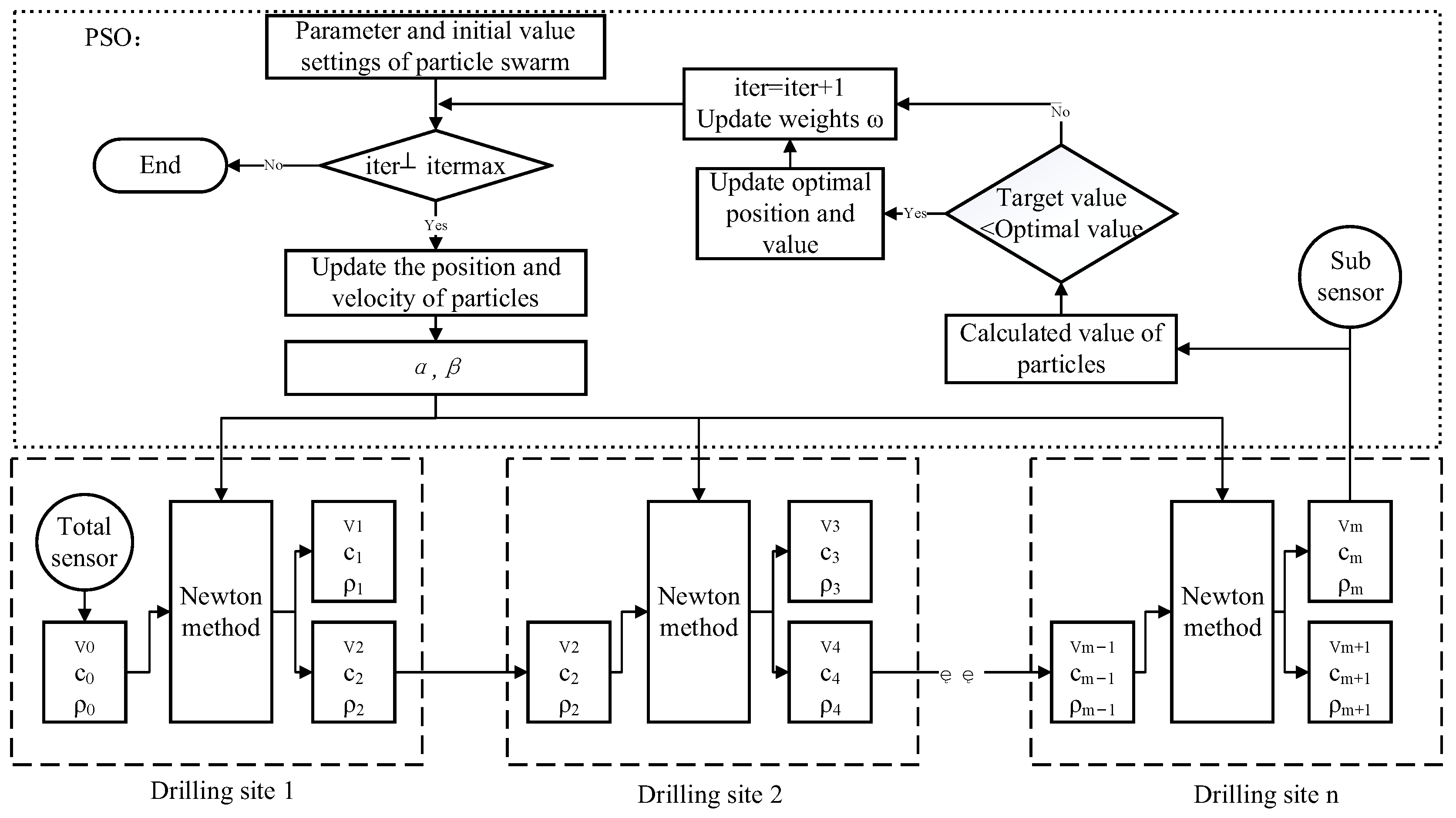
4.3. PSO–Newton Algorithm Design
| Algorithm 1: PSO–Newton algorithm |
| Input and Output for all |
| and for the drilling site n is obtained and , and judge whether it exceeds the optimal value. Yes, update the optimal value. . Yes, go Step 4. No, go Step 5 and using the PSO based on the optimal value. Return Step 1 Step 5: The algorithm terminates |
5. Case Study
5.1. Branch Scale Calculation
5.2. Drill Field Scale Calculation
6. Conclusions and Prospect
Author Contributions
Funding
Institutional Review Board Statement
Informed Consent Statement
Data Availability Statement
Conflicts of Interest
References
- Jie, D.; Xu, X.; Guo, F. The Future of Coal Supply in China Based on Non-Fossil Energy Development and Carbon Price Strategies. Energy 2021, 220, 119644. [Google Scholar] [CrossRef]
- Tian, S.; Wang, Y.; Li, H.; Ma, T.; Mao, J.; Ma, L. Analysis of the Causes and Safety Countermeasures of Coal Mine Accidents: A Case Study of Coal Mine Accidents in China from 2018 to 2022. Process Saf. Environ. Protect. 2024, 187, 864–875. [Google Scholar] [CrossRef]
- Frank, H.; Ting, R.; Naj, A. Evolution and Application of In-Seam Drilling for Gas Drainage. Int. J. Min. Sci. Technol. 2013, 23, 543–553. [Google Scholar] [CrossRef]
- Li, Z.; Wang, E.; Ou, J.; Liu, Z. Hazard Evaluation of Coal and Gas Outbursts in a Coal-Mine Roadway Based on Logistic Regression Model. Int. J. Rock Mech. Min. Sci. 2015, 80, 185–195. [Google Scholar] [CrossRef]
- Lu, Z.; Wang, L.; Fu, S.; Chu, P.; Zhu, Z.; Wang, H.; Zhao, C.; Wu, S.; Cheng, Y. High-Efficiency and Precision Gas Extraction in Intelligent Mining Faces: Application of a Comprehensive Three-Dimensional Extraction System. Phys. Fluids 2024, 36, 083302. [Google Scholar] [CrossRef]
- He, S.; Pan, H.; Song, S.; Zhang, T.; Chen, J.; Liu, G.; Cao, X.; Xue, Y. Digital Twin Based Intelligent Control System on Gas Extraction from Boreholes and Experimental Research. Eng. Appl. Artif. Intell. 2025, 159, 111578. [Google Scholar] [CrossRef]
- Liu, P.; Fan, J.; Jiang, D.; Li, J. Evaluation of Underground Coal Gas Drainage Performance: Mine Site Measurements and Parametric Sensitivity Analysis. Process Saf. Environ. Protect. 2021, 148, 711–723. [Google Scholar] [CrossRef]
- Ma, L.; Shi, X.; Li, S.; Lin, H.; Song, S. Research on intelligent control model of gas drainage based on model predictive control. Coal Sci. Technol. 2022, 50, 82–90. [Google Scholar]
- Zhou, A.; Du, C.; Wang, K.; Fan, X.; Wang, D.; Zhao, W.; Gao, H. Research on Intelligent Control Theory and Strategy of Gas Drainage Pipe Network Based on Graph Theory. Fuel 2024, 357, 129867. [Google Scholar] [CrossRef]
- Wang, X.; Zhou, F.; Xia, T.; Xu, M. A Multi-Objective Optimization Model to Enhance the Comprehensive Performance of Underground Gas Drainage System. J. Nat. Gas Sci. Eng. 2016, 36, 852–864. [Google Scholar] [CrossRef]
- Liu, T.; Lin, B.; Fu, X.; Zhu, C. Modeling Air Leakage around Gas Extraction Boreholes in Mining-Disturbed Coal Seams. Process Saf. Environ. Protect. 2020, 141, 202–214. [Google Scholar] [CrossRef]
- Darvishi, M.T.; Barati, A. A Third-Order Newton-Type Method to Solve Systems of Nonlinear Equations. Appl. Math. Comput. 2007, 187, 630–635. [Google Scholar] [CrossRef]
- Tiwari, V.L.; Thapar, A.; Bansal, R. A Genetic Algorithm for Solving Nonlinear Optimization Problem with Max-Archimedean Bipolar Fuzzy Relation Equations. Int. J. Uncertain. Fuzziness Knowl.-Based Syst. 2023, 31, 303–326. [Google Scholar] [CrossRef]
- Liu, S.; Hua, X.; Shan, L.; Wang, D.; Liu, Y.; Wang, Q.; Sun, Y.; He, L. An Improved Particle Swarm Optimization Method for Nonlinear Optimization. Int. J. Intell. Syst. 2024, 2024, 6628110. [Google Scholar] [CrossRef]
- Pourrajabian, A.; Ebrahimi, R.; Mirzaei, M.; Shams, M. Applying Genetic Algorithms for Solving Nonlinear Algebraic Equations. Appl. Math. Comput. 2013, 219, 11483–11494. [Google Scholar] [CrossRef]
- Jaberipour, M.; Khorram, E.; Karimi, B. Particle Swarm Algorithm for Solving Systems of Nonlinear Equations. Comput. Math. Appl. 2011, 62, 566–576. [Google Scholar] [CrossRef]
- Mo, Y.; Liu, H.; Wang, Q. Conjugate Direction Particle Swarm Optimization Solving Systems of Nonlinear Equations. Comput. Math. Appl. 2009, 57, 1877–1882. [Google Scholar] [CrossRef]
- Ouyang, A.; Zhou, Y.; Luo, Q. Hybrid Particle Swarm Optimization Algorithm for Solving Systems of Nonlinear Equations. In Proceedings of the 2009 IEEE International Conference on Granular Computing (GRC 2009), Nanchang, China, 17–19 August 2009; Lin, T.Y., Hu, X.H., Xia, J.L., Hong, T.P., Shi, Z.Z., Han, J.C., Tsumoto, S., Shen, Z.J., Eds.; IEEE: Nanchang, China, 2009; pp. 460–465. [Google Scholar]
- Sihwail, R.; Solaiman, O.S.; Omar, K.; Ariffin, K.A.Z.; Alswaitti, M.; Hashim, I. A Hybrid Approach for Solving Systems of Nonlinear Equations Using Harris Hawks Optimization and Newton’s Method. IEEE Access 2021, 9, 95791–95807. [Google Scholar] [CrossRef]
- Memon, M.A.; Mekhilef, S.; Mubin, M. Selective Harmonic Elimination in Multilevel Inverter Using Hybrid APSO Algorithm. IET Power Electron. 2018, 11, 1673–1680. [Google Scholar] [CrossRef]
- Xu, C.; Yang, T.; Wang, K.; Fu, Q.; Ma, S. Gas Extraction of Coal Seam Roof Fractured Zone in China: A Review. Fuel 2024, 357, 129930. [Google Scholar] [CrossRef]
- Xia, T.; Li, D.; Li, X.; Yan, X.; Wang, J.G. A Novel In-Depth Intelligent Evaluation Approach for the Gas Drainage Effect from Point Monitoring to Surface to Volume. Appl. Energy 2024, 353, 122147. [Google Scholar] [CrossRef]












| Description | Parameter | Unit |
|---|---|---|
| m3/s | ||
| kg/m3 | ||
| m/s | ||
| Pa | ||
| m | ||
| m | ||
| % | ||
| g/mol | ||
| m | ||
| Temperature | K |
| Parameters | Description | Unit | Numerical Value |
|---|---|---|---|
| Branch pipe diameter | m | 0.315 | |
| Convergence pipe diameter | m | 0.108 | |
| Node spacing on branch pipes | m | 5 | |
| Node spacing on convergence pipes | m | 1 | |
| Equivalent branch pipes length | m | 6.3 | |
| Equivalent convergence pipes length | m | 6 | |
| Temperature | m | 290.93 | |
| Dynamic viscosity of mixture gas | N·s/m2 | 0.00001 | |
| Pipe roughness | m | 0.0004 |
| Sensors | Extraction Time (d) | Density (kg/m3) | Flow Velocity (m/s) | Concentration (%) |
|---|---|---|---|---|
| T | 1 | 0.6223149 | 8.105279 | 0.1751 |
| 10 | 0.7464718 | 4.864237 | 0.1822 | |
| 20 | 0.6835662 | 5.856642 | 0.1647 | |
| 30 | 0.6830802 | 5.140262 | 0.1990 | |
| A | 1 | 0.6499223 | 3.150317 | 0.0968 |
| 10 | 0.7771012 | 2.718521 | 0.1024 | |
| 20 | 0.7090541 | 2.869799 | 0.0926 | |
| 30 | 0.7162392 | 2.727294 | 0.1040 | |
| B | 1 | 0.6398001 | 1.995080 | 0.1644 |
| 10 | 0.7329780 | 2.026320 | 0.2252 | |
| 20 | 0.6799091 | 2.112551 | 0.1868 | |
| 30 | 0.6820171 | 1.957207 | 0.2073 | |
| C | 1 | 0.6199418 | 2.841769 | 0.2643 |
| 10 | 0.7468981 | 1.213866 | 0.2006 | |
| 20 | 0.6766958 | 1.216648 | 0.2087 | |
| 30 | 0.6658952 | 1.254521 | 0.2668 |
| Extraction Time (d) | Drill Site | Node on Confluence Pipeline | Node on Branch Pipeline | ||||
|---|---|---|---|---|---|---|---|
| ρ (kg/m3) | v (m/s) | c (%) | ρ (kg/m3) | v (m/s) | c (%) | ||
| 1 | 1 | 0.4274926 | 1.809458 | 0.5462 | 0.5167436 | 8.250609 | 0.1945 |
| 5 | 0.4609130 | 1.774417 | 0.4168 | 0.5235714 | 7.393666 | 0.1701 | |
| 10 | 0.4644302 | 1.277976 | 0.4052 | 0.5335925 | 6.445834 | 0.1333 | |
| 15 | 0.5378835 | 11.123682 | 0.3647 | 0.5085285 | 2.916835 | 0.2335 | |
| 20 | 0.5004534 | 6.900612 | 0.2661 | 0.5129378 | 1.370663 | 0.2165 | |
| 25 | 0.5099654 | 0.900307 | 0.2283 | 0.4850613 | 0.031331 | 0.3261 | |
| 5 | 1 | 0.4414359 | 1.769602 | 0.4913 | 0.5165022 | 8.252976 | 0.1954 |
| 5 | 0.4752158 | 1.720742 | 0.3604 | 0.5286215 | 6.124071 | 0.1501 | |
| 10 | 0.4432352 | 1.512499 | 0.4878 | 0.5037548 | 6.584831 | 0.2498 | |
| 15 | 0.5352266 | 1.369790 | 0.2223 | 0.5033328 | 4.234527 | 0.2530 | |
| 20 | 0.4868696 | 1.727940 | 0.3184 | 0.5003443 | 2.269236 | 0.2654 | |
| 25 | 0.4898823 | 1.192710 | 0.3067 | 0.4925831 | 0.392499 | 0.2960 | |
| 10 | 1 | 0.4196930 | 2.504360 | 0.4360 | 0.4548190 | 5.615300 | 0.2857 |
| 5 | 0.4925720 | 1.200440 | 0.3755 | 0.4574210 | 4.782510 | 0.2756 | |
| 10 | 0.4254880 | 1.624890 | 0.4130 | 0.4631110 | 3.644600 | 0.2523 | |
| 15 | 0.4775520 | 2.189070 | 0.2429 | 0.4632560 | 2.494350 | 0.2522 | |
| 20 | 0.4766030 | 1.145160 | 0.1955 | 0.4687060 | 1.696810 | 0.2292 | |
| 25 | 0.4421190 | 1.719560 | 0.3428 | 0.4476880 | 0.070110 | 0.3190 | |
| 15 | 1 | 0.4604382 | 4.544466 | 0.4166 | 0.5179390 | 7.974931 | 0.1898 |
| 5 | 0.4453677 | 1.502763 | 0.4166 | 0.5148586 | 6.573872 | 0.2041 | |
| 10 | 0.4771262 | 2.114393 | 0.3545 | 0.5197112 | 5.640513 | 0.1870 | |
| 15 | 0.4748416 | 1.202492 | 0.1198 | 0.5235076 | 4.590410 | 0.1735 | |
| 20 | 0.5234577 | 2.024751 | 0.1744 | 0.5141828 | 1.560286 | 0.2108 | |
| 25 | 0.5152050 | 1.107254 | 0.2069 | 0.5118725 | 0.335542 | 0.2200 | |
| 20 | 1 | 0.4472705 | 2.891118 | 0.4683 | 0.5172429 | 8.141408 | 0.1925 |
| 5 | 0.4675436 | 2.263970 | 0.3906 | 0.5165876 | 6.505494 | 0.1975 | |
| 10 | 0.4694020 | 1.366290 | 0.3849 | 0.5211554 | 5.169307 | 0.1813 | |
| 15 | 0.5378755 | 3.008391 | 0.1277 | 0.5170720 | 3.812830 | 0.1985 | |
| 20 | 0.5255544 | 8.984026 | 0.1668 | 0.5086806 | 1.517517 | 0.2320 | |
| 25 | 0.5091293 | 5.910374 | 0.2308 | 0.4881775 | 0.315789 | 0.3127 | |
| 25 | 1 | 0.4625582 | 1.777267 | 0.4081 | 0.5160703 | 8.251840 | 0.1971 |
| 5 | 0.4731127 | 3.722267 | 0.3685 | 0.5161083 | 6.185041 | 0.1991 | |
| 10 | 0.4757782 | 1.791737 | 0.3595 | 0.5208314 | 5.272457 | 0.1822 | |
| 15 | 0.4091913 | 2.092677 | 0.1912 | 0.5174901 | 3.536982 | 0.1965 | |
| 20 | 0.5288209 | 4.239808 | 0.1528 | 0.5151204 | 2.085639 | 0.2064 | |
| 25 | 0.5119775 | 2.798925 | 0.2190 | 0.5037568 | 0.469466 | 0.2512 | |
| 30 | 1 | 0.4745914 | 7.284008 | 0.3612 | 0.5186964 | 7.698172 | 0.1868 |
| 5 | 0.4733616 | 2.089990 | 0.3675 | 0.5272817 | 6.268551 | 0.1552 | |
| 10 | 0.4927097 | 1.250885 | 0.2929 | 0.5365827 | 4.919938 | 0.1203 | |
| 15 | 0.5057043 | 1.216942 | 0.1169 | 0.5398488 | 4.053198 | 0.1086 | |
| 20 | 0.5304983 | 1.607509 | 0.1460 | 0.5464160 | 2.173053 | 0.0834 | |
| 25 | 0.5306259 | 1.027174 | 0.1456 | 0.5340003 | 0.472086 | 0.1323 | |
Disclaimer/Publisher’s Note: The statements, opinions and data contained in all publications are solely those of the individual author(s) and contributor(s) and not of MDPI and/or the editor(s). MDPI and/or the editor(s) disclaim responsibility for any injury to people or property resulting from any ideas, methods, instructions or products referred to in the content. |
© 2026 by the authors. Licensee MDPI, Basel, Switzerland. This article is an open access article distributed under the terms and conditions of the Creative Commons Attribution (CC BY) license.
Share and Cite
Li, X.; Cheng, Z.; Xia, T. Parameter Calculation of Coal Mine Gas Drainage Networks Based on PSO–Newton Iterative Algorithm. Appl. Sci. 2026, 16, 1443. https://doi.org/10.3390/app16031443
Li X, Cheng Z, Xia T. Parameter Calculation of Coal Mine Gas Drainage Networks Based on PSO–Newton Iterative Algorithm. Applied Sciences. 2026; 16(3):1443. https://doi.org/10.3390/app16031443
Chicago/Turabian StyleLi, Xiaolin, Zhiyu Cheng, and Tongqiang Xia. 2026. "Parameter Calculation of Coal Mine Gas Drainage Networks Based on PSO–Newton Iterative Algorithm" Applied Sciences 16, no. 3: 1443. https://doi.org/10.3390/app16031443
APA StyleLi, X., Cheng, Z., & Xia, T. (2026). Parameter Calculation of Coal Mine Gas Drainage Networks Based on PSO–Newton Iterative Algorithm. Applied Sciences, 16(3), 1443. https://doi.org/10.3390/app16031443

