Optimal Efficiency and Automatic Current Commands Map Generator for an Interior Permanent Magnet Synchronous Motor in Electric Vehicles
Abstract
1. Introduction
2. PMSM in the Powertrain of an Electric Vehicle
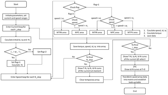
3. Current Commands Map Generator
3.1. Description of MTPA/MPC/MTPV
3.1.1. Maximum Torque per Ampere
3.1.2. Maximum Power Control
3.1.3. Maximum Torque per Voltage
3.2. Combination of MTPA/MPC/MTPV
Intersection Speed Determination
3.3. Zero-Torque Cruising (ZTC)
3.4. Graphical User Interface Design
3.4.1. Parameters Configuration
3.4.2. Performance Curves
3.4.3. Data Management and Look-Up Tables Generator
4. Simulation and Experimental Results
5. Conclusions
Author Contributions
Funding
Institutional Review Board Statement
Informed Consent Statement
Data Availability Statement
Acknowledgments
Conflicts of Interest
References
- Liao, G.; Zhang, W.; Cai, C. Research on a PMSM Control Strategy for Electric Vehicles. Adv. Mech. Eng. 2021, 13, 16878140211051462. [Google Scholar] [CrossRef]
- Özçiflikçi, O.K.; Koç, M.; Bahçeci, S.; Emiroğlu, S. Overview of PMSM Control Strategies in Electric Vehicles: A review. Int. J. Dyn. Control 2024, 12, 2093–2107. [Google Scholar] [CrossRef]
- Zhu, Z.Q.; Chu, W.Q.; Guan, Y. Quantitative comparison of electromagnetic performance of electrical machines for HEVs/EVs. CES Tran. Electr. Mach. Syst. 2017, 1, 37–47. [Google Scholar] [CrossRef]
- Zuo, K.; Wang, F.; Li, Z.; Ke, D.; Kennel, R.; Heldwein, M.L. A Robust Unified Strategy for Maximum Torque per Ampere and Field Weakening in Permanent Magnet Synchronous Motor. IEEE Trans. Power Electron. 2024, 39, 5286–5297. [Google Scholar] [CrossRef]
- Dianov, A.; Tinazzi, F.; Calligaro, S.; Bolognani, S. Review and Classification of MTPA Control Algorithms for Synchronous Motors. IEEE Trans. Power Electron. 2022, 37, 3990–4007. [Google Scholar] [CrossRef]
- Dianov, A.; Anuchin, A. Adaptive Maximum Torque per Ampere Control of Sensorless Permanent Magnet Motor Drives. Energies 2020, 13, 5071. [Google Scholar] [CrossRef]
- Dianov, A.; Anuchin, A. Adaptive Maximum Torque per Ampere Control for IPMSM Drives with Load Varying Over Mechanical Revolution. IEEE J. Emerg. Sel. Top. Power Electron. 2022, 10, 3409–3417. [Google Scholar] [CrossRef]
- Sun, T.; Wang, J.; Koc, M. On Accuracy of Virtual Signal Injection based MTPA Operation of Interior Permanent Magnet Synchronous Machine Drives. IEEE Trans. Power Electron. 2017, 32, 7405–7408. [Google Scholar] [CrossRef]
- Phowanna, P.; Boonto, S.; Konghirun, M. Online Parameter Identification Method for IPMSM Drive with MTPA. In Proceedings of the 18th International Conference on Electrical Machines and Systems (ICEMS), Pattaya, Thailand, 25–28 October 2015. [Google Scholar] [CrossRef]
- Zhang, Y.; Liu, K.; Hu, Y.; Yang, S. MTPA Control of IPMSM with Aiding from Estimation of dq-axis Inductances. In Proceedings of the IEEE Student Conference on Electric Machines and Systems, Huzhou, China, 14–16 December 2018. [Google Scholar] [CrossRef]
- Miguel-Espinar, C.; Heredero-Peris, D.; Villafafila-Robles, R.; Montesinos-Miracle, D. Review of Flux-Weakening Algorithms to Extend the Speed Range in Electric Vehicle Applications with Permanent Magnet Synchronous Machines. IEEE Access 2023, 11, 22961–22981. [Google Scholar] [CrossRef]
- Chen, Y.Z.; Fang, Y.T.; Huang, X.Y.; Zhang, J. Torque and Flux Weakening Control with MTPV for Interior Permanent Magnet Synchronous Motor. In Proceedings of the IEEE Vehicle Power and Propulsion Conference (VPPC), Hangzhou, China, 17–20 October 2016. [Google Scholar] [CrossRef]
- Nguyen, L.; Pham, T.C. Optimal Tracking Control for PMSM with Partially Unknown Dynamics, Saturation Voltages, Torque, and Voltage Disturbances. IEEE Trans. Ind. Electron. 2022, 69, 3481–3491. [Google Scholar] [CrossRef]
- Sepulchre, L.; Fadel, M.; Pietrzak-David, M.; Porte, G. MTPV Flux-weakening Strategy for PMSM High Speed Drive. IEEE Trans. Ind. Appl. 2018, 54, 6081–6089. [Google Scholar] [CrossRef]
- Miguel-Espinar, C.; Heredero-Peris, D.; Gross, G.; Llonch-Masachs, M.; Montesinos-Miracle, D. Maximum Torque per Voltage Flux-Weakening Strategy with Speed Limiter for PMSM Drives. IEEE Trans. Ind. Electron. 2021, 68, 9254–9264. [Google Scholar] [CrossRef]
- Nam, K.H. AC Motor Control and Electrical Vehicle Applications, 2nd ed.; CRC Press: Boca Raton, FL, USA, 2019; pp. 246–261. [Google Scholar]
- Chang, S.H.; Yeh, H.Y. High Efficiency Current Commands Generator for Full Speed Range in a Permanent Magnet Synchronous Motor. In Proceedings of the National Symposium on System Science and Engineering, Taichung, Taiwan, 16–18 May 2025. [Google Scholar]
- Sepulchre, L.; Fadel, M.; Pietrzak-David, M.; Porte, G. Flux-weakening strategy for high speed PMSM for vehicle application. In Proceedings of the International Conference on Electrical Systems for Aircraft, Railway, Ship Propulsion and Road Vehicles & International Transportation Electrification Conference (ESARS-ITEC), Toulouse, France, 2–4 November 2016. [Google Scholar] [CrossRef]
- Lyu, W.W.; Yin, W.; Ma, Y.L.; Yang, H.; Zhao, R.X.; Wang, H.B. Nonlinear Modeling of PMSM Based on LUT in Electrical Drive Real-time Simulation. In Proceedings of the IEEE 7th Student Conference on Electric Machines and Systems (SCEMS), Macao, China, 6–8 November 2024. [Google Scholar] [CrossRef]
- Trancho, E.; Ibarra, E.; Arias, A.; Salazar, C.; Lopez, I.; Diaz de Guereñu, A.; Peña, A. IPMSM Torque Control Strategies based on LUTs and VCT Feedback for Robust Control under Machine Parameter Variations. In Proceedings of the IECON—42nd Annual Conference of the IEEE Industrial Electronics Society, Florence, Italy, 23–26 October 2016. [Google Scholar] [CrossRef]
- Hassan, M.; Ge, X.; Woldegiorgis, A.T.; Mastoi, M.S.; Shahid, M.B.; Atif, R.; Shaikh, M.S.; Kumar, S. A Look-up Table-based Model Predictive Torque Control of IPMSM Drives with Duty Cycle Optimization. ISA Trans. 2023, 138, 670–686. [Google Scholar] [CrossRef] [PubMed]
- Kim, D.Y.; Lee, J.H. Low Cost Simple Look-Up Table-Based PMSM Drive Considering DC-Link Voltage Variation. Energies 2020, 13, 3904. [Google Scholar] [CrossRef]
- Zhang, X.G.; Zhang, C.G.; Wang, Z.W.; Rodríguez, J. Motor-Parameter-Free Model Predictive Current Control for PMSM Drives. IEEE Trans. Ind. Electron. 2024, 71, 5443–5452. [Google Scholar] [CrossRef]
- Song, Q.Y.; Ji, F.F.; Li, Y.J. A High-accuracy Torque Control Strategy of PMSM for Electric Vehicles. In Proceedings of the IEEE 1st International Power Electronics and Application Symposium (PEAS), Shanghai, China, 13–15 November 2021. [Google Scholar] [CrossRef]
- Jin, L.H.; Wang, X.Q.; Mao, Y.; Lu, L.L.; Wang, Z. Online Attribute Matching Based Few-Sample Data-Driven Diagnosis of Electrical Faults in PMSM Drive. IEEE Trans. Power Electron. 2024, 39, 2620–2631. [Google Scholar] [CrossRef]
- Ko, A.Y.; Kim, D.Y.; Won, I.K.; Kim, Y.R.; Won, C.Y. Interpolation Error Compensation Method for Look-up Table based IPMSM Drive. In Proceedings of the IEEE Conference and Expo Transportation Electrification Asia-Pacific (ITEC Asia-Pacific), Beijing, China, 31 August–3 September 2014. [Google Scholar] [CrossRef]
- Ren, Z.; Lei, Y. The Influence of Look-Up Table Setting and Interpolation Algorithm on Power Amplifier Behavioural Modeling. In Proceedings of the IEEE 6th International Conference on Computer and Communications (ICCC), Chengdu, China, 11–14 December 2020. [Google Scholar] [CrossRef]
- Fattorini, L.; Fattorini, M.; Pisani, C.; Pratelli, L. Design-based Properties of the Nearest Neighbor Spatial Interpolator and Its Bootstrap Mean Squared Error Estimator. Biometrics 2022, 78, 1454–1463. [Google Scholar] [CrossRef] [PubMed]
- Niedzielski, T.; Halicki, M. Improving Linear Interpolation of Missing Hydrological Data by Applying Integrated Autoregressive Models. Water Resour. Manag. 2023, 37, 5707–5724. [Google Scholar] [CrossRef]
- Kozera, R.; Wilkołazka, M. A Natural Spline Interpolation and Exponential Parameterization. In Proceedings of the International Conference on Numerical Analysis and Applied Mathematics (ICNAAM), Rhodes, Greece, 22–28 September 2015. [Google Scholar] [CrossRef]











| Values | Values | ||
|---|---|---|---|
| Max. power | 220 kW | d axis inductance () | 0.898 mH |
| Max. torque | 3000 N·m | q axis inductance () | 1.401 mH |
| Max. magnitude current | 690 A | Stator resistance () | 0.0154 |
| Number of poles | 12 | Flux () | 0.381 v/(rad/s) |
| Max. speed | 3000 rpm | Connection type | Y type |
| Torque\Speed | 0 | 400 | 800 | 1200 | 1600 | 2000 | 2400 | 2800 | 3200 |
|---|---|---|---|---|---|---|---|---|---|
| 0 | 0 | 0 | −21 | −158 | −226 | −267 | −294 | −314 | −329 |
| 200 | −4 | −4 | −4 | −4 | −58 | −121 | −170 | −218 | −243 |
| 400 | −16 | −16 | −16 | −16 | −84 | −163 | −218 | −258 | −291 |
| 600 | −34 | −34 | −34 | −34 | −126 | −209 | −271 | −322 | −370 |
| 800 | −56 | −56 | −56 | −57 | −181 | −275 | −357 | −468 | −370 |
| 1000 | −80 | −80 | −80 | −106 | −250 | −374 | −493 | −468 | −370 |
| 1200 | −105 | −105 | −105 | −171 | −341 | −515 | −493 | −468 | −370 |
| 1400 | −131 | −131 | −131 | −245 | −536 | −521 | −493 | −468 | −370 |
| 1600 | −157 | −157 | −157 | −331 | −563 | −521 | −493 | −468 | −370 |
| 1800 | −183 | −183 | −183 | −446 | −563 | −521 | −493 | −468 | −370 |
| 2000 | −209 | −209 | −209 | −579 | −563 | −521 | −493 | −468 | −370 |
| 2200 | −234 | −234 | −250 | −579 | −563 | −521 | −493 | −468 | −370 |
| 2400 | −259 | −259 | −321 | −579 | −563 | −521 | −493 | −468 | −370 |
| 2600 | −283 | −283 | −401 | −579 | −563 | −521 | −493 | −468 | −370 |
| 2800 | −307 | −307 | −401 | −579 | −563 | −521 | −493 | −468 | −370 |
| 3000 | −330 | −330 | −401 | −579 | −563 | −521 | −493 | −468 | −370 |
| 3200 | −330 | −330 | −401 | −579 | −563 | −521 | −493 | −468 | −370 |
| Torque\Speed | 0 | 400 | 800 | 1200 | 1600 | 2000 | 2400 | 2800 | 3200 |
|---|---|---|---|---|---|---|---|---|---|
| 0 | 0 | 0 | 0 | 0 | 0 | 0 | 0 | 0 | 0 |
| 200 | 57 | 57 | 57 | 57 | 53 | 50 | 46 | 45 | 43 |
| 400 | 112 | 112 | 112 | 112 | 103 | 95 | 89 | 86 | 83 |
| 600 | 165 | 165 | 165 | 165 | 148 | 135 | 127 | 121 | 116 |
| 800 | 214 | 214 | 214 | 214 | 186 | 169 | 157 | 143 | 116 |
| 1000 | 260 | 260 | 260 | 252 | 217 | 193 | 173 | 178 | 116 |
| 1200 | 303 | 303 | 303 | 282 | 239 | 204 | 213 | 178 | 116 |
| 1400 | 343 | 343 | 343 | 305 | 237 | 237 | 213 | 178 | 116 |
| 1600 | 381 | 381 | 381 | 321 | 262 | 283 | 213 | 178 | 116 |
| 1800 | 417 | 417 | 417 | 327 | 306 | 283 | 213 | 178 | 116 |
| 2000 | 452 | 452 | 452 | 329 | 353 | 283 | 213 | 178 | 116 |
| 2200 | 484 | 484 | 477 | 376 | 353 | 283 | 213 | 178 | 116 |
| 2400 | 516 | 516 | 486 | 423 | 353 | 283 | 213 | 178 | 116 |
| 2600 | 546 | 546 | 491 | 423 | 353 | 283 | 213 | 178 | 116 |
| 2800 | 575 | 575 | 491 | 423 | 353 | 283 | 213 | 178 | 116 |
| 3000 | 603 | 603 | 491 | 423 | 353 | 283 | 213 | 178 | 116 |
| 3200 | 603 | 603 | 491 | 423 | 353 | 283 | 213 | 178 | 116 |
Disclaimer/Publisher’s Note: The statements, opinions and data contained in all publications are solely those of the individual author(s) and contributor(s) and not of MDPI and/or the editor(s). MDPI and/or the editor(s) disclaim responsibility for any injury to people or property resulting from any ideas, methods, instructions or products referred to in the content. |
© 2025 by the authors. Licensee MDPI, Basel, Switzerland. This article is an open access article distributed under the terms and conditions of the Creative Commons Attribution (CC BY) license (https://creativecommons.org/licenses/by/4.0/).
Share and Cite
Chang, S.-H.; Yeh, H.-Y. Optimal Efficiency and Automatic Current Commands Map Generator for an Interior Permanent Magnet Synchronous Motor in Electric Vehicles. Appl. Sci. 2025, 15, 9838. https://doi.org/10.3390/app15179838
Chang S-H, Yeh H-Y. Optimal Efficiency and Automatic Current Commands Map Generator for an Interior Permanent Magnet Synchronous Motor in Electric Vehicles. Applied Sciences. 2025; 15(17):9838. https://doi.org/10.3390/app15179838
Chicago/Turabian StyleChang, Shin-Hung, and Hsing-Yu Yeh. 2025. "Optimal Efficiency and Automatic Current Commands Map Generator for an Interior Permanent Magnet Synchronous Motor in Electric Vehicles" Applied Sciences 15, no. 17: 9838. https://doi.org/10.3390/app15179838
APA StyleChang, S.-H., & Yeh, H.-Y. (2025). Optimal Efficiency and Automatic Current Commands Map Generator for an Interior Permanent Magnet Synchronous Motor in Electric Vehicles. Applied Sciences, 15(17), 9838. https://doi.org/10.3390/app15179838

