Next Article in Journal
Deep Learning-Based Optimization of Central Angle and Viewpoint Configuration for 360-Degree Holographic Content
Previous Article in Journal
Big Loop and Atomization: A Holistic Review on the Expansion Capabilities of Large Language Models
 
 
Font Type:
Arial Georgia Verdana
Font Size:
Aa Aa Aa
Line Spacing:
Column Width:
Background:
Article

Current Loop Decoupling and Disturbance Rejection for PMSM Based on a Resonant Control Periodic Disturbance Observer

1
Zhejiang Key Laboratory of Digital Fashion and Data Governance, Zhejiang Sci-Tech University, Hangzhou 310018, China
2
Faculty of Mechanical Engineering, Zhejiang Sci-Tech University, Hangzhou 310018, China
*
Author to whom correspondence should be addressed.
Appl. Sci. 2025, 15(17), 9469; https://doi.org/10.3390/app15179469
Submission received: 21 July 2025 / Revised: 24 August 2025 / Accepted: 25 August 2025 / Published: 28 August 2025

Abstract

In the vector control of permanent magnet synchronous motor (PMSM), non-periodic disturbances such as cross-coupling between axes and variations in electrical parameters, along with periodic harmonic disturbances caused by inverter nonlinearities and magnetic field harmonics, influence the dq-axis currents. To address these challenges, this paper proposes a current loop disturbance rejection strategy based on a Resonant Control Periodic Disturbance Observer (RC-PDOB). First, this paper constructs a disturbance observer-based current loop decoupling model that mitigates dq-axis current coupling due to parameter variations and reduces the impact of non-periodic disturbances. Then this paper introduces proportional–resonant terms into the disturbance observer to suppress the 6th and 12th harmonics of the dq-axis, thereby reducing periodic current disturbances. This paper analyzes the disturbance rejection mechanism of RC-PDOB in detail and presents the design methodology and stability criteria of the proposed observer. Finally, experimental results demonstrate the effectiveness of the proposed approach.

1. Introduction

Permanent magnet synchronous motors (PMSMs) are widely used in high-performance servo drive systems—including power transmission, electric vehicles, CNC machine tools, and aerospace applications—due to their compact size, high efficiency, and high power density [1]. However, PMSMs inherently experience various disturbances stemming from their internal structure and external driving sources, which limit their overall performance. These disturbances can be broadly categorized into non-periodic and periodic types [2]. Non-periodic disturbances mainly arise from dq-axis coupling, parameter changes, and fluctuations in external loads. The extent of cross-coupling depends on factors such as motor speed, dq-axis currents, and inductance. Under conditions of heavy load and high speed, changes in the magnetic circuit characteristics cause inductance to vary over time, leading to significant uncertainties in the cross-coupling terms [3]. Periodic disturbances, conversely, are largely caused by imperfections in motor structural design and nonlinearities in the inverter [4,5]. For instance, the commonly used tile-shaped permanent magnet configuration [6] produces 6n ± 1 spatial harmonics in the air-gap flux density, which in turn generate corresponding current harmonics and torque ripple at the 6n order. Likewise, inverter dead-time effects introduce odd-order harmonics such as the 5th, 7th, 11th, and 13th. Experimental results show that harmonic amplitudes decrease as frequency increases, with the 5th and 7th harmonics having the most significant impact (10.1% and 4.13%, respectively), while the 11th and 13th harmonics contribute 1.0% and 0.3%, respectively [7]. Consequently, it is crucial to develop a PMSM control approach that effectively mitigates both non-periodic and periodic disturbances.
Methods for suppressing non-periodic disturbances primarily include sliding mode control, disturbance observer control, and active disturbance rejection control. In [8], a fractional-order PID controller utilizing a multi-objective optimization algorithm was presented, enhancing the system′s dynamic response and improving disturbance rejection. Reference [9] developed a combined framework featuring a robust speed controller and a load observer, integrating composite nonlinear feedback and integral sliding mode techniques to boost transient response and robustness, respectively. A sliding mode observer was employed to mitigate unknown disturbances, while feedforward compensation was used to cancel disturbances. In [10], improvements to the extended state observer were made and applied to current loop decoupling, effectively suppressing both DC and AC disturbances. Reference [11] introduced a cascaded disturbance observer structure to estimate disturbances in quadrotor systems experiencing multiple time-varying delays, simultaneously eliminating delay effects. Reference [12] concentrated on theoretical progress in anti-disturbance control by designing an adaptive switching gain observer that dynamically adjusts gain parameters, significantly enhancing robustness against time-varying disturbances. In [13], a novel cascaded extended state observer framework was created to estimate disturbance uncertainties, accompanied by a control law based on state error feedback, overcoming the traditional trade-off between control performance and noise immunity associated with large gain bandwidth ESOs. Finally, in [14], an extended state observer based on a generalized integrator was proposed for grid-connected systems, demonstrating excellent performance in detecting periodic disturbances.
Methods for suppressing periodic disturbances primarily include harmonic voltage compensation, multi-rotational PI control, repetitive control, proportional–resonant control, and iterative learning control. In reference [15], a passivity-based control approach utilizing interconnection and damping assignment was introduced to handle time-varying external disturbances. Reference [16] used a three-parameter notch filter to extract harmonic currents in open-winding PMSM systems sharing a common DC bus, combined with feedforward voltage compensation. Reference [17] applied repetitive control to reduce harmonics at specific frequencies; however, the controller must be redesigned if the harmonic frequency changes. In [18], a proportional–resonant controller was implemented in parallel with a PI controller to reduce harmonics. This approach is simple and easy to tune, but has limited disturbance rejection capability and generally requires combination with other methods for improved performance. Reference [19] proposed an adaptive-frequency harmonic suppression technique based on vector reconstruction to minimize current measurement errors; however, its computational complexity limits practical use. Reference [20] presented a method combining an iterative learning disturbance observer with second-order sliding mode control to enhance robustness and reduce torque ripple in PMSM speed regulation systems. Reference [21] introduced a current control strategy based on a linear extended state observer with measurement delay compensation, accounting for parameter variations, dead-time effects, and unmodeled dynamics to improve current loop dynamic performance. Reference [22] proposed a parallel structure integrating vector resonant control with active disturbance rejection control for linear PMSM systems, effectively suppressing current harmonics and enhancing disturbance rejection. Reference [23] developed an improved predictive fractional-order iterative learning control method to mitigate disturbances in linear PMSM by enhancing amplitude and phase compensation, thereby broadening the learnable frequency range and further optimizing disturbance rejection. Reference [24] devised a voltage feedforward compensation strategy for sensorless control, employing iterative learning control (ILC) to calculate harmonic compensation caused by inverter nonlinearities and current bias online, combined with a lookup-table storage mechanism, effectively eliminating back-EMF estimation errors. Regarding the problem of common-mode voltage generation in voltage inverters, reference [25] presents a new active common-mode elimination (ACME) modulation method for three-level midpoint clamped (3L-NPC) inverters. This method is based on the improved space vector modulation (MSVM), and a new power circuit system is designed between the inverter and the induction motor. This power circuit system completely eliminates the common-mode voltage, improves the utilization rate of the DC bus voltage, and reduces voltage harmonics.
The article is organized as follows: To effectively suppress both non-periodic and periodic disturbances in PMSM drive systems, this paper introduces a current disturbance rejection approach based on a resonant control periodic disturbance observer (RC-PDOB). First, all dq-axis coupling terms and parameter uncertainties are combined into a single lumped disturbance, allowing for an observer-based decoupled model that inherently cancels flux–current interactions and reduces the effects of electrical parameter variations on non-periodic disturbances. Next, to address the limitation of traditional disturbance observers (DOB) in handling periodic components, resonant compensators are integrated directly into the observer design, enabling accurate suppression of periodic disturbances across multiple harmonic frequencies. Finally, the effectiveness of the proposed method is demonstrated through experimental validation.
The novelty of the RC-PDOB is threefold:
(1) Integrated resonant control and disturbance observer approach: This method incorporates a proportional–resonant (PR) controller within the low-pass filter stage of the disturbance observer to selectively reduce periodic harmonics (like the 6th and 12th), effectively addressing the bandwidth constraints of traditional disturbance observers. While cascaded disturbance observers can broaden bandwidth and enhance disturbance estimation, they still struggle to effectively detect medium- and high-frequency disturbances. In comparison to iterative learning control, resonant control features a simpler design, is less sensitive to system delays, streamlines the control algorithm, and offers better suppression of disturbances at specific harmonic frequencies.
(2) Simultaneous management of multiple harmonic components: The proposed approach uses cascaded resonant terms to include both the 6th and 12th harmonic frequencies within a single observer structure, addressing the drawback of repetitive control methods that need controller redesign for each specific frequency. While the vector-reconstruction-based adaptive frequency harmonic suppression algorithm can eliminate disturbances at unknown frequencies, its high computational demands restrict its practical use.
(3) Improved parameter robustness: The proposed approach considers coupling effects and parameter variations as components of an overall disturbance and compensates for them using a disturbance observer. This eliminates the heavy reliance on precise inductance parameters that traditional decoupling methods, like feedback decoupling, demand for accurate parameter matching.

2. Disturbance Observer Model for dq-Axis Current Decoupling in Permanent Magnet Synchronous Motors

2.1. Mathematical Model of the PMSM Current Loop Under Disturbances

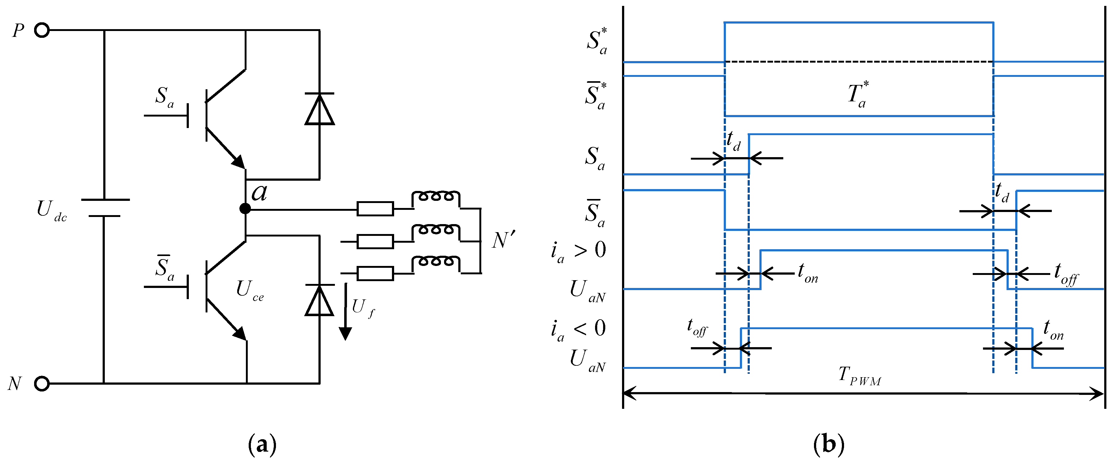
Figure 1a shows the equivalent schematic diagram of the three-phase permanent magnet synchronous motor. Figure 1b shows the schematic diagram of the inverter′s dead zone effect including the ideal and actual drive signals for the upper and lower bridge arms of phase A, as well as the voltage of phase A.
In Figure 1a, Udc represents the DC bus voltage, Uce represents the IGBT conduction voltage drop, and Uf represents the voltage drop across the freewheeling diode. Figure 1b illustrates the ideal and actual gate drive signals for the upper and lower switches of Phase A, as well as the corresponding Phase-A output voltage waveform. Here, TPWM denotes the carrier period, td is the dead time, ton and toff represent the turn-on and turn-off durations of the switching devices, and T a * indicates the ideal conduction time of the Phase-A switch after pulse-width modulation (PWM).
Within a single PWM period, the Phase-A voltage error caused by the inverter dead-time effect can be expressed as:
Δ U a N ( 1 3 U d c t d T P W M + U c e 6 + U f 6 ) 2 sgn i a sgn i b sgn i c = U 2 sgn i a sgn i b sgn i c
By performing a Fourier series expansion of Equation (1), the following expression is obtained:
Δ U A N = 4 U π [ sin ( ω e t ) + 1 5 sin ( 5 ω e t ) + 1 7 sin ( 7 ω e t ) + 1 11 sin ( 11 ω e t ) + 1 13 sin ( 13 ω e t ) + ]
Therefore, it can be concluded that the error voltage caused by the inverter′s nonlinear behavior results in distortion of the output voltage waveform, mainly appearing as a series of odd-order harmonics of the form 6n ± 1. To simplify calculations, the mathematical model of the inverter output voltage is further converted into the synchronous rotating reference frame.
d d d e a d = Δ u d = u d 0 + u d 6 sin ( 6 ω e t + θ d 6 ) + u d 12 sin ( 12 ω e t + θ d 12 ) + d q d e a d = Δ u q = u q 0 + u q 6 sin ( 6 ω e t + θ q 6 ) + u q 12 sin ( 12 ω e t + θ q 12 ) +
where Δud and Δuq represent the voltage distortions along the d-axis and q-axis, respectively; ud0 and uq0 represent the DC components of the dq-axis voltage errors; ud6, ud12, uq6, uq12 are the amplitudes of the 6th and 12th harmonic components in the d-q-axes, respectively; θd6, θd12, θq6, θq12 are the corresponding phase angles of these harmonics. Since harmonic amplitudes decrease with increasing harmonic order, only the prominent 6th and 12th harmonics are considered in the dq frame. These voltage distortions can lead to discrepancies between the inverter-applied voltage and the output voltage of the current control loop, resulting in current harmonics and degraded system performance.
Figure 2 illustrates the PMSM system structure with disturbances. KPWM denotes the equivalent gain of the inverter, and TPWM indicates the equivalent delay time of the inverter.
During the operation of a permanent magnet synchronous motor (PMSM), the current control loop is subject to two main types of disturbances: non-periodic and periodic disturbances. Non-periodic disturbances primarily include uncertainties in electrical parameters, external disturbances, and coupling between the dq-axis currents. Periodic disturbances mainly arise from flux linkage harmonics and inverter dead-time effects. In the rotor reference frame, the current loop equations of the PMSM can be expressed as:
d i d d t = 1 L d u d R s L d i d + ω e L q L d i q + 1 L d f i d d i q d t = 1 L q u q R s L q i q ω e L d L q i d ω e Ψ f L q + 1 L d f i d
f i d = Δ u d + d d f l u x + d d p + d d f i q = Δ u q + d q f l u x + d q p + d q
where ud, uq represent the d-axis and q-axis voltages, id, iq are the d-axis and q-axis currents, Rs is the stator resistance, Ψf is the rotor permanent magnet flux linkage, Ld, Lq are the d-axis and q-axis inductances, and ωe is the electrical angular speed of the rotor. fid and fiq, respectively, represent the total disturbance within the dq-axis of the current loop. dddead, dqdead represent the periodic current disturbances in the dq-axis caused by inverter dead-time voltage distortion, ddflux, dqflux represent the periodic disturbances caused by air-gap flux linkage harmonics, ddp, dqp are disturbances resulting from variations in electrical parameters, dd, dq are unmodeled system disturbances.
Because of the motor′s structural design, the permanent magnet flux linkage produces odd-order harmonics, which in turn create 6n-order harmonics in the dq-axis. Additionally, the inverter′s dead-time effect introduces voltage distortion in the dq-axis. These voltage distortions can cause a discrepancy between the inverter′s applied voltage and the output voltage from the current control loop, resulting in 6n-order current harmonics in the dq-axis and reducing overall system performance. As mentioned in [6], the amplitudes of harmonics from these two sources decrease as their order increases, being inversely proportional to harmonic order. Therefore, only the primary 6th and 12th harmonics are taken into account in the dq reference frame.

2.2. dq-Axis Decoupling Model of the PMSM Current Loop Based on a Disturbance Observer

In the synchronous rotating reference frame, the voltage equations of the PMSM along the d- and q-axes can be expressed as:
u d = R s i d + L d d i d d t L q ω e i q C o u p l i n g   T e r m s u q = R s i q + L q d i q d t + L d ω e i d C o u p l i n g   T e r m s + ω e Ψ f F l u x   L i n k a g e   T e r m s
The dq-axis voltage equations contain coupling terms that are proportional to the inductance, current, and rotational speed, as well as disturbance terms related to the flux linkage and speed. These coupling terms intensify fluctuations in the dq-axis currents. In this study, such coupling terms are regarded as non-periodic disturbances within the current control loop.
To reduce the impact of parameter variations that cause non-periodic disturbances in the system, this study investigates a decoupling method for the PMSM current loop control model based on a disturbance observer. In Equation (6), the coupling terms, flux linkage terms, parameter uncertainties, external disturbances, and unmodeled dynamics are all considered as non-ideal and unmeasurable external disturbances. By aggregating these effects into a single total disturbance, Equation (6) can be rewritten as:
d i d ( t ) d t = R s L d i d ( t ) + 1 L d u d ( t ) + f d ( t ) d i q ( t ) d t = R s L q i q ( t ) + 1 L q u q ( t ) + f q ( t )
where fd(t), fq(t) represent the total disturbances in the d-axis and q-axis, Rs and Ls represent the nominal Resistance and nominal Inductance, the formulation can be expressed as:
f d ( t ) = 1 L d [ ( L q + Δ L q ) ω e i q ( t ) Δ R s i d ( t ) Δ L d d i d ( t ) d t d d ( t ) ] f q ( t ) = 1 L q [ ( L d + Δ L d ) ω e i d ( t ) ω e Ψ f Δ R s i q ( t ) Δ L q d i q ( t ) d t d q ( t ) ]
where ∆Rs = RsRs, ∆Ls = Ls = Ls represent the uncertainties in resistance and inductance.
The ideal DOB models for the d-axis and q-axis of the PMSM can be expressed as:
f ^ d D O B ( t ) = d i d ( t ) d t + R s L d i d ( t ) 1 L d u d ( t ) f ^ q D O B ( t ) = d i q ( t ) d t + R s L q i q ( t ) 1 L q u q ( t )
In practical applications, considering system protection requirements and the limited capacity of the inverter, the dq-axis currents id(t), iq(t), as well as the output voltages ud(t), uq(t) are all bounded. Consequently, the derivatives of id(t), iq(t) are bounded, the total disturbances fdDOB(t), fqDOB(t), and their derivatives are also bounded. This implies that the outputs of the disturbance observer are bounded, satisfying the convergence condition of the DOB.
From the above analysis, it can be seen that a disturbance-observer-based control system consists of two control loops: an outer loop formed by current feedback and an inner loop based on disturbance estimation and compensation via the DOB. The outer loop is primarily responsible for system tracking and stabilization, while the inner loop is dedicated to disturbance observation and compensation. Accordingly, a current loop control structure for the PMSM can be designed. Taking id as an example, a two-degree-of-freedom control system is illustrated in Figure 3.
To ensure proper matching in disturbance compensation, a gain Ld is introduced. Gf(s) represents a first-order Butterworth filter, where Gf(s) = ωc/s + ωc, ωc is the cutoff frequency of the filter. nd represents the system measurement noise. Then, the disturbance estimate obtained by the DOB is expressed as:
L d f ^ d D O B ( t ) = L d d i d ( t ) d t + R s i d ( t ) u d ( t ) ω c s + ω c + L d n d ( t ) ω c s + ω c = L d f d ( t ) ω c s + ω c + L d n d ( t ) ω c s + ω c L q f ^ q DOB ( t ) = L q d i q ( t ) d t + R s i q ( t ) u q ( t ) ω c s + ω c + L q n q ( t ) ω c s + ω c = L q f q D O B ( t ) ω c s + ω c + L q n q ( t ) ω c s + ω c
Taking the d-axis as an example, the residual disturbance after compensation can be calculated as:
Δ f d =   f d 1 L d L d f ^ d D O B = 1 L d L d ω c s + ω c f d L d n d ω c s + ω c
From the above equation, it can be seen that when the cutoff frequency ωc of the filter Gf(s) approaches zero (ωc→0), the residual disturbance ∆fd→fd, meaning no disturbance compensation is applied, and the system operates in open-loop mode. When the cutoff frequency approaches infinity (ωc→+∞), ∆fd→0, indicating that the disturbance is completely suppressed. The above analysis shows that the disturbance observation performance of the ideal DOB does not depend on the accuracy of the system model parameters, but rather on the cutoff frequency of the low-pass filter.

2.3. Simulink-Based Analysis of Decoupling Capability and Non-Periodic Disturbance Rejection

To verify the effectiveness of the proposed DOB-based decoupling method and its capacity to suppress non-periodic disturbances, three distinct current loop decoupling control systems were developed: PI linear feedback decoupling, ESO-based decoupling, and DOB-based decoupling. The disturbance rejection performance of these three algorithms was evaluated under both matched and mismatched inductance parameter scenarios. The motor simulation parameters, corresponding to a surface-mounted PMSM, are provided in Table 1.
Set the simulation step size to 10−6 s, and the operating frequency of the current loop to 10 kHz. Since both the motor and the inverter in the simulation are ideal models, to enhance the comparability, the dead time of the three-phase inverter is increased to 2 us. The PI control parameters are set as Kp = 50 rad/s and Ki = 1000 rad/s. The ESO adopted a linear extended state observer with gain coefficients β1 = 4000 rad/s and β2 = 20002 rad/s. The DOB bandwidth parameter is set to ωc = 1000 rad/s.
First, the case of matched inductance parameters is considered (L = Ls). When a 5 N·m load is suddenly applied at 0.2 s, the dq-axis current responses under three decoupling strategies are obtained, as shown in Figure 4. Under PI linear decoupling (Figure 4a), a step change in the q-axis current causes a 0.4 A fluctuation in the d-axis current lasting 34 ms, with a q-axis overshoot of 1.1 A and a steady-state error of 0.32 A. With ESO decoupling (Figure 4b), the d-axis fluctuation is reduced to 0.35 A for 27 ms, while the q-axis overshoot and steady-state error decrease to 0.81 A and 0.30 A, respectively. In contrast, DOB decoupling (Figure 4c) achieves the best performance, with only a 0.25 A fluctuation lasting 26 ms, a q-axis overshoot of 0.40 A, and a steady-state error of 0.28 A. These results demonstrate that the DOB method provides superior decoupling capability, yielding smaller steady-state errors and faster response.
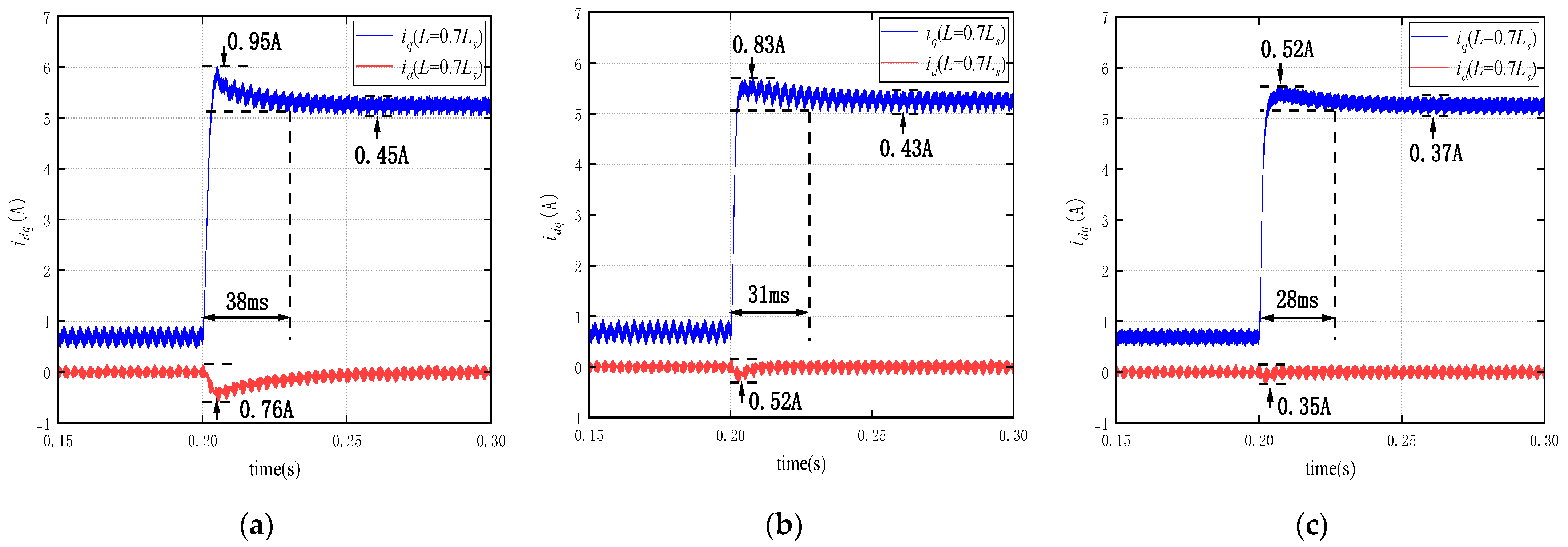
Next, the case of parameter mismatch is considered (L = 0.7Ls), where the inductance is set to 0.7 times its nominal value. When a 5 N·m load is suddenly applied at 0.2 s, the dq-axis current responses under three decoupling strategies are obtained, as shown in Figure 5. Under PI linear decoupling (Figure 5a), the q-axis step change induces a d-axis fluctuation of 0.76 A lasting 38 ms, with a q-axis overshoot of 0.95 A and a steady-state error of 0.45 A. With ESO decoupling (Figure 5b), the d-axis fluctuation is reduced to 0.52 A for 31 ms, while the q-axis overshoot and steady-state error are 0.83 A and 0.43 A, respectively. In contrast, DOB decoupling (Figure 5c) achieves the best performance, with only a 0.35 A fluctuation lasting 28 ms, a q-axis overshoot of 0.52 A, and a steady-state error of 0.37 A. These results demonstrate that DOB maintains a shorter settling time and smaller steady-state error even under parameter variations, highlighting its strong robustness and non-periodic disturbance suppression capability.
However, the simulation results above indicate that periodic fluctuations still exist in the dq-axis currents. Consistent with previously reported findings, these fluctuations arise because the disturbance observer has limited bandwidth and cannot effectively capture the medium- and high-frequency components of disturbances. As a result, periodic oscillations persist in the dq-axis currents, including high-order harmonics induced by inverter dead-time effects and stator current harmonics caused by air-gap flux harmonics of the motor. All these factors degrade the performance of DOB, making it necessary to adopt additional current harmonic suppression strategies to further enhance the overall system performance.

3. Design of a Resonance Control Periodic Disturbance Observer

3.1. Improved Disturbance Observer Design Using Resonant Filters

To further suppress current harmonic fluctuations, this paper proposes a Resonant Control Periodic Disturbance Observer (RC-PDOB). Taking the d-axis as an example, the structural block diagram is shown in Figure 6.
The design of the Resonant Control Periodic Disturbance Observe (RC-PDOB) for the current loop is structurally similar in structure to that shown in Figure 3. The only modification required is to replace the low-pass filter Gf(s) in Figure 3 with an improved filter that incorporates resonant terms, forming a low-pass resonant filter capable of observing periodic disturbances. Since the higher-order harmonics in the inverter output voltage are negligible, only the 6th and 12th harmonic voltage components are considered in this work. Given that the PMSM current loop is a first-order system, a first-order Butterworth filter is sufficient for the low-pass component.
In control systems, increasing the control bandwidth generally reduces observation error. To effectively track disturbances in the mid-frequency range, the observer bandwidth must be increased. However, expanding the bandwidth also amplifies system noise, which can lead to instability. Therefore, it is necessary to design an observer that selectively detects harmonic frequencies at specific points while remaining unaffected at other frequency bands.
The classical reconstructed resonant term is constructed, whose expression and frequency response characteristics are shown as follows:
R k ( s ) = 1 + Q k ( s ) = 1 + 2 K r s s 2 + ( k ω 0 ) 2 = s 2 + 2 K r s + ( k ω 0 ) 2 s 2 + ( k ω 0 ) 2
R k ( j ω ) = ,   ω = k ω 0 2 ,   ω = k ω 0 ± K r 1 ,   ω k ω 0 K r or ω k ω 0 + K r R k ( j ω ) = ± 90 ° ,   ω k ω 0 ± 45 ° ,   ω k ω 0 ± K r 0 ,   ω k ω 0 K r or ω k ω 0 + K r
where ω0 represents the fundamental frequency of the system. 0 represents the k-th harmonic of the fundamental frequency ω0.
To extract the 6th and 12th harmonic components, the reconstructed resonant terms of different orders can be connected in series to form the composite resonant term R(s), expressed as:
R ( s ) = k = A B R k ( s ) = k = A B ( s 2 + 2 K r s + ( k ω 0 ) 2 s 2 + ( k ω 0 ) 2 )
Let A = 1, B = 2, the fundamental frequency ω0 = 40, the resonant gain coefficient Kr = 20, and the harmonic order k = 6 and k = 12. The Bode plot of the series reconstructed resonant term is shown in Figure 7. It can be observed that at the frequencies ω1 = 0 = 240, ω2 = 12ω0 = 480, the magnitude of Rk(s) tends to infinity, indicating that the reconstructed resonant term has excellent frequency-selective characteristics.
By incorporating the series resonant term R(s) into the low-pass filter Gf(s), the resulting expression is given as follows:
G R ( s ) = R ( s ) + x X a x s x R ( s ) + y Y b y s y = 1 ,   ω = k ω 0 1 + x X a x s x 1 + y Y b y s y = G f ( s ) ω = other
The above low-pass resonant filter, incorporating the reconstructed resonant term, closely approximates the ideal filter described. It enables effective observation of periodic disturbance signals at specific frequency points ω = 0. At other frequency points, the magnitude gain of the resonant term remains 1, allowing the filter to retain its original low-pass characteristics without affecting its fundamental behavior.
In practical engineering applications, in order to maintain high resonant gain while ensuring the stability of the closed-loop system during operation, a quasi-resonant term Qkm(s) is often used in place of the standard resonant term Qk(s). The expressions for the quasi-resonant term Qkm(s) and the reconstructed quasi-resonant term Rkm(s) are given as follows:
Q k m ( s ) = 2 K r ω b s s 2 + 2 ω b s + ( k ω 0 ) 2
R k m ( s ) = s 2 + 2 ( K + ω b ) s + ( k ω 0 ) 2 s 2 + 2 ω b s + ( k ω 0 ) 2
where K = Kr + 1, Kωb > 0. The magnitude–frequency characteristics at the resonant frequency are as follows:
R k m ( j k ω 0 ) = 1 + K ω b
By incorporating the reconstructed resonant term shown in Equation (17) into the low-pass filter, the resulting expression of the series reconstructed resonant low-pass filter is obtained, as shown in Equation (19).
The transfer function of the series resonant low-pass filter Gmf(s) is given as:
G m f ( s ) = ω c 2 R 6 m ( s ) R 12 m ( s ) [ s + ω c R 6 m ( s ) ] [ s + ω c R 12 m ( s ) ]
R 6 m ( s ) = s 2 + 2 ( K + ω b ) s + ( 6 ω 0 ) 2 s 2 + 2 ω b s + ( 6 ω 0 ) 2   R 12 m ( s ) = s 2 + 2 ( K + ω b ) s + ( 12 ω 0 ) 2 s 2 + 2 ω b s + ( 12 ω 0 ) 2
The resonantly enhanced low-pass filter is analyzed in more detail below.
To investigate the influence of the coefficients K and ωb on the reconstructed resonant term, ωb is first fixed while varying the value of K. The corresponding Bode plots are shown in Figure 8a. Then, K is fixed while varying ωb, and the resulting Bode plots are shown in Figure 8b. From the plots, it can be observed that when ωb is fixed, increasing K leads to a higher magnitude gain at the resonant frequency. However, it also increases the gain in the surrounding frequency range. The phase shift at the resonant point remains approximately the same, while phase variation in other frequency regions is relatively smooth. Conversely, when K is held constant and ωb is reduced, the gain at the resonant frequency increases, and the phase shift at the resonant point becomes more abrupt.
The design of the RC-PDOB for the current loop involves three key parameters: the cutoff frequency ωc of the low-pass filter Gmf(s), and the parameters K and ωb of the reconstructed resonant term Rkm(s). The design must comprehensively consider both frequency-domain characteristics and closed-loop stability requirements. System performance objectives are achieved through coordinated tuning of these parameters. The tuning strategy is analyzed as follows:
  • Selection of the Cutoff Frequency ωc.
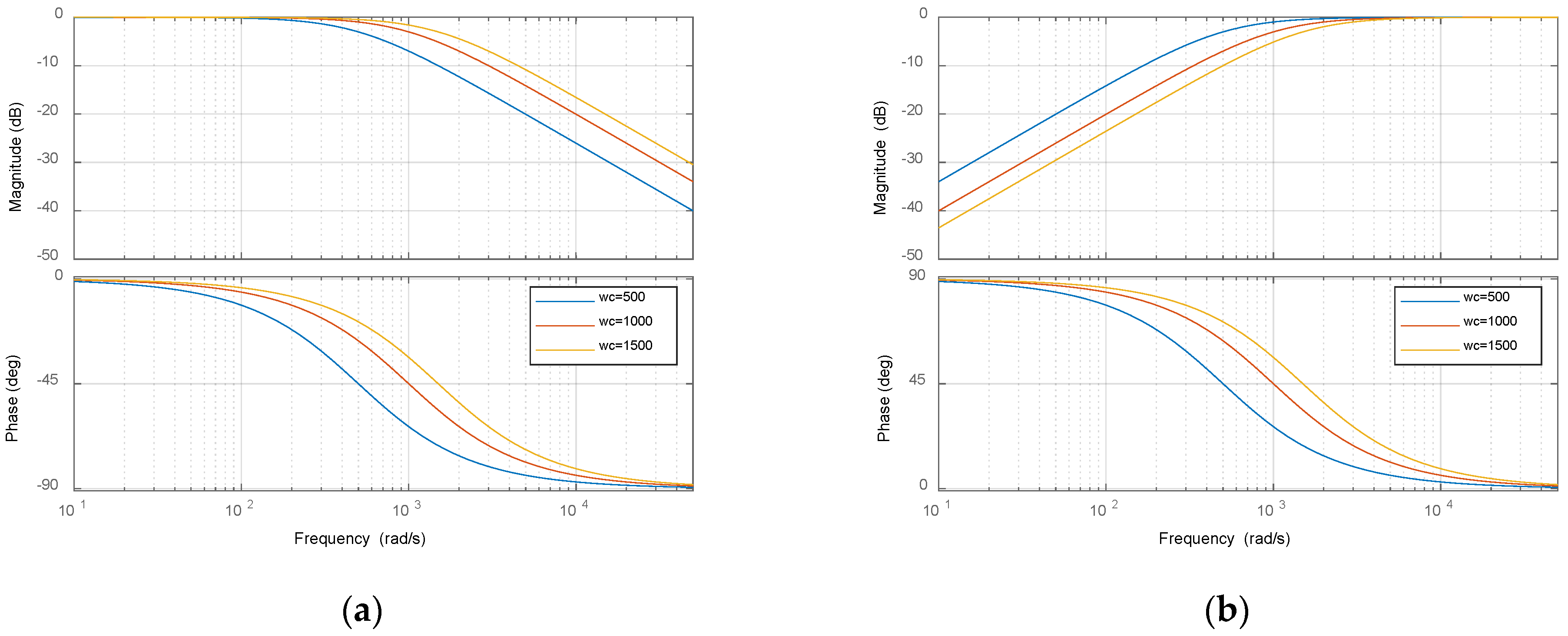
To avoid instability introduced by the inverse of the nominal plant transfer function, the cutoff frequency ωc should satisfy ωcωcn, where ωcn is the upper limit of the current controller bandwidth. Meanwhile, the phase lag caused by the low-pass filter must be evaluated to ensure system stability. A sufficient phase margin should be reserved to maintain the desired dynamic performance. To investigate the influence of different cutoff frequencies on the system, Bode plots of the low-pass filter function and the sensitivity function are compared for ωc = 500, ωc = 1000, and ωc = 1500, as shown in the Figure 9.
From the Bode plot analysis, it can be observed that when the electrical parameter is set to ωc = 1000, the filter function Gmf(s) achieves unit gain in the low-frequency range while effectively attenuating high-frequency signals. The magnitude of the sensitivity function 1 − Gmf(s) remains significantly below zero in the low-frequency region, indicating excellent suppression capability against low-frequency disturbances. In addition, the magnitude plots of Gmf(s) and 1 − Gmf(s) exhibit a symmetrical characteristic, further confirming that the designed filter effectively balances the dual objectives of low-frequency disturbance rejection and high-frequency noise attenuation.
2.
Matching of Resonant Term Parameters K and ωb.
The parameter K determines the frequency range over which the resonant control is effective, and it directly affects the bandwidth characteristics of Rkm(s). Once K is selected, ωb is used to adjust the resonant peak. A smaller ωb results in a higher resonant gain for the corresponding frequency band, while a larger ωb reduces the gain. This characteristic can be utilized to suppress or enhance the response intensity of specific frequency components.
Based on the above analysis, a general tuning procedure for the RC-PDOB can be established. The process is illustrated in Figure 10.
Based on the above analysis, the disturbance sensitivity function can be expressed as:
H m f ( s ) = 1 G m f ( s ) = s 2 + ω c [ R 6 m ( s ) + R 12 m ( s ) ] s [ s + ω c R 6 m ( s ) ] [ s + ω c R 12 m ( s ) ]
Figure 11 shows the frequency response curves of the decoupling disturbance observer and the resonant-enhanced periodic disturbance observer when the fundamental frequency ω0 is 40 rad/s, with parameters ωc = 1000, K = 10, ωb = 1. As illustrated in the figure, at six and twelve times the fundamental frequency, the magnitude of the disturbance sensitivity function in the proposed method is significantly reduced compared to the original system, indicating that the total disturbance is effectively suppressed within these frequency bands.

3.2. Stability Analysis of the Resonant Control Periodic Disturbance Observer

For the RC-PDOB control system shown in Figure 6, the closed-loop transfer function from the reference input to the output, neglecting external disturbances and measurement noise, is given by:
G u y = P ( s ) P n ( s ) P n ( s ) G m f ( s ) [ P n ( s ) P ( s ) ]
The model error can be expressed in a multiplicative form as: P ( s ) = [ 1 + Δ p ( s ) ] P n ( s ) . Let the zero-pole expressions of the nominal plant model and the filter function be defined as follows:
P n ( s ) = N P ( s ) D P ( s ) G m f ( s ) = N G ( s ) D G ( s )
Substituting Equation (23) into Equation (22) yields:
G u y = [ 1 + Δ p ( s ) ] P n ( s ) P n ( s ) P n ( s ) + G m f ( s ) Δ p ( s ) P n ( s ) = [ 1 + Δ p ( s ) ] N P ( s ) D P ( s ) 1 + N G ( s ) D G ( s ) Δ p ( s ) = [ 1 + Δ p ( s ) ] N P ( s ) D G ( s ) D P ( s ) D G ( s ) + D P ( s ) N G ( s ) Δ p ( s )
The characteristic equation of the closed-loop system is then given by:
G u y = [ 1 + Δ p ( s ) ] P n ( s ) P n ( s ) P n ( s ) + G m f ( s ) Δ p ( s ) P n ( s )   = [ 1 + Δ p ( s ) ] N P ( s ) D P ( s ) 1 + N G ( s ) D G ( s ) Δ p ( s ) = [ 1 + Δ p ( s ) ] N P ( s ) D G ( s ) D P ( s ) D G ( s ) + D P ( s ) N G ( s ) Δ p ( s )
Then the closed-loop characteristic equation of this system is:
D P ( s ) [ D G ( s ) + N G ( s ) Δ p ( s ) ] = 0
Equation (26) indicates that, in the absence of external disturbances and noise, the stability of the RC-PDOB control system is determined by the pole distribution of the nominal plant model Pn(s) and the zero-pole distribution of the filter function Gmf(s). In the decoupling control of the PMSM, the nominal model of the controlled plant is inherently stable and can therefore be used directly. The pole part of the filter function DG(s) must satisfy stability conditions during the design process; otherwise, the filter will not converge. Therefore, Equation (26) can be further expressed as:
D G ( s ) + N G ( s ) Δ p ( s ) = 0
Equation (27) imposes specific requirements on the cutoff frequency and structure of Gmf(s). However, due to the unpredictability of the model variation Δm(s), any predetermined cutoff frequency of the DOB may lead to system instability when significant parameter changes occur. Equation (27) can be transformed as:
Δ p ( s ) = D G ( s ) N G ( s ) = 1 G m f ( s ) 1 + Δ p ( s ) G m f ( s ) = 0
Then the open-loop gain of the system is L(s) = Δp(s)Gmf(s). Regarding the system shown in Figure 12:
S1 and S2 are input-output stable. If condition γ2(1)γ2(2) < 1 is met(where γ2(1) and γ2(2) are the L2 norms of S1 and S2, respectively), then this system is also input-output stable. The proof is as follows:
y 1 = S 1 e 1 y 1 2 γ 2 ( 1 ) e 1 2
where e1 = u1 + S2(y1 + y2), and follows:
y 1 2 γ 2 ( 1 ) e 1 2 e 1 2 u 1 2 + S 2 y 1 + u 2 2 u 1 2 + γ 2 ( 2 ) y 1 2 + u 2 2 u 1 2 + γ 2 ( 1 ) γ 2 ( 2 ) e 1 2 + γ 2 ( 2 ) u 1 2 1 γ 2 ( 1 ) γ 2 ( 2 ) e 1 2 u 1 2 + γ 2 ( 2 ) u 2 2 e 1 2 u 1 2 + γ 2 ( 2 ) u 2 2 1 γ 2 ( 1 ) γ 2 ( 2 )
For S1:
y 1 2 γ 2 ( 1 ) e 1 2 γ 2 ( 1 ) 1 γ 2 ( 1 ) γ 2 ( 2 ) u 1 2 + γ 2 ( 1 ) γ 2 ( 2 ) 1 γ 2 ( 1 ) γ 2 ( 2 ) u 2 2
For S2:
y 2 2 γ 2 ( 2 ) 1 γ 2 ( 1 ) γ 2 ( 2 ) u 2 2 + γ 2 ( 1 ) γ 2 ( 2 ) 1 γ 2 ( 1 ) γ 2 ( 2 ) u 1 2
If the condition is satisfied:
S 1 S 2 < 1 S 1 γ 2 ( 1 ) S 2 γ 2 ( 2 ) < 1
The system is asymptotically stable.
According to the small gain theorem, S1 = Δp(s), S2 = Gmf(s), the robustness condition of the system, ensuring bounded input-output behavior, is given by:
Δ p ( s ) G m f ( s ) < 1
The designed filter function can ensure the stability of the RC-PDOB system as long as it satisfies the condition specified in Equation (34).

4. Experimental Results

4.1. Experimental Platform and Test Conditions

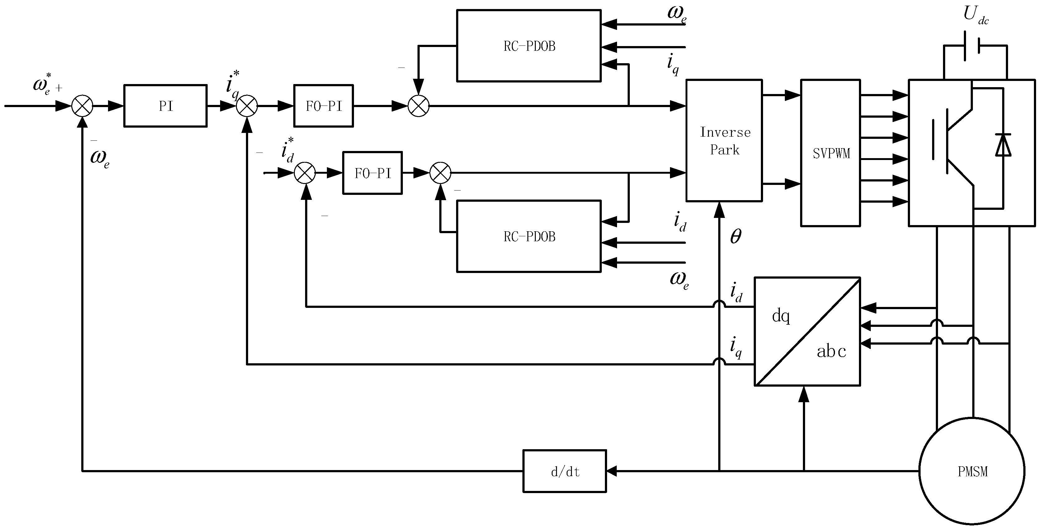
The PMSM control system framework based on RC-PDOB is shown in Figure 13. The system adopts a dual-loop control structure, consisting of a speed loop and a current loop. The speed loop employs a PI controller, while the current loop controller adopts a fractional-order PI to ensure favorable dynamic performance. The observer uses the improved RC-PDOB proposed in this paper to suppress both non-periodic and periodic disturbances. In the RC-PDOB module, the feedback current, feedback speed, and reference voltage are used as inputs to estimate the total disturbance, which is then compensated in the corresponding current loop. Through coordinate transformation and space vector pulse width modulation (SVPWM), comprehensive control of PMSM operation is achieved.
To validate the proposed method, experiments are conducted using a 1.5 kW permanent magnet synchronous motor on the Speedgoat hardware-in-the-loop (HIL) simulation platform (Unitech Embedded, Shanghai, China). The experimental setup and motor parameters are shown in Figure 14 and Table 2, respectively. The switching frequency of the inverter′s transistors is 10 kHz, and the dead time is set to 2 us.
This study compares four control schemes: fractional-order PI (FO-PI), fractional-order active disturbance rejection control (FO-ADRC), fractional-order disturbance observer (FO-DOB), and the proposed resonant-type PDOB with repetitive compensation (RC-PDOB). All four schemes employ an FO-PI controller to ensure comparable dynamic performance; the primary modifications lie in the observer designs. Specifically, FO-PI uses a unity negative feedback loop, FO-ADRC employs an extended state observer (ESO), FO-DOB uses a conventional disturbance observer, and RC-PDOB adopts the resonant disturbance observer proposed in this paper. Because the modules of RC-PDOB are functionally independent, the parameters of each module were tuned separately.
The FO-PI controller parameters are optimized using a simulated annealing particle swarm optimization (SAPSO) algorithm. The key SAPSO settings are chosen as follows: cognitive social learning coefficients c1 = c2 = 0.5, inertia weight ω = 0.7, and initial temperature T0 = 100 with a cooling factor α = 0.95. A relatively small learning coefficient weakens individual and social influences, increasing reliance on inertial motion and thereby enhancing global search capability. A larger inertia weight preserves particle momentum to encourage wide-range exploration. A high initial temperature increases the early acceptance probability of inferior solutions—expanding the search space—while gradual cooling promotes convergence. Other SAPSO parameters are set to: maximum iterations is 80, swarm size is 30, and a 6-dimensional parameter search space. The optimized FO-PI parameters obtained after convergence are listed in Table 3. The expression of fractional-order PI is as follows:
C n ( s ) = K p + K i s λ
Subsequently, the observer parameters are configured as follows. The velocity loop is regulated by a PI controller with a bandwidth of 0.18 rad/s. For the ESO, the gains are set to β1 = 4000 rad/s and β2 = 20002 rad/s. For the DOB, the cut-off frequency is chosen as ωc = 1000 rad/s. The RC-PDOB controller parameters are selected according to the design guidelines illustrated in Figure 10, ωc = 1000 rad/s, K = 50 rad/s, and ωb = 0.5 rad/s.

4.2. Comparative Experiment Under Steady-State Operation

In order to verify the performance of PMSM under low-load and heavy-load conditions. Figure 15 and Figure 16 show the steady-state responses of the four control strategies under 5 N·m and rated torque, including d-axis and q-axis currents, A-phase current, and the FFT of the A-phase current. Table 4 and Table 5 list the corresponding harmonic components and THD values. Since the current harmonics are more pronounced at low speeds, in order to enhance the contrast, the reference speed nref is set to 150 r/min.
As shown in Figure 15a, under the FO-PI control method, the d-axis and q-axis currents exhibit significant fluctuations, with steady-state ripple values of 1.62 A and 1.01 A, respectively. Moreover, the A-phase current shows noticeable distortion, with a total harmonic distortion (THD) of 8.93%, indicating the presence of considerable harmonic components. The FFT analysis of the A-phase current further reveals prominent 5th, 7th, 11th, and 13th harmonics. In Figure 15b, compared with FO-PI, the FO-ADRC reduces current ripples to some extent, with dq-axis steady-state current ripples of 1.11 A and 0.95 A. The THD decreases to 6.32%, although the distortion remains visible. According to Table 5, the FFT amplitudes of the 5th and 7th harmonics are reduced from 6.01% and 3.71% to 3.24% and 2.22%, while those of the 11th and 13th harmonics decrease from 2.31% and 1.39% to 1.35% and 1.12%, respectively. As shown in Figure 15c, the FO-DOB further attenuates current ripples compared with the FO-ADRC. The dq-axis steady-state current ripples decrease to 1.03 A and 0.91 A, and the THD is reduced to 5.91%. However, current distortion is still evident. According to Table 5, the FFT amplitudes of the 5th and 7th harmonics decrease to 2.67% and 1.80%, and those of the 11th and 13th harmonics decrease to 1.17% and 0.97%, respectively. In contrast, Figure 15d shows that the RC-PDOB effectively suppresses periodic disturbances. The dq-axis steady-state current ripples are further reduced to 0.72 A and 0.78 A. Moreover, the THD of the A-phase current decreases to 4.85%, and the FFT amplitudes of the 5th, 7th, 11th, and 13th harmonics are suppressed to 0.32%, 0.27%, 0.21%, and 0.14%, respectively, which are acceptable for high-performance operation.
The experimental results under rated load (Figure 16) show similar trends to those at 5 N·m (Figure 15). Compared with the FO-PI, FO-ADRC, and FO-DOB methods, the RC-PDOB significantly reduces dq-axis current ripples and lowers the A-phase current THD from 5.10% to 2.47%. In conclusion, the method proposed in this paper has a good suppression effect on periodic harmonic disturbances under both low-load and rated-load conditions.

4.3. Comparative Experiment of Parameter Mismatch

To evaluate the impact of parameter mismatch on PMSM control performance with the proposed RC-PDOB algorithm, four control strategies—FO-PI, FO-ADRC, FO-DOB, and RC-PDOB—are implemented under a 5 N·m load at 150 r/min, with the inductance reduced to 70% of its nominal value. The experimental results under inductance mismatch are presented in Figure 17, while Table 6 summarizes the harmonic components and total harmonic distortion (THD) values for each control method.
As shown in Figure 17 and Table 6, when the inductance is set to 70% of its nominal value, the FO-PI method resulted in significant increases in d- and q-axis current harmonics due to parameter mismatch. Under this condition, the d-axis current fluctuation reaches 1.89 A, while the q-axis current fluctuation reaches 1.49 A, accompanied by pronounced 5th, 7th, 11th, and 13th harmonic components, leading to a high THD. Although FO-ADRC and FO-DOB effectively reduce the dq-axis current fluctuations, their harmonic content remained relatively high, which adversely affects steady-state performance. In contrast, the RC-PDOB strategy achieves smaller dq-axis current fluctuations (0.79 A and 0.97 A) and effectively suppresses the 5th, 7th, 11th, and 13th harmonics (0.17%, 0.15%, 0.22%, 0.11%), resulting in a lower THD (4.11%). These results demonstrate that the proposed method exhibits strong robustness against inductance parameter variations.
As can be seen from Table 7, the proposed RC-PDOB scheme has a relatively low THD value under different operating conditions, indicating that it has a good ability to suppress periodic disturbances.

4.4. Experiment of Transient-State Performance

Figure 18 shows the waveforms of motor speed, electromagnetic torque. and stator A-phase current before and after the introduction of the RC-PDOB proposed in this paper when the load suddenly increases. The load torque changes from 2 N·m to 7 N·m, and the motor speed remains at 600 r/min. Without adding RC-PDOB, the experimental results show that the speed drops to 20 r/min and the recovery time is 61 ms; after adding RC-PDOB, the speed drops to 19 r/min and the recovery time is 58 ms. This indicates that the proposed scheme in this paper has improved the dynamic performance of the system.

5. Conclusions

This paper proposes a current decoupling and harmonic suppression strategy for a permanent magnet synchronous motor (PMSM), based on a resonant control periodic disturbance observer (RC-PDOB). The method effectively decouples the dq-axis current loop and suppresses the 6th and 12th current harmonics present. Through theoretical analysis and experimental validation, the following conclusions are drawn:
Significant Improvement in Current Decoupling Capability: The dq-axis decoupling model based on the disturbance observer (DOB) can effectively eliminate the cross-coupling terms in the current loop. When the q-axis current changes, compared with the traditional linear feedback decoupling method, the DOB decoupling estimates the coupling terms as the total disturbance and eliminates their influence through a feedforward compensation method, resulting in the duration of d-axis current fluctuations being shortened from 34 ms to 26 ms, and reducing the q-axis steady-state error from 0.32 A to 0.28 A, thereby improving the dynamic performance and steady-state performance of the system. In the case of changes in inductance parameters, when using the DOB method, the duration of d-axis current fluctuations is 28 ms, and the q-axis steady-state error is 0.37 A. In terms of dynamic and steady-state performance, it is superior to the traditional method, effectively reducing the non-periodic interference caused by electrical parameter changes. This enhances the parameter robustness of the system and provides a more excellent dynamic response in situations such as sudden load changes and parameter mismatches.
Outstanding Harmonic Suppression Capability: The proposed RC-PDOB achieves targeted observation and compensation of specific frequency disturbances (6th and 12th harmonics) by embedding a proportional-resonant controller into the filtering stage of the disturbance observer and incorporating a series resonant structure. This enables coordinated suppression of higher-order current harmonics, significantly enhancing the system′s harmonic rejection performance.
The excellent control performance was verified through experiments: The steady-state and dynamic experiments conducted on the Speedgoat hardware-in-the-loop (HIL) simulation platform demonstrated that the performance of the RC-PDOB controller was superior to the FO-PI, FO-ADRC, and FO-DOB control strategies. Specifically, at a constant load of 5 N.m and a constant speed of 150 r/min, it reduced the 5th, 7th, 11th, and 13th harmonic components to 0.32%, 0.27%, 0.21%, and 0.14% respectively. It achieved the lowest total harmonic distortion (THD) in the steady-state current, reducing it from 8.93% to 4.85%. The effectiveness of the proposed method was also demonstrated during operation at the rated load. Moreover, in the case of parameter variations, the RC-PDOB still maintained good steady-state results, indicating its good parameter robustness. Finally, under load variations, it exhibited a faster response time and smaller speed fluctuations. These results highlight the strong applicability of this controller in engineering applications and its significant potential in practical applications.

Author Contributions

J.J. designed the proposed control strategy and experimental plan, conducted the experiments, organized the data, and drafted the manuscript. L.G. provided suggestions on the paper′s structure, guided the experimental design and manuscript writing and revision, and offered both experimental equipment and financial support. W.L. assisted with the experimental setup and manuscript preparation. All authors have read and agreed to the published version of the manuscript.

Funding

This research was supported by the Key Research and Development Program of Zhejiang Science and Technology Department (2025C01015, 2023C01243, 2023C01159) and the National Science Foundation of China (52277068).

Institutional Review Board Statement

Not applicable.

Informed Consent Statement

Not applicable.

Data Availability Statement

The original contributions presented in this study are included in the article. Further inquiries can be directed to the corresponding author.

Acknowledgments

Experimental facilities: PMSM and speedgoat hardware-in-the-loop (HIL) simulation platform (Unitech Embedded, Shanghai, China). Software: (Matlab 2022a, MathWorks, MA, USA).

Conflicts of Interest

The authors declare no conflicts of interest. The funders had no role in the design of the study; in the collection, analyses, or interpretation of data; in the writing of the manuscript; or in the decision to publish the results.

References

  1. Liang, G.; Liu, Y.; Wang, B.; Gao, Z.; Song, S. An optimized modulation of torque and current harmonics suppression for dual three-phase PMSM. IEEE Trans. Transp. Electrif. 2024, 10, 3443–3454. [Google Scholar] [CrossRef]
  2. Tian, M.; Wang, B.; Yu, Y.; Dong, Q.; Xu, D. Adaptive active disturbance rejection control for uncertain current ripples suppression of PMSM drives. IEEE Trans. Ind. Electron. 2024, 71, 2320–2331. [Google Scholar] [CrossRef]
  3. Yang, Z.; Qian, C.; Sun, X.; Wang, K. Enhanced linear ADRC strategy for sensorless control of IPMSM considering cross-coupling factors. IEEE Trans. Transp. Electrif. 2023, 9, 4437–4446. [Google Scholar] [CrossRef]
  4. Dai, C.; Guo, T.; Yang, J.; Li, S. A disturbance observer-based current-constrained controller for speed regulation of PMSM systems subject to unmatched disturbances. IEEE Trans. Ind. Electron. 2021, 68, 767–775. [Google Scholar] [CrossRef]
  5. Wang, B.; Tian, B.; Yu, Y.; Dong, Q.; Xu, D. Enhanced ADRC with Quasi-Resonant control for PMSM speed regulation considering aperiodic and periodic disturbances. IEEE Trans. Transp. Electrif. 2022, 8, 3568–3577. [Google Scholar] [CrossRef]
  6. Zou, J.; Liu, C.; Xu, Y.; Yu, G. A High-Precision model for dual Three-Phase PMSM considering the effect of harmonics, magnetic saturation, and electromagnetic coupling. IEEE Trans. Transp. Electrif. 2024, 10, 2456–2468. [Google Scholar] [CrossRef]
  7. Wang, L.; Zhu, Z.Q.; Bin, H.; Gong, L.M. Current harmonics suppression strategy for PMSM with non sinusoidal Back-EMF based on adaptive linear neuron method. IEEE Trans. Ind. Electron. 2020, 67, 9164–9173. [Google Scholar] [CrossRef]
  8. Bendjedia, M.; Tehrani, K.A.; Azzouz, Y. Design of RST and fractional order PID controllers for an induction motor drive for electric vehicle application. In Proceedings of the 7th IET International Conference on Power Electronics, Machines and Drives, Manchester, UK, 8–10 April 2014; pp. 1–8. [Google Scholar]
  9. Lu, E.; Li, W.; Wang, S.B. Disturbance rejection control for PMSM using integral sliding mode based composite nonlinear feedback control with load observer. ISA Trans. 2021, 116, 203–217. [Google Scholar] [CrossRef] [PubMed]
  10. Jia, J.; Yang, D.; Sun, P.; Liang, D.; Si, J. Decoupled current control using adaptive quasi resonant-based ESO for novel matrix-torque-component machines. IEEE Trans. Power Electron. 2025, 40, 8503–8515. [Google Scholar] [CrossRef]
  11. Hernández, G.O.; Targui, B.; Valencia, P.G.; Guerrero, S.M.E. Robust cascade observer for a disturbance unmanned aerial vehicle carrying a load under multiple time-varying delays and uncertainties. Int. J. Syst. Sci. 2024, 55, 18. [Google Scholar] [CrossRef]
  12. He, T.; Wu, Z. Iterative learning disturbance observer based attitude stabilization of flexible spacecraft subject to complex disturbances and measurement noises. IEEE/CAA J. Autom. Sin. 2021, 8, 1576–1587. [Google Scholar] [CrossRef]
  13. Yue, J.; Liu, Z.; Zhang, M.; Su, H. Cascade ESO-based control for power converter of dynamic wireless EV charging system subject to uncertainty and sensor noise. IEEE Trans. Transp. Electrif. 2025, 11, 4598–4608. [Google Scholar] [CrossRef]
  14. Liu, Q.; Zhang, L.; Zhang, W. High-Order generalized integrator ESO-based PLL considering time-varying disturbances. IEEE Trans. Power Electron. 2024, 39, 101–105. [Google Scholar] [CrossRef]
  15. Guerrero, S.M.E.; Montoya, M.J.R.; Valencia, P.G.; Hernández, G.O. Robust IDA-PBC for non-separable PCH systems under time-varying external disturbances. Nonlinear Dyn. 2025, 113, 3499–3510. [Google Scholar] [CrossRef]
  16. Zhang, W.; Xie, S.; Feng, X.; Gu, P.; Lei, Z.; Zhao, C. Research on Harmonic Suppression of OW-PMSM with Common DC Bus for Three-Parameter Digital Notch Filter Based on Voltage Compensation. In Proceedings of the 6th International Conference on Electrical Engineering and Green Energy (CEEGE), Grimstad, Norway, 6–9 June 2023; pp. 1–6. [Google Scholar]
  17. Xu, J.; Wei, Z.; Wang, S. Active Disturbance Rejection Repetitive Control for Current Harmonic Suppression of PMSM. IEEE Trans. Power Electron. 2023, 38, 14423–14437. [Google Scholar] [CrossRef]
  18. Xia, C.; Ji, B.; Yan, Y. Smooth Speed Control for Low-Speed High-Torque Permanent-Magnet Synchronous Motor Using Proportional–Integral–Resonant Controller. IEEE Trans. Ind. Electron. 2015, 62, 2123–2134. [Google Scholar] [CrossRef]
  19. Bai, Y.; Liu, B.; Chen, C.; Wang, S. An Adaptive-Frequency Harmonic Suppression Strategy Based on Vector Reconstruction for Current Measurement Error of PMSM Drives. IEEE Trans. Power Electron. 2023, 38, 34–40. [Google Scholar] [CrossRef]
  20. Cheng, C.; Liu, L.; Ding, S. Iterative Learning Observer-Based Composite SOSM Control for PMSM Speed Regulation Problem with Mismatched Disturbances. IEEE Trans. Power Electron. 2024, 39, 9470–9480. [Google Scholar] [CrossRef]
  21. Liu, C.; Luo, G.; Chen, Z.; Tu, W. Measurement Delay Compensated LADRC Based Current Controller Design for PMSM Drives with a Simple Parameter Tuning Method. ISA Trans. 2020, 101, 482–492. [Google Scholar] [CrossRef] [PubMed]
  22. Wang, Z.; Zhao, J.; Wang, L.; Li, M.; Hu, Y. Combined Vector Resonant and Active Disturbance Rejection Control for PMSLM Current Harmonic Suppression. IEEE Trans. Ind. Inform. 2020, 16, 5691–5702. [Google Scholar] [CrossRef]
  23. Wang, M.; Kang, K.; Zhang, C.; Li, L. Precise position control in air-bearing PMLSM system using an improved anticipatory fractional-order iterative learning control. IEEE Trans. Ind. Electron. 2024, 71, 6073–6083. [Google Scholar] [CrossRef]
  24. Wang, Y.; Xu, Y.; Zou, J. ILC-Based voltage compensation method for PMSM sensorless control considering inverter nonlinearity and sampling current DC bias. IEEE Trans. Ind. Electron. 2020, 67, 5980–5989. [Google Scholar] [CrossRef]
  25. Alawieh, H.; Tehrani, K.A.; Azzouz, Y.; Dakyo, B. A new active common-mode voltage elimination method for three-Level Neutral-Point Clamped inverters. In Proceedings of the IECON 2014—40th Annual Conference of the IEEE Industrial Electronics Society, Dallas, TX, USA, 29 October–1 November 2014; pp. 1060–1066. [Google Scholar]
Figure 1. Schematic Diagram of the Inverter Dead-Time Effect (a) Phase-A Leg of the Three-Phase Inverter; (b) Schematic Diagram of the Dead-Time Effect.
Figure 1. Schematic Diagram of the Inverter Dead-Time Effect (a) Phase-A Leg of the Three-Phase Inverter; (b) Schematic Diagram of the Dead-Time Effect.
Applsci 15 09469 g001
Figure 2. Structure diagram of permanent magnet synchronous motor system considering disturbances.
Figure 2. Structure diagram of permanent magnet synchronous motor system considering disturbances.
Applsci 15 09469 g002
Figure 3. Block Diagram of the Decoupled DOB Model for the PMSM d-Axis Current Loop.
Figure 3. Block Diagram of the Decoupled DOB Model for the PMSM d-Axis Current Loop.
Applsci 15 09469 g003
Figure 4. dq-axis current response curves under a sudden load disturbance at 0.2 s with matched inductance parameters. (a) PI linear feedback decoupling. (b) ESO-based decoupling. (c) DOB-based decoupling.
Figure 4. dq-axis current response curves under a sudden load disturbance at 0.2 s with matched inductance parameters. (a) PI linear feedback decoupling. (b) ESO-based decoupling. (c) DOB-based decoupling.
Applsci 15 09469 g004
Figure 5. dq-axis current response curves under a sudden load disturbance at 0.2 s with inductance parameter mismatch. (a) PI linear feedback decoupling. (b) ESO-based decoupling. (c) DOB-based decoupling.
Figure 5. dq-axis current response curves under a sudden load disturbance at 0.2 s with inductance parameter mismatch. (a) PI linear feedback decoupling. (b) ESO-based decoupling. (c) DOB-based decoupling.
Applsci 15 09469 g005
Figure 6. Structural block diagram of the resonant Control Periodic Disturbance Observer.
Figure 6. Structural block diagram of the resonant Control Periodic Disturbance Observer.
Applsci 15 09469 g006
Figure 7. Bode plot of the series-connected resonant term R(s).
Figure 7. Bode plot of the series-connected resonant term R(s).
Applsci 15 09469 g007
Figure 8. Bode Plots of the Influence of Parameters K and ωb on the Reconstructed Resonant Term (a) Variation of Parameter K; (b) Variation of Parameter ωb.
Figure 8. Bode Plots of the Influence of Parameters K and ωb on the Reconstructed Resonant Term (a) Variation of Parameter K; (b) Variation of Parameter ωb.
Applsci 15 09469 g008
Figure 9. Bode Plots of the Low-Pass Filter Gmf(s) and Sensitivity Function 1 − Gmf(s) Under Different Parameters (a) Gmf(s); (b) 1 − Gmf(s).
Figure 9. Bode Plots of the Low-Pass Filter Gmf(s) and Sensitivity Function 1 − Gmf(s) Under Different Parameters (a) Gmf(s); (b) 1 − Gmf(s).
Applsci 15 09469 g009
Figure 10. Flowchart of the Tuning Process for the RC-PDOB.
Figure 10. Flowchart of the Tuning Process for the RC-PDOB.
Applsci 15 09469 g010
Figure 11. Bode Plot of the System Disturbance Sensitivity Function at Fundamental Frequency ω0 = 40 rad/s.
Figure 11. Bode Plot of the System Disturbance Sensitivity Function at Fundamental Frequency ω0 = 40 rad/s.
Applsci 15 09469 g011
Figure 12. System equivalent structure diagram.
Figure 12. System equivalent structure diagram.
Applsci 15 09469 g012
Figure 13. Structural diagram of the resonant control disturbance observer (RC-PDOB).
Figure 13. Structural diagram of the resonant control disturbance observer (RC-PDOB).
Applsci 15 09469 g013
Figure 14. Hardware platform of the HIL simulation system.
Figure 14. Hardware platform of the HIL simulation system.
Applsci 15 09469 g014
Figure 15. Steady-state dq-axis and A-phase current waveforms and FFT analysis of A-phase current under 5 N·m load and 150 r/min speed for four control strategies. (a) FO-PI. (b) FO-ADRC. (c) FO-DOB. (d) RC-PDOB.
Figure 15. Steady-state dq-axis and A-phase current waveforms and FFT analysis of A-phase current under 5 N·m load and 150 r/min speed for four control strategies. (a) FO-PI. (b) FO-ADRC. (c) FO-DOB. (d) RC-PDOB.
Applsci 15 09469 g015
Figure 16. Steady-state dq-axis and A-phase current waveforms and FFT analysis of A-phase current under rated load and 150 r/min speed for four control strategies. (a) FO-PI. (b) FO-ADRC. (c) FO-DOB. (d) RC-PDOB.
Figure 16. Steady-state dq-axis and A-phase current waveforms and FFT analysis of A-phase current under rated load and 150 r/min speed for four control strategies. (a) FO-PI. (b) FO-ADRC. (c) FO-DOB. (d) RC-PDOB.
Applsci 15 09469 g016
Figure 17. Experiment of Parameter mismatch under 5 N·m load and 150 r/min speed for four control strategies. (a) FO-PI. (b) FO-ADRC. (c) FO-DOB. (d) RC-PDOB.
Figure 17. Experiment of Parameter mismatch under 5 N·m load and 150 r/min speed for four control strategies. (a) FO-PI. (b) FO-ADRC. (c) FO-DOB. (d) RC-PDOB.
Applsci 15 09469 g017
Figure 18. The load changes from 2 N·m to 7 N·m, speed 600 r/min. (a) No adding RC-PDOB. (b) The Proposed RC-PDOB.
Figure 18. The load changes from 2 N·m to 7 N·m, speed 600 r/min. (a) No adding RC-PDOB. (b) The Proposed RC-PDOB.
Applsci 15 09469 g018
Table 1. Parameters of the Simulink-based Permanent Magnet Synchronous Motor.
Table 1. Parameters of the Simulink-based Permanent Magnet Synchronous Motor.
SymbolParameterValue
n p Number of Pole Pairs4
J Moment of Inertia 0.0018   kg m 2
R s Stator Resistance 2.3   Ω
L s Stator Inductance12.8 mH
ω N Rated Speed3000 rpm
T N Rated Torque10 N·m
I N Rated Current4 A
P N Rated Power1.5 KW
V d c DC Voltage540 V
Table 2. Parameters of the Permanent Magnet Synchronous Motor.
Table 2. Parameters of the Permanent Magnet Synchronous Motor.
SymbolParameterValue
n p Number of Pole Pairs4
J Moment of Inertia 0.0018   kg m 2
R s Stator Resistance 2.3   Ω
L s Stator Inductance12.8 mH
ω N Rated Speed3000 rpm
T N Rated Torque10 N·m
I N Rated Current4 A
P N Rated Power1.5 KW
V d c DC Voltage540 V
Table 3. Parameters of the Fractional-order PI controller.
Table 3. Parameters of the Fractional-order PI controller.
Proportion (Kp)Integration (Ki)Integral Order (λ)
4070000.92
Table 4. Experimental Results of Harmonic Analysis in the Current Loop under 3 N·m load.
Table 4. Experimental Results of Harmonic Analysis in the Current Loop under 3 N·m load.
Control Strategy5th and 7th Harmonic Content11th and 13th Harmonic ContentTHD (%)
FO-PI6.01%, 3.71%2.31%, 1.39%8.93%
FO-ADRC3.24%, 2.22%1.35%, 1.12%6.32%
FO-DOB2.67%, 1.80%1.17%, 0.97%5.91%
RC-PDOB0.32%, 0.27%0.21%, 0.14%4.85%
Table 5. Experimental Results of Harmonic Analysis in the Current Loop under rated load.
Table 5. Experimental Results of Harmonic Analysis in the Current Loop under rated load.
Control Strategy5th and 7th Harmonic Content11th and 13th Harmonic ContentTHD (%)
FO-PI2.45%, 2.47%1.80%, 1.21%5.10%
FO-ADRC1.51%, 1.61%1.11%, 0.71%3.79%
FO-DOB1.33%, 1.42%0.99%, 0.58%3.60%
RC-PDOB0.13%, 0.05%0.12%, 0.17%2.47%
Table 6. Experimental Results of Harmonic Analysis under Parameter Mismatch Conditions.
Table 6. Experimental Results of Harmonic Analysis under Parameter Mismatch Conditions.
Control Strategy5th and 7th Harmonic Content11th and 13th Harmonic ContentTHD (%)
FO-PI6.93%, 4.60%2.90%, 1.17%11.18%
FO-ADRC3.95%, 2.68%1.77%, 1.39%8.51%
FO-DOB3.14%, 1.95%1.46%, 1.03%7.82%
RC-PDOB0.17%, 0.15%0.22%, 0.11%4.11%
Table 7. THD values for four control methods under different working conditions.
Table 7. THD values for four control methods under different working conditions.
ConditionFO-PIFO-ADRCFO-DOBRC-PDOB
5 N·m, 150 r/min, L = Ls8.93%6.32%5.91%4.85%
10 N·m, 150 r/min, L = Ls5.10%3.79%3.60%2.47%
5 N·m, 150 r/min, L = 70%Ls11.18%8.51%7.82%4.11%
Disclaimer/Publisher’s Note: The statements, opinions and data contained in all publications are solely those of the individual author(s) and contributor(s) and not of MDPI and/or the editor(s). MDPI and/or the editor(s) disclaim responsibility for any injury to people or property resulting from any ideas, methods, instructions or products referred to in the content.

Share and Cite

MDPI and ACS Style

Jin, J.; Guo, L.; Lu, W. Current Loop Decoupling and Disturbance Rejection for PMSM Based on a Resonant Control Periodic Disturbance Observer. Appl. Sci. 2025, 15, 9469. https://doi.org/10.3390/app15179469

AMA Style

Jin J, Guo L, Lu W. Current Loop Decoupling and Disturbance Rejection for PMSM Based on a Resonant Control Periodic Disturbance Observer. Applied Sciences. 2025; 15(17):9469. https://doi.org/10.3390/app15179469

Chicago/Turabian Style

Jin, Jiawei, Liang Guo, and Wenqi Lu. 2025. "Current Loop Decoupling and Disturbance Rejection for PMSM Based on a Resonant Control Periodic Disturbance Observer" Applied Sciences 15, no. 17: 9469. https://doi.org/10.3390/app15179469

APA Style

Jin, J., Guo, L., & Lu, W. (2025). Current Loop Decoupling and Disturbance Rejection for PMSM Based on a Resonant Control Periodic Disturbance Observer. Applied Sciences, 15(17), 9469. https://doi.org/10.3390/app15179469

Note that from the first issue of 2016, this journal uses article numbers instead of page numbers. See further details here.

Article Metrics

Back to TopTop