An Overview of Analog and Digital RF Generator Techniques, Suitable for Space-Based AOTF Applications
Abstract
1. Introduction
2. AOTF Working Principle
3. RF Generator Requirements
4. Space-Qualified RF Generator Techniques
4.1. Integrated PLL Design
4.2. DDS Inside an FPGA
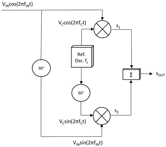
4.3. SSB Mixing
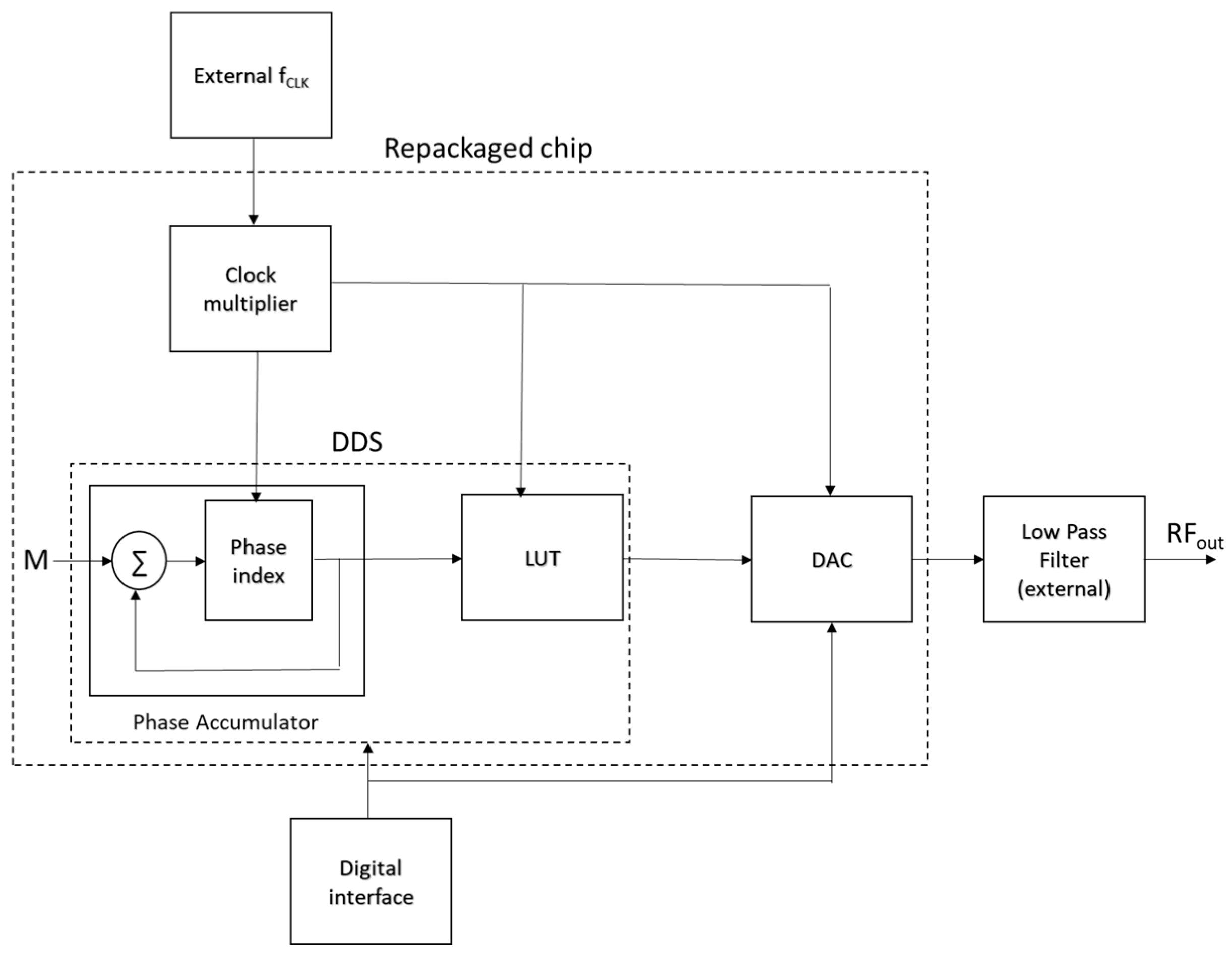
4.4. DDS and DAC Chip Repackaging
4.5. ASIC
5. Discussion and Future Work
Funding
Institutional Review Board Statement
Data Availability Statement
Acknowledgments
Conflicts of Interest
Abbreviations
| AI | Artificial Intelligence |
| AOTF | Acousto-Optical Tunable Filter |
| ASIC | Application-Specific Integrated Circuit |
| COTS | Commercial-Off-The-Shelf |
| DAC | Digital-to-Analog Convertor |
| DDS | Direct Digital Synthesis |
| DE | Diffraction Efficiency |
| ECSS | European Cooperation for Space Standardization |
| FPGA | Field Programmable Field Array |
| GaN | Gallium Nitride |
| KDP | potassium–dihydrogen–phosphate |
| LPF | Low-Pass Filter |
| LSB | Lower Side Band |
| LUT | Lock-Up Table |
| NIR | Near-Infrared |
| PCB | Printed Circuit Board |
| PFD | Phase-Frequency Detector |
| PLL | Phase-Locked-Loop |
| RF | Radio Frequency |
| SSB | Single Side Band |
| TeO2 | Tellurium-Dioxide |
| UART | Universal Asynchronous Receiver-Transmitter |
| USB | Upper Side Band |
| UV | Ultra-Violet |
| VCO | Voltage-Controlled Oscillator |
| VIS | Visible |
References
- Mortensen, A.N.; Dyer, S.A.; Hammaker, R.M.; Fateley, W.G. A Hadamard-multiplexed spectrometer based on an Acousto-Optic Tunable Filter. IEEE Trans. Instrum. Meas. 1996, 45, 394–398. [Google Scholar] [CrossRef]
- Takahashi, H.; Masuda, C.; Gotoh, Y.; Koyama, J. Laser diode interferometer for vibration and sound pressure measurements. IEEE Trans. Instrum. Meas. 1989, 38, 584–587. [Google Scholar] [CrossRef]
- Vanhamel, J.; Dekemper, E.; Berkenbosch, S.; Clairquin, R. Novel Acousto-Optical Tunable Filter (AOTF) Based Spectropolarimeter for the Characterization of Auroral Emission. Instrum. Sci. Technol. 2021, 49, 245–257. [Google Scholar] [CrossRef]
- Errera, Q.; Dekemper, E.; Baker, N.; Debosscher, J.; Demoulin, P.; Mateshvili, N.; Pieroux, D.; Vanhellemont, F.; Fussen, D. On the capability of the future ALTIUS ultraviolet-visible-near-infrared limb sounder to constrain modelled stratospheric ozone. Atmos. Meas. Technol. 2021, 14, 4737–4753. [Google Scholar] [CrossRef]
- Gogoi, P.K.; Sharma, A.; Vanhamel, J.; Loicq, J. Investigating the Bounds of Quality Factor for Class-E Series-Tuned RF Power Amplifiers and Their Computer-Aided Optimization. Appl. Sci. 2024, 14, 11881. [Google Scholar] [CrossRef]
- Evdokimova, D.; Fedorova, A.; Ignatiev, N.; Korablev, O.; Montmessin, F.; Bertaux, J.-L. Near-Surface Water Vapor Content Based on SPICAV IR/VEx Observations in the 1.1 and 1.18 μm Transparency Windows of Venus. Atmosphere 2025, 16, 726. [Google Scholar] [CrossRef]
- Mantsevich, S.N.; Kostyleva, E.I.; Yushkov, K.B.; Molchanov, V.Y. Experimental observation of reflected acoustic beam tilting with temperature in quasi-collinear acousto-optic filters. Appl. Acoust. 2025, 233, 110632. [Google Scholar] [CrossRef]
- Dekemper, E.; Vanhamel, J.; Kastelik, J.-C.; Pereira, N.; Bolsée, D.; Cessateur, G.; Lamy, H.; Fussen, D. New AOTF-based instrumental concepts for atmospheric science. In Proceedings of the SPIE, Fourteenth School on Acousto-Optics and Applications, Torun, Poland, 24–27 June 2019. [Google Scholar]
- Xu, J.; Stroud, R. Acousto-Optic Devices: Principles, Design and Applications; Wiley: New York, NY, USA, 1992. [Google Scholar]
- Evdokimova, D.; Fedorova, A.; Ignatiev, N.; Zharikova, M.; Korablev, O.; Montmessin, F.; Bertaux, J.L. Cloud Opacity Variations from Nighttime Observations in Venus Transparency Windows. Atmosphere 2025, 16, 572. [Google Scholar] [CrossRef]
- Kim, S.; Jeong, T.-I.; Taylor, R.A.; Kyhm, K.; Kim, Y.-J.; Kim, S. Interleaved frequency comb by chip-scale acousto-optic phase modulation at polydimethylsiloxane for higher-resolution direct plasmonic comb spectroscopy. PhotoniX 2025, 6, 12. [Google Scholar] [CrossRef]
- Dekemper, E. Development of an AOTF-Based Hyperspectral Imager for Atmospheric Remote Sensing. Ph.D. Thesis, UCL, Louvain-la-Neuve, Belgium, 2014. [Google Scholar]
- Sun, S.; Zhao, H.; Guo, Q.; Wang, Y. Spatial-Dependent Spectral Response of Acousto-Optic Tunable Filters with Inhomogeneous Acoustic Distribution. Materials 2024, 17, 4537. [Google Scholar] [CrossRef]
- Vanhamel, J.; Dekemper, E.; Voloshinov, V.B.; Neefs, E.; Fussen, D. Electrical Bandwidth Testing of an AOTF Transducer as a Function of the Optical Diffraction Efficiency. J. Opt. Soc. Am. A Opt. Image Sci. Vis. 2019, 36, 1361–1366. [Google Scholar] [CrossRef] [PubMed]
- Yano, T.; Watanabe, A. Acoustooptic TeO2 tunable filter using faroff-axis anisotropic Bragg diffraction. Appl. Opt. 1976, 15, 2250–2258. [Google Scholar] [CrossRef]
- Goutzoulis, A.P.; Pape, D.R. Design of Acousto-Optic Deflectors, in Design and Fabrication of Acousto-Optic Devices; Marcel Dekker: New York, NY, USA; Basel, Switzerland; Hong Kong, China, 1994; pp. 69–122. [Google Scholar]
- Gupta, N.; Voloshinov, V.B. Development and characterization of two-transducer imaging acousto-optic tunable filters with extended tuning range. Appl. Opt. 2007, 46, 1081–1088. [Google Scholar] [CrossRef] [PubMed]
- Li, J.; Gui, Y.; Xu, R.; Zhang, Z.; Liu, W.; Lv, G.; Wang, M.; Li, C.; He, Z. Applications of AOTF Spectrometers in In Situ Lunar Measurements. Materials 2021, 14, 3454. [Google Scholar] [CrossRef]
- Prasad, N.S.; Trivedi, S.B.; Amarasinghe, P.; Jin, F.; Distler, M.; Kim, J.S.; Diener, H. Space Qualification Studies of AOTF Devices Under the MISSE-11 Mission. In Proceedings of the Proceedings Volume 12864, Solid State Lasers XXXIII: Technology and Devices, San Francisco, CA, USA, 27 January–1 February 2024. [Google Scholar]
- Korablev, O.I.; Trokhimovskiy, A.Y.; Kalinnikov, Y.K. AOTF spectrometers in space missions and their imaging capabilities. In Proceedings of the SPIE, Volume 10562, International Conference on Space Optics—ICSO 2016, 105621M, Biarritz, France, 18–21 October 2016. [Google Scholar]
- Vanhamel, J.; Berkenbosch, S.; Dekemper, E.; Leroux, P.; Neefs, E.; Van Lil, E. Testing of a possible RF-generator for a space based AOTF application in the frame of an ESA space mission. In Proceedings of the 2017 XXXIInd General Assembly and Scientific Symposium of the International Union of Radio Science (URSI GASS), Montreal, QC, Canada, 19–26 August 2017. [Google Scholar]
- Dekemper, E.; Fussen, D.; Van Opstal, B.; Vanhamel, J.; Pieroux, D.; Vanhellemont, F.; Mateshvili, N.; Franssens, G.; Voloshionv, V.; Janssen, C.; et al. ALTIUS: A Spaceborne AOTF-based UV-VIS-NIR Hyperspectral Imager for Atmospheric Remote Sensing. In Proceedings of the SPIE, Amsterdam, The Netherlands, 22–25 September 2014. [Google Scholar]
- Dekemper, E.; Vanhamel, J.; Van Opstal, B.; Fussen, D. The AOTF-based NO2 camera. Atmos. Meas. Technol. 2016, 9, 6025–6034. [Google Scholar] [CrossRef]
- Fussen, D.; Baker, N.; Debosscher, J.; Dekemper, E.; Demoulin, P.; Errera, Q.; Franssens, G.; Mateshvili, N.; Pereira, N.; Pieroux, D.; et al. The ALTIUS atmospheric limb sounder. J. Quant. Spectrosc. Radiat. Transf. 2019, 238, 106542. [Google Scholar] [CrossRef]
- Korablev, O.I.; Belyaev, D.A.; Dobrolenskiy, Y.S.; Trokhimovskiy, A.Y.; Kalinnikov, Y.K. Acousto-optic tunable filter spectrometers in space missions [invited]. Appl. Opt. 2018, 57, 119. [Google Scholar] [CrossRef]
- Mestice, M.; Neri, B.; Ciarpi, G.; Saponara, S. Analysis and Design of Integrated Blocks for a 6.25 GHz Spacefibre PLL. Sensors 2020, 20, 4013. [Google Scholar] [CrossRef]
- Texas Instruments, LMX2694. Available online: https://www.ti.com/product/LMX2694-EP (accessed on 16 March 2025).
- Nevejans, D.; Neefs, E.; Van Ransbeeck, E.; Berkenbosch, S.; Clairquin, R.; De Vos, L.; Moelans, W.; Glorieux, S.; Baeke, A.; Korablev, O.; et al. Compact high-resolution spaceborne echelle grating spectrometer with acousto-optical tunable filter based order sorting for the infrared domain from 2.2 to 4.3 μm. Appl. Opt. 2006, 45, 5191–5206. [Google Scholar] [CrossRef] [PubMed]
- Neefs, E.; Vandaele, A.C.; Drummond, R.; Thomas, I.R.; Berkenbosch, S.; Clairquin, R.; Delanoye, S.; Ristic, B.; Maes, J.; Bonnewijn, S.; et al. NOMAD spectrometer on the ExoMars trace gas orbiter mission: Part 1—Design, manufacturing and testing of the infrared channels. Appl. Opt. 2015, 54, 8494–8520. [Google Scholar] [CrossRef]
- Aranda, L.A.; Garcia-Herrero, F.; Esteban, L.; Sánchez-Macián, A.; Maestro, J.A. Radiation Hardened Digital Direct Synthesizer With CORDIC for Spaceborne Applications. IEEE 2020, 8, 83167–83176. [Google Scholar] [CrossRef]
- Analog Devices, Fundamentals of Direct Digital Synthesis (DDS), Tutorial MT-085. Available online: https://www.analog.com/media/en/training-seminars/tutorials/MT-085.pdf (accessed on 15 December 2024).
- Goldberg, B.G. Digital Frequency Synthesis Demystified; LLH Technology Publishing: Eagle Rock, VA, USA, 1999. [Google Scholar]
- Texas Instruments, DAC5675A-SP Radiation-Tolerant, 14-Bit, 400-MSPS Digital-to-Analog Converter. Available online: https://www.ti.com/lit/ds/symlink/dac5675a-sp.pdf (accessed on 16 January 2025).
- Xilinx, Virtex-4 Family Overview. Available online: https://www.xilinx.com/support/documentation/data_sheets/ds112.pdf (accessed on 15 January 2025).
- Microchip, RTAX™ Radiation-Tolerant FPGAs. Available online: https://www.microchip.com/en-us/products/fpgas-and-plds/radiation-tolerant-fpgas/rtax-s (accessed on 10 February 2025).
- Microchip, RTG4TM Radiation-Tolerant FPGAs. Available online: https://www.microchip.com/en-us/products/fpgas-and-plds/radiation-tolerant-fpgas/rtg4-radiation-tolerant-fpgas (accessed on 10 February 2025).
- NanoXplore, SoC FPGAs for Space. Available online: https://www.nanoxplore.com (accessed on 1 March 2025).
- Analog Devices, AD8001S. Available online: https://www.analog.com/en/products/ad8001s.html#product-overview (accessed on 5 March 2025).
- Beasley, J.S.; Miller, G.M. Modern Electronic Communication, 9th ed.; Pearson Prentice Hall: Upper Saddle River, NJ, USA; Columbus, OH, USA, 2008. [Google Scholar]
- Counselman, C.C.; Hinteregger, H.F. Digital single sideband mixer. IEEE 1973, 61, 478–479. [Google Scholar] [CrossRef]
- Liu, D.; Hu, A.; Zhang, K. A Quadrature Single Side-Band Mixer with Passive Negative Resistance in Software-Defined Frequency Synthesizer. Sensors 2018, 18, 3455. [Google Scholar] [CrossRef] [PubMed]
- Vanhamel, J.; Fussen, D.; Dekemper, E.; Neefs, E.; Van Opstal, B.; Pieroux, D.; Maes, J.; Van Lil, E.; Leroux, P. RF-driving of acoustic-optical tunable filters; design, realization and qualification of analog and digital modules for ESA. Microelectron. Reliab. 2015, 55, 2103–2107. [Google Scholar] [CrossRef]
- Aguirre, F.; Schatzel, D. High density packaging technologies for RF electronics in small spacecraft. In Proceedings of the IEEE Aerospace Conference Proceedings, Big Sky, MT, USA, 4–11 March 2017. [Google Scholar]
- Analog Devices, AD9912. Available online: https://www.analog.com/en/products/ad9912.html (accessed on 15 March 2025).
- Analog Devices, AD9957. Available online: https://www.analog.com/en/products/ad9957.html (accessed on 15 March 2025).
- McCluskey, P.; Mensah, K.; O’Conner, C.; Gallo, A. Reliable Use of Commercial Technology in High Temperature Environments. Microelectron. Reliab. 2000, 40, 1671–1678. [Google Scholar] [CrossRef]
- Waltham, N.; Morrissey, Q.; Clapp, M.; Bell, S.; Jones, L.; Torbet, M. The Design and Development of Low- and High-Voltage ASICs for Space-Borne CCD Cameras. CEAS Space J. 2017, 9, 517–529. [Google Scholar] [CrossRef]
- Sordo-Ibanez, S.; Pinero-Garcia, B.; Munoz-Diaz, M.; Ragel-Morales, A.; Ceballos-Caceres, J.; Carranza-Gonzaez, L.; Espejo-Meana, S.; Arias-Drake, A.; Ramos-Martos, J.; Mora-Gutiérrez, J.M.; et al. A Front-End ASIC for a 3-D Magnetometer for Space Applications by Using Anisotropic Magnetoresistors. IEEE Trans. Magn. 2015, 51, 1–4. [Google Scholar] [CrossRef]
- Gandola, M.; Grassi, M.; Mele, F.; Bertuccio, G.; Malcovati, P. Mixed-Signal ASICs for X- and γ-Ray Spectroscopy in Space Applications. In Proceedings of the 26th IEEE International Conference on Electronics, Circuits and Systems (ICECS), Genoa, Italy, 27–29 November 2019. [Google Scholar]
- Barr, K.E. ASIC Design in the Silicon Sandbox, a Complete Guide to Building Mixed-Signal Integrated Circuits; McGraw-Hill Education: New York, NY, USA, 2006. [Google Scholar]












| General Requirements | Value | Unit |
|---|---|---|
| Unwanted spectral component suppression | <−30 | dB |
| Accuracy | 1 | kHz |
| Resolution | 5 | kHz |
| Long term stability (10 s) | 5 | kHz |
| Stabilization time | <5 | ms |
| Output power uncertainty | 1 | mW |
| Nominal load | 50 | Ohm |
| Output power level | > 0 | dBm |
| Specific Requirements (Optical Domain Specific) | Value | Unit |
|---|---|---|
| Frequency range (VIS domain) | 60–120 | MHz |
| Power level (VIS domain) | 0.3 | W |
| Frequency range (NIR domain) | 45–90 | MHz |
| Power level (NIR domain) | 0.3 | W |
| Frequency range (UV domain) | 125–250 | MHz |
| Power level (UV domain) | 3 | W |
| RF Generator Technique | Type |
|---|---|
| Integrated PLL design | Analog |
| DDS inside an FPGA | Digital |
| SSB mixing | Analog |
| DDS and DAC chip repackaging | Digital |
| ASIC | Digital |
| RF Generation Technique | Advantages | Disadvantages |
|---|---|---|
| Integrated PLL design |
|
|
| DDS inside an FPGA |
|
|
| SSB mixing |
|
|
| DDS and DAC chip repackaging |
|
|
| ASIC |
|
|
Disclaimer/Publisher’s Note: The statements, opinions and data contained in all publications are solely those of the individual author(s) and contributor(s) and not of MDPI and/or the editor(s). MDPI and/or the editor(s) disclaim responsibility for any injury to people or property resulting from any ideas, methods, instructions or products referred to in the content. |
© 2025 by the author. Licensee MDPI, Basel, Switzerland. This article is an open access article distributed under the terms and conditions of the Creative Commons Attribution (CC BY) license (https://creativecommons.org/licenses/by/4.0/).
Share and Cite
Vanhamel, J. An Overview of Analog and Digital RF Generator Techniques, Suitable for Space-Based AOTF Applications. Appl. Sci. 2025, 15, 8739. https://doi.org/10.3390/app15158739
Vanhamel J. An Overview of Analog and Digital RF Generator Techniques, Suitable for Space-Based AOTF Applications. Applied Sciences. 2025; 15(15):8739. https://doi.org/10.3390/app15158739
Chicago/Turabian StyleVanhamel, Jurgen. 2025. "An Overview of Analog and Digital RF Generator Techniques, Suitable for Space-Based AOTF Applications" Applied Sciences 15, no. 15: 8739. https://doi.org/10.3390/app15158739
APA StyleVanhamel, J. (2025). An Overview of Analog and Digital RF Generator Techniques, Suitable for Space-Based AOTF Applications. Applied Sciences, 15(15), 8739. https://doi.org/10.3390/app15158739

