Next Article in Journal
PPDD: Egocentric Crack Segmentation in the Port Pavement with Deep Learning-Based Methods
Previous Article in Journal
The Development of an Optimized Impact Pad for a Six-Strand Tundish Using CFD Simulations
 
 
Font Type:
Arial Georgia Verdana
Font Size:
Aa Aa Aa
Line Spacing:
Column Width:
Background:
Article

Structural Behaviour of Concrete Deep Beams Reinforced with Aluminium Alloy Bars

Department of Civil Engineering, Kilis 7 Aralık University, 79000 Kilis, Turkey
Appl. Sci. 2025, 15(10), 5453; https://doi.org/10.3390/app15105453
Submission received: 19 March 2025 / Revised: 6 May 2025 / Accepted: 11 May 2025 / Published: 13 May 2025
(This article belongs to the Section Civil Engineering)

Abstract

Aluminium alloy (AA) bars have emerged in structural engineering applications mainly to reduce deterioration caused by corrosion. However, research on AA-reinforced concrete (RC) beams has been limited, despite RC beams reinforced with AA bars providing a study area with great potential. Therefore, this study mainly aims to investigate the behaviour of AA RC deep beams. The investigated parameters include concrete strength, tension reinforcement ratio, beam size, a/d ratio, and transverse reinforcement ratio, most of which have not yet been thoroughly studied. A finite element (FE) model was developed to obtain accurate predictions. The developed FE model predicted the actual load-bearing capacity with a mean value of 1.00. The findings indicated a clear trend in which shear force capacity increased from 124.1 to 181.4 kN with increasing concrete compressive strength from 20 to 40 MPa. A strong relationship between the reinforcement ratio and failure mode was obtained. The shear strength decreased from 2.95 to 2.1 MPa as the effective depth increased from 175 to 350 mm. An increase in transverse reinforcement ratio instigated an enhancement in shear force capacity. Finally, the applicability of the design models in the current literature was evaluated. The design formulations gave accurate predictions with an error of 3%.

1. Introduction

Conventional steel bars are commonly employed in concrete structures because of their great strength and ductility. Steel bars are nevertheless susceptible to corrosion that can instigate the deterioration of reinforced concrete (RC) beams in the long term [1,2,3,4]. Substitute materials, including non-metallic bars (i.e., fibre-reinforced polymer (FRP) bars), have gained significant attention in recent years since they can stop the reduction of RC beam strength [5,6,7,8]. Although FRP bars have excellent mechanical and physical properties (e.g., corrosion resistance and high strength-to-low weight ratio) [9,10,11,12], unlike metallic bars, FRP bars do not exhibit ductile behaviour with linear-elastic behaviour up to failure [4,11]. This can lead to brittle failure in RC beams, raising concerns about energy absorption [13]. AA (aluminium alloy) bars are particularly superior to steel bars in terms of corrosion resistance and superior to FRP bars in terms of initial cost and ductility [4,13,14,15]. These characteristics can provide an alternative to using FRP and steel bars in RC beams [4,13,14,15]. Another alternative to steel bars is stainless steel; however, the cost of stainless steel is significantly higher than carbon steel [4,16,17]. The main advantage of the AA bar is corrosion resistance, which is provided by a thin, invisible oxide that appears once it has been exposed to the atmosphere [4]. Coating systems have also been used to improve the corrosion resistance of AA materials [18]. Recent research has examined the mechanical properties of aluminium alloys (AA), such as tensile strength and elastic modulus [4,19,20,21,22]. For example, the tensile strengths, strains corresponding to tensile strengths, and the elastic moduli of AA bars reported by Xing and Ozbulut [4] varied from 344.1 to 378.9 MPa, 2.05 to 2.84%, and 67.7 to 68.3 GPa, respectively. Al-Furjan et al. [19] also reported that the tensile strength, elastic modulus, and elongation of AA material varied from 555.69 to 681.86 MPa, 70.69 to 82.26 GPa, and 3.49% to 10.06%, respectively. These investigations have indicated that AA materials reveal a stress–strain curve which is distinct from both FRP and steel materials. The stress–strain curve is characterised by a low elastic modulus and yield plateau, which can directly contribute to energy absorption and ductility in RC beams. All these counted advantages instigated the use of AA materials in structural engineering applications such as the strengthening of existing RC beams, bridge construction, large span roofing, and wall systems [23,24,25,26,27,28,29,30,31]. However, the usage area has been limited to strengthening when the bar form is considered [23,27,28,29,30,31]. Regardless of its advantages, the behaviour of RC beams reinforced with AA bars has remained underexplored. For instance, only one experimental study exploring the behaviour of RC deep (shear span-to-effective depth (a/d) ratio less than 2.5 [32]) beams reinforced with AA bars was conducted by Xing and Ozbulut [4] based on the author’s knowledge. The experimental programme carried out by Xing and Ozbulut [4] included both AA-- and steel-reinforced concrete beams. The investigated main parameters were tension reinforcement ratio and concrete compression strength. It was reported that even if the specimens’ concrete strengths vary, the increase in the reinforcement ratio is primarily responsible for the significant increases in the specimens’ strength and stiffness. Further investigations are therefore needed. A nonlinear finite element (FE) model based on the Disturbed Stress Field Model (DSFM) [33], which is an upgraded form of the Modified Compression Field Theory (MCFT) [34], has not yet been developed to examine the behaviour of AA RC beams. This would be useful since conducting experimental studies is difficult due to their high cost. However, carrying out numerical studies with verified experimental tests can reduce the cost and time. The aim of this paper is to investigate the shear behaviour of AA RC deep beams. The objectives of this research are as follows: (1) to investigate effects of concrete strength, tension reinforcement ratio, beam size, a/d ratio, and transverse reinforcement ratio; (2) to create an FE model to predict and understand the behaviour of AA RC beams; and (3) to evaluate and investigate applicability of the existing design model developed for deep beams reinforced with conventional steel bars. By studying all these, this paper contributes new knowledge to the literature on AA RC deep beams, which is a great potential area for research.

2. Analysis of AA RC Beams

A nonlinear FE model was developed to predict and understand the behaviour of concrete beams reinforced with AA bars. The experimental programme conducted by Xing and Ozbulut [4] consisted of concrete beams reinforced in longitudinal and transverse directions with AA bars. These beams were used to validate the developed FE model. In this study, VecTor2 software [35] was utilised. As mentioned previously, this software is built on the DSFM [33], which is an improved form of the MCFT [34]. The main reasons for utilising DSFM in VecTor2 software are as follows:
  • For RC members with a low-tension reinforcement ratio, MCFT overestimates the shear force capacity [34]. This situation is ascribed to a rotational lag between the orientations of principal stress and strain in these members, where crack shear slip deformations are vital [34].
  • MCFT can underestimate the shear force capacities of over-reinforced concrete members where principal stress and strain are not allowed to fully rotate [33,35]. A smeared delayed rotating crack model therefore emerged in the DSFM, and this can be used in VecTor2 [35].
The software generates a reliable and effective nonlinear solution that predicts the behaviour of RC members subject to in-plane normal and shear stresses by using an iterative secant stiffness algorithm with incremental total load [35].

2.1. Description of Specimens

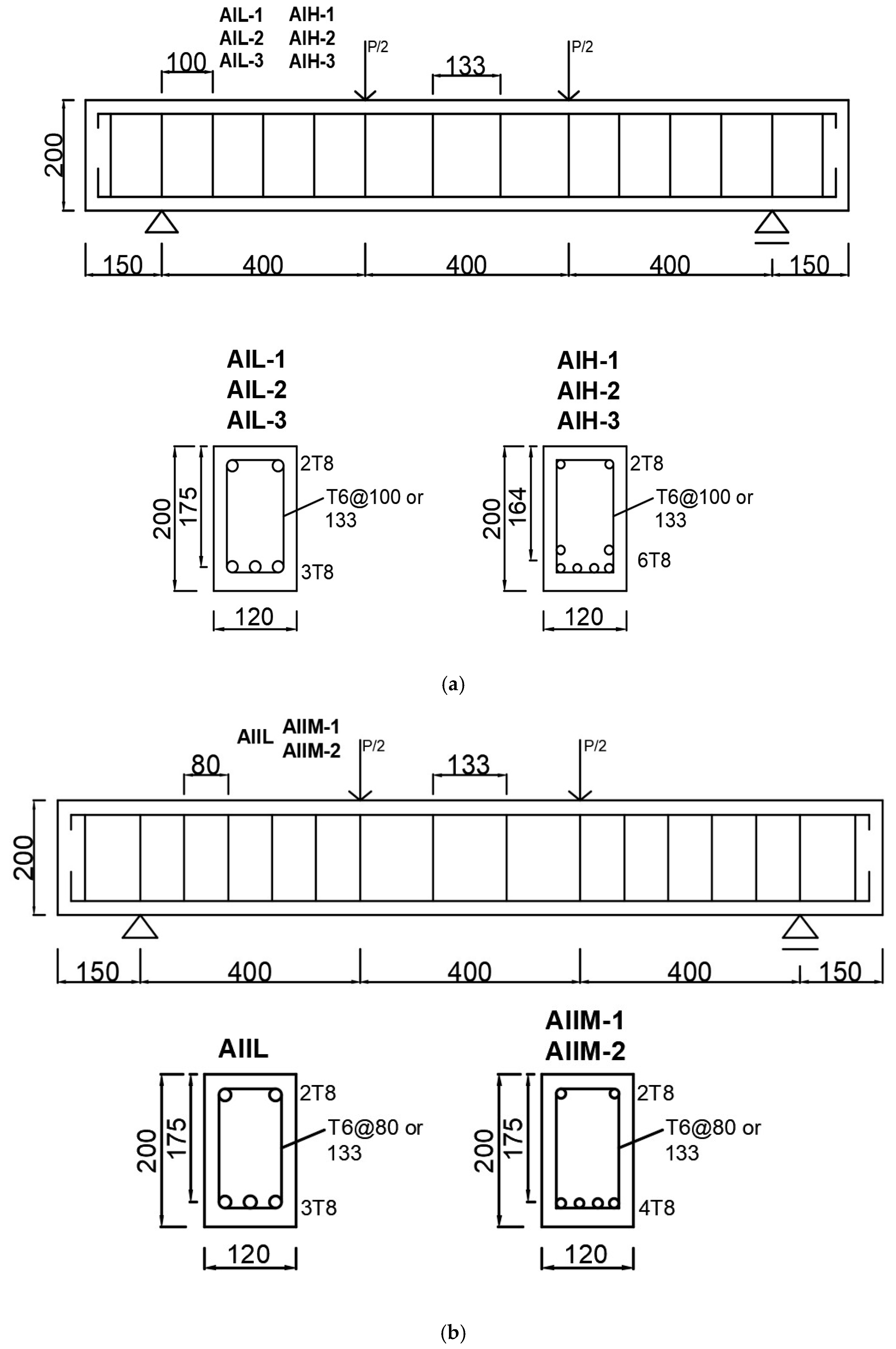
All beams tested by Xing and Ozbulut [4] had the same cross-sectional dimensions. Each beam had a width of 120 mm (mm) and height of 200 mm. The effective depth of each beam was either 175 mm or 164 mm, which indicated that the a/d ratio was either about 2.28 or 2.44. The beams can hence be classified as deep beams [32]. As can be seen in Figure 1, the total length of each beam was 1500 mm and subjected to four-point bending. The tested AA beams had a three-part designation [4]. The first part (A) indicates that the beam was reinforced with AA bars. The second part (I or II) represents the group number. The last part refers to the tension reinforcement ratio (low, medium, and high). The number (1 or 2 or 3) at the end denotes the number of repeated tests with different concrete compression strengths. For example, the designation of AIL-1 and AIL-3 refers to AA RC beams with low tension reinforcement ratios (0.72%) included in the first group. The concrete strength of the beams was 22.6 MPa and 24.3 MPa, respectively. The experimental programme consisted of two series. Each series includes beams with different tension reinforcement ratios ((100% * As)/(bw * d), where As is the area of tension reinforcement, bw and d are the width and effective depth of the beam) and AA shear link spacing (see Figure 1). The first group consisted of the AA RC deep beams with low- and high-tension reinforcement ratios (0.72% and 1.53%). The beams had either three or six 8 mm diameter AA bars in the tension zone and had two 8 mm diameter AA bars in the compression zone. The 6 mm diameter AA shear links were used at a space of 100 mm and 133 mm at shear span and midspan, respectively. The second group involved beams with low and medium tension reinforcement ratios (0.72% and 0.96%). The beams also had two 8 mm diameter AA bars in the compression zone, with either four or three 8 mm diameter AA bars were used as tension reinforcement. The shear reinforcement configuration of these beams was identical to the beams in the first group but with 6 mm diameter AA shear links at a space of 80 mm at the shear span. The geometrical details on AA-reinforced concrete beams tested by Xing and Ozbulut [4] are depicted in Figure 1.
The average concrete compressive strengths of AIL-1, AIH-2, and AIH-3 based on the cube specimen results were 22.6 MPa. The remaining beams in the first group, AIL-2, AIL-3, and AIH-1, had an average concrete compressive strength of 24.3 MPa. The beams in the second group, namely AIIM-1, AIIM-2, and AIIL, had an average concrete compressive strength of 48.5 MPa, 40.8 MPa, and 40.8 MPa, respectively. It should be noted that concrete compressive tests were conducted on three 150 mm * 150 mm * 150 mm cubes which were taken during casting concrete of each specimen [4]. The 6 and 8 mm diameter AA bars had a yield strength of 314.2 and 362.1 MPa, respectively. Their ultimate strengths were 344.1 and 378.9 MPa, respectively. The elastic moduli of the 6 and 8 mm diameter AA bars were 67,700 and 68,300 MPa, respectively. Table 1 also summarises the material properties [4].

2.2. FE Model

The default models proposed by VecTor2 software [35] were used to develop a FE model, whose details are given in subsections.

2.2.1. Material Model

The Hognestad parabola [36] is the default model in VecTor2 software [35] for determining concrete compression pre-peak (ascending branch) behaviour. It is also recommended for normal concrete strengths (i.e., less than 40 MPa). The stress–strain relation for the pre-peak behaviour of concrete in compression is given by Equation (1).
f c i = f p 2 Ɛ c i Ɛ p Ɛ c i Ɛ p 2
where fci (MPa) represents the concrete compressive stress at a given strain Ɛci (mm/mm); fp (MPa) is the peak concrete cylinder compressive strength and Ɛp (mm/mm) is the corresponding strain.
The stress–strain curve of a modified Park–Kent model [35], which was modified by Scott et al. [37], was used to define the post-peak (descending branch) behaviour of concrete in compression.
As can be seen in Figure 2, the descending branch linearly reaches a fifth of concrete compression stress. The relation between stress and strain for the post-peak behaviour of concrete in compression is given in Equation (2).
f c i = f p + Z m f p Ɛ c i Ɛ p   o r   0.2 f p
where Zm is given by Equation (3).
Z m = 0.5 3 + 0.29 f c 145 f c 1000 Ɛ 0 0.002 + f l a t 170 0.9 + Ɛ p
where fc is the concrete cylinder compressive strength, Ɛ0 is the concrete compressive strain corresponding to fc, and flat is the sum of the principal stresses (i.e., fc1 + fc2 + fc3 − fci ≤ 0, i = 1 or 2) acting in a direction opposite to the one being considered [35].
The default model of Model A in VecTor2 proposed by Vecchio and Collins [38] for concrete compression softening was used. The compression softening model is described in Equations (4)–(8).
  β d = 1 1 + C s   C d 1
C d = 0 if   r < 0.28 0.35 ( r 0.28 ) 0.80 if   r > 0.28
r = Ɛ c 1 Ɛ c 2   400
C s = 0 if   shear   slip   not   considered   0.55 if   shear   slip   considered
f p = β d f c   a n d   ε p k = β d ε 0
where βd is the reduction factor for the concrete compressive strength (fc) and its corresponding strain (Ɛ0). Ɛc1 and Ɛc2 are the principal tensile and compressive strains, respectively. Cd is the strain softening factor, and Cs is the shear slip factor.
The default model of the bilinear tension softening model in VecTor2 software was used. This model was adapted from the CEB-FIP Model Code [39] by the software. The stress–strain model for 6 and 8 mm diameter AA bars had three phases. The first phase was linear-elastic behaviour up to the yield strength of 6 or 8 mm diameter AA bars, which was given in Section 2.1 (see Table 1). This was followed by the second phase, which consisted of a yield plateau until the start of nonlinear strain hardening. The third phase ended with the rupture of AA bars.

2.2.2. Geometrical Details of FE Model

A plane stress rectangle element which had four nodes was used to define concrete. This element had a total of eight degrees of freedom (i.e., two degrees of freedom at each node). A truss element which had two nodes was used to simulate AA bars. This element also had two degrees of freedom at each node. Figure 3 depicts the typical FE model, which involved elements for concrete and AA bars. The bond between the AA bars and concrete was assumed to be perfect since the failure mode of the AA RC beams was not governed by bonding. The localised slip between AA bars and concrete is still possible. However, as the comparison of the experimental and numerical results shows, this has no effect on the overall behaviour (see Section 3.1). This approach has also been successfully implemented on concrete beams reinforced with both steel and FRP [12,40,41,42,43]. Many research studies have proved that the structural behaviour of beams can be accurately estimated with a perfect bond assumption as long as the failure mode was not governed by the bond failure [12,40,41,42,43]. The mesh size of 20 mm in each direction was used for plane stress rectangle elements in the FE model by taking into account the maximum aggregate size of 10 mm. The mesh size considered in this study was based on the previous studies, which suggested that the mesh size could be two or three times the maximum aggregate size [10,44].

2.3. Solution

The software uses a method of iterative secant stiffness to create an effective nonlinear solution [35]. In this study, an incremental displacement of 0.1 mm was used to simulate experimental loading. The solution was successfully converged in each displacement step.

3. Results and Discussion

3.1. Validation

The experimental study conducted by Xing and Ozbulut [4] and described in Section 2.1 was validated by the developed FE model, which was also detailed in Section 2.2. Table 2 gives the experimental results in terms of load capacity (PExp.) at failure and its deflection (δExp.) at mid-span, which were compared to those (PFE and δFE) predicted by the FE model. It should be noted that some of tests were repeated to provide reliability [4]. For example, the AIL-2 specimen was the same as the specimen of AIL-3, and the AIH-2 specimen was the same as the AIH-3 specimen. These beams were hereinafter considered as one beam for FE validations. As reported in Table 2, the FE model which was created to simulate the behaviour of AA RC beams predicted the actual load-bearing capacity with a mean value of 1.00. The standard deviation was also a relatively smaller value of 0.05. A high correlation would mean the FE model could be reliable for predicting the behaviour under the tested conditions. The deflection response of FE-modelled beams was also in good correlation with that of tested beams (see Figure 4). As previously mentioned, the experimental programme was the only one in the published literature based on the author’s knowledge. Hence, the experimental results reported by Xing and Ozbulut [4] were able to validate against the proposed FE model.
Figure 4 demonstrates the relation between load–deflection curves obtained from physical tests carried out by Xing and Ozbulut [4] and the simulated load–deflection curves from the developed FE model. As can be seen in Figure 4, the experimental curve (black) and FE curve (blue) have similar initial slopes, meaning that uncracked stiffness, which directly depends on the parameters (i.e., cross-sectional dimensions, elastic modulus, and boundary conditions), was accurately simulated. After the development of cracks, both experimental and FE-simulated curves became nonlinear. Even though there were slight deviations near peak load and in the post-peak response, these were relatively small. Overall, the FE model provided a good correlation with the experimental data.
The comparison between crack patterns at failure observed during the physical tests conducted by Xing and Ozbulut [4] and those obtained from FE analyses is given in Figure 5. It should be noted that the crack patterns of all beams were not reported; hence, all beams would not be able to be compared. As can be seen in Figure 5, AIIM-1 failed in flexure, as evidenced by the cracks being concentrated in the centre and some branching outward, similar to the simulation. AIH-1 also failed in flexure, and had apparent damage, with crushed concrete in the concrete compression zone. The more apparent shear cracks at failure were observed during physical testing rather than FE simulation. The FE simulation and the physical test indicate a good agreement in terms of crack location and orientation at failure. The FE model captures crack propagation patterns reasonably well, though the crack paths of physical testing are slightly more irregular. All FE-simulated beams failed in flexure. The specimen AIH-3 exhibited shear-compression failure during the tests [4]. However, the simulated specimen of AIH-3 failed in flexure with a short plateau in the load–deflection curve, crushing concrete at the compression zone and developing shear cracks at the shear spans.
The load–strain response of tension reinforcement obtained from both physical tests and FE analysis for specimens for AIIL and AIIM-1 is depicted in Figure 6. Of note is that this comparison was not applicable to all specimens since the strain values for all the beams were not reported. Similar to load–deflection curves, both curves exhibit a similar initial linear behaviour, indicating good agreement in the elastic range (i.e., up to around 0.2% strain), as shown in Figure 6. This indicates that the FE model successfully produces the uncracked stiffness, which is critical for validating the factors (e.g., material properties, boundary conditions). The experimental and FE-simulated curves of AIIL reached a yield plateau at around 40–45 kN, where the tension reinforcement starts to yield. This value for AIIM-1 was around 60–63 kN. After yielding, the experimental and FE-simulated curves transitioned into a plateau region where the load remained relatively constant as strain increased. The overall agreement in both the pre- and post-yield regions was quite good. This agreement also demonstrates that the FE model adequately captures both the tensile yielding of the reinforcement and any secondary effects, such as concrete cracking or bond-slip behaviour.

3.2. Parametric Study

Physical testing can be expensive and time-consuming. A validated FE model can therefore reduce the number of required prototypes and physical tests. The validated FE model described in the preceding sections hereinafter serves as the tool to investigate the effects of parameters on the shear behaviour.

3.2.1. Concrete Strength

It is well known that the shear strength is directly influenced by the concrete compression strength. The effect of concrete compressive strength on the shear behaviour of AA RC beams was investigated by considering the concrete cylinder compressive strengths of 20, 30, and 40 MPa. To avoid flexural failure, four 14 mm diameter AA bars were used as both tension and compression reinforcement, as shown in Figure 7. Moreover, shear reinforcement consisted of 4 mm diameter AA bars at spaces of 100 mm and 133 mm at shear span and midspan, respectively. All beams had an a/d ratio of 2.28.
Three beams with identical physical and mechanical properties but with different concrete strengths of 20, 30, and 40 MPa were numerically tested. All beams failed in terms of shear. The AA RC beam with 20 MPa concrete strength failed at a shear force of 124.1 kN. The beams with 30 and 40 MPa concrete strengths failed at shear forces of 156.8 and 181.4 kN, respectively. Figure 8 illustrates the relationship between concrete compressive strength (ranging from 20 MPa to 40 MPa) and the corresponding shear force capacity of numerically tested beams. The results indicated a clear trend in which shear force capacity increased with concrete compressive strength, confirming that higher compressive strength enhanced the beam’s resistance to shear-induced cracking and failure.
To compare AA bars with steel bars, the experimental results on RC deep beams reinforced with steel bars reported by Clark [45] were included in Figure 9. The included specimens had an a/d ratio of 2 and concrete compression strengths of 23 and 42 MPa. Two AA RC deep beams, which had the same a/d ratios and concrete compression strengths, were also numerically modelled for a fair comparison. Figure 9 compares RC deep beams reinforced with steel bars to AA RC deep beams. The relationship between the normalised shear stress and concrete compression strength is given in Figure 9 for RC beams reinforced with both steel [45] and AA bars. Normalised shear stress is given in Equation (9).
N o r m a l i s e d   S h e a r   s t r e s s = V b w d f c
where V is the shear force capacity at failure, bw and d are the width and effective depth of the beam, respectively, and fc is the concrete compression strength.
The normalised shear stress for both RC deep beams reinforced with AA and steel bars increased from 0.71 to 0.74, with increasing concrete strength from 23 to 42 MPa. This demonstrated that AA and steel-RC deep beams had comparable behaviour once concrete compression strength increased or decreased. This result suggests that AA bars are preferable due to their corrosion resistance. It should be noted that the stiffness of RC deep beams reinforced with steel bars can be higher than those reinforced with AA bars due to the lower elastic modulus of AA bars (approximately 70 GPa compared to 200 GPa for steel).

3.2.2. Tension Reinforcement Ratio

The ratio of tension reinforcement plays a critical role in governing the flexural capacity, ductility, and failure mode of reinforced concrete beams. The effect of the tension reinforcement ratio was investigated by taking into account different tension reinforcement ratios ranging from 0.5% to 6%. The produced beams for numerical analysis had the same dimensions, a compression reinforcement of four 14 mm diameter AA bars, and a shear reinforcement of 4 mm diameter AA bars spaced at a distance of 100 mm and 133 mm at shear span and midspan, respectively, but had different tension reinforcement ratios (from 0.5 to 6%) (see Figure 10). The concrete compression strength was taken to be 20 MPa for all numerically tested beams. All beams had an a/d ratio of 2.28. Figure 10 shows the relationship between the tension reinforcement ratio and the ratio of moment at failure (Mu) to flexural capacity (Md). AA RC beams with low tension reinforcement ratios (less than 1.5%) indicated Mu/Md ratios close to 1. This is typical for the flexural failure of beams, where failure is governed by the yielding of the AA bars, enabling the redistribution of stresses and enhanced energy dissipation. The failure mode was changed once the Mu/Md was less than 1. It can be understood as a transition from ductile to brittle behaviour without warning before failure and with limited plastic redistribution. The failure mode and structural response of AA RC beams were exhibited to be altered by both an increase and a decrease in the tension reinforcement ratio, suggesting a strong relationship between the reinforcement ratio and failure mode.

3.2.3. Size Effect

The size effect in RC structures refers to the tendency for the shear strength (V/(bw * d)) to decrease as effective depth increases [46]. Because brittle shear failures are more prone to occur in deep and large-scale beams, the size effect becomes especially important for these elements [46,47,48,49]. Three beams—small, medium, and large scale—were considered to examine this effect (see Figure 11). The beams had widths of 120, 172, and 240 mm and effective depths of 175, 250, and 350 mm. All dimensions of the small-scale beam were multiplied by about 1.43 and 2. The reinforcement ratios of tension, compression, and shear were kept constant for all beams. All other parameters, such as material properties (e.g., a concrete strength of 20 MPa) and the a/d ratio, were also kept constant.
Figure 12 represents the inverse correlation between shear strength (MPa) and effective depth (mm) for numerically tested beams described above. The inverse relationship was indicated by the decreased shear strength as the effective depth increases. The shear strengths for beams with effective depths of 175, 250, and 350 mm were 2.95, 2.47, and 2.1 MPa, respectively. The shear strength decreased from 2.95 MPa to 2.1 MPa as the effective depth increased from 175 mm to 350 mm. This is consistent with the well-known shear behaviour of RC beams, where large-scale cross-sections tend to carry lower shear stresses [46,47,48,49,50]. For example, one study [51], which included RC deep beams reinforced with steel bars, showed that shear strength loss was 26% with doubling beam dimensions. In this study, the shear stress decreased by about 28.8% when the beam size doubled. This can show the size effect in AA RC beams that can be comparable to steel-RC beams. When the corrosion resistance of AA bars is considered, AA RC beams are superior to RC beams reinforced with steel bars.

3.2.4. a/d Ratio

To be able to investigate the effect of the a/d ratio, a total of six AA RC beams were numerically tested. The tested parameters of the a/d ratio varied from 1.14 to 3.43, indicating that both deep and slender beams were examined. All beams had the same identical properties, such as cross-sectional dimensions, material properties, and loading conditions, but had different a/d ratios (see Figure 13). Both tension and compression reinforcement consisted of four 14 mm diameter AA bars, and shear reinforcement consisted of 4 mm diameter AA bars at a space of 100 mm. The concrete strength was 20 MPa for all numerically tested beams. The examined shear spans (a) were 200, 250, 350, 400, 500, and 600 mm, which resulted in varied a/d ratios from 1.14 to 3.43.
The scatter plot of Figure 14 effectively illustrates the relationship between shear force (kN) and the a/d ratio. The inverse correlation, which was obtained from a parametric study conducted by FE analyses, was aligned with the fundamental shear mechanism in RC beams [32], where increasing the a/d ratio typically instigated a reduction in shear force capacity because of the transition from a shear to a flexure failure mode. The AA beam with an a/d ratio of 1.14 failed at a shear force of 104.4 kN. This shear strength capacity afterwards decreased with an increasing a/d ratio of 3.43. As can be seen in Figure 14, the shear force capacity decreased by up to 43.9 kN. The findings support and are similar to the general shear mechanism in RC beams reinforced with steel or FRP bars [12,32,52].
Figure 15 compares AA RC beams presented in this study with steel-RC beams tested by Kani [46] and Oh and Shin [53] in terms of the effect of the a/d ratio. As can be seen in Figure 15, the variation of shear stress with an a/d ratio for AA beams is identical to those of RC beams reinforced with steel bars. The shear stress decreased from 4.97 MPa to 2.09 MPa with the a/d ratio increasing from 1.14 to 3.43. A similar trend was also observed in steel-RC beams. For example, the shear stress decreased from 7.68 MPa to 1.37 MPa with an increase in the a/d ratio from 1 to 4 for the beams tested by Kani [46]. The identical response in variation of shear stress with an a/d ratio for AA and steel-RC beams was consequently observed. AA RC beams can provide better performance in corrosive conditions.

3.2.5. Transverse Reinforcement Ratio

The effect of transverse reinforcement ratio, in other words, shear reinforcement ratio ((100% * Aw)/(bw * s), where Aw is the area of AA shear reinforcement and s is the spacing between AA shear links), was investigated by changing the diameter of AA shear links. This effect was examined in two series of beams with different tension reinforcement ratios. As shown in Figure 16, the first and second series of beams had a tension reinforcement ratio of 2.93% and 5.98%, respectively, which were obtained by considering four 14 and 20 mm diameter AA bars as tension reinforcement. The remaining parameters, such as material properties, loading conditions, mesh size, and the a/d ratio in both series, were kept constant, as depicted in Figure 16.
Figure 17 displays the relationship between the transverse reinforcement ratio (%) and the shear force (kN) for two different tension reinforcement ratios, which are 2.93% and 5.98%. This relationship in both series showed a trend that explained that a higher transverse reinforcement ratio contributes to greater shear strength. The enhanced shear strength can be explained by the improved confinement and crack control provided by AA shear links. An increase in transverse reinforcement ratio from 0.12% to 0.84% instigated an enhancement in shear force capacity from 55.6 kN to 76 kN and from 62.2 kN to 83 kN for the beams with a tension reinforcement ratio of 2.93% and 5.98%, respectively.
It is well known that truss action is less effective in RC deep beams where shear force is transferred by direct compression [32]. As can be seen in Figure 17, shear force capacity slightly increases when the transverse reinforcement ratio is higher than 0.5%. This can be attributable to the fact that the failure is governed by the crushing concrete when the transverse reinforcement ratio reaches certain ratio [53,54,55]. Moreover, the results presented in Figure 17 were also compared with the results reported by Oh and Shin [53] and Smith and Vantsiotis [54,55] for RC deep beams reinforced with steel bars. According to Figure 18, the behaviour of AA RC deep beams against an increase in transverse reinforcement is identical to RC deep beams reinforced with steel bars. The increase in transverse reinforcement in both AA and steel-RC beams can increase the shear force capacity up to the certain capacity where concrete crushing starts [55]. It should be noted that the tested RC deep beams by Oh and Shin [53] had an a/d ratio of 2, whereas the beams tested by Smith and Vantsiotis [54] had an a/d ratio of 0.77. AA bars can be considered as alternatives to steel bars when corrosion is a concern since the behaviour of AA RC beams with increasing transverse reinforcement ratios was similar to that of conventional RC beams, as shown in Figure 18.

4. Design Models

When designing RC deep beams where arc action predominates and beam action does not apply, one can use a strut-and-tie model. This section aims to evaluate the analytical design model [56] in the published literature, together with ACI 318 [57] predictions.
ACI 318 [57] provides design guidelines for deep beams where traditional beam theory does not apply, since the acting load is in a direct transfer to the support through direct compression. The shear strength of the deep beam is calculated by Equation (10) according to the ACI 318 design code [57].
V u = F n s s i n Ǿ
where Fns, the compressive strength of a strut, is given in Equation (10). Ǿ is the angle of the diagonal strut (assumed to be 25°). The strut angle assumption is 25° based on the ACI 318 design code [57]. The accurate predictions were obtained with this assumption
F n s = f c e A c s
where Acs is the cross-section area of at the end of strut. fce can be calculated by Equation (12).
f c e = 0.85 β c β s f c  
The analytical model, considering transverse reinforcement to predict the shear strength capacity of deep beams, was developed by Mau and Hsu [56]. The predicted shear strength, which is limited by less than 0.3 * fc, is considered with Equation (13).
v u = 0.5 f c K w h + 0.03 + K 2 w h + 0.03 2 + 4 w h + 0.03 w v + 0.03
w h = p h f y h f c 0.26 w v = p v f y v f c 0.12
where ph and pv are the horizontal and transverse reinforcement ratios, respectively. fyh and fyv are the yield strengths of horizontal and transverse reinforcement, respectively.
K = 2 d v h 0 < a h 0.5 d v h h a 4 3 2 a 3 h 0.5 < a h 2 0 a h 2
where dv is the effective shear depth, which can be calculated to be d – d′, and d′ is the distance between the centre of compression reinforcement and top of the beam.
The numerically tested AA RC beams, which are identical to the beams that were physically tested by Xing and Ozbulut [4], are given in Table 3. The beams reported in Table 3 failed in terms of shear. The shear force capacities predicted by both the design model of ACI 318 [57] and the design equation proposed by Mau and Hsu [56] were given in Table 4. The reproduced beams by the FE model had shear force capacities in a range from 55.6 kN to 176.7 kN, with different physical and mechanical properties, as shown in Table 4. The design code of ACI 318 [57] predicted the shear force capacities of beams with an error of 3%. The standard deviation was 0.19. It should be noted that a safety factor of 0.75 was considered as recommended by ACI 318 [57]. Similarly, the proposed design model by Mau and Hsu [56] predicted well with an error of 3% but better accuracy with a standard deviation of 0.12. The design model developed by Mau and Hsu [56] for beams reinforced with steel bars offers a more balanced approach and can be adapted to AA RC beams. The 3% error remained consistent across the specimens, with a/d ratios between 1.14 and 2.44, tension reinforcement ratios from 2.15% to 5.99%, and transverse reinforcement ratios from 0.12% to 0.84%. Further studies are recommended to verify the accuracy for other AA deep beam configurations. Both models were originally developed for RC deep beams. Due to the lower elastic modulus of AA bars (approximately 70 GPa compared to 200 GPa for steel), the stiffness of struts in strut-and-tie models may be reduced, possibly influencing prediction accuracy for beams with larger a/d ratios. The design model based on truss analogy can be developed for AA RC slender beams after the required number of specimens are tested.

5. Conclusions

This study provides the first comprehensive FE-based analysis of AA RC deep beams. The experimental findings in the existing literature were employed to validate the FE model. The validated FE model gave the opportunity to conduct further parametric studies. The applicability and accuracy of the design models originally developed for deep beams reinforced with steel bars were evaluated for AA RC beams. The following findings can be drawn based on this paper:
  • The FE model based on the theoretical background of DSFM [33], which is a developed form of the MCFT [34], was built for AA RC beams. The FE model accurately reproduces the experimental results reported by Xing and Ozbulut [4] with a mean value of 1.00. The FE model can be utilised for the further design of AA RC deep beams.
  • The findings indicated a clear trend in which shear force capacity increased with concrete compressive strength, confirming that higher compressive strength enhanced the resistance of AA RC beams to shear-induced cracking and failure. The shear force capacity increased from 124.1 kN to 181.4 kN, with increasing concrete compression strength from 20 MPa to 40 MPa.
  • The failure mode and structural response of AA RC beams were exhibited to be altered by both an increase and a decrease in the tension reinforcement ratio, suggesting a strong relationship between the reinforcement ratio and failure mode.
  • The findings on the effect of beam size designated that there was an inverse relationship between shear strength and the effective depth. The shear strength decreased from 2.95 MPa to 2.1 MPa as the effective depth increased from 175 mm to 350 mm.
  • The inverse correlation between the shear force and a/d ratio was also obtained. A reduction in the a/d ratio from 3.43 to 1.14 instigated an increase in shear force from 43.9 kN to 104.4 kN. This was also aligned with the fundamental shear mechanism in RC beams [32], where increasing the a/d ratio typically instigated a reduction in shear force capacity because of the transition from a shear to a flexure failure mode.
  • An increase in transverse reinforcement ratio from 0.12% to 0.84% instigated an enhancement in shear force capacity from 55.6 kN to 76 kN and from 62.2 kN to 83 kN for the AA RC deep beams with a tension reinforcement ratio of 2.93% and 5.98%, respectively.
  • Both the design code of ACI 318 [57] and the design model developed by Mau and Hsu [56] predicted the shear force capacities of AA RC deep beams accurately, with an error of 3%. The standard deviations were 0.19 and 0.12, respectively. The design model developed by Mau and Hsu [56] for beams reinforced with steel bars offers a more balanced approach and can be adapted to AA RC beams. Further validation against experimental data is required to confirm its broader applicability.
  • Xing and Ozbulut’s [4] research examining AA RC deep beams was limited. Therefore, this study has provided insight into further investigations on AA RC beams. The main advantage of AA bars is corrosion resistance, and this property can also be improved by considering coating applications. For instance, AA bars offer an alternative to steel bars in situations where RC structures are exposed to a corrosive environment. Moreover, the behaviour of AA RC beams was found to be similar to that of RC beams reinforced with steel bars in the cases where the main parameters affected the structural behaviour, such as concrete strength, size, a/d ratio, and transverse reinforcement ratio. AA bars can also act as an alternative to FRP bars when ductility is needed. Furthermore, the initial cost of FRP bars can be high [4,13,14,15]. It should be noted that further experimental studies are required to understand the full-scale behaviour of AA RC in both deep and slender beams. The bond behaviour can also be improved by coating applications and examined by conducting bond-slip tests.

Funding

This research received no external funding.

Institutional Review Board Statement

Not applicable.

Informed Consent Statement

Not applicable.

Data Availability Statement

The raw data supporting the conclusions of this article will be made available by the author on request.

Conflicts of Interest

The author declares no conflicts of interest.

References

  1. Dirar, S.; Lees, J.M.; Morley, C.T. Precracked RC T-beams repaired in shear with prestressed CFRP straps. ACI Struct. J. 2013, 110, 855–866. [Google Scholar]
  2. Issa, M.S.; Metwally, I.M.; Elzeiny, S.M. Influence of fibers on flexural behavior and ductility of concrete beams reinforced with GFRP rebars. Eng. Struct. 2011, 33, 1754–1763. [Google Scholar] [CrossRef]
  3. Sogut, K.; Dirar, S.; Theofanous, M.; Faramarzi, A.; Nayak, A.N. Effect of transverse and longitudinal reinforcement ratios on the behaviour of RC T-beams shear strengthened with embedded FRP BARS. Compos. Struct. 2021, 262, 113622. [Google Scholar] [CrossRef]
  4. Xing, G.; Ozbulut, O.E. Flexural performance of concrete beams reinforced with aluminum alloy bars. Eng. Struct. 2016, 126, 53–67. [Google Scholar] [CrossRef]
  5. Teng, J.G.; Chen, J.F.; Smith, S.T.; Lam, L. Behaviour and strength of FRP strengthened RC structures: A State-of-the-art Review. Proc. Inst. Civ. Eng.—Struct. Build. 2003, 156, 51–62. [Google Scholar] [CrossRef]
  6. Pešić, N.; Pilakoutas, K. Concrete beams with externally bonded flexural FRP reinforcement: Analytical investigation of debonding Failure. Compos. Part B Eng. 2003, 34, 327–338. [Google Scholar] [CrossRef]
  7. Wu, H.C.; Eamon, C.D. Strengthening of Concrete Structures Using Fiber Reinforced Polymers (FRP): Design, Construction and Practical Applications; Woodhead Publishing: Sawston, UK, 2017. [Google Scholar]
  8. Abbood, I.S.; Odaa, S.A.; Hasan, K.F.; Jasim, M.A. Properties evaluation of fiber reinforced polymers and their constituent materials used in structures—A review. Mater. Today Proc. 2021, 43, 1003–1008. [Google Scholar] [CrossRef]
  9. Triantafillou, T.C. Shear strengthening of reinforced concrete beams using epoxy bonded FRP composites. ACI Struct. J. 1998, 95, 107–115. [Google Scholar]
  10. Dirar, S.; Caro, M.; Sogut, K.; Quinn, A. Experimental behaviour, FE modelling and design of large-scale reinforced concrete deep beams shear-strengthened with embedded fibre reinforced polymer bars. Structures 2024, 67, 106938. [Google Scholar] [CrossRef]
  11. Caro, M.; Dirar, S.; Quinn, A.; Yapa, H. Shear strengthening of existing reinforced concrete beams with embedded bars—An overview. Proc. Inst. Civ. Eng.—Struct. Build. 2023, 176, 439–452. [Google Scholar] [CrossRef]
  12. Dirar, S.; Sogut, K.; Caro, M.; Rahman, R.; Theofanous, M.; Faramarzi, A. Effect of shear span-to-effective depth ratio and FRP material type on the behaviour of RC T-beams strengthened in shear with embedded FRP bars. Eng. Struct. 2025, 332, 120105. [Google Scholar] [CrossRef]
  13. Renic, T.; Kišicek, T. Ductility of Concrete Beams Reinforced with FRP Rebars. Buildings 2021, 11, 424. [Google Scholar] [CrossRef]
  14. Ahmed, E.A.; Benmokrane, B.; Sansfaçon, M. Design, construction, and performance of the La Chancelière Parking Garage’s concrete flat slabs reinforced with GFRP bars. J. Compos. Constr. 2017, 21, 05016001. [Google Scholar] [CrossRef]
  15. Attia, M.M.; Olwan, M.M.; Amoush, E.; Aamer, S.R.R.H.A.; Eita, M.A. Behavior of hybrid natural fiber reinforced polymers bars under uniaxial tensile strength and pull-out loads with UHPC. Case Stud. Constr. Mater. 2024, 21, e03442. [Google Scholar] [CrossRef]
  16. Castro, H.; Rodríguez, C.; Belzunce, F.J.; Canteli, A.F. Mechanical properties and corrosion behaviour of stainless steel reinforcing bars. J. Mater. Process. Technol. 2003, 143–144, 134–137. [Google Scholar] [CrossRef]
  17. García-Alonso, M.C.; Escudero, M.L.; Miranda, J.M.; Vega, M.I.; Capilla, F.; Correia, M.J.; Salta, M.; Bennani, A.; González, J.A. Corrosion behaviour of new stainless steels reinforcing bars embedded in concrete. Cem. Concr. Res. 2007, 37, 1463–1471. [Google Scholar] [CrossRef]
  18. Merisalu, M.; Aarik, L.; Kozlova, J.; Mändar, H.; Tarre, A.; Sammelselg, V. Effective corrosion protection of aluminum alloy AA2024-T3 with novel thin nanostructured oxide coating. Surf. Coat. Technol. 2021, 411, 126993. [Google Scholar] [CrossRef]
  19. Al-Furjan, M.S.H.; Hajmohammad, M.H.; Shen, X.; Rajak, D.K.; Kolahchi, R. Evaluation of tensile strength and elastic modulus of 7075-T6 aluminum alloy by adding SiC reinforcing particles using vortex casting method. J. Alloys Compd. 2021, 886, 161261. [Google Scholar] [CrossRef]
  20. Christudasjustus, J.; Larimian, T.; Esquivel, J.; Gupta, S.; Darwish, A.A.; Borkar, T.; Gupta, R.K. Aluminum alloys with high elastic modulus. Mater. Lett. 2022, 320, 132292. [Google Scholar] [CrossRef]
  21. Kaufman, J.G. Properties of Aluminum Alloys: Fatigue Data and the Effects of Temperature, Product Form, and Processing; ASM International: Materials Park, OH, USA, 2008. [Google Scholar]
  22. Amirtharaj, J.; Mariappan, M. Exploring the potential uses of aluminium metal matrix composites (AMMCs) as alternatives to steel bar in Reinforced Concrete (RC) structures-A state of art review. J. Build. Eng. 2023, 80, 108085. [Google Scholar] [CrossRef]
  23. You, X.; Xing, Z.; Jiang, S.; Zhu, Y.; Lin, Y.; Qiu, H.; Nie, R.; Yang, J.; Hui, D.; Chen, W.; et al. A review of research on aluminum alloy materials in structural engineering. Dev. Built Environ. 2024, 17, 100319. [Google Scholar] [CrossRef]
  24. Chen, Z.; Xu, W.; Zhou, J. Mechanical performance of marine concrete filled CFRP-aluminum alloy tube columns under axial compression: Experiment and finite element analysis. Eng. Struct. 2022, 272, 114993. [Google Scholar] [CrossRef]
  25. Montuori, R.; Nastri, E.; Piluso, V.; Pisapia, A. Ultimate behaviour of aluminium alloy I-beams: New experimental tests and European codification. Thin-Walled Struct. 2023, 191, 111038. [Google Scholar] [CrossRef]
  26. Wen, Q.; Ren, Z. Structural analysis of a large aluminum alloy truss double-arch bridge. Structures 2021, 29, 924–936. [Google Scholar] [CrossRef]
  27. Xing, G.; Chang, Z.; Ozbulut, O.E. Behavior and failure modes of reinforced concrete beams strengthened with NSM GFRP or aluminum alloy bars. Struct. Concr. 2018, 19, 1023–1035. [Google Scholar] [CrossRef]
  28. Xing, G.; Chang, Z.; Ozbulut, O.E. Feasibility of using aluminum alloy bars as near-surface mounted reinforcement for flexural strengthening of reinforced concrete beams. Struct. Concr. 2020, 21, 1557–1576. [Google Scholar] [CrossRef]
  29. Xing, G.; Al-Dhabyani, M.A.; Al-Shakhada, N.A.; Li, X. Experimental and numerical investigations on the behavior and failure mechanism of RC beams strengthened with near-surface mounted high-strength aluminum alloy bars. J. Struct. Eng. 2021, 147, 04021208. [Google Scholar] [CrossRef]
  30. Xing, G.H.; Chen, X.; Huang, J.; Zhang, Y.; Ozbulut, O.E.; Chang, Z.-Q. Reinforced concrete beams strengthened in flexure with near-surface mounted 7075 aluminum alloy bars. J. Struct. Eng. 2022, 148, 04021242. [Google Scholar] [CrossRef]
  31. Wang, H.; Xing, G.; Zhao, J.; Wen, F. Seismic behavior of RC columns strengthened with near-surface-mounted aluminum alloy bars and CFRP wraps. Eng. Struct. 2022, 268, 114742. [Google Scholar] [CrossRef]
  32. Kani, G.N.J. The riddle of shear failure and its solution. ACI J. Proc. 1964, 61, 441–468. [Google Scholar]
  33. Vecchio, F.J. Disturbed stress field model for reinforced concrete: Formulation. ASCE J. Struct. Eng. 2000, 126, 1070–1077. [Google Scholar] [CrossRef]
  34. Vecchio, F.J.; Collins, M.P. The modified compression field theory for reinforced concrete elements subjected to shear. ACI Struct. J. 1986, 83, 219–231. [Google Scholar]
  35. Wong, P.S.; Vecchio, F.J.; Trommels, H. VecTor2 & FormWorks User’s Manual, 2nd ed.; University of Toronto: Toronto, ON, Canada, 2013. [Google Scholar]
  36. Hognestad, E.; Hanson, N.W.; McHenry, D. Concrete stress distribution in ultimate stress design. ACI J. 1955, 27, 455–479. [Google Scholar]
  37. Scott, B.D.; Park, R.; Priestley, M.J.N. Stress-strain behavior of concrete confined by overlapping hoops at low and high strain rates. ACI J. 1982, 79, 13–27. [Google Scholar]
  38. Vecchio, F.J.; Collins, M.P. Compression response of cracked reinforced concrete. ASCE J. Struct. Eng. 1993, 119, 3590–3610. [Google Scholar] [CrossRef]
  39. CEB-FIP. CEB-FIP Model Code 1990; Thomas Telford Services Ltd.: London, UK, 1993. [Google Scholar]
  40. Qapo, M.; Dirar, S.; Jemaa, Y. Finite element parametric study of reinforced concrete beams shear-strengthened with embedded FRP bars. Compos. Struct. 2016, 149, 93–105. [Google Scholar] [CrossRef]
  41. Godat, A.; Chaallal, O.; Neale, K.W. Nonlinear finite element models for the embedded through-section FRP shear-strengthening method. Comput. Struct. 2013, 119, 12–22. [Google Scholar] [CrossRef]
  42. Ibrahim, N.; Elkholy, S.; Godat, A.; El-Kholy, A. Implementation of modified compression field theory to simulate the behavior of fiber-reinforced polymer shear-strengthened reinforced concrete beams under monotonic loading. Buildings 2023, 13, 898. [Google Scholar] [CrossRef]
  43. Palermo, D.; Vecchio, F.J. Simulation of cyclically loaded concrete structures based on the finite-element method. J. Struct. Eng. 2007, 133, 728–738. [Google Scholar] [CrossRef]
  44. Bažant, Z.P.; Oh, B.H. Crack band theory for fracture of concrete. Matériaux Constr. 1983, 16, 155–177. [Google Scholar] [CrossRef]
  45. Clark, A.P. Diagonal tension in reinforced concrete beams. ACI J. 1951, 48, 145–156. [Google Scholar]
  46. Kani, G.N.J. How Safe are our large reinforced concrete beams? ACI J. Proc. 1967, 64, 128–141. [Google Scholar]
  47. Bažant, Z.P.; Kim, J.K. Size effect in shear failure of longitudinally reinforced beams. ACI J. Proc. 1984, 81, 456–468. [Google Scholar]
  48. Bažant, Z.P. Fracturing truss model: Size effect in shear failure of reinforced concrete. J. Eng. Mech. 1997, 123, 1276–1288. [Google Scholar] [CrossRef]
  49. Zhang, N.; Tan, K.H. Size effect in RC deep beams: Experimental investigation and STM verification. Eng. Struct. 2007, 29, 3241–3254. [Google Scholar] [CrossRef]
  50. Sogut, K.; Dirar, S.; Theofanous, M.; Faramarzi, A. Size Effect in Shear-Deficient Reinforced Concrete T-beams Strengthened with Embedded FRP Bars. In Proceedings of the 14th International Symposium on Fiber-Reinforced Polymer Reinforcement for Concrete Structures, (FRPRCS-14), Belfast, UK, 4–7 June 2019. [Google Scholar]
  51. Sogut, K. FRP Shear Strengthening of Concrete Beams. Ph.D. Thesis, University of Birmingham, Birmingham, UK, 2022. [Google Scholar]
  52. Tetta, Z.C.; Koutas, L.N.; Bournas, D.A. Shear strengthening of concrete members with TRM jackets: Effect of shear span-to-depth ratio, material and amount of external reinforcement. Compos. Part B Eng. 2018, 137, 184–201. [Google Scholar] [CrossRef]
  53. Oh, J.K.; Shin, S.W. Shear strength of reinforced high-strength concrete deep beams. ACI Struct. J. 2001, 98, 164–173. [Google Scholar]
  54. Smith, K.; Vantsiotis, A. Shear strength of deep beams. ACI J. Proc. 1982, 79, 201–213. [Google Scholar]
  55. Ismail, K.S. Shear Behaviour of Reinforced Concrete Deep Beams. Ph.D. Thesis, University of Sheffield, Sheffield, UK, 2016. [Google Scholar]
  56. Mau, S.T.; Hsu, T.T.C. Formula for the shear strength of deep beams. ACI Struct. J. 1989, 86, 516–523. [Google Scholar]
  57. ACI Committee 318. Building Code Requirements for Structural Concrete (ACI 318-19) and Commentary; American Concrete Institute: Farmington Hills, MI, USA, 2019. [Google Scholar]
Figure 1. The details of the AA reinforced concrete beams tested by Xing and Ozbulut [4]: (a) first group beams, (b) second group beams (all dimensions in mm).
Figure 1. The details of the AA reinforced concrete beams tested by Xing and Ozbulut [4]: (a) first group beams, (b) second group beams (all dimensions in mm).
Applsci 15 05453 g001
Figure 2. Post-peak concrete compression behaviour [35,37].
Figure 2. Post-peak concrete compression behaviour [35,37].
Applsci 15 05453 g002
Figure 3. The developed FE model.
Figure 3. The developed FE model.
Applsci 15 05453 g003
Figure 4. Experimental and FE-predicted load–deflection curves.
Figure 4. Experimental and FE-predicted load–deflection curves.
Applsci 15 05453 g004
Figure 5. Comparison of crack patterns at failure. (a) AIIM-1, FE-simulated; (b) AIIM-1, experimental observation [4]; (c) AIH-1, FE-simulated; (d) AIH-1, experimental observation [4].
Figure 5. Comparison of crack patterns at failure. (a) AIIM-1, FE-simulated; (b) AIIM-1, experimental observation [4]; (c) AIH-1, FE-simulated; (d) AIH-1, experimental observation [4].
Applsci 15 05453 g005
Figure 6. Comparison of strain values obtained from tension reinforcement.
Figure 6. Comparison of strain values obtained from tension reinforcement.
Applsci 15 05453 g006
Figure 7. Parametric study for concrete strength: (a) cross-section; (b) elevation.
Figure 7. Parametric study for concrete strength: (a) cross-section; (b) elevation.
Applsci 15 05453 g007
Figure 8. Effect of concrete compression strength.
Figure 8. Effect of concrete compression strength.
Applsci 15 05453 g008
Figure 9. Comparison of AA bars with steel bars [45].
Figure 9. Comparison of AA bars with steel bars [45].
Applsci 15 05453 g009
Figure 10. Effect of tension reinforcement ratio.
Figure 10. Effect of tension reinforcement ratio.
Applsci 15 05453 g010
Figure 11. Size effect.
Figure 11. Size effect.
Applsci 15 05453 g011
Figure 12. Shear strength versus effective depth.
Figure 12. Shear strength versus effective depth.
Applsci 15 05453 g012
Figure 13. Investigation of a/d ratio: (a) cross-section; (b) elevation.
Figure 13. Investigation of a/d ratio: (a) cross-section; (b) elevation.
Applsci 15 05453 g013
Figure 14. Effect of a/d ratio.
Figure 14. Effect of a/d ratio.
Applsci 15 05453 g014
Figure 15. Comparison of a/d ratio [46,53].
Figure 15. Comparison of a/d ratio [46,53].
Applsci 15 05453 g015
Figure 16. Examination transverse reinforcement: (a) cross-sections; (b) elevation.
Figure 16. Examination transverse reinforcement: (a) cross-sections; (b) elevation.
Applsci 15 05453 g016
Figure 17. Effect of transverse reinforcement ratio (%).
Figure 17. Effect of transverse reinforcement ratio (%).
Applsci 15 05453 g017
Figure 18. Comparison of transverse reinforcement ratio (%) [53,54].
Figure 18. Comparison of transverse reinforcement ratio (%) [53,54].
Applsci 15 05453 g018
Table 1. Material properties.
Table 1. Material properties.
Specimen [4]Concrete Strength (MPa) 6 mm AA bar8 mm AA bar
AIL-122.6Yield strength (MPa)314.2362.1
AIL-224.3Tensile strength (MPa)344.1378.9
AIL-324.3Elastic modulus (MPa)67,70068,300
AIH-124.3Strain corresponding 0.460.53
AIH-222.6to yield strength (%)
AIH-322.6Strain corresponding2.052.84
AIIM-148.5to tensile strength (%)
AIIM-240.8
AIIL40.8
Table 2. Comparison between experimental and FE results.
Table 2. Comparison between experimental and FE results.
SpecimenPExp. (kN)δExp. (mm)PFE (kN)δFE (mm)PFE/PExp
AIL-146.3≥1547.6≥151.03
AIL-350≥1847.7≥180.95
AIH-188≥3081.79.20.93
AIH-38612.680.410.40.93
AIIM-165.2≥2068.4≥201.05
AIIM-263.9≥2066.3≥201.04
AIIL50.4≥1552.7≥151.05
Mean1.00
Standard
Deviation
0.05
Table 3. Details of AA RC beams.
Table 3. Details of AA RC beams.
Specimenbw
(mm)
d
(mm)
h
(mm)
fc
(MPa)
As
(mm2)
Aw
(mm2)
s
(mm)
d′
(mm)
dv
(mm)
a
(mm)
a/dphpvfyh (MPa)fyv
(MPa)
ID-11201752002061625100251504002.292.930.21362.1314.2
ID-21201752003061625100251504002.292.930.21362.1314.2
ID-31201752004061625100251504002.292.930.21362.1314.2
ID-41201752002070725100251504002.293.370.21362.1314.2
ID-51201752002080425100251504002.293.830.21362.1314.2
ID-612017520020101825100251504002.294.850.21362.1314.2
ID-712017520020125725100251504002.295.980.21362.1314.2
ID-81201752002045225100251504002.292.150.21362.1314.2
ID-917225028620125657143362145722.292.920.23362.1314.2
ID-10240350400202463101200503008002.292.930.21362.1314.2
ID-111201752002061625100251502001.142.930.21362.1314.2
ID-121201752002061625100251502501.432.930.21362.1314.2
ID-131201752002061625100251503502.002.930.21362.1314.2
ID-141201752002061614100251504002.292.930.12362.1314.2
ID-151201752002061639100251504002.292.930.33362.1314.2
ID-161201752002061657100251504002.292.930.47362.1314.2
ID-171201752002061677100251504002.292.930.64362.1314.2
ID-1812017520020616101100251504002.292.930.84362.1314.2
ID-1912017520020125725100251504002.295.990.21362.1314.2
ID-2012017520020125714100251504002.295.990.12362.1314.2
ID-2112017520020125739100251504002.295.990.33362.1314.2
ID-2212017520020125757100251504002.295.990.47362.1314.2
ID-2312017520020125777100251504002.295.990.64362.1314.2
ID-24120175200201257101100251504002.295.990.84362.1314.2
Table 4. Comparison of design models.
Table 4. Comparison of design models.
SpecimenV, FE (kN)V, ACI318
(kN)
V, Mau and Hsu (kN)V, ACI318/V, FEV, Mau and Hsu/V, FE
ID-162.062.356.61.000.91
ID-278.493.477.21.190.98
ID-390.7124.697.41.371.07
ID-463.062.556.60.990.90
ID-563.962.656.60.980.89
ID-666.362.956.60.950.85
ID-767.563.256.60.940.84
ID-858.462.056.61.060.97
ID-9106.2132.7119.11.251.12
ID-10176.7249.2226.91.411.28
ID-11104.466.094.80.630.91
ID-1285.065.277.80.770.92
ID-1365.463.261.20.970.93
ID-1455.662.349.81.120.90
ID-1567.062.364.50.930.96
ID-1670.262.373.00.891.04
ID-1775.362.381.80.831.09
ID-1876.062.390.90.821.20
ID-1967.563.256.70.940.84
ID-2062.263.249.81.020.80
ID-2172.563.264.50.870.89
ID-2277.663.273.00.810.94
ID-2380.963.281.80.781.01
ID-2483.063.290.90.761.10
Mean =0.970.97
Standard Dev. =0.190.12
Disclaimer/Publisher’s Note: The statements, opinions and data contained in all publications are solely those of the individual author(s) and contributor(s) and not of MDPI and/or the editor(s). MDPI and/or the editor(s) disclaim responsibility for any injury to people or property resulting from any ideas, methods, instructions or products referred to in the content.

Share and Cite

MDPI and ACS Style

Sogut, K. Structural Behaviour of Concrete Deep Beams Reinforced with Aluminium Alloy Bars. Appl. Sci. 2025, 15, 5453. https://doi.org/10.3390/app15105453

AMA Style

Sogut K. Structural Behaviour of Concrete Deep Beams Reinforced with Aluminium Alloy Bars. Applied Sciences. 2025; 15(10):5453. https://doi.org/10.3390/app15105453

Chicago/Turabian Style

Sogut, Kagan. 2025. "Structural Behaviour of Concrete Deep Beams Reinforced with Aluminium Alloy Bars" Applied Sciences 15, no. 10: 5453. https://doi.org/10.3390/app15105453

APA Style

Sogut, K. (2025). Structural Behaviour of Concrete Deep Beams Reinforced with Aluminium Alloy Bars. Applied Sciences, 15(10), 5453. https://doi.org/10.3390/app15105453

Note that from the first issue of 2016, this journal uses article numbers instead of page numbers. See further details here.

Article Metrics

Back to TopTop