Charting the Growth of Text Summarisation: A Data-Driven Exploration of Research Trends and Technological Advancements
Abstract
1. Introduction
1.1. Survey of Surveys
1.2. Research Aim and Questions
- RQ1: How has research evolved in text summarisation over the past two decades?
- RQ2: Which authors, institutes, and countries are collaborating and contributing most in this field?
- RQ3: Which papers are deemed most important by researchers for exploring this field?
- RQ4: In which direction should researchers keep an eye for further research?
1.3. Key Contribution
- This work involves the collection, analysis, and representation of a comprehensive dataset of publications related to text summarisation research using an efficient bibliometric technique.
- This study examines contemporary review articles to pinpoint shortcomings in prior surveys and address their limitations, providing a meta-analytical viewpoint on research trends.
- It offers a comprehensive analysis of key papers, presenting a thorough overview of significant contributions, methodologies, key features, and Limitations of research.
- The study performs a thorough evaluation of extensively cited and contemporary publications, evaluating their impact and contribution to the advancement of research.
- This study offers practical insights derived from the results of the bibliometric analysis. These insights reveal emerging trends, unexplored areas, and critical issues for future investigation.
- This study serves as an essential resource for scholars, supporting them in traversing the dynamic domain of text summarisation research through the integration of bibliometric techniques with comprehension and critical evaluation.
2. Methodology
Data Collection
3. Analysis of Publication Structure
- The quantity of documents released between March 2004 and September 2024.
- Document types such as article and review article.
- Most prestigious publications sources.
- Artificial Intelligence, Electrical Engineering, Computer Science, and other fields are among the top research areas.
- The leading nations and areas.
- Graphs showing the top nations and the quantity of documents generated annually.
- Prominent researchers, their nations, and the documents they have created are mapped out.
- Nations and areas with the most influence
- The leading organisation
- The most significant journal.
3.1. An Analysis of Publications on an Annual Basis
3.2. Publications Examined: Type of Document
3.3. Examining Publications: WoS Category Analysis
3.4. Publications Examined: Titles of Publications
3.5. Publications Examined: Well-Known Locations
3.6. Examining Publications: Effective Institutions and Scholars
3.7. Analysing Publications: Authors and Institutions with Productivity
4. Citation Structure Analysis
4.1. Top-Ranking Significant Nations or Areas
4.2. The Most Significant Organisations
4.3. Strength of Collaboration Between the Researchers
4.4. Co-Citations Network of Articles
- Vaswani et al., 2017 (“Attention is All You Need” [35]): Article is highly central and densely connected, indicating its significant influence and widespread recognition in the academic community.
- Devlin et al., 2019 (“BERT:Pre-training of Deep Bidirectional Transformers for Language Understanding” [8]): Another highly influential work, shown by its strong connections with many other articles.
- Bahdanau et al., 2016 (“Neural Machine Translation by Jointly Learning to Align and Translate” [36]): With several co-citations, this paper also seems to have a lot of influence, which speaks to its significance in the machine translation community.
4.5. Most Cited Publications
| Rank | Article | Author | Type | Year | Research Direction | Citations | Links |
|---|---|---|---|---|---|---|---|
| 1 | LexRank: Graph-based lexical centrality as salience in text summarisation [34] | Erkan, G and Radev, DR | Article | 2004 | Computer Science, Artificial Intelligence | 1436 | 37 |
| 2 | The Structure and Dynamics of Cocitation Clusters: A Multiple-Perspective Cocitation Analysis [38] | Chen, CM; Ibekwe-SanJuan, F and Hou, JH | Article | 2010 | Computer Science, Information Systems, Information Science | 1025 | 74 |
| 3 | A Survey on Deep Learning for Named Entity Recognition [37] | Li, J; Sun, AX; Han, JL; Li, CL | Article | 2022 | Computer Science, Artificial Intelligence, Information Systems, Electrical Engineering | 454 | 210 |
| 4 | Recent automatic text summarisation techniques: A survey [14] | Gambhir, M and Gupta, V | Article | 2017 | Computer Science, Artificial Intelligence | 355 | 182 |
| 5 | Risk stratification for sudden cardiac death: Current status and challenges for the future [39] | Wellens, HJJ; Schwartz, PJ; Lindemans, FW; Buxton, AE; Goldberger, JJ; Hohnloser, SH; et al. | Article | 2014 | Cardiac & Cardiovascular Systems | 284 | 121 |
| 6 | Fitting neurological protein aggregation kinetic data via a 2-step, Minimal/“Ockham’s Razor” model: The Finke-Watzky mechanism of nucleation followed by autocatalytic surface growth [40] | Morris, AM; Watzky, MA; Agar, JN; Finke, RG | Article | 2008 | Biochemistry & Molecular Biology | 245 | 67 |
| 7 | Automatic text summarisation: A comprehensive survey [15] | El-Kassas, WS; Salama, CR; Rafea, AA; Mohamed, HK | Article | 2021 | Computer Science, Artificial Intelligence, Electrical Engineering, Operations Research | 233 | 227 |
| 8 | An overview of the BIOASQ large-scale biomedical semantic indexing and question answering competition [41] | Tsatsaronis, G; et al. | Article | 2015 | Biochemical Research, Biotechnology, Mathematical & Computational Biology | 233 | 37 |
| 9 | Opinion mining from online hotel reviews—A text summarisation approach [42] | Hu, YH; Chen, YL and Chou, HL | Article | 2017 | Computer Science, Information Systems, Information Science | 184 | 61 |
| 10 | Assessing sentence scoring techniques for extractive text summarisation [43] | Ferreira, R; Cabral, LDS; Lins, RD; Silva, GPE; et al. | Article | 2013 | Computer Science, Artificial Intelligence, Electrical Engineering, Operations Research | 173 | 35 |
4.6. Analysis of Cooperation
5. Publishers over the Years
- Prominent Publishers: Springer and Elsevier are the most prominent publishers, indicated by their strong connections over multiple years. They have consistently published works across a wide range of years, demonstrating their significant presence in academic publishing.
- Recent Publications: IEEE Computer Society, Springer, and Elsevier show substantial activity in recent years (2021–2024). This indicates a trend where these publishers are heavily involved in contemporary academic and scientific literature.
- Emerging Publishers: MDPI and PeerJ Inc have been connected for multiple years, suggesting they are emerging as notable publishers in recent times. Their increasing connections indicate growing influence and publication volume.
- Diverse Publishers: Publishers like Springer Nature and Cambridge University Press have connections across a wide range of years, indicating their long-standing involvement in academic publishing.
- Consistent Contributors: Publishers such as Elsevier Science Inc, Springer Heidelberg, and IEEE Computer Society show consistent publication activity over the years, suggesting a stable and ongoing contribution to the academic and scientific community.
- Specialised Publishers: Some publishers have a focused presence in specific years, such as Academic Press Ltd in earlier years and Nature Portfolio in more recent years. This may indicate periods of heightened activity or focus on particular research areas during those times.
- Publication Peaks: Certain years, particularly 2023 and 2024, show high publication activity across multiple publishers, suggesting recent years have seen a surge in academic output.
6. Survey Findings and Future Directions
6.1. Text Summarisation Frameworks
6.2. Future Directions
- Improved Abstractive Summarisation—Develop more coherent and semantically accurate abstractive models [55] that generate summaries closer to human-written content. Focus on reducing issues such as factual inconsistencies and hallucinations in summaries by integrating external knowledge bases.
- Domain-Specific Summarisation—Create customised summarisation systems for specialised fields such as healthcare, law, and finance. Emphasize the development of domain-specific datasets and pre-trained models tailored to industry jargon and technical content [56].
- Real-Time Summarisation—Design efficient models capable of summarising streaming data from sources [57] like social media, live news feeds, and real-time analytics. Incorporate temporal dynamics and event detection to enhance the relevance and timeliness of the generated summaries.
- Multimodal Summarisation—Focus on building models that integrate audio, video, images, multiple languages [17], and other types of data. Develop systems that extract and generate important information from different forms of data.
- Dialogue Summarisation—Improve summarisation techniques for multi-turn conversations [58], such as those in meetings, interviews, or customer service interactions. Address challenges like preserving speaker-specific information, maintaining coherence, and summarising complex dialogue structures.
- Bias and Ethics—Mitigate biases [59] inherent in training datasets that can lead to skewed or unfair summaries. Develop ethical guidelines and frameworks for creating transparent, fair, and accountable summarisation systems. Introduce tools to detect and rectify biased summaries in real time.
- Multilingual Summarisation—Extend summarisation capabilities to support multiple languages [17], especially those with limited resources. Leverage transfer learning and multilingual transformer models to build systems adaptable to diverse linguistic contexts.
- Interactive Summarisation—Develop interactive systems that allow users to customize summaries by specifying preferences, such as length, focus, or tone [60]. Incorporate feedback mechanisms to improve summary quality based on user interactions.
- Low-Resource Summarisation—Address the lack of large datasets for low-resource languages or domains by exploring data augmentation techniques and unsupervised learning [61]. Utilize transfer learning and cross-lingual approaches to adapt high-resource models for low-resource settings.
- Explainability—Enhance model interpretability [62] by providing insights into why specific sentences or phrases were selected for the summary. Develop visualisation tools that highlight attention weights and decision pathways in the summarisation process.
- Long Document Summarisation—Design models optimised for processing and summarising lengthy documents, such as books, legal texts, and research articles. Focus on improving memory efficiency [63] and coherence over extended content using techniques like hierarchical attention.
- Better Evaluation Metrics—Move beyond traditional metrics like ROUGE and BLEU to develop comprehensive, human-centric evaluation frameworks. Incorporate measures of semantic accuracy, readability, coherence, and task-specific performance for a holistic assessment [64].
Limitations
7. Conclusions
Author Contributions
Funding
Institutional Review Board Statement
Informed Consent Statement
Data Availability Statement
Conflicts of Interest
Appendix A. Advancements in Text Summarisation Models





References
- Malik, N.; Bilal, M. Natural language processing for analyzing online customer reviews: A survey, taxonomy, and open research challenges. PeerJ Comput. Sci. 2024, 10, e2203. [Google Scholar] [CrossRef] [PubMed]
- Min, B.; Ross, H.; Sulem, E.; Veyseh, A.P.B.; Nguyen, T.H.; Sainz, O.; Agirre, E.; Heintz, I.; Roth, D. Recent advances in natural language processing via large pre-trained language models: A survey. ACM Comput. Surv. 2023, 56, 1–40. [Google Scholar] [CrossRef]
- Gong, Y.; Liu, X. Generic text summarization using relevance measure and latent semantic analysis. In Proceedings of the 24th Annual International ACM SIGIR Conference on Research and Development in Information Retrieval (SIGIR ’01), New York, NY, USA, 9–13 September 2001; pp. 19–25. [Google Scholar] [CrossRef]
- Luhn, H.P. A Statistical Approach to Mechanized Encoding and Searching of Literary Information. IBM J. Res. Dev. 1957, 1, 309–317. [Google Scholar] [CrossRef]
- Gupta, V.; Lehal, G.S. A survey of text summarization extractive techniques. J. Emerg. Technol. Web Intell. 2010, 2, 258–268. [Google Scholar] [CrossRef]
- Mihalcea, R.; Tarau, P. Textrank: Bringing order into text. In Proceedings of the 2004 Conference on Empirical Methods in Natural Language Processing, Barcelona, Spain, 25–26 July 2004; pp. 404–411. [Google Scholar]
- Goudjil, M.; Koudil, M.; Bedda, M.; Ghoggali, N. A Novel Active Learning Method Using SVM for Text Classification. Int. J. Autom. Comput. 2016, 15, 290–298. [Google Scholar] [CrossRef]
- Devlin, J. Bert: Pre-training of deep bidirectional transformers for language understanding. arXiv 2018, arXiv:1810.04805. [Google Scholar]
- Rush, A.M.; Chopra, S.; Weston, J. A Neural Attention Model for Abstractive Sentence Summarization. arXiv 2015, arXiv:1509.00685. [Google Scholar] [CrossRef]
- Luhn, H.P. The Automatic Creation of Literature Abstracts. IBM J. Res. Dev. 1958, 2, 159–165. [Google Scholar] [CrossRef]
- Edmundson, H.P. New Methods in Automatic Extracting. J. ACM 1969, 16, 264–285. [Google Scholar] [CrossRef]
- Radford, A.; Wu, J.; Child, R.; Luan, D.; Amodei, D.; Sutskever, I. Language models are unsupervised multitask learners. OpenAI Blog 2019, 1, 9. [Google Scholar]
- Zhang, J.; Zhao, Y.; Saleh, M.; Liu, P. Pegasus: Pre-training with extracted gap-sentences for abstractive summarization. In Proceedings of the International Conference on Machine Learning, PMLR, Virtual, 13–18 July 2020; pp. 11328–11339. [Google Scholar]
- Gambhir, M.; Gupta, V. Recent automatic text summarization techniques: A survey. Artif. Intell. Rev. 2017, 47, 1–66. [Google Scholar] [CrossRef]
- El-Kassas, W.S.; Salama, C.R.; Rafea, A.A.; Mohamed, H.K. Automatic text summarization: A comprehensive survey. Expert Syst. Appl. 2021, 165, 113679. [Google Scholar] [CrossRef]
- Chen, J.; Zhuge, H. Abstractive Text-Image Summarization Using Multi-Modal Attentional Hierarchical RNN. In Proceedings of the 2018 Conference on Empirical Methods in Natural Language Processing, Brussels, Belgium, 31 October–4 November 2018; Riloff, E., Chiang, D., Hockenmaier, J., Tsujii, J., Eds.; pp. 4046–4056. [Google Scholar] [CrossRef]
- Taunk, D.; Varma, V. Summarizing Indian Languages using Multilingual Transformers based Models. arXiv 2023, arXiv:2303.16657. [Google Scholar] [CrossRef]
- Chandler, A.; Surve, D.; Su, H. Detecting Errors through Ensembling Prompts (DEEP): An End-to-End LLM Framework for Detecting Factual Errors. arXiv 2024, arXiv:2406.13009. [Google Scholar] [CrossRef]
- Xu, P.; Shao, W.; Chen, M.; Tang, S.; Zhang, K.; Gao, P.; An, F.; Qiao, Y.; Luo, P. BESA: Pruning Large Language Models with Blockwise Parameter-Efficient Sparsity Allocation. arXiv 2024, arXiv:2402.16880. [Google Scholar] [CrossRef]
- Zhang, H.; Song, H.; Li, S.; Zhou, M.; Song, D. A survey of controllable text generation using transformer-based pre-trained language models. ACM Comput. Surv. 2023, 56, 1–37. [Google Scholar] [CrossRef]
- Jangra, A.; Mukherjee, S.; Jatowt, A.; Saha, S.; Hasanuzzaman, M. A survey on multi-modal summarization. ACM Comput. Surv. 2023, 55, 1–36. [Google Scholar] [CrossRef]
- Mridha, M.F.; Lima, A.A.; Nur, K.; Das, S.C.; Hasan, M.; Kabir, M.M. A survey of automatic text summarization: Progress, process and challenges. IEEE Access 2021, 9, 156043–156070. [Google Scholar] [CrossRef]
- Koh, H.Y.; Ju, J.; Liu, M.; Pan, S. An empirical survey on long document summarization: Datasets, models, and metrics. ACM Comput. Surv. 2022, 55, 1–35. [Google Scholar] [CrossRef]
- Khan, B.; Shah, Z.A.; Usman, M.; Khan, I.; Niazi, B. Exploring the landscape of automatic text summarization: A comprehensive survey. IEEE Access 2023, 11, 109819–109840. [Google Scholar] [CrossRef]
- Chen, X.; Xie, H.; Tao, X.; Xu, L.; Wang, J.; Dai, H.N.; Wang, F.L. A topic modeling-based bibliometric exploration of automatic summarization research. In Wiley Interdisciplinary Reviews: Data Mining and Knowledge Discovery; Wiley: Hoboken, NJ, USA, 2024; p. e1540. [Google Scholar]
- Kaushal, A.; Kumar, S.; Kumar, R. A review on deepfake generation and detection: Bibliometric analysis. In Multimedia Tools and Applications; Springer: Berlin/Heidelberg, Germany, 2024; pp. 1–41. [Google Scholar]
- Ellegaard, O.; Wallin, J.A. The bibliometric analysis of scholarly production: How great is the impact? Scientometrics 2015, 105, 1809–1831. [Google Scholar] [CrossRef] [PubMed]
- Kanapala, A.; Pal, S.; Pamula, R. Text summarization from legal documents: A survey. Artif. Intell. Rev. 2019, 51, 371–402. [Google Scholar] [CrossRef]
- Saini, N.; Saha, S.; Jangra, A.; Bhattacharyya, P. Extractive single document summarization using multi-objective optimization: Exploring self-organized differential evolution, grey wolf optimizer and water cycle algorithm. Knowl.-Based Syst. 2019, 164, 45–67. [Google Scholar] [CrossRef]
- Verma, P.; Om, H. MCRMR: Maximum coverage and relevancy with minimal redundancy based multi-document summarization. Expert Syst. Appl. 2019, 120, 43–56. [Google Scholar] [CrossRef]
- Saini, N.; Saha, S.; Bhattacharyya, P. Automatic Scientific Document Clustering Using Self-organized Multi-objective Differential Evolution. Cogn. Comput. 2019, 11, 271–293. [Google Scholar] [CrossRef]
- Lloret, E.; Palomar, M. Text summarisation in progress: A literature review. Artif. Intell. Rev. 2012, 37, 1–41. [Google Scholar] [CrossRef]
- Sanchez-Gomez, J.M.; Vega-Rodriguez, M.A.; Perez, C.J. Extractive multi-document text summarization using a multi-objective artificial bee colony optimization approach. Knowl.-Based Syst. 2018, 159, 1–8. [Google Scholar] [CrossRef]
- Erkan, G.; Radev, D. LexRank: Graph-based lexical centrality as salience in text summarization. J. Artif. Intell. Res. 2004, 22, 457–479. [Google Scholar] [CrossRef]
- Vaswani, A.; Shazeer, N.; Parmar, N.; Uszkoreit, J.; Jones, L.; Gomez, A.N.; Kaiser, L.; Polosukhin, I. Attention Is All You Need. arXiv 2017, arXiv:1706.03762. [Google Scholar] [CrossRef]
- Bahdanau, D.; Cho, K.; Bengio, Y. Neural Machine Translation by Jointly Learning to Align and Translate. arXiv 2014, arXiv:1409.0473. [Google Scholar]
- Li, J.; Sun, A.; Han, J.; Li, C. A Survey on Deep Learning for Named Entity Recognition. IEEE Trans. Knowl. Data Eng. 2022, 34, 50–70. [Google Scholar] [CrossRef]
- Chen, C.; Ibekwe-SanJuan, F.; Hou, J. The Structure and Dynamics of Cocitation Clusters: A Multiple-Perspective Cocitation Analysis. J. Am. Soc. Inf. Sci. Technol. 2010, 61, 1386–1409. [Google Scholar] [CrossRef]
- Wellens, H.J.J.; Schwartz, P.J.; Lindemans, F.W.; Buxton, A.E.; Goldberger, J.J.; Hohnloser, S.H.; Huikuri, H.V.; Kaeaeb, S.; La Rovere, M.T.; Malik, M.; et al. Risk stratification for sudden cardiac death: Current status and challenges for the future. Eur. Heart J. 2014, 35, 1642–1651. [Google Scholar] [CrossRef] [PubMed]
- Morris, A.M.; Watzky, M.A.; Agar, J.N.; Finke, R.G. Fitting neurological protein aggregation kinetic data via a 2-step, Minimal/”Ockham’s Razor” model: The Finke-Watzky mechanism of nucleation followed by autocatalytic surface growt. Biochemistry 2008, 47, 2413–2427. [Google Scholar] [CrossRef]
- Tsatsaronis, G.; Balikas, G.; Malakasiotis, P.; Partalas, I.; Zschunke, M.; Alvers, M.R.; Weissenborn, D.; Krithara, A.; Petridis, S.; Polychronopoulos, D.; et al. An overview of the BIOASQ large-scale biomedical semantic indexing and question answering competition. BMC Bioinform. 2015, 16, 138. [Google Scholar] [CrossRef]
- Hu, Y.H.; Chen, Y.L.; Chou, H.L. Opinion mining from online hotel reviews - A text summarization approach. Inf. Process. Manag. 2017, 53, 436–449. [Google Scholar] [CrossRef]
- Ferreira, R.; Cabral, L.d.S.; Lins, R.D.; Pereira e Silva, G.; Freitas, F.; Cavalcanti, G.D.C.; Lima, R.; Simske, S.J.; Favaro, L. Assessing sentence scoring techniques for extractive text summarization. Expert Syst. Appl. 2013, 40, 5755–5764. [Google Scholar] [CrossRef]
- Rothe, S.; Narayan, S.; Severyn, A. Leveraging Pre-trained Checkpoints for Sequence Generation Tasks. Trans. Assoc. Comput. Linguist. 2020, 8, 264–280. [Google Scholar] [CrossRef]
- Beltagy, I.; Peters, M.E.; Cohan, A. Longformer: The Long-Document Transformer. arXiv 2020, arXiv:2004.05150. [Google Scholar] [CrossRef]
- Lewis, M.; Liu, Y.; Goyal, N.; Ghazvininejad, M.; Mohamed, A.; Levy, O.; Stoyanov, V.; Zettlemoyer, L. BART: Denoising Sequence-to-Sequence Pre-training for Natural Language Generation, Translation, and Comprehension. arXiv 2019, arXiv:1910.13461. [Google Scholar] [CrossRef]
- Liu, Y.; Lapata, M. Text Summarization with Pretrained Encoders. arXiv 2019, arXiv:1908.08345. [Google Scholar] [CrossRef]
- See, A.; Liu, P.J.; Manning, C.D. Get To The Point: Summarization with Pointer-Generator Networks. arXiv 2017, arXiv:1704.04368. [Google Scholar] [CrossRef]
- Barzilay, R.; Elhadad, N. Sentence Alignment for Monolingual Comparable Corpora. In Proceedings of the 2003 Conference on Empirical Methods in Natural Language Processing, Sapporo, Japan, 11–12 July 2003; pp. 25–32. [Google Scholar]
- Mani, I.; Bloedorn, E. Machine Learning of Generic and User-Focused Summarization. arXiv 1998, arXiv:cs.CL/9811006. [Google Scholar]
- Lin, C.Y. ROUGE: A Package for Automatic Evaluation of Summaries. In Proceedings of the Text Summarization Branches Out, Barcelona, Spain, 25–26 July 2004; pp. 74–81. [Google Scholar]
- Nenkova, A.; Vanderwende, L.; Vanderwende, L. The Impact of Frequency on Summarization. 2005. Available online: https://www.semanticscholar.org/paper/The-Impact-of-Frequency-on-Summarization-Nenkova-Vanderwende/676b1549adae511164c1b5343f10260fd42035b4 (accessed on 30 November 2024).
- Lin, C.Y.; Hovy, E. The Automated Acquisition of Topic Signatures for Text Summarization. In Proceedings of the COLING 2000 Volume 1: The 18th International Conference on Computational Linguistics, Saarbrücken, Germany, 31 July 2000–4 August 2000. [Google Scholar]
- Kupiec, J.; Pedersen, J.; Chen, F. A trainable document summarizer. In Proceedings of the 18th Annual International ACM SIGIR Conference on Research and Development in Information Retrieval (SIGIR ’95), New York, NY, USA, 9–13 July 1995; pp. 68–73. [Google Scholar] [CrossRef]
- Ravaut, M.; Chen, H.; Zhao, R.; Qin, C.; Joty, S.; Chen, N. PromptSum: Parameter-Efficient Controllable Abstractive Summarization. arXiv 2023, arXiv:2308.03117. [Google Scholar] [CrossRef]
- Afzal, A.; Vladika, J.; Braun, D.; Matthes, F. Challenges in Domain-Specific Abstractive Summarization and How to Overcome Them. In Proceedings of the 15th International Conference on Agents and Artificial Intelligence, SCITEPRESS—Science and Technology Publications, Lisbon, Portugal, 22–24 February 2023; pp. 682–689. [Google Scholar] [CrossRef]
- Gunturu, A.; Jadon, S.; Zhang, N.; Faraji, M.; Thundathil, J.; Ahmad, T.; Willett, W.; Suzuki, R. RealitySummary: Exploring On-Demand Mixed Reality Text Summarization and Question Answering using Large Language Models. arXiv 2024, arXiv:2308.03117. [Google Scholar] [CrossRef]
- Tian, Y.; Xia, F.; Song, Y. Dialogue Summarization with Mixture of Experts based on Large Language Models. In Proceedings of the 62nd Annual Meeting of the Association for Computational Linguistics (Volume 1: Long Papers), Bangkok, Thailand, 11–16 August 2024; Ku, L.W., Martins, A., Srikumar, V., Eds.; pp. 7143–7155. [Google Scholar] [CrossRef]
- Brown, H.; Shokri, R. How (Un)Fair is Text Summarization? 2023. Available online: https://openreview.net/forum?id=-UsbRlXzMG (accessed on 30 November 2024).
- Zhang, X.; Li, J.; Chi, P.W.; Chandrasegaran, S.; Ma, K.L. ConceptEVA: Concept-Based Interactive Exploration and Customization of Document Summaries. In Proceedings of the 2023 CHI Conference on Human Factors in Computing Systems (CHI ’23), Hamburg, Germany, 23–28 April 2023; ACM: New York, NY, USA, 2023; pp. 1–16. [Google Scholar] [CrossRef]
- Munaf, M.; Afzal, H.; Iltaf, N.; Mahmood, K. Low Resource Summarization using Pre-trained Language Models. arXiv 2023, arXiv:2310.02790. [Google Scholar] [CrossRef]
- Li, J.; Zhang, Y.; Karas, Z.; McMillan, C.; Leach, K.; Huang, Y. Do Machines and Humans Focus on Similar Code? Exploring Explainability of Large Language Models in Code Summarization. In Proceedings of the 32nd IEEE/ACM International Conference on Program Comprehension (ICPC ’24), Lisbon, Portugal, 15–16 April 2024; ACM: New York, NY, USA, 2024; pp. 47–51. [Google Scholar] [CrossRef]
- Cao, S.; Wang, L. AWESOME: GPU Memory-constrained Long Document Summarization using Memory Mechanism and Global Salient Content. arXiv 2023, arXiv:2305.14806. [Google Scholar] [CrossRef]
- Guo, Y.; August, T.; Leroy, G.; Cohen, T.; Wang, L.L. APPLS: Evaluating Evaluation Metrics for Plain Language Summarization. arXiv 2024, arXiv:2305.14341. [Google Scholar] [CrossRef]














| Scope/References | [20] | [21] | [22] | [23] | [24] | [25] | This Survey |
|---|---|---|---|---|---|---|---|
| Taxonomy/Overview | M | M | H | H | H | H | H |
| Publication Connections | L | L | H | M | M | H | H |
| Topics | M | L | M | M | H | M | H |
| Keyword Analysis | L | L | L | M | M | H | H |
| Techniques | H | M | M | M | L | H | H |
| Key Innovators and Scholarly Networks | M | M | L | M | H | H | H |
| Citation Insights | L | M | L | L | M | M | H |
| Future Directions | M | M | M | H | H | M | H |
| Rank | Authors | Record Count |
|---|---|---|
| 1 | Lloret E | 14 |
| 2 | Palomar M | 10 |
| 3 | Pérez CJ | 9 |
| 4 | Sanchez-gomez JM | 9 |
| 5 | Vega-rodríguez MA | 9 |
| 6 | Aliguliyev RM | 8 |
| 7 | Chatterjee N | 8 |
| 8 | García-hernández RA | 8 |
| 9 | Ledeneva Y | 8 |
| 10 | Gupta A | 6 |
| 11 | Idris N | 6 |
| 12 | Ko Y | 6 |
| 13 | Pakray P | 6 |
| 14 | Saha S | 6 |
| 15 | Seo J | 6 |
| 16 | Singh P | 6 |
| 17 | Zhang Y | 6 |
| 18 | Bhattacharyya P | 5 |
| 19 | Lins RD | 5 |
| 20 | Liu Y | 5 |
| Rank | Label | TLS | P | C | AC |
|---|---|---|---|---|---|
| 1 | Peoples R China | 48 | 54 | 660 | 7.90 |
| 2 | USA | 35 | 126 | 195 | 12.22 |
| 3 | India | 33 | 36 | 168 | 4.43 |
| 4 | South Korea | 32 | 116 | 514 | 5.90 |
| 5 | Spain | 24 | 20 | 95 | 6.95 |
| 6 | England | 19 | 19 | 70 | 4.75 |
| 7 | Pakistan | 19 | 20 | 118 | 3.69 |
| 8 | Italy | 15 | 22 | 153 | 15.20 |
| 9 | Australia | 13 | 13 | 153 | 8.50 |
| 10 | Canada | 12 | 22 | 65 | 9.00 |
| Rank | Institute/Affiliation | Country | TLS | P | C | AC |
|---|---|---|---|---|---|---|
| 1 | Chinese Acad Sci | Peoples R China | 41 | 18 | 132 | 7.33 |
| 2 | Univ Chinese Acad Sci | Peoples R China | 25 | 10 | 74 | 7.40 |
| 3 | Univ extremadura | Spain | 24 | 6 | 68 | 11.33 |
| 4 | Sidi Mohamed Ben Abdellah Univ | Morocco | 13 | 5 | 63 | 12.60 |
| 5 | South China Univ Technol | Peoples R China | 11 | 3 | 55 | 18.33 |
| 6 | Indian Inst Informat Technol Design and Mfg | India | 19 | 4 | 53 | 13.25 |
| 7 | Univ Malaya | Malaysia | 8 | 3 | 53 | 17.66 |
| 8 | King Saud Univ | Saudi Arabia | 15 | 6 | 46 | 7.66 |
| 9 | Jawaharlal Nehru Univ | India | 14 | 4 | 42 | 10.25 |
| 10 | Princess Sumaya Univ Technol | Jordan | 15 | 4 | 41 | 10.25 |
| 11 | Beijing Univ Posts and Telecommun | Peoples R China | 6 | 3 | 41 | 13.66 |
| 12 | Islamic Azad Univ | Iran | 21 | 6 | 40 | 6.66 |
| 13 | Ibn Tofail Univ | Morocco | 6 | 3 | 39 | 13.00 |
| 14 | Univ Toulon and Var | France | 6 | 3 | 39 | 13.00 |
| 15 | Guru Gobind Singh Indraprastha Univ | India | 14 | 3 | 37 | 12.33 |
| Rank | Authors | TLS | C |
|---|---|---|---|
| 1 | Nallapati, R | 1565 | 252 |
| 2 | Lin, CY | 1513 | 284 |
| 3 | Liu, Y | 1144 | 187 |
| 4 | See, A | 953 | 154 |
| 5 | Mihalcea, R | 905 | 168 |
| 6 | Devlin, J | 881 | 170 |
| 7 | Vaswani, A | 844 | 147 |
| 8 | Erkan, G | 789 | 131 |
| 9 | Mikolov, T | 611 | 109 |
| 10 | Luhn, HP | 603 | 98 |
| Author & Year | Aim | Strategy | Key Feature | Limitation |
|---|---|---|---|---|
| Sascha Rothe, Shashi Narayan, Aliaksei Severyn [44], 2020 | Leveraging Pre-trained Checkpoints for Sequence Generation Tasks | Pre-trained models, fine-tuning, transfer learning | Adapt pre-trained models to specific tasks. Improves task performance | Pre-trained dependency, fine-tuning needs, domain mismatch, resource-intensive |
| Iz Beltagy, Matthew E. Peters, Arman Cohan [45], 2020 | Longformer: The Long-Document Transformer | Efficient attention, long-document handling, transformer adaptation | Local attention, handles long documents, reduces memory requirements | Complex implementation, resource-intensive |
| Jingqing Zhang, Yao Zhao, Mohammad Saleh, Peter J. Liu [13], 2020 | PEGASUS: Pre-training with Extracted Gap-sentences | Gap-sentence generation, pre-training, fine-tuning | Masks and predicts whole sentences, concise summaries | Data-heavy, computationally expensive |
| Mike Lewis et al. [46], 2020 | BART: Denoising Sequence-to-Sequence Pre-training | Denoising pre-training, encoder-decoder architecture | Corrupts and reconstructs text for robustness, versatile applications | Computational cost, data requirements |
| Yang Liu, Mirella Lapata [47], 2019 | Text summarisation with Pretrained Encoders | Pretrained encoders, sequence-to-sequence model | Utilizes BERT for summarisation tasks, sequence-to-sequence approach | Computational cost, fine-tuning challenges |
| Abigail See, Peter J. Liu, Christopher D. Manning [48], 2017 | Get to the Point: summarisation with Pointer-Generator Networks | Pointer-generator network, coverage mechanism | Combines generation and copying from original text | High computational requirements, repetition issues |
| Alexander M. Rush, Sumit Chopra, Jason Weston [9], 2015 | A Neural Attention Model for Abstractive summarisation | Neural network, attention mechanism, encoder-decoder framework | Focuses attention on key input parts for abstractive summarisation | Data dependence, complexity, resource-intensive |
| Barzilay, R., Elhadad, M. [49], 2003 | Sentence Alignment for Monolingual Comparable Corpora | Sentence alignment, similarity measures, monolingual corpora | Aligns sentences based on similarity measures in related content | Scalability, alignment accuracy, complexity |
| Mani, I., Bloedorn, E., Gates, B. [50], 2002 | Machine Learning of Generic and User-Focused summarisation | Feature extraction, machine learning models, summarisation | Identifies relevant features for summarisation, machine learning-based | Data dependence, feature selection, scalability |
| Lin, C.-Y. [51], 2004 | ROUGE: A Package for Automatic Evaluation of Summaries | Evaluation metrics, n-gram overlap | Precision, recall, F1 score for comparing summaries | Surface-level analysis, limited semantic understanding |
| Nenkova, A., Vanderwende, L. [52], 2005 | The Impact of Frequency on summarisation | Frequency analysis, sentence scoring, extraction | Ranks sentences by term frequency, compares frequency-based methods | Context ignorance, domain sensitivity |
| Erkan, G., Radev, D.R. [34], 2004 | LexRank: Graph-based Lexical Centrality | Graph-based ranking, LexRank algorithm, sentence selection | Uses a graph for sentence ranking based on lexical similarity | Computational complexity, domain sensitivity |
| Mihalcea, R., Tarau, P. [6], 2004 | TextRank: Bringing Order into Texts | Graph-based ranking, TextRank algorithms | Uses PageRank to rank sentences in a graph based on similarity | Computationally intensive, context ignorance |
| Gong, Y., Liu, X. [3], 2001 | Generic summarisation Using Latent Semantic Analysis | Relevance measure, latent semantic analysis | Uses LSA for dimensionality reduction, selects key sentences | Context ignorance, computational complexity |
| Eduard Hovy, Chin-Yew Lin [53], 2000 | Automated Acquisition of Topic Signatures | Topic signatures, sentence scoring, summary extraction | Acquires key terms for topics, ranks sentences based on them | Context ignorance, relevance overlap, complexity |
| Julian Kupiec et al. [54], 1995 | A Trainable Document Summarizer | Trainable summarisation, feature extraction | Features include term frequency, sentence position, and cue phrases | Domain dependence, requires a large training corpus |
| Harold P. Edmundson [11], 1969 | New Methods in Automatic Extracting | Statistical analysis, keyword weighting, human editing | Sentence position importance, keyword relevance | Limited scope, reliance on sentence position |
| H.P. Luhn [10], 1958 | The Automatic Creation of Literature Abstracts | Word frequency, sentence scoring, selection criteria | Frequency analysis, content scoring, human editing | Simplistic scoring, manual intervention |
| Figure and Model | Input | Key Methodology | Key Features | Summary Generation Process |
|---|---|---|---|---|
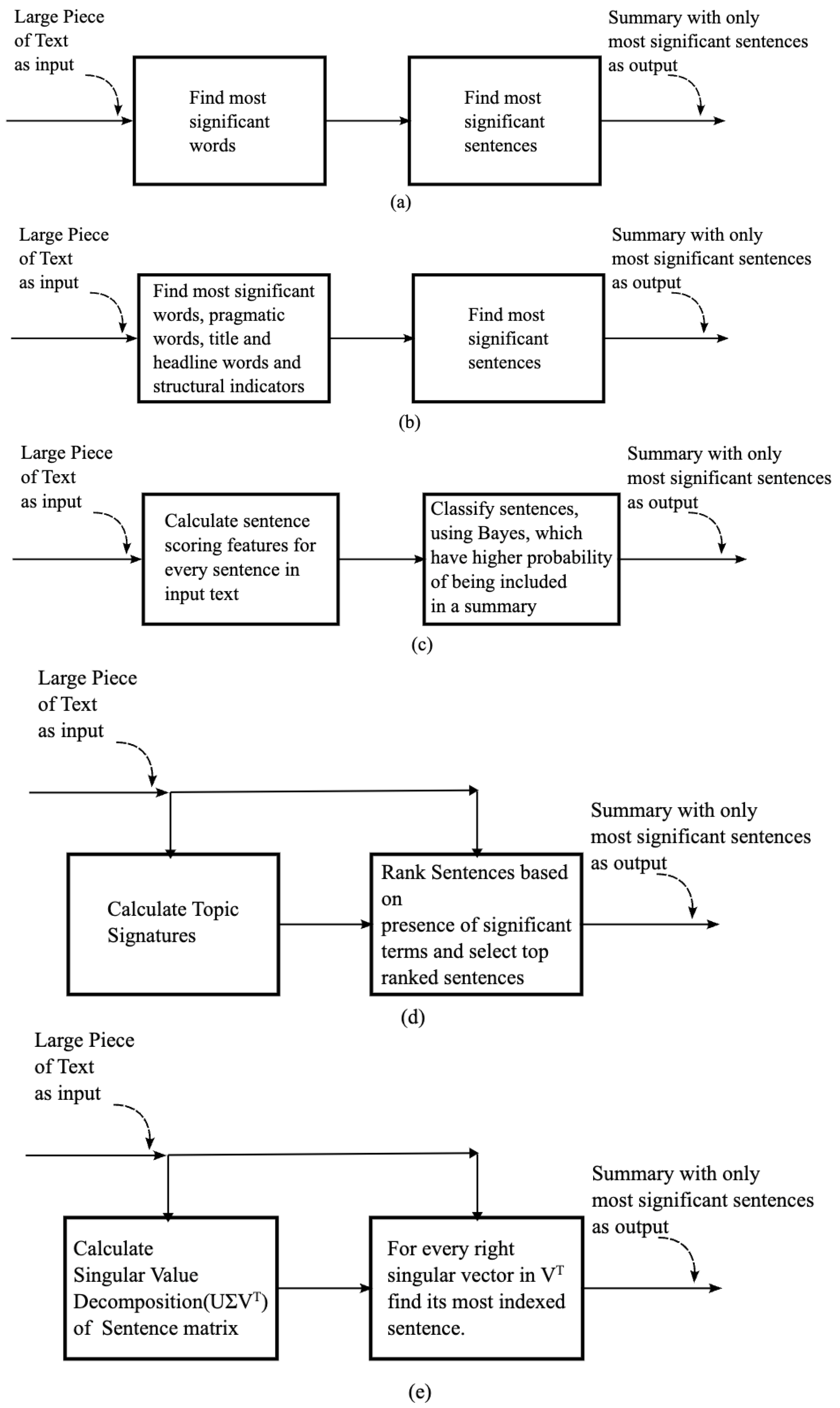
| Figure A1a Luhn [10] | Large Text | Frequency and position-based methods | Statistical methods, Term frequency | Selects significant words and generates summary |
| Figure A1b Edmundson [11] | Large Text | Frequency, pragmatic words, and structural indicators | Hybrid approach (linguistic & structural features) | Selects significant sentences |
| Figure A1c Kupiec et al. [54] | Large Text | Sentence scoring, Bayes’ theorem | Supervised learning, Term frequency, Cue words | Chooses the most probable sentences based on Bayes’ probability |
| Figure A1d Lin and Hovy [53] | Large Text | Topic signature and sentence ranking | Semantic relevance, Corpus-based methods | Ranks sentences and selects the top-ranked ones |
| Figure A1e Gong and Liu [3] | Matrix form | Singular Value Decomposition (SVD) | Dimensionality reduction, Semantic space projection | Identifies key sentences using SVD |
| Figure A1f Mihalcea and Tarau [6] | Large Text | TextRank Graph | Unsupervised learning, Sentence similarity | Selects sentences from the graph |
| Figure A1g Erkan and Radev [34] | Large Text | LexRank Graph | Lexical analysis, Sentence connectivity | Selects sentences from the graph |
| Figure A1h Nenkova et al. [52] | Large Text | Frequency-based method | Sentence probability revision | Selects highest-probability sentences iteratively |
| Figure A1i Mani and Bloedorn [50] | Large Text | SCDF learning algorithms | Adaptable learning rules | Customizes rules to generate summaries |
| Figure A1j Barzilay and Elhadad [49] | Large Text | Structural alignment of sentences | Macro and Micro alignment | Aligns and generates summaries |
| Figure A1k Rush et al. [9] | Large Text | Encoder-Decoder model | Attention mechanism, Beam search decoder | Generates summaries with state-of-the-art results |
| Figure A1l See et al. [48] | Large Text | LSTM Bi-directional Encoder | Attention mechanism or Unidirectional Decoder | Generates summaries effectively |
| Figure A1m Liu and Lapata [47] | Large Text | BERT with internal segmentation embeddings | Pre-trained encoder | Generates improved summaries |
| Figure A1n Lewis et al. [46] | Large Text | Random and pre-trained encoder-decoder | Transfer learning for fine-tuning | Improves summarisation, machine translation, and Q&A tasks |
| Figure A1o Zhang et al. [13] | Large Text | Transformer encoder-decoder | Task-specific pre-training objectives | Generates high-quality summaries |
| Figure A1p Beltagy et al. [45] | Large Text | Transformer Encoder-Decoder with Longformer | Local and global attention mechanisms | Reduces computational overhead for long-context tasks like document summarisation, improving efficiency and scalability. |
| Figure A1q Rothe et al. [44] | Large Text | Pre-trained BERT/RoBERTa/GPT-2 | Transfer learning | Improves summarisation outputs |
Disclaimer/Publisher’s Note: The statements, opinions and data contained in all publications are solely those of the individual author(s) and contributor(s) and not of MDPI and/or the editor(s). MDPI and/or the editor(s) disclaim responsibility for any injury to people or property resulting from any ideas, methods, instructions or products referred to in the content. |
© 2024 by the authors. Licensee MDPI, Basel, Switzerland. This article is an open access article distributed under the terms and conditions of the Creative Commons Attribution (CC BY) license (https://creativecommons.org/licenses/by/4.0/).
Share and Cite
Kaushal, A.; Lin, C.-C.; Chauhan, R.; Kumar, R. Charting the Growth of Text Summarisation: A Data-Driven Exploration of Research Trends and Technological Advancements. Appl. Sci. 2024, 14, 11462. https://doi.org/10.3390/app142311462
Kaushal A, Lin C-C, Chauhan R, Kumar R. Charting the Growth of Text Summarisation: A Data-Driven Exploration of Research Trends and Technological Advancements. Applied Sciences. 2024; 14(23):11462. https://doi.org/10.3390/app142311462
Chicago/Turabian StyleKaushal, Anukriti, Chia-Chen Lin, Rishabh Chauhan, and Rajeev Kumar. 2024. "Charting the Growth of Text Summarisation: A Data-Driven Exploration of Research Trends and Technological Advancements" Applied Sciences 14, no. 23: 11462. https://doi.org/10.3390/app142311462
APA StyleKaushal, A., Lin, C.-C., Chauhan, R., & Kumar, R. (2024). Charting the Growth of Text Summarisation: A Data-Driven Exploration of Research Trends and Technological Advancements. Applied Sciences, 14(23), 11462. https://doi.org/10.3390/app142311462

