Abstract
Offensive content is a complex and multifaceted form of harmful material that targets individuals or groups. In recent years, offensive language (OL) has become increasingly harmful, as it incites violence and intolerance. The automatic identification of OL on social networks is essential to curtail the spread of harmful content. We address this problem by developing an architecture to effectively respond to and mitigate the impact of offensive content on society. In this paper, we use the Davidson dataset containing 24,783 samples of tweets and proposed three different architectures for detecting OL on social media platforms. Our proposed approach involves concatenation of features (TF-IDF, Word2Vec, sentiments, and FKRA/FRE) and a baseline machine learning model for the classification. We explore the effectiveness of different dimensions of GloVe embeddings in conjunction with deep learning models for classifying OL. We also propose an architecture that utilizes advanced transformer models such as BERT, ALBERT, and ELECTRA for pre-processing and encoding, with 1D CNN and neural network layers serving as the classification components. We achieve the highest precision, recall, and F1 score, i.e., 0.89, 0.90, and 0.90, respectively, for both the “bert encased preprocess/1 + small bert/L4H512A8/1 + neural network layers” model and the “bert encased preprocess/1 + electra small/2 + cnn” architecture.
1. Introduction
Offensive speech contains words or phrases that are used to express contempt for a particular group or humiliate or belittle those who belong to the group []. The proliferation of social networks has enabled people to express their emotions, beliefs, and views more freely, making these platforms rich sources of textual data []. However, in recent years, offensive language (OL) comments have become increasingly detrimental, posing risks to the quality, popularity, and trust of users on social networks [,]. Consequently, many social network platforms are focused on detecting OL to aid in moderation and removal [].
The prevalence of online harassment, both domestically and internationally, has become a significant concern. Initially, human moderators were relied upon to address this issue, but challenges were posed because of scalability, and ethical concerns. As a result, artificial intelligence (AI) and machine learning (ML) have emerged as promising solutions for detecting and mitigating online harassment and hate speech [,]. However, the lack of a standardized definition of hate speech across various groups complicates the classification task. The availability of high-quality, diverse datasets remains a significant challenge in the realm of offensive language detection (OLD) []. Offensive language is highly context-dependent, making it difficult for existing models to capture nuances and make accurate predictions []. The development of AI/ML systems for OLD raises important questions about privacy, free speech, and potential biases in automated moderation []. These challenges are further compounded by the vast amount of social media data generated through smartphones, laptops, and tablets, which makes processing, analyzing, and classifying online hate from this unstructured data inefficient due to computational limitations [] and challenges in developing effective ML and deep learning (DL) models. Djuric et al. [] affirmed the effectiveness of employing n-gram features. Unsvag et al. [] incorporated attributes of the user profile such as age and gender alongside text features to improve detection performance. Recently, there has been a growing adoption of DL-based approaches, as seen in the work of Sadiq et al. []. Specifically, methods based on Bidirectional Encoder Representations from Transformers (BERT) have shown promising results in online hate detection tasks, as demonstrated in recent research [,]. The main challenge in offensive speech detection is its highly contextualized nature, which existing work struggles to capture for accurate predictions. This necessitates a detection framework that can effectively capture context to identify offensive speech. To address this challenge, we propose several approaches in our study. First, we add context through the concatenation of features to enhance model understanding. This method combines different types of information to provide a more comprehensive view of the text. Secondly, we experiment with GloVe embeddings to incorporate contextual information at the word level, allowing our models to better understand the nuances of language use. Finally, we utilize BERT-based models, which leverage powerful attention mechanisms to capture context across entire sentences or documents. By employing these diverse strategies, we aim to improve the accuracy and robustness of offensive language detection systems.
1.1. Motivation
Case 1: Social network platforms are generating huge amounts of data that vary in various contexts like offense, hate, racism, and religion.
Case 2: The huge volume of social media data are generated by smartphones, laptops, and computer tablets; processing, analyzing and classifying OL from this massive unstructured social network data is inefficient due to limited processing capabilities, dataset availability, and optimal ML/DL models.
Case 3: Due to limited awareness and knowledge of reporting mechanisms, victims of online hate often do not report incidents to authorities, which can lead to negative social and mental health impacts.
Through our literature survey, we identified several research challenges in this field. These include the absence of a universally accepted definition of offensive speech, the limited availability of public datasets, and inconsistent data labeling quality. Further complications arise from the diverse historical, cultural, and social contexts of offensive content, along with its widespread presence across various online forums and communities.
1.2. Research Questions
RQ1: What is the role of feature extraction techniques in the effectiveness of OLD models?
Feature extraction techniques significantly influence the performance of OLD models. The choice of features, such as TF-IDF (Term Frequency–Inverse Document Frequency), Word2Vec, FKRA (Flesch–Kincaid Readability Assessment)/FRE (Flesch Reading Ease), and VADER sentiment scores, can impact the model’s ability to accurately identify offensive content.
RQ2: How does the dimensionality of GloVe word embeddings affect the performance of DL models in OLD?
The dimensionality of GloVe embeddings, whether it is 50d, 100d, 200d, or 300d, plays a critical role in the effectiveness of DL models.
RQ3: How does the combination of various transformer models such as encoders and preprocessors with neural networks, MLPs (Multi-Layer Perceptrons), and 1D CNNs affect the performance of OLD classification?
This approach combines the strengths of pre-trained models, local pattern detection, and feature aggregation to effectively identify OL. It leverages the capabilities of pre-trained models to understand the context of text and employs convolutional layers to capture relevant patterns, making it a robust approach for the detection of OL.
We address several critical challenges in offensive language detection:
- Problem: Offensive language is highly context-dependent, making it difficult for existing models to capture nuances and make accurate predictions.Our solution: We propose a multi-architecture approach combining feature concatenation (TF-IDF, Word2Vec, FKRA/FRE, sentiments), advanced transformer models (BERT, ALBERT, ELECTRA), and neural network architectures.
- Problem: The huge amount of social media data generated through smartphones, laptops, and tablets make processing, analyzing, and classifying OL from this unstructured data inefficient.Our solution: Efficient feature extraction techniques, scalable architecture design, and optimized processing pipeline are proposed.
- Problem: Limited accuracy in existing approaches for distinguishing between hate speech, offensive language, and neutral content.Our solution: Novel feature fusion approach, context-aware transformer models, and multiple classification architectures are used.
1.3. Contributions
- Features are extracted using TF-IDF, Word2Vec, FKRA/FRE, and a VADER sentiment analyzer to create feature vectors. The tweets are then classified into sentiment categories (positive, negative, and neutral) and mapped to the Davidson dataset’s labeling scheme (offensive, hate, neither hate nor offensive).
- An architecture is proposed in which we fuse features and train ML models.
- An architecture utilizing different dimensions of GloVe embeddings with DL models for the classification of OL is presented.
- A novel architecture is proposed using BERT (Bidirectional Encoder Representations from transformers), ALBERT (A Lite BERT), and ELECTRA (Efficiently Learning an Encoder that Classifies Token Replacements Accurately) as encoders, and for pre-processing, we use neural networks and 1D CNNs as classification layers.
The remainder of the paper is structured as follows: Section 2 includes a review of the literature and Section 3 details the proposed methodology. Section 4 presents the experimental results, followed by Section 5, which analyzes and discusses these findings. The work is concluded in Section 6 along with future research directions.
2. Literature Survey
The current landscape of research on hate and offensive speech predominantly centers on the identification and categorization of various forms of harmful communication. Our literature review section spans from 2015 to 2024, examining the evolution of OLD techniques, challenges, and methodological approaches [,]. Early research established fundamental categories of harmful content in various forms, including offensive speech [], abusive language [,], hate speech [,,,], cyberbullying [], and harmful language []. The research community, government officials, and legal domain have extensively examined these categories of harmful content, among other related phenomena []. This categorization helped establish the theoretical foundation for automated detection systems. The initial automated approaches relied heavily on feature engineering. Vidgen and Yasseri [] introduced a dataset containing 109,488 Islamophobic tweets and achieved an accuracy rate of 0.77 by using a one-versus-one SVM model for detecting Islamophobic content. Frenda et al. [] conducted automatic misogyny identification using multiple datasets, including AMI IberEval [], AMI EvalIta [], and SRW [], employing an LR model and achieving accuracies ranging from 0.7605 to 0.8937. Saha et al. [] utilized an LR model on the EVALITA shared task 2018 dataset and achieved an accuracy of 0.704. Vega et al. [] used an SVM model on English and Spanish tweets, achieving an F1 measure of 0.38 for hate speech detection. Bouazizi and Ohtsuki [] analyzed 2228 tweets, classifying them as either sarcastic or non-sarcastic, and achieved an accuracy of 0.83 using the Random Forest (RF) model.
The field witnessed significant advancement with deep learning approaches. Sharma et al. [] proposed a framework for the detection of neutralities present in offensive language, using the OLID dataset and DL models such as BERT, RoBERTa, ALBERT, MPNet, and BiLSTM with GloVe embeddings. Sharif and Hoque [] proposed work for Bengali aggressive text classification using DL models such as BiLSTM, CNN, and combination CNN and BiLSTM, as well as transformer-based models like m-BERT, distill-bert, bangla-bert, xlm-r, and ensembles. They used their own Bengali aggressive text dataset. Liu et al. [] conducted a comprehensive study for OLD, utilizing the OLID and Davidson datasets and incorporating a wide range of ML and DL models, including SVM, CNN, Bi-GRU, Bi-GRU-CNN, BiLSTM-att, BERT, BERT-CNN, and SKS. Wadud et al. [] employed LSTM for offensive text classification using the BHSSP dataset and integrated diverse feature extraction methods, including BoW, Word2Vec, and TF-IDF. Gamback and Sikdar [] used a combination of GRU and CNN models on a dataset of 6655 tweets and achieved an F1 score of 0.78 for the classification of hate speech.
Advanced and hybrid approaches have also been explored. Al-Hussaeni et al. [] proposed an approach employing two neural network architectures: CNN and CNN-LSTM. Their study revealed that the CNN-LSTM outperformed the CNN architecture, achieving an accuracy of 88.97%. Furthermore, they used Linear Support Vector Machine (LSVM) and NB models, with LSVM achieving an accuracy of 90%. Agarwal and Chowdary [] utilized multi-kernel convolution (MKC) of CNNs on different datasets for automatic hate speech detection, achieving F1-scores ranging from 0.61 to 0.88 across various datasets including US elections, COVID-19, and the Waseem and Hovy dataset. Modha et al. [] participated in SemEval-2019 Task 6 [] and employed a GRU + CNN model, attaining an accuracy of 0.78 with supervised methods and 0.77 with unsupervised methods.
Recent research has focused on handling multiple aspects of hate speech. Mazari et al. [] focused on multi-aspect hate speech detection, incorporating stacked BiLSTM and Bi-GRU on GloVe and FastText word embeddings, classifying text into multiple labels such as ‘identity hate’, ‘threat’, ‘insult’, ‘obscene’, ‘toxic’, and ‘severe toxic’ [,]. Mundra and Mittal [] fused word embedding and character embedding to create a hybrid embedding-based feature representation, which was then fed into a BiLSTM + attention network for hate speech detection in Hindi–English code-mixed text.
Recent studies have introduced a novel approach using transfer learning models for hate speech detection. Yuan et al. [] demonstrated that transfer learning significantly improved detection accuracy compared to traditional methods. Masud and Chakraborty [] conducted research with the goal of measuring the power balance between governing and the opposition parties by linking observed online patterns with real occurrences, categorizing political attacks as distinct form of offense. Sharif et al. [] devised an innovative approach by amalgamating data from 18 sources to tackle the issue, employed both CNN and BiLSTM with an attention mechanism and achieving high accuracy (0.89), precision (0.88), and recall (0.91). Ridenhour et al. [] proposed a weak supervision DL model, focusing on quantitatively identifying hateful users and qualitatively analyzing indirect hateful conversations, leveraging multilayer network embedding methods to improve predictions of hateful users in Gab.
Vashistha and Zubiaga [] conducted an analysis of six publicly accessible datasets, combining them into a single comprehensive dataset. They categorized instances as abusive, hateful, or neither and established a preliminary model. By implementing MCD (Multimodal Compact Bilinear Pooling) in conjunction with LSTM (Long Short-Term Memory), they achieved an accuracy rate of 0.78%.
Our comprehensive review reveals several critical gaps in current approaches:
- Limited contextual understanding in existing models.
- Lack of comprehensive feature fusion approaches.
- Need for balanced performance across different types of offensive content.
These gaps motivate our proposed multi-architecture approach, which combines feature fusion, deep learning, and transformer models to address these challenges comprehensively. Our work builds upon these foundations while introducing novel solutions for improved accuracy and efficiency in OL detection.
3. Proposed Methodology
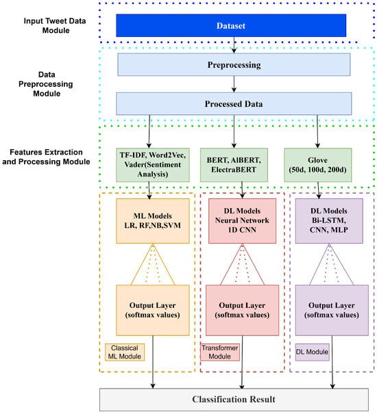
In this section, we present an abstract overview of the proposed architecture for offensive language detection. Figure 1 provides a detailed visualization of our complete pipeline, from data preprocessing to final classification. Our proposed methodology encompasses ML classifiers (LR, RF, NB, SVM), DL classifiers (neural network, CNN, BiLSTM, MLP), and transformer models (BERT, ALBERT, ElectraBERT).

Figure 1.
Abstract overview of our proposed architecture.
3.1. Dataset
For our experimentation, we employ the Davidson dataset [], which contains 24,783 labeled tweets. The dataset exhibits an imbalanced class distribution, with 5.77% (1430 tweets) labeled as hate speech, 77.43% (19,190 tweets) as offensive language, and 16.80% (4163 tweets) as neither hate nor offensive. This distribution reflects the real-world nature of offensive content on social media platforms, where explicit hate speech is less common than general offensive language.
The dataset consists primarily of English language tweets, including informal language, social media slang, hashtags, mentions, and emoticons typical of Twitter communications. These linguistic characteristics make the dataset particularly challenging and relevant for real-world applications of offensive language detection. Data were collected between 2013 and 2017 through the Twitter API using a lexicon-based sampling approach to ensure the inclusion of potentially offensive content.
The annotation process was conducted through CrowdFlower, employing multiple annotators per tweet to ensure reliability. The final labels were assigned through majority voting, with interannotator agreement metrics provided to validate the quality of the annotation. This rigorous annotation process helps ensure the reliability of the ground truth labels used in our experiments. Data quality was maintained through several preprocessing steps, including removing duplicates and retweets while preserving the original tweet content. The dataset provides a balanced representation of different types of offensive content, making it suitable for training and evaluating offensive language detection models. Manual verification was performed on a subset of annotations to ensure consistency and accuracy.
We acknowledge that specific demographic and cultural context information about the tweet authors is not available in the dataset due to privacy considerations, which is a common limitation in social media datasets. However, the diverse nature of Twitter’s user base suggests that the dataset captures a broad spectrum of offensive language usage patterns.
The tweet sample from the dataset shown in Figure 2 presents six distinct columns, each serving a specific purpose in our offensive language detection framework. The primary input for our models is the “tweet” column, which contains the raw text data collected from Twitter. These text data go through our comprehensive preprocessing pipeline before feature extraction. The “count” column provides frequency information about tweet occurrences, offering insights into data distribution patterns. Three annotation-related columns, “hate speech”, “offensive language”, and “neither” contain the counts of how annotators labeled each tweet. These columns provide valuable information about annotator agreement and help in understanding the complexity of classification decisions. While not directly used as input features, these annotation counts serve an important role in data quality assessment and analysis of challenging cases. The final column “class” serves as our target variable, containing the consolidated classification labels derived from the annotation process. This column uses a numerical encoding where 0 represents hate speech, 1 indicates offensive language, and 2 denotes content that is neither hate speech nor offensive. This target variable is used for both model training and evaluation phases of our experiments.

Figure 2.
Description of the dataset.
We also analyzed the text length of tweets from all classes, as shown in Figure 3.

Figure 3.
Description of text length.
3.2. Data Preprocessing
The first stage, text cleaning, handles data standardization by removing duplicates, user mentions (username), URLs, and special characters that might introduce noise into the classification process. This step ensures consistency in the input data format []. The second stage implements text normalization techniques. We convert all text to lowercase to maintain uniformity and apply tokenization to break the text into meaningful units. Also, stop words are removed to focus on content-bearing terms. This normalized representation enhances the quality of subsequent feature extraction. To visualize the most frequent terms in our dataset, we generated a word cloud of offensive class tweets shown in Figure 4, where larger term sizes indicate a higher frequency of occurrence.

Figure 4.
Word cloud of offensive class.
In the final stage, we extract multiple types of features. TF-IDF vectors capture term importance, Word2Vec embeddings represent semantic relationships, VADER provides sentiment context, and readability metrics (FKRA/FRE) quantify text complexity. These diverse features enable our models to capture different aspects of offensive language.
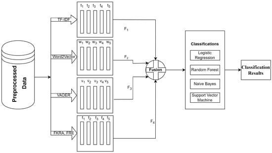
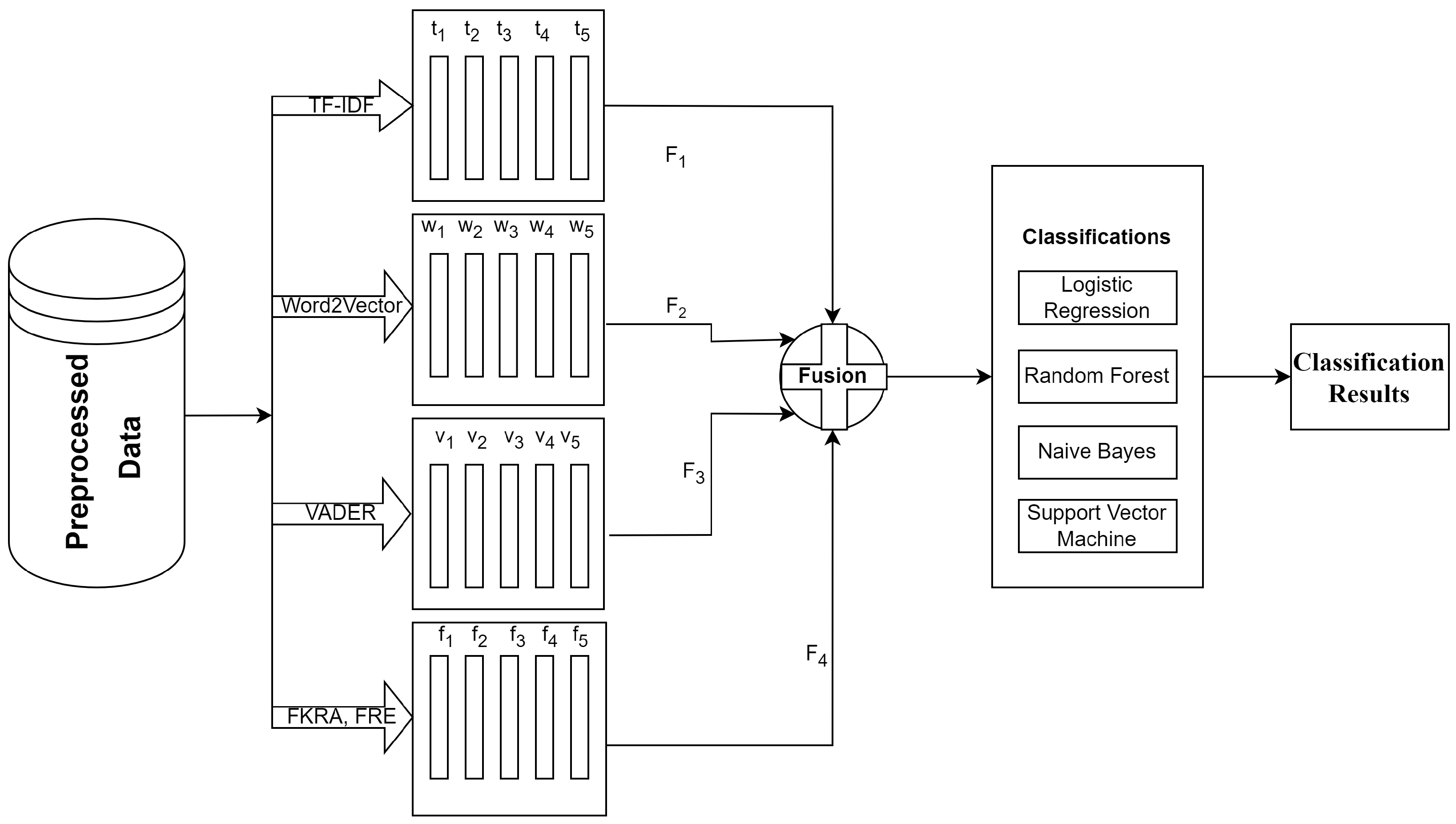
3.3. Proposed Architecture Using Concatenating Features
We have proposed an architecture, shown in Figure 5, in which we have used the TF-IDF, Word2Vec, VADER, and Flesch–Kincaid Readability Assessment (FKRA)/Flesch Reading Ease (FRE) as features with baseline ML model as classifiers according to Algorithm 1. To assess the computational efficiency of our approach, we performed a comprehensive analysis of both time and space complexity for Algorithm 1.
Algorithm 1 Hate Speech Detection using Fusion of Features and Machine Learning Models. |
Input: Dataset containing hate speech and labels Output: Hate speech classification as hate, offensive, or neither hate nor offensive
|

Figure 5.
Proposed architecture using concatenation of features.
Data preprocessing has a time complexity of:
where N represents the number of samples in the dataset.
Text cleaning and normalization process results in:
where L is the average text length.
Feature extraction steps are as follows:
- TF-IDF Calculation:
- Word2Vec Embedding:
- VADER Sentiment Analysis:
- Readability Metrics (FKRA/FRE):
Feature concatenation has a complexity of:
where F is the total dimensionality of the feature space.
Model training complexities are as follows:
- Logistic Regression:
- SVM:
- Random Forest:
- Naive Bayes:
The overall time complexity is dominated by the SVM training phase:
We have performed the analysis of space complexity, which is as follows:
Feature storage requirements are as follows:
- TF-IDF Vectors:
- Word2Vec Embeddings:
- Sentiment Scores:
- Readability Metrics:
Model storage complexities are:
- Linear Models (Logistic Regression, Naive Bayes):
- SVM:
- Random Forest:
The overall space complexity is:
We extracted features from the dataset using TF-IDF, resulting in feature vectors represented as F1 = (t1, t2, t3, …tn). Additionally, we utilized Word2Vec as a feature, capturing semantic relationships between words based on their contextual usage, and represented these features as F2 = (w1, w2, w3, w4, …, wn).
Furthermore, sentiment analysis was conducted using VADER [], wherein sentiment feature vectors were represented as F3 = (v1, v2, v3, v4, …, vn). VADER employs a lexicon-oriented approach to establish labels, applied at the word level, with words evaluated based on their positive or negative sentiment scores.
To enhance readability and assess the complexity of the text, we employed FKRA/FRE metrics. These metrics were utilized as feature vectors, represented as F4 = (f1, f2, f3, f4, …, fn). We have concatenated these feature vectors in multiple combinations (f = F1F2F3, F1F2F4, F2F3F4, and F3F4F1, etc.) for ML model training.
The rationale behind using feature concatenation stems from the complementary nature of different feature types in capturing various aspects of offensive language. Each feature type contributes unique information to our classification task. TF-IDF (f1) captures term importance and relevance in document context, while Word2Vec (f2) represents semantic relationships between words. VADER sentiment scores (f3) provide crucial emotional and sentiment context, and FKRA/FRE metrics (f4) quantify text complexity and readability. By concatenating these features into a single vector f = [f1, f2, f3, f4], we preserve the original information while enabling comprehensive text representation. Our extensive experiments with different combination of characteristics (f = F1F2F3, F1F2F4, F2F3F4, and F3F4F1) demonstrated that TF-IDF, Word2Vec, and sentiment scores are more crucial for classification performance compared to readability metrics.
We have analyzed that some feature vectors are more important and some are less important, such as FKRA/FRE being less important and TF-IDF, Word2Vec, and sentiment score being more important.
3.3.1. Logistic Regression
LR is a statistical method that models a binary dependent variable using a logistic function. This well-known machine learning algorithm has been used in many different contexts [].
We chose Logistic Regression (LR) as our baseline classifier due to its proven effectiveness in text classification tasks and its ability to handle multi-class problems through one-vs.-rest strategy. LR offers several advantages for offensive language detection: interpretability of feature weights, efficient training with large feature sets, and probabilistic outputs that can be threshold-adjusted []. Previous studies have demonstrated its success in hate speech detection, achieving competitive results while maintaining computational efficiency [,]. LR is a statistical method that models a binary dependent variable using a logistic function.
We have defined l2 regularized LR for OLD using Equation (21) as:
The classifier used for classifying test data with labels with weight vector w and other model parameters .
Equation (22) provides the probability estimate for class label , where represents the probability of the class 0 on given input feature f. In the LR model, w denotes weight vector, f is the input feature vector, and is the bias term. Similarly for the other classes, we have calculated the probability using Equations (23) and (24).
3.3.2. Support Vector Machine
Support Vector Machine (SVM) was selected for its robustness in high-dimensional feature spaces, which is particularly relevant for our concatenated feature vectors. SVMs have shown superior performance in text classification tasks where feature spaces are sparse []. Their ability to handle non-linear decision boundaries through kernel functions makes them especially suitable for capturing complex patterns in offensive language [].
We have used SVM due to having a small-size dataset and it assigns data points to the appropriate side of the margin based on the input feature vector f. We have used Equation (25) to determine the belongings of particular data points, where represents the true label of the ith training samples, which can take values of 0, 1, 2. The variable w denotes the weight vector, which is perpendicular to decision boundary. represents the feature vector of ith training samples, and represents the bias term associated with the true label .
3.3.3. Naive Bayes
The inclusion of Naive Bayes (NB) in our framework is motivated by its computational efficiency and effectiveness in text classification tasks. Despite its simple assumption of feature independence, NB has proven remarkably successful in hate speech detection []. Its probabilistic nature aligns well with our multi-feature approach, particularly in handling the uncertainty inherent in offensive language detection. The model can work well in uncertain datasets by calculating the probability of each situation and making decisions with the help of maximum a posteriori estimation.
We have calculated the posterior probabilities of classes using Equation (26).
where, refers to the conditional probability of class label given the input features f. It represents the probability of observing class on a given specific input f, and represents the prior probability of class , which is the probability of randomly selected sample from class without considering the input features f. Similarly, denotes the likelihood or probability of observing the input features f given the class . It represents the probability distribution of the input features f conditioned on class . A decision rule is used to construct the classifier. The class with the highest probability is typically chosen using Equation (27).
where represents the predicted class label, and is an operator that returns the argument (class index X l) that maximizes the given expression. The term denotes the prior probability of class , representing the likelihood of observing class regardless of the input features f. represents the product operator, iterating over the training example from i = 1 to n. denotes the liklihood or probability of observing the input features on given class . Equation (27) states that the predicted class label is determined by selecting the class index l that maximizes the probability and . In other words, we have to choose the class for which the observed input features f are most likely given that class.
3.3.4. Random Forest
Random Forest (RF) was chosen for its ensemble learning capabilities and robust performance across various text classification tasks. The algorithm’s ability to handle non-linear relationships and provide feature importance rankings makes it particularly valuable for understanding the relative contribution of our different feature types []. Previous studies have demonstrated RF’s effectiveness in detecting subtle patterns in offensive language []. This aggregation of trees enhances accuracy compared to a single decision tree classifier while reducing overfitting through ensemble mechanisms.
We have denoted the predictions from the individual trees as , where i represents the tree index and j represents the validation data point index. Each is a predicted class label for the jth validation data point by the ith tree. We have calculated the average prediction across all trees for each validation data point as per Equation (28) and the final prediction was made by taking the average of prediction from all individual trees.
where represents the final predicted class label for the jth validation data point, N represents the total number of individual trees in the RF, and represents the predicted class label for the jth validation data point by the ith tree. Using Equation (28), we have computed the average prediction by summing up the predicted class labels for the jth validation data point from all individual trees () and dividing it by the total number of trees N. This process provides an aggregated prediction by taking into account the collective decisions of all the trees in the RF.
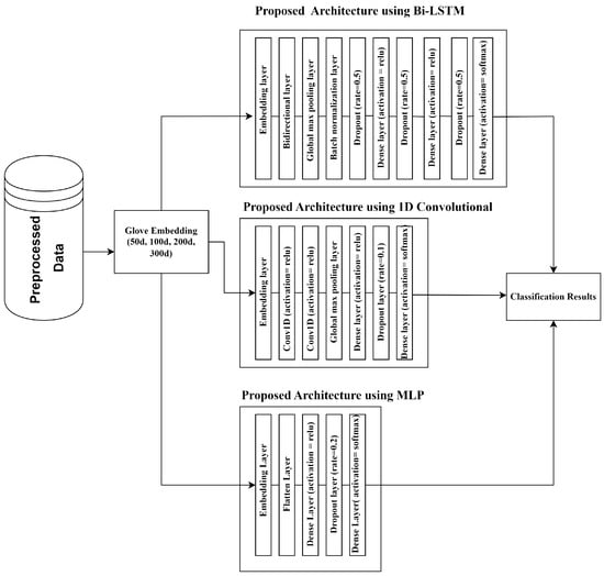
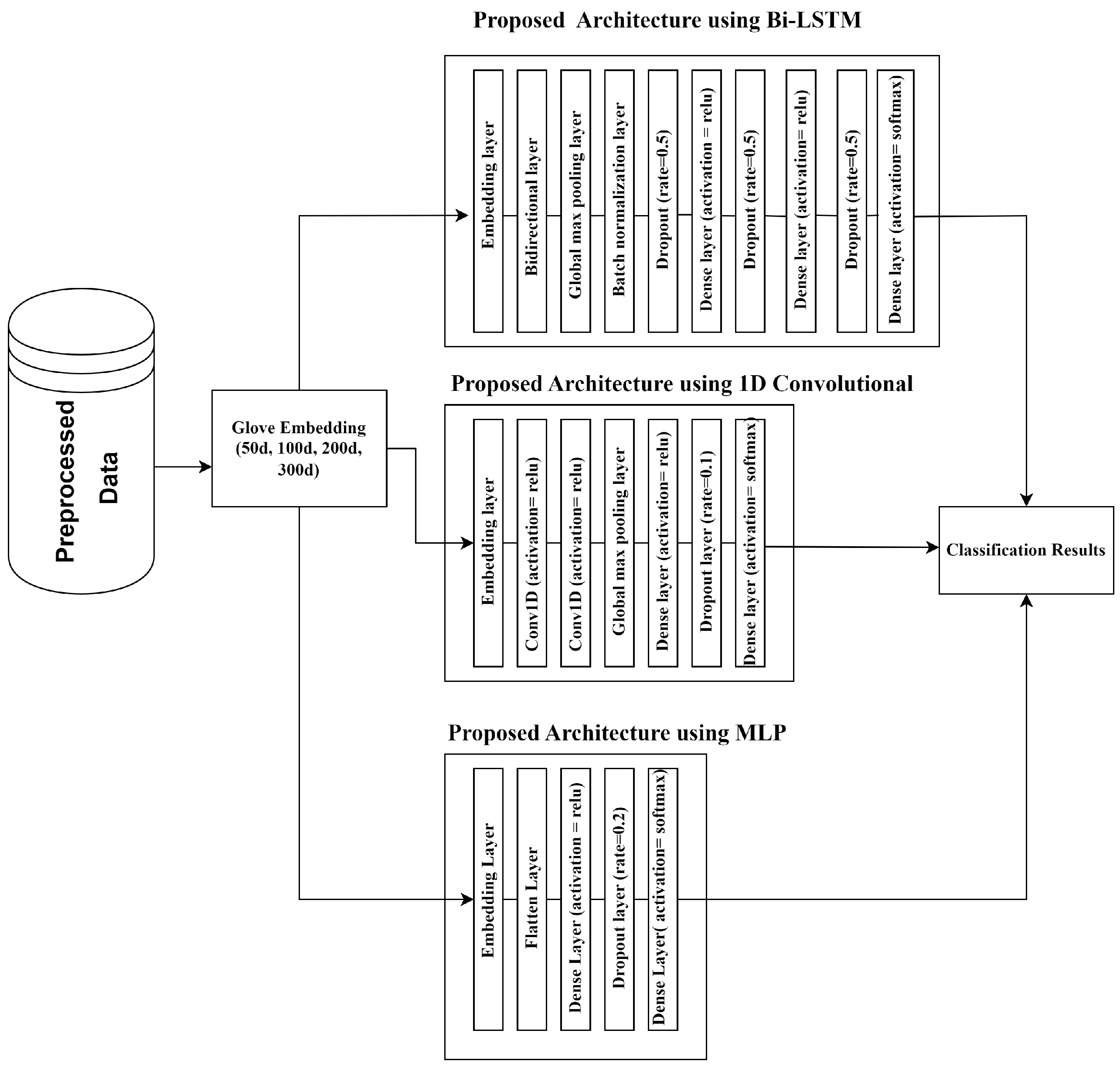
3.4. Proposed Architecture Using GloVe and DL Classifiers
In this section, we presented our proposed architecture using GloVe embeddings of varying dimensions (50d, 100d, 200d, and 300d) with BiLSTM, 1D CNN, and MLP for offensive language detection (OLD), as illustrated in Figure 6. The implementation follows Algorithms 2–4. In the case of the 1D CNN classifier seven-layer architecture, the first layer is the GloVe embedding layer, followed by two convolutional layers with ReLU as activation function, one dense layer with ReLU as activation, and a dropout layer with a rate of 0.1. The final layer is a dense layer with softmax as an activation layer. In the case of BiLSTM, we have used the dense layer (activation function = ReLU), the dropout rate is 0.5, and the classification layer uses softmax as an activation function. Similarly, in the case of the MLP, we have used an embedding layer, a flatten layer, two dense layers (one has ReLU as an activation function and the other has softmax), and a dropout layer with a rate of 0.2.
Algorithm 2 Hate Speech Classification Using GloVe Embedding with BiLSTM. |
Input: Preprocessed data Loop for n epochs:
|

Figure 6.
Proposed architecture using GloVe and DL classifiers.
Algorithm 3 Hate Speech Classification Using GloVe Embedding with 1D Convolution Layer. |
Input: Preprocessed data Loop for n epochs:
|
Algorithm 4 Hate Speech Classification Using GloVe Embedding with MLP. |
Input: Preprocessed data Loop for n epochs:
|
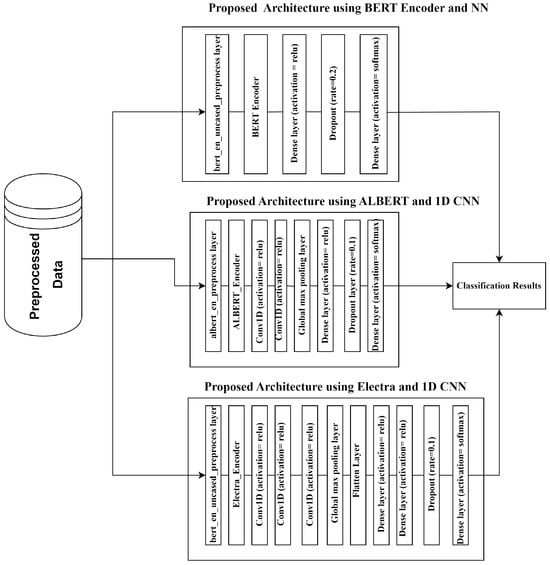
3.5. Proposed Architecture Using BERT and Neural Networks
In this section, we have discussed our proposed architecture that integrates transformer models for text processing, encoding, and classification with neural networks and convolutional layers, as shown in Figure 7.

Figure 7.
Proposed architecture using BERT and neural networks.
3.5.1. ALBERT + CNN
We have implemented a CNN-based classifier model for OLD according to Algorithm 5. In this ALBERT + CNN approach, we have incorporated a pre-trained text preprocessing layer, which performs essential steps such as tokenization and other necessary preprocessing specific to the chosen pre-trained model. Next, we passed the preprocessed text inputs through a pre-trained encoder layer, named ALBERT, which generates contextualized word embeddings or representations. These embeddings capture rich semantic information that aid the model to understand the meaning and context of the text. To extract local patterns and features, two 1-dimensional convolutional layers were applied to the encoded sequence. These convolutional layers used different filter sizes and apply the ReLU activation function, thus enabling them to capture relevant patterns within the text.
Algorithm 5 Hate Speech Classification Using ALBERT Encoder and 1d CNN. |
Input: Preprocessed data
|
Following the convolutional layers, a global max pooling layer is applied to aggregate the extracted features, reducing the sequence length to a fixed-size representation. This pooling operation is designed to prioritize the most significant features throughout the entire input sequence, enhancing the model’s attention to key information. The pooled features are then flattened into a one-dimensional vector for the fully connected layers. These layers further process the features, utilizing a dense layer with 512 units and the ReLU activation function. In order to mitigate overfitting, a dropout layer is incorporated with a dropout rate set at 0.1. Finally, we have used an output layer that consists of a dense layer with softmax activation, producing class probabilities for target classes. In our case, the model is designed to classify inputs into one of the three classes. The combined architecture leverages the power of pre-trained language encoders and convolutional operations to extract relevant features from the input text. This approach enabled the model to capture both local patterns through convolutions and global contextual information through transformers, resulting in improved performance for hate speech and offensive language detection.
3.5.2. BERT + Neural Network
In this approach, we have integrated a neural network with a BERT encoder as specified in Algorithm 6. The model begins with an input layer that expects text inputs of variable length, allowing flexibility for different text sequences. It then incorporates a pre-trained text preprocessing layer, which handles essential initial text processing steps like tokenization. Next, a pre-trained encoder layer known as a BERT encoder is utilized. This encoder processes the preprocessed text inputs and generates contextualized word embeddings or representations, thus capturing the intricate meaning and context of the text.
Algorithm 6 Hate Speech Classification Using BERT Encoder and Neural Network. |
Input: Preprocessed data
|
The encoder’s output is passed through a dense layer with 512 units and ReLU activation, enabling non-linear transformations and facilitating the model’s learning of complex patterns in the data. To prevent overfitting, a dropout layer is incorporated. During the training, this layer randomly drops a fraction (0.2) of the connections within the dense layer, encouraging the model to generalize better and avoid reliance on specific connections. Finally, the model includes an output layer with softmax activation, producing class probabilities for three target classes. The softmax function ensures that the predicted probabilities sum up to 1, representing the model’s confidence in each class. Additionally, an optional output bias initializer can be provided to address class imbalance issues. By leveraging pre-trained encoders, dense layers (with ReLU activation), and dropout regularization, this classifier model excels in processing text inputs and conducting accurate hate speech classification. This approach harnesses the power of contextual embeddings, non-linear transformations, and regularization techniques to effectively comprehend and classify text/tweets.
3.5.3. ELECTRA + CNN
We proposed an architecture following Algorithm 7, which integrates a 1D CNN with an ELECTRA-BERT encoder. The proposed arcitecture begins with an input layer that expects variable-length text inputs and which incorporates a pre-trained text preprocessing layer and handles initial text processing steps such as tokenization and other necessary preprocessing steps tailored to the selected pre-trained model []. The next layer is the encoder layer, named Electra, which is applied to the preprocessed text inputs to generate contextualized word embeddings that help the model to capture semantic information and understand the meaning and context of the text.
Algorithm 7 Hate Speech Classification Using ELECTRA Encoder and 1d CNN. |
Input: Preprocessed data
|
The proposed architecture then employs two 1-dimensional convolutional layers with ReLU activation. These layers capture local patterns within the text and extract meaningful features that contribute to the classification. Following the convolutional layers, a global max pooling layer is used to aggregate the extracted features. This layer selects the maximum value within each receptive field, reducing the sequence length to a fixed-size representation. This pooling operation ensures that the model focuses on the most salient features across the entire input sequence. The pooled features are then flattened into a one-dimensional vector to facilitate further processing. This is followed by fully connected layers, including a dropout layer for regularization purposes, to process the flattened features and learn complex patterns within the data. Finally, the model includes a dense output layer with softmax activation that produces class probabilities for the target classes.
4. Experimental Results
We have proposed three approaches for OLD using the publicly available Davidson dataset, which has three classes (hate, offensive, and neither hate nor offensive). We utilized TF-IDF, Word2Vec, FKRA/FRE, and VADER for feature extraction, incorporating all features for model training and testing. The dataset was split into training (80%) and testing (20%) sets. The models were evaluated using standard metrics: precision (Prc), recall (Rcl), and F1-score (F1). These metrics are calculated as follows:
where TP is true positive, TN is true negative, FP is false positive, and FN represents false negative. The Davidson data are an imbalanced dataset, so we have used F1 as the performance metric of the model. We have a table showing various evaluation metrics for different models on the Davidson dataset. The models were trained with different feature combinations, including TF-IDF, VADER sentiment scores, Word2Vec embeddings, and linguistic features (FKRA/FRE). The evaluation metrics include Prc, Rcl, and F1, both in terms of macro and weighted averages.
The performance analysis using TF-IDF features, presented in Table 1, shows promising results with Weighted Average F1 scores of 0.89, 0.88, 0.70, and 0.89 for Random Forest (RF), Logistic Regression (LR), Naive Bayes (NB), and Support Vector Machine (SVM) classifiers, respectively.

Table 1.
Results of the ML models used.
Incorporating sentiment scores with TF-IDF features enhanced model performance. Logistic Regression and Random Forest achieved F1-macro scores of 0.69 and F1-weighted scores of 0.89. Naive Bayes showed improvement with F1-macro of 0.50 and F1-weighted of 0.70, while SVM maintained strong performance with F1-macro of 0.70 and F1-weighted of 0.89.
The integration of Word2Vec embeddings with TF-IDF and VADER features produced varying performance across classifiers. LR and RF showed F1-macro scores ranging from 0.62 to 0.68 and F1-weighted scores of 0.86 to 0.88. NB maintained consistent performance (F1-Macro: 0.50, F1-Weighted: 0.70), while SVM demonstrated improved results with F1-macro of 0.71 and F1-weighted of 0.89.
Our analysis of the Davidson dataset reveals that feature selection and model choice significantly influence classification performance. Support Vector Machine (SVM) consistently achieves strong performance across feature combinations, maintaining F1-weighted scores of 0.89. The addition of VADER sentiment features improves model performance, particularly for SVM and Random Forest classifiers. However, readability metrics (FKRA/FRE) show minimal impact on offensive language detection performance, suggesting their limited utility.
Focusing on balanced model performance, the combination of TF-IDF and VADER features yields optimal results across classifiers. SVM and RF achieve F1-weighted scores of 0.89, demonstrating strong precision–recall balance, while LR shows comparable performance with an F1-weighted score of 0.88.
We evaluated different combinations of GloVe word embeddings (dimensions: 50d, 100d, 200d, and 300d) with three neural network architectures (BiLSTM, CNN, MLP) on the Davidson dataset, as shown in Table 2. The 50d GloVe embeddings resulted in F1 scores between 0.84 and 0.87 across architectures, where BiLSTM and CNN performed better than MLP. Similarly, 100d embeddings produced F1 scores of 0.84–0.88, with BiLSTM and CNN again outperforming MLP.

Table 2.
Results of the GloVe embedding with DL model.
Using 200d GloVe embeddings, the CNN architecture reached an F1 score of 0.89, higher than both BiLSTM and MLP (F1: 0.84–0.85). The CNN model with 300d embeddings produced an F1 score of 0.88, with BiLSTM and MLP reaching F1 scores between 0.86 and 0.87. The CNN model with 200d GloVe embeddings achieved the highest F1 score (0.89) with balanced precision–recall, and the BiLSTM model reached its peak performance with 100d embeddings (F1: 0.87).
As per the results in Table 3, “bert encased preprocess/1 + small bert/L4H512A8/1 + neural network layers” has the highest Macro F1 of 0.72. The “bert encased preprocess/1 + small bert/L4H512A8/1 + neural network layers” and “bert encased preprocess/1 + electra small/2 + cnn” have the highest weighted average F1 of 0.90. The “bert encased preprocess/1 + small bert/L4H512A8/1 + neural network layers” model appears to perform well in terms of both macro and weighted average F1, indicating a good balance between precision and recall for both macro-average and weighted-average cases. The “albert en base/2 + albert encoder + cnn” model has a lower macro F1 (0.50), suggesting that it have imbalanced performance in terms of precision and recall for different classes. The “bert encased preprocess/1 + small bert/L4H512A8/1 + cnn” demonstrated consistent performance in terms of both macro and weighted average F1. The “bert encased preprocess/1 + small bert/L4H512A8/1 + neural network layers” provided a balanced performance across both metrics.

Table 3.
Results of the transformer models used.
We have analyzed both existing research results and our findings as shown in Table 4. To determine the best model for OLD, we prioritized balanced performance. This balance is crucial for accurately identifying offensive content (high precision) while capturing as many offensive instances as possible (high recall).

Table 4.
Comparisons of performance of our approach with existing models.
However, when considering OLD, having high F1, especially the weighted average F1, is crucial because it accounts for class imbalances. Based on weighted average F1, the models “bert encased preprocess/1 + small bert/L4H512A8/1 + neural network layers” and “bert encased preprocess/1 + electra small/2 + cnn” have the highest score of 0.90, indicating strong performance in the presence of class imbalances. Therefore, for offensive speech detection, the “bert encased preprocess/1 + small bert/L4H512A8/1 + neural network layers” model and the “bert encased preprocess/1 + electra small/2 + cnn” model are the best among our proposed approach. Our innovative approach, fusing features, embedding techniques, and a transformer model, distinguishes our work in the field. The analysis highlights the significance of context in offensive speech detection. Consequently, we incorporated context using various approaches. Models enriched with context proved beneficial in detection tasks.
5. Discussion
In our approach, we have integrated diverse features aimed at capturing various aspects of offensive language, such as semantic information, sentiment, and readability. However, we have encountered challenges in capturing intricate contextual nuances, primarily due to the reliance on handcrafted features and potentially oversimplified text representations. To address this, we experimented with DL models utilizing GloVe embeddings, which can effectively capture semantic nuances in the offensive language by leveraging contextual information encoded in the embedding. Despite their strengths, these models may struggle in capturing long-range dependencies and subtle contextual nuances present in the offensive language. Consequently, we further explored transformer-based models, which excelled in capturing contextual nuances, enabling them to understand the subtleties of offensive language usage. By fine-tuning these models on offense detection tasks, we observed improved accuracy in distinguishing offensive language from non-offensive language. However, it is important to note that transformer-based models may necessitate significant computational resources for training and fine-tuning.
In our approach to offensive language detection, we carefully selected features tailored to effectively capture the nuances of offensive content. TF-IDF [] vectors were chosen for their ability to highlight the importance of terms within individual documents relative to a larger corpus. This allows us to identify terms that are distinctive to offensive language, aiding in distinguishing offensive content from non-offensive content based on the frequency and uniqueness of certain terms. Word2Vec [] embeddings were incorporated to provide dense vector representations of words based on their contextual usage. By capturing semantic relationships between words, Word2Vec embeddings enable the model to understand the context in which offensive language is used, thereby enhancing its ability to discern offensive content. Sentiment analysis [] was integrated to assign sentiment scores to text, allowing the model to identify text with negative sentiment, which is more likely to contain offensive language. This feature serves as an additional indicator of offensive language by considering the underlying emotional tone conveyed by the text. FKRA/FRE [] scores were included to measure the readability of text, as offensive language may exhibit distinct readability patterns. By capturing these readability differences, the model can use them as additional indicators of offensive language, further improving its detection capabilities.
In our second approach of utilizing GloVe embeddings [], we leveraged their ability to provide distributed representations of words based on their co-occurrence statistics. By capturing semantic relationships between words, GloVe embeddings allow the model to understand the meaning and context of language, aiding in distinguishing offensive language from non-offensive language based on the underlying meanings conveyed by words.
Similarly, our third approach employed BERT, ALBERT, and ELECTRA, and each model was chosen for its specific strengths in capturing contextual information and handling offensive language nuances []: BERT’s bidirectional training objective, ALBERT’s parameter-efficient modifications, and ELECTRA’s novel pre-training task; all models contributed to enhancing the models’ ability to understand the context in which offensive language occurs, thereby improving offensive language detection accuracy.
Algorithm 8 demonstrates the process for OLD (Offensive Language Detection) on social networks, including steps for preprocessing, feature extraction, and training using traditional machine learning, deep learning, and transformer-based models. We opted for BERT, ALBERT, and ELECTRA BERT due to their consistent performance across various NLP tasks, indicating their efficacy in handling complex language understanding tasks. Their pre-trained representations learned on large text corpora facilitate efficient transfer learning to offensive language detection, requiring minimal annotated data for fine-tuning. These transformer-based models excel in capturing contextual nuances, crucial for accurately detecting offensive language. Their attention mechanisms enable them to consider both local and global context, enhancing their understanding of offensive language usage patterns. Moreover, their sub-word tokenization techniques effectively handle non-standard language elements like slang and misspellings commonly found in offensive content. This ensures robust performance even in the presence of out-of-vocabulary words.
Algorithm 8 OLD on Social Network. |
Input:
|
The widespread adoption of BERT, ALBERT, and ELECTRA BERT in both research and industry circles provides access to abundant resources, pre-trained models, and fine-tuning strategies tailored for offensive language detection tasks. While our current study demonstrates strong performance across multiple approaches on the Davidson dataset (with F1-scores of 0.89 for feature fusion with ML models and GloVe with DL models, and 0.90 for transformer-based models), we recognize certain limitations in the statistical validation of our results. Specifically, our study does not yet include comprehensive statistical analyses such as F-tests and N-tests that would enhance the robustness of performance comparisons. Additionally, metrics such as the mean and standard deviation of performance results, confidence intervals, and statistical significance tests between different models were not computed.
6. Conclusions and Future Work
We have employed various approaches for offensive language detection in our study. The first approach utilizes baseline ML models, including RF, LR, SVM, and Naive Bayes, coupled with different feature extraction techniques such as TF-IDF, Word2Vec, FKRA/FRE, and VADER sentiment scores. In the second approach, we explored the use of GloVe embeddings with varying dimensions, such as 50d, 100d, 200d, and 300d, in combination with 1D Convolutional Neural Networks (1D CNN) and MLP for the task. In the third proposed approach, we incorporated a transformer model as an encoder and combined it with DL models to classify OL. In this approach, we have included BERT base model as preprocessor and encoder, which helped in capturing the context for addressing the problem. Our work focuses on efficient automatic detection of OL. We initially explored the importance of features using baseline ML models and subsequently conducted experiments with DL models and transformer encoders to analyze the results. Our findings emphasized the pivotal role of features in the detection of OL, also highlighting the effectiveness of embedding-based features. However, it is essential to acknowledge potential biases in embedding features. The transformer model proved to be highly efficient in this task, but it comes with trade-offs such as longer training time and increased memory requirements. Our research serves as a valuable baseline and provides insights for future work in the realm of enhancing the efficient detection of OL.
We recommend considering user-specific features to improve detection accuracy. Additionally, there is room for further research in detecting implicit hate and identifying the target of OL. Some other future work plans include the exploration of quantization techniques in conjunction with Large Language Models (LLMs) to enhance the efficient detection of OL. Additionally, we aim to tackle the issue of limited dataset availability by fine-tuning LLMs with smaller datasets, potentially mitigating the challenges presented due to the scarcity of large datasets in this domain.
Quantization techniques [] involve reducing the precision of model parameters, which decreases memory usage and computational requirements during inference without significant performance loss. Applying quantization to transformer-based models like BERT, ALBERT, and ELECTRA BERT can enhance efficiency by reducing their memory footprint, enabling deployment on resource-constrained platforms like mobile or edge devices. Though quantization may slightly degrade performance, careful optimization can mitigate this impact.
Fine-tuning LLMs [] involves updating pre-trained model parameters on a task-specific dataset with few labeled examples. This adaptation allows the model to learn domain-specific offensive language patterns, leveraging pre-trained knowledge. Fine-tuning with smaller datasets is particularly beneficial when annotated data are limited or expensive to obtain. Despite limited data, fine-tuning can significantly improve offensive language detection performance by adapting pre-trained representations to the target domain’s nuances. However, regularization techniques are essential to prevent overfitting.
Author Contributions
Conceptualization, A.Y. and V.S.; methodology, A.Y.; software, A.Y.; validation, F.A.K., A.Y. and V.S.; formal analysis, A.Y.; investigation, A.Y., F.A.K. and V.S.; resources, F.A.K.; data curation, A.Y. and V.S.; writing—original draft preparation, A.Y.; writing—review and editing, F.A.K. and V.S.; visualization, A.Y.; supervision, V.S.; project administration, F.A.K.; funding acquisition, F.A.K. All authors have read and agreed to the published version of the manuscript.
Funding
The funding for this work was provided by King Saud University, Riyadh, Saudi Arabia, under Researchers Supporting Project number RSPD2024R1062.
Institutional Review Board Statement
Not applicable.
Informed Consent Statement
Not applicable.
Data Availability Statement
The raw data supporting the conclusions of this article will be made available by the authors on request.
Acknowledgments
This work was supported by Researchers Supporting Project No. (RSPD2024R1062), King Saud University, Riyadh, Saudi Arabia. The authors are also grateful to the Ministry of Education, India, and the Indian Institute of Information Technology, Allahabad, for providing the necessary materials to complete this work.
Conflicts of Interest
The authors declare no conflicts of interest. The authors unequivocally state that they have no identifiable financial conflicts of interest or personal affiliations that could have reasonably affected the integrity of the research as presented in this paper.
References
- Waseem, Z. Are you a racist or am i seeing things? Annotator influence on hate speech detection on twitter. In Proceedings of the First Workshop on NLP and Computational Social Science, Austin, TX, USA, 5 November 2016; pp. 138–142. [Google Scholar]
- Derhab, A.; Alawwad, R.; Dehwah, K.; Tariq, N.; Khan, F.A.; Al-Muhtadi, J. Tweet-based bot detection using big data analytics. IEEE Access 2021, 9, 65988–66005. [Google Scholar] [CrossRef]
- Fortuna, P.; Nunes, S. A survey on automatic detection of hate speech in text. ACM Comput. Surv. (CSUR) 2018, 51, 1–30. [Google Scholar] [CrossRef]
- Mirza, N.A.S.; Abbas, H.; Khan, F.A.; Al Muhtadi, J. Anticipating Advanced Persistent Threat (APT) countermeasures using collaborative security mechanisms. In Proceedings of the 2014 International Symposium on Biometrics and Security Technologies (ISBAST), Kuala Lumpur, Malaysia, 26–27 August 2014; IEEE: Piscataway, NJ, USA, 2014; pp. 129–132. [Google Scholar]
- Guan, K.W.; Salminen, J.; Jung, S.G.; Jansen, B.J. Leveraging Personas for Social Impact: A Review of Their Applications to Social Good in Design. Int. J. Hum.—Comput. Interact. 2024, 40, 5569–5584. [Google Scholar] [CrossRef]
- Gandhi, A.; Ahir, P.; Adhvaryu, K.; Shah, P.; Lohiya, R.; Cambria, E.; Poria, S.; Hussain, A. Hate speech detection: A comprehensive review of recent works. Expert Syst. 2024, 41, e13562. [Google Scholar] [CrossRef]
- Ali, H.; Khan, F.A. Attributed multi-objective comprehensive learning particle swarm optimization for optimal security of networks. Appl. Soft Comput. 2013, 13, 3903–3921. [Google Scholar] [CrossRef]
- Vidgen, B.; Derczynski, L. Directions in abusive language training data, a systematic review: Garbage in, garbage out. PLoS ONE 2020, 15, e0243300. [Google Scholar] [CrossRef]
- Mozafari, M.; Farahbakhsh, R.; Crespi, N. A BERT-based transfer learning approach for hate speech detection in online social media. In Complex Networks and Their Applications VIII: Volume 1 Proceedings of the Eighth International Conference on Complex Networks and Their Applications COMPLEX NETWORKS 2019; Springer: Cham, Switzerland, 2020; pp. 928–940. [Google Scholar]
- Al Muhtadi, J.; Alamri, R.A.; Khan, F.A.; Saleem, K. Subjective logic-based trust model for fog computing. Comput. Commun. 2021, 178, 221–233. [Google Scholar] [CrossRef]
- Djuric, N.; Zhou, J.; Morris, R.; Grbovic, M.; Radosavljevic, V.; Bhamidipati, N. Hate speech detection with comment embeddings. In Proceedings of the 24th International Conference on World Wide Web, Florence, Italy, 18–22 May 2015; pp. 29–30. [Google Scholar]
- Unsvåg, E.F.; Gambäck, B. The effects of user features on Twitter hate speech detection. In Proceedings of the 2nd Workshop on Abusive Language Online (ALW2), Brussels, Belgium, 31 October–1 November 2018; pp. 75–85. [Google Scholar]
- Sadiq, S.; Mehmood, A.; Ullah, S.; Ahmad, M.; Choi, G.S.; On, B.W. Aggression detection through deep neural model on twitter. Future Gener. Comput. Syst. 2021, 114, 120–129. [Google Scholar] [CrossRef]
- Safaya, A.; Abdullatif, M.; Yuret, D. Kuisail at semeval-2020 task 12: Bert-cnn for offensive speech identification in social media. arXiv 2020, arXiv:2007.13184. [Google Scholar]
- Dai, W.; Yu, T.; Liu, Z.; Fung, P. Kungfupanda at semeval-2020 task 12: Bert-based multi-task learning for offensive language detection. arXiv 2020, arXiv:2004.13432. [Google Scholar]
- Jahan, M.S.; Oussalah, M. A systematic review of Hate Speech automatic detection using Natural Language Processing. Neurocomputing 2023, 546, 126232. [Google Scholar] [CrossRef]
- Nandi, A.; Sarkar, K.; Mallick, A.; De, A. A survey of hate speech detection in Indian languages. Soc. Netw. Anal. Min. 2024, 14, 70. [Google Scholar] [CrossRef]
- Davidson, T.; Warmsley, D.; Macy, M.; Weber, I. Automated hate speech detection and the problem of offensive language. In Proceedings of the International AAAI Conference on Web and Social Media, Montreal, QC, Canada, 15–18 May 2017; Volume 11, pp. 512–515. [Google Scholar]
- Nobata, C.; Tetreault, J.; Thomas, A.; Mehdad, Y.; Chang, Y. Abusive language detection in online user content. In Proceedings of the 25th International Conference on World Wide Web, Montreal, QC, Canada, 11–15 May 2016; pp. 145–153. [Google Scholar]
- Mishra, P.; Yannakoudakis, H.; Shutova, E. Tackling online abuse: A survey of automated abuse detection methods. arXiv 2019, arXiv:1908.06024. [Google Scholar]
- Schmidt, A.; Wiegand, M. A survey on hate speech detection using natural language processing. In Proceedings of the Fifth International Workshop on Natural Language Processing for Social Media, Valencia, Spain, 3–4 April 2017; pp. 1–10. [Google Scholar]
- Al-Hassan, A.; Al-Dossari, H. Detection of hate speech in social networks: A survey on multilingual corpus. In Proceedings of the 6th International Conference on Computer Science and Information Technology, Dubai, United Arab Emirates, 23–24 February 2019; Volume 10, pp. 83–100. [Google Scholar]
- Poletto, F.; Basile, V.; Sanguinetti, M.; Bosco, C.; Patti, V. Resources and benchmark corpora for hate speech detection: A systematic review. Lang. Resour. Eval. 2021, 55, 477–523. [Google Scholar] [CrossRef]
- Tsapatsoulis, N.; Anastasopoulou, V. Cyberbullies in Twitter: A focused review. In Proceedings of the 2019 14th International Workshop on Semantic and Social Media Adaptation and Personalization (SMAP), Larnaca, Cyprus, 9–10 June 2019; IEEE: Piscataway, NJ, USA, 2019; pp. 1–6. [Google Scholar]
- Korre, K.; Pavlopoulos, J.; Sorensen, J.; Laugier, L.; Androutsopoulos, I.; Dixon, L.; Barrón-Cedeño, A. Harmful Language Datasets: An Assessment of Robustness. In Proceedings of the 7th Workshop on Online Abuse and Harms (WOAH), Toronto, ON, Canada, 13 July 2023; pp. 221–230. [Google Scholar]
- Pradhan, R.; Chaturvedi, A.; Tripathi, A.; Sharma, D.K. A review on offensive language detection. Adv. Data Inf. Sci. 2020, 94, 433–439. [Google Scholar]
- Vidgen, B.; Yasseri, T. Detecting weak and strong Islamophobic hate speech on social media. J. Inf. Technol. Politics 2020, 17, 66–78. [Google Scholar] [CrossRef]
- Frenda, S.; Ghanem, B.; Montes-y Gómez, M.; Rosso, P. Online hate speech against women: Automatic identification of misogyny and sexism on twitter. J. Intell. Fuzzy Syst. 2019, 36, 4743–4752. [Google Scholar] [CrossRef]
- Fersini, E.; Rosso, P.; Anzovino, M. Overview of the task on automatic misogyny identification at IberEval 2018. Ibereval@ Sepln 2018, 2150, 214–228. [Google Scholar]
- Fersini, E.; Nozza, D.; Rosso, P. AMI@ EVALITA2020: Automatic misogyny identification. In Proceedings of the 7th Evaluation Campaign of Natural Language Processing and Speech tools for Italian (EVALITA 2020), Online, 17 December 2020. [Google Scholar]
- Waseem, Z.; Hovy, D. Hateful symbols or hateful people? Predictive features for hate speech detection on twitter. In Proceedings of the NAACL Student Research Workshop, San Diego, CA, USA, 13–15 June 2016; pp. 88–93. [Google Scholar]
- Saha, P.; Mathew, B.; Goyal, P.; Mukherjee, A. Hateminers: Detecting hate speech against women. arXiv 2018, arXiv:1812.06700. [Google Scholar]
- Vega, L.E.A.; Reyes-Magaña, J.C.; Gómez-Adorno, H.; Bel-Enguix, G. MineriaUNAM at SemEval-2019 task 5: Detecting hate speech in Twitter using multiple features in a combinatorial framework. In Proceedings of the 13th International Workshop on Semantic Evaluation, Minneapolis, MN, USA, 6–7 June 2019; pp. 447–452. [Google Scholar]
- Bouazizi, M.; Ohtsuki, T.O. A pattern-based approach for sarcasm detection on twitter. IEEE Access 2016, 4, 5477–5488. [Google Scholar] [CrossRef]
- Sharma, M.; Kandasamy, I.; Kandasamy, V. Deep Learning for predicting neutralities in Offensive Language Identification Dataset. Expert Syst. Appl. 2021, 185, 115458. [Google Scholar] [CrossRef]
- Sharif, O.; Hoque, M.M. Tackling cyber-aggression: Identification and fine-grained categorization of aggressive texts on social media using weighted ensemble of transformers. Neurocomputing 2022, 490, 462–481. [Google Scholar] [CrossRef]
- Liu, J.; Yang, Y.; Fan, X.; Ren, G.; Yang, L.; Ning, Q. Offensive-Language Detection on Multi-Semantic Fusion Based on Data Augmentation. Appl. Syst. Innov. 2022, 5, 9. [Google Scholar] [CrossRef]
- Wadud, M.A.H.; Kabir, M.M.; Mridha, M.; Ali, M.A.; Hamid, M.A.; Monowar, M.M. How can we manage offensive text in social media-a text classification approach using LSTM-BOOST. Int. J. Inf. Manag. Data Insights 2022, 2, 100095. [Google Scholar] [CrossRef]
- Gambäck, B.; Sikdar, U.K. Using convolutional neural networks to classify hate-speech. In Proceedings of the First Workshop on Abusive Language Online, Vancouver, BC, Canada, 4 August 2017; pp. 85–90. [Google Scholar]
- Al-Hussaeni, K.; Sameer, M.; Karamitsos, I. The Impact of Data Pre-Processing on Hate Speech Detection in a Mix of English and Hindi–English (Code-Mixed) Tweets. Appl. Sci. 2023, 13, 11104. [Google Scholar] [CrossRef]
- Agarwal, S.; Chowdary, C.R. Combating hate speech using an adaptive ensemble learning model with a case study on COVID-19. Expert Syst. Appl. 2021, 185, 115632. [Google Scholar] [CrossRef]
- Modha, S.; Majumder, P.; Patel, D. DA-LD-Hildesheim at SemEval-2019 task 6: Tracking offensive content with deep learning using shallow representation. In Proceedings of the 13th International Workshop on Semantic Evaluation, Minneapolis, MN, USA, 6–7 June 2019; pp. 577–581. [Google Scholar]
- Zampieri, M.; Malmasi, S.; Nakov, P.; Rosenthal, S.; Farra, N.; Kumar, R. Semeval-2019 task 6: Identifying and categorizing offensive language in social media (offenseval). arXiv 2019, arXiv:1903.08983. [Google Scholar]
- Mazari, A.C.; Boudoukhani, N.; Djeffal, A. BERT-based ensemble learning for multi-aspect hate speech detection. Cluster Comput. 2024, 27, 325–339. [Google Scholar] [CrossRef]
- Mukherjee, S.; Das, S. Application of transformer-based language models to detect hate speech in social media. J. Comput. Cogn. Eng. 2023, 2, 278–286. [Google Scholar] [CrossRef]
- Fazil, M.; Khan, S.; Albahlal, B.M.; Alotaibi, R.M.; Siddiqui, T.; Shah, M.A. Attentional multi-channel convolution with bidirectional LSTM cell toward hate speech prediction. IEEE Access 2023, 11, 16801–16811. [Google Scholar] [CrossRef]
- Mundra, S.; Mittal, N. CMHE-AN: Code mixed hybrid embedding based attention network for aggression identification in hindi english code-mixed text. Multimed. Tools Appl. 2023, 82, 11337–11364. [Google Scholar] [CrossRef]
- Yuan, L.; Wang, T.; Ferraro, G.; Suominen, H.; Rizoiu, M.A. Transfer learning for hate speech detection in social media. J. Comput. Soc. Sci. 2023, 6, 1081–1101. [Google Scholar] [CrossRef]
- Masud, S.; Charaborty, T. Political mud slandering and power dynamics during Indian assembly elections. Soc. Netw. Anal. Min. 2023, 13, 108. [Google Scholar] [CrossRef]
- Sharif, W.; Abdullah, S.; Iftikhar, S.; Al-Madani, D.; Mumtaz, S. Enhancing Hate Speech Detection in the Digital Age: A Novel Model Fusion Approach Leveraging a Comprehensive Dataset. IEEE Access 2024, 12, 27225–27236. [Google Scholar] [CrossRef]
- Krishnan, S. Detecting Online Hate Speech: Approaches Using Weak Supervision and Network Embedding Models. In Social, Cultural, and Behavioral Modeling: 13th International Conference, SBP-BRiMS 2020, Washington, DC, USA, 18–21 October 2020; Proceedings 13; Springer: Cham, Switzerland, 2020; pp. 202–212. [Google Scholar]
- Vashistha, N.; Zubiaga, A. Online multilingual hate speech detection: Experimenting with Hindi and English social media. Information 2020, 12, 5. [Google Scholar] [CrossRef]
- Davidson. Hate Speech Offensive Tweets by Davidson et al. 2020. Available online: https://www.kaggle.com/datasets/eldrich/hate-speech-offensive-tweets-by-davidson-et-al (accessed on 10 February 2024).
- Jansen, B.J.; Aldous, K.K.; Salminen, J.; Almerekhi, H.; Jung, S.G. Data Preprocessing. In Understanding Audiences, Customers, and Users via Analytics: An Introduction to the Employment of Web, Social, and Other Types of Digital People Data; Springer Nature: Cham, Switzerland, 2024; pp. 65–75. [Google Scholar] [CrossRef]
- Hutto, C.; Gilbert, E. Vader: A parsimonious rule-based model for sentiment analysis of social media text. In Proceedings of the International AAAI Conference on Web and Social Media, Ann Arbor, MI, USA, 1–4 June 2014; Volume 8, pp. 216–225. [Google Scholar]
- Gröndahl, T.; Pajola, L.; Juuti, M.; Conti, M.; Asokan, N. All you need is “love” evading hate speech detection. In Proceedings of the 11th ACM Workshop on Artificial Intelligence and Security, Toronto, ON, Canada, 15–19 October 2018; pp. 2–12. [Google Scholar]
- Pradeepa, S.; Jomy, E.; Vimal, S.; Hassan, M.M.; Dhiman, G.; Karim, A.; Kang, D. HGATT_LR: Transforming review text classification with hypergraphs attention layer and logistic regression. Sci. Rep. 2024, 14, 19614. [Google Scholar] [CrossRef] [PubMed]
- Hua, J.; Sun, D.; Hu, Y.; Wang, J.; Feng, S.; Wang, Z. Heterogeneous Graph-Convolution-Network-Based Short-Text Classification. Appl. Sci. 2024, 14, 2279. [Google Scholar] [CrossRef]
- Srivastava, N.D.; Sharma, Y. Combating online hate: A comparative study on identification of hate speech and offensive content in social media text. In Proceedings of the 2020 IEEE Recent Advances in Intelligent Computational Systems (RAICS), Thiruvananthapuram, India, 3–5 December 2020; IEEE: Piscataway, NJ, USA, 2020; pp. 47–52. [Google Scholar]
- Rawat, A.; Kumar, S.; Samant, S.S. Hate speech detection in social media: Techniques, recent trends, and future challenges. Wiley Interdiscip. Rev. Comput. Stat. 2024, 16, e1648. [Google Scholar] [CrossRef]
- Agarwal, A.; Kenney, A.M.; Tan, Y.S.; Tang, T.M.; Yu, B. MDI+: A flexible random forest-based feature importance framework. arXiv 2023, arXiv:2307.01932. [Google Scholar]
- Clark, K.; Luong, M.T.; Le, Q.V.; Manning, C.D. Electra: Pre-training text encoders as discriminators rather than generators. arXiv 2020, arXiv:2003.10555. [Google Scholar]
- Watanabe, H.; Bouazizi, M.; Ohtsuki, T. Hate speech on twitter: A pragmatic approach to collect hateful and offensive expressions and perform hate speech detection. IEEE Access 2018, 6, 13825–13835. [Google Scholar] [CrossRef]
- Khan, M.U.; Abbas, A.; Rehman, A.; Nawaz, R. Hateclassify: A service framework for hate speech identification on social media. IEEE Internet Comput. 2020, 25, 40–49. [Google Scholar] [CrossRef]
- Barbieri, F.; Camacho-Collados, J.; Neves, L.; Espinosa-Anke, L. Tweeteval: Unified benchmark and comparative evaluation for tweet classification. arXiv 2020, arXiv:2010.12421. [Google Scholar]
- Qureshi, K.A.; Sabih, M. Un-compromised credibility: Social media based multi-class hate speech classification for text. IEEE Access 2021, 9, 109465–109477. [Google Scholar] [CrossRef]
- Wu, H.C.; Luk, R.W.P.; Wong, K.F.; Kwok, K.L. Interpreting TF-IDF term weights as making relevance decisions. ACM Trans. Inf. Syst. (TOIS) 2008, 26, 1–37. [Google Scholar] [CrossRef]
- Church, K.W. Word2Vec. Nat. Lang. Eng. 2017, 23, 155–162. [Google Scholar] [CrossRef]
- Sigurbergsson, G.I.; Derczynski, L. Offensive language and hate speech detection for Danish. arXiv 2019, arXiv:1908.04531. [Google Scholar]
- Lipovetsky, S. Readability indices structure and optimal features. Axioms 2023, 12, 421. [Google Scholar] [CrossRef]
- Pennington, J.; Socher, R.; Manning, C.D. Glove: Global vectors for word representation. In Proceedings of the 2014 Conference on Empirical Methods in Natural Language Processing (EMNLP), Doha, Qatar, 25–29 October 2014; pp. 1532–1543. [Google Scholar]
- Devlin, J.; Chang, M.W.; Lee, K.; Toutanova, K. Bert: Pre-training of deep bidirectional transformers for language understanding. arXiv 2018, arXiv:1810.04805. [Google Scholar]
- Xi, H.; Li, C.; Chen, J.; Zhu, J. Training transformers with 4-bit integers. Adv. Neural Inf. Process. Syst. 2023, 36, 49146–49168. [Google Scholar]
- Yang, H.; Zhang, Y.; Xu, J.; Lu, H.; Heng, P.A.; Lam, W. Unveiling the Generalization Power of Fine-Tuned Large Language Models. arXiv 2024, arXiv:2403.09162. [Google Scholar]
Disclaimer/Publisher’s Note: The statements, opinions and data contained in all publications are solely those of the individual author(s) and contributor(s) and not of MDPI and/or the editor(s). MDPI and/or the editor(s) disclaim responsibility for any injury to people or property resulting from any ideas, methods, instructions or products referred to in the content. |
© 2024 by the authors. Licensee MDPI, Basel, Switzerland. This article is an open access article distributed under the terms and conditions of the Creative Commons Attribution (CC BY) license (https://creativecommons.org/licenses/by/4.0/).