Next Article in Journal
Construction of Green Space Ecological Network in Xiongan New Area Based on the MSPA–InVEST–MCR Model
Previous Article in Journal
Quantum Private Comparison Based on Four-Particle Cluster State
Previous Article in Special Issue
Spectral and Wavelet Analysis in the Assessment of the Impact of Corrosion on the Structural Integrity of Mining Equipment
 
 
Font Type:
Arial Georgia Verdana
Font Size:
Aa Aa Aa
Line Spacing:
Column Width:
Background:
Article

Assessment of Hoisting Conveyance Guiding Forces Based on Field Acceleration Measurements and Numerical Simulation

by
Przemysław Fiołek
and
Jacek Jakubowski
*
Department of Civil & Geotechnical Engineering and Geomechanics, AGH University of Krakow, 30-059 Kraków, Poland
*
Author to whom correspondence should be addressed.
Appl. Sci. 2024, 14(22), 10758; https://doi.org/10.3390/app142210758
Submission received: 17 October 2024 / Revised: 9 November 2024 / Accepted: 13 November 2024 / Published: 20 November 2024
(This article belongs to the Special Issue Recent Advances in Mining Technology and Geotechnical Engineering)

Abstract

Shafts play a key role in the operation of mining plants. They connect underground excavations with the surface and provide the ability to transport people, equipment, and raw materials. The nature of the dynamic interaction of a conveyance moving at a significant speed along deformed guide rails is complex, and the method of assessing the interaction of hoisting conveyances with shaft steelwork, despite ongoing research, still requires further understanding and improvement. Misalignments of the guide rails and conveyance movements transverse to the shaft axis induce impact (guiding) forces, which are the key design parameters of shaft steelwork. The reliable assessment of guiding forces allows the design of safe and economical steelworks and the assessment of their structural safety during operation under deformations and corrosive deterioration. Determining the value of guiding forces requires their field measurements or the use of approximate empirical formulas. Both methods have their limitations—measurement is expensive and interferes with normal shaft operation, while empirical formulas are subject to high error due to the lack of consideration of many structural details specific to each shaft that significantly affect the behavior of the system. This study presents a new method for using a relatively simple-to-implement measurement of hoisting conveyance acceleration to assess guiding forces. A finite element model of the skip and steelwork was built, and simulations of the conveyance interaction with the structure were carried out. A strong relationship between the sliding plate’s impact point location and the guiding force was found. Extreme values of the guiding force were observed in the vicinity of the bunton connection. The study showed that reducing the skip load mass does not affect the force value. Simplified methods of calculating the moments of inertia of the hoisting conveyance significantly overestimate the code-based values of the guiding forces. The presented method considers the actual stiffness and mass distribution of hoisting conveyance and, therefore, allows for a more accurate estimation of the guiding forces and the transport of larger loads. This data-driven approach allows for the continuous monitoring of the guiding forces, the adjustments of the hoisting parameters, the rational planning of repairs, and a reduction in the replacement of corroded shaft steelwork.

1. Introduction

Shaft tube deformations due to surrounding rock mass pressure [1,2,3,4], the operation of the hoisting conveyances, and damage related to the extreme corrosion that affects mine shafts [5,6,7,8] result in misalignments of the guide rails of shaft steelwork. These misalignments are the sources of interaction forces between the hoisting conveyances and the shaft steelwork; they are transverse to the shaft axis and are called guiding forces [9,10].
Accelerometric measurements are commonly used in monitoring structures. Based on changes in the modal properties of a structure, it is possible to draw conclusions about its condition [11,12]. In monitoring a mine shaft hoisting system, accelerometer sensors are placed on conveyances to assess how the condition of the steelwork affects its movement. The detection of the size and shape of guide rail faults based on accelerometric measurements has been the subject of several studies [13,14,15,16,17,18,19]. Conducting measurements under shaft conditions is difficult; hence, many researchers carry out their research on physical models at the laboratory scale. The detection of defects in guide rails boils down to the analysis of acceleration waveforms as a function of time or position and the determination of their specific patterns corresponding to the passage of the conveyance through a given fault. Typically, these faults are discontinuous in nature and are dumped off neighboring guides or excessive gaps between guides. Acceleration characteristics due to varying operating factors [13] represent a characteristic frequency–unknown problem for which they require the use of advanced data analysis methods for determining specific patterns corresponding to typical faults. Wu et al. [14] used a multi-time-scale technique and a dynamic time-warping algorithm in their study. Wang et al. [15] and Lu et al. [16] used a convolutional neural network. Ma et al. [17] used the boosting-tree method and compared their results with those of other data analysis methods. Ma et al. [18] used a support vector machine to detect faults. The techniques used allowed the researchers to detect faults with an accuracy of more than 90%. It should be noted, however, that the detection of defects required measurements at high frequencies, which is not a problem for research on physical models made in the laboratory, but causes great difficulty in transferring the methods to the industrial scale, where guide rails often exceed 1000 m. The amount of data that are produced while running these methods can cause a computational problem; therefore, in field tests, the measurement frequency must be limited.
Any study of the behavior of the hoisting conveyance in a shaft steelwork system is complicated by the fact that the conveyance is not rigid and cannot be treated as a rigid body [19]. One way to account for the non-rigid behavior of the hoisting conveyance is an analytical dynamic model built from points with mass and inertia connected by springs and viscous damper elements. Solving the equations of motion for such models allows the calculation of the guiding force as a function of time. Płachno [20] used a dynamic model of conveyance to determine the vibration of a skip in the context of the fatigue strength of its components. Deng et al. [21] and Yao et al. [22] conducted studies to evaluate the effects of magnetorheological dampers on vibration reduction in a skip–steelwork system. On the basis of studies on dynamic models, Drzewosz and Wolny [23] analyzed the risk of the unstable operation of a hoisting system and the damaging resonance of an entire mine hoist system.
For the safe operation of shaft steelwork, the key features are the load-carrying capacity of the steelwork as a function of corrosion loss and the load effect as a function of guiding forces. The sensitivity of the models to the assumed parameters for mass distribution and the connections between them means that dynamic models have not found widespread use in the assessment of the forces acting on steelwork. An attempt to use a numerical model based on the finite element method in the calculation of guiding forces was presented by Wolny and Matachowski [24]. A shell–beam 3D model of the skip was loaded with displacements due to the misalignment of the guide rail. The results of the numerical analysis were compared with those of in situ tests conducted in the skip, resulting in agreement on force estimates and significant differences in displacements and stresses. However, the model did not take into account steelwork, which significantly affects the stiffness of the system. Jakubowski and Fiołek [25] developed a model of steelwork and determined and calculated the dynamic coefficient for it; they showed that it depends on the characteristic of the force pulse and the point of force application. However, they did not model the entire conveyance in their study.
Currently, the values of guiding forces are most often calculated based on those included in standards [26,27,28] and empirical formulas resulting from research conducted in the 1970s in South Africa [29]. In Poland, for the purposes of steelwork diagnostics, force measurements are made under operating conditions [30] using several approved methods. Empirical formulas contain generalizations and coefficients that are often adopted arbitrarily due to a lack of data, which significantly affects the results obtained. Field force measurements provide the best information on guiding forces, but they are costly and disrupt mine plants’ operation. In addition, all the methods commonly used in Poland rely on the measurement of forces under roller guidance conditions. In the case of the failure of roller guides, there is contact with the steelwork of the sliding plates, which generates higher forces.
Guiding force assessment methods based on discrete dynamic models have not been practically implemented in shaft operation and maintenance. The difficulty in their application is the need for a very precise description of misalignments that directly and strongly affect the equations of motion [31,32]. The empirical methods implemented in standards [26,27,28] require the adoption of many problematic assumptions, such as the shape of the guide rail deformation [14,15,16,17,18]. The high safety requirements of the structure, which is subject to continuous deterioration due to corrosion and mechanical damage, require a method that allows for a frequent and accurate assessment of the guiding forces, preferably in real time. The presented, novel approach uses accelerometric measurements to assess and monitor guiding forces. On the basis of technical documentation and on-site inspection, a finite element model was developed, and numerical simulations of the impact of the skip on the steelwork were carried out. The results were compared with empirical formulas. The simulations allow for the assessment of the force of the sliding plate’s action in the conditions of the failure of the roller shoe and, thus, reduce the uncertainty of force estimation, which has a positive impact on the reliability of the structure and the safety of its operation. This study was based on the actual shaft, on on-site inspections, and on measurements. The design solutions of the hoisting and guiding system are, however, typical for many shafts.

2. Shaft and Skip Construction

The research was conducted in one of the shafts of a coal mine in the Upper Silesian Coal Basin. A simplified mine shaft plan and side views are shown in Figure 1. This is a typical two-compartment arrangement that is characteristic of shafts whose main function is to transport excavated material.
The structure of the shaft steelwork was bisymmetric. The guides were made of C200 channels connected by a butt weld into a box section. The length of a single guide was 9 m. The buntons were made of C180 channels and, like the guides, were welded into a hollow profile. The vertical spacing of the buntons was 4.5 m, so the guides were connected to three buntons. A similar steelwork structure is employed in many shafts in Upper Silesia. The connections between the guides and buntons were made as bolted joints, the construction details of which could vary [7,25]. The connections between the buntons and the guides in the analyzed shaft are shown in Figure 2. They were made of L150 × 90 × 10 angles welded to the buntons and 20 mm thick plates welded to the guides. The whole was connected with four M24 bolts. The conditions for maintaining the steelwork required reviewing the connections and eliminating any gaps. Tests conducted on these connections [7] showed that, despite the corrosion of the guides and buntons, they retained rotational stiffness and should be classified as semi-rigid rather than pinned connections.
There were two pairs of skips moving in the shaft, with a capacity of 20,000 kg each. These were typical skips manufactured in Poland during a certain period. The main elements of the skip were the top and bottom transoms, between which was a bucket made of sheet steel. The skip structure was stiffened laterally with beams made of channel sections. The three elements were connected by a bridle that was also made of steel channels [33]. The bottom of the bucket was equipped with a loading lip that allowed its emptying. According to the technical documentation, the mass of the conveyance, including the excavated material, was 34,716 kg, and the height from the top to the bottom transom was 14.55 m. The top transom was constructed from a 10 mm thick steel plate. The stiffener beams were made in C180 channels, while the bottom transom was made from C300 channels and 10 mm plates. The bucket brace was made from C200 channel sections. The skip conveyance was made from 10 mm thick plates. Connections between the elements of the skip structure were made as welded. A structural diagram of the skip is shown in Figure 3. The drawing also includes non-structural elements, such as a canopy or cable fasteners. These elements do not affect stiffness.

3. Numerical Model

The numerical model was developed with Abaqus 6.14 software system. Due to the symmetries of the steelwork, half of the steelwork structure was modeled. Guides, buntons, and connection elements were modeled with four-node shell elements with reduced integration S4R [34]. Welded connections were implemented with constraints that prevented the displacement and rotation of the nodes of the mesh of the adjacent elements (tie constraints), and the bolted connections were modeled with the beam type connecting elements with the properties of an M24 bolt (fastener connections) [34]. A view of the steelwork model and the details of the connections of the main elements are shown in Figure 4a,b. The stiffness of the guide-to-bunton connections based on the field tests performed in the analyzed shaft [35] was 4.55 × 103 kNm/rad. In order to validate the numerical model, numerical simulations of the guide load with a concentrated force in a place corresponding to the field tests were performed similarly to the article [7]. Photos from field tests with the tiltmeter visible and the static simulation results are presented in Figure 5. The stiffness obtained from the static numerical simulation reached 4.78 × 103 kNm/rad. The slightly higher stiffness of the joint models may be related to the lack of naturally occurring mismatches of the joint elements, but the agreement with the field tests is high.
As with the steelwork, the skip was meshed with the S4R shell elements, except for the sliding plates, which were discretized with C3D8R solid elements [34]. The welded joints were reflected with tie-type constraints. The following material properties were assumed for S355 steel [36]: density, 7580 kg/m3; Young’s modulus, 210 GPa; Poisson’s ratio, 0.3; yield strength, 355 MPa. The skip and the entire model are shown in Figure 4c,d.
Hard contact conditions were introduced to the model between the sliding plates and the guides. A friction of 0.2 was also introduced. The skip was additionally loaded with a nonstructural mass equal to the mass of the excavated material. The bunton supports were made from stiff, thick steel plates and anchored to the concrete shaft lining. The difference in the mass and stiffness between the steelwork and the shaft lining was large; therefore, one can assume that the bunton supports were fixed and the lining did not affect the conveyance–steelwork interaction. The free end of the bunton model was actually connected to the rest of the steelwork structure, which ensured that its section was practically fixed, and such a boundary condition was also applied to the numerical model. Due to the low damping coefficient of the steelwork [37,38] and the experience of earlier research and simulations of these structures considering damping [25], no additional material damping was introduced.

4. Guiding Forces Estimated from Empirical Formulas

The standard in [26] with the commentary in [39] allowed the estimation of guiding forces. The forces from the roller guides were straightforward to calculate provided that the stiffness of the rolling guides and the operating range of the guideway were known. Forces from the sliding plates involved many assumptions and more complex calculations. The value of forces from the sliding plates is given by Formula (1):
F = α n P b 400 m e v 2 e L 2
where α n is the conveyance impact factor (corresponding to the dynamic amplification factor); in the absence of data, it is assumed to be equal to 2.0; m e is the proportion of the conveyance mass that effectively acts as a slipper plate; L and v are the guide span (bunton-to-bunton) and the winding velocity, respectively; P b is the sliding plate’s load coefficient read from the nomogram in [26], which takes into account the stiffness of the steelwork at the mid-span of the guide and at the connection to the bunton; e is a measure of the misalignment of the steelwork.
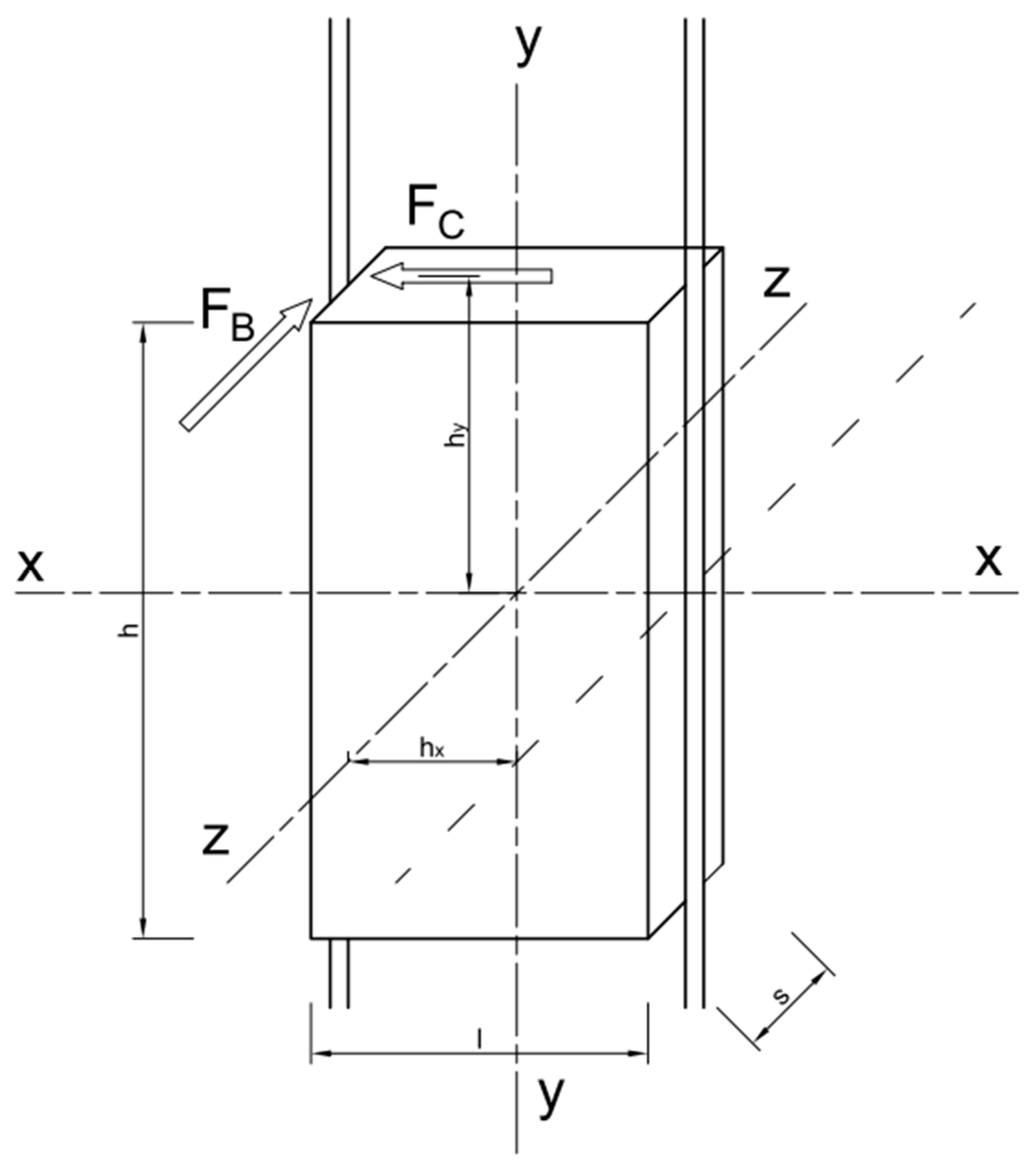
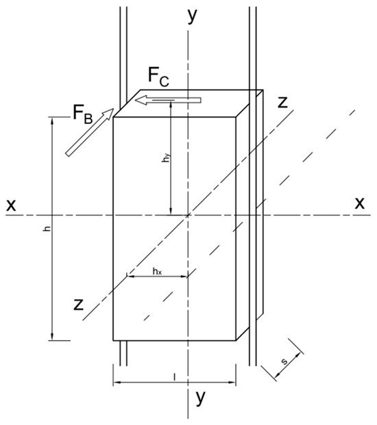
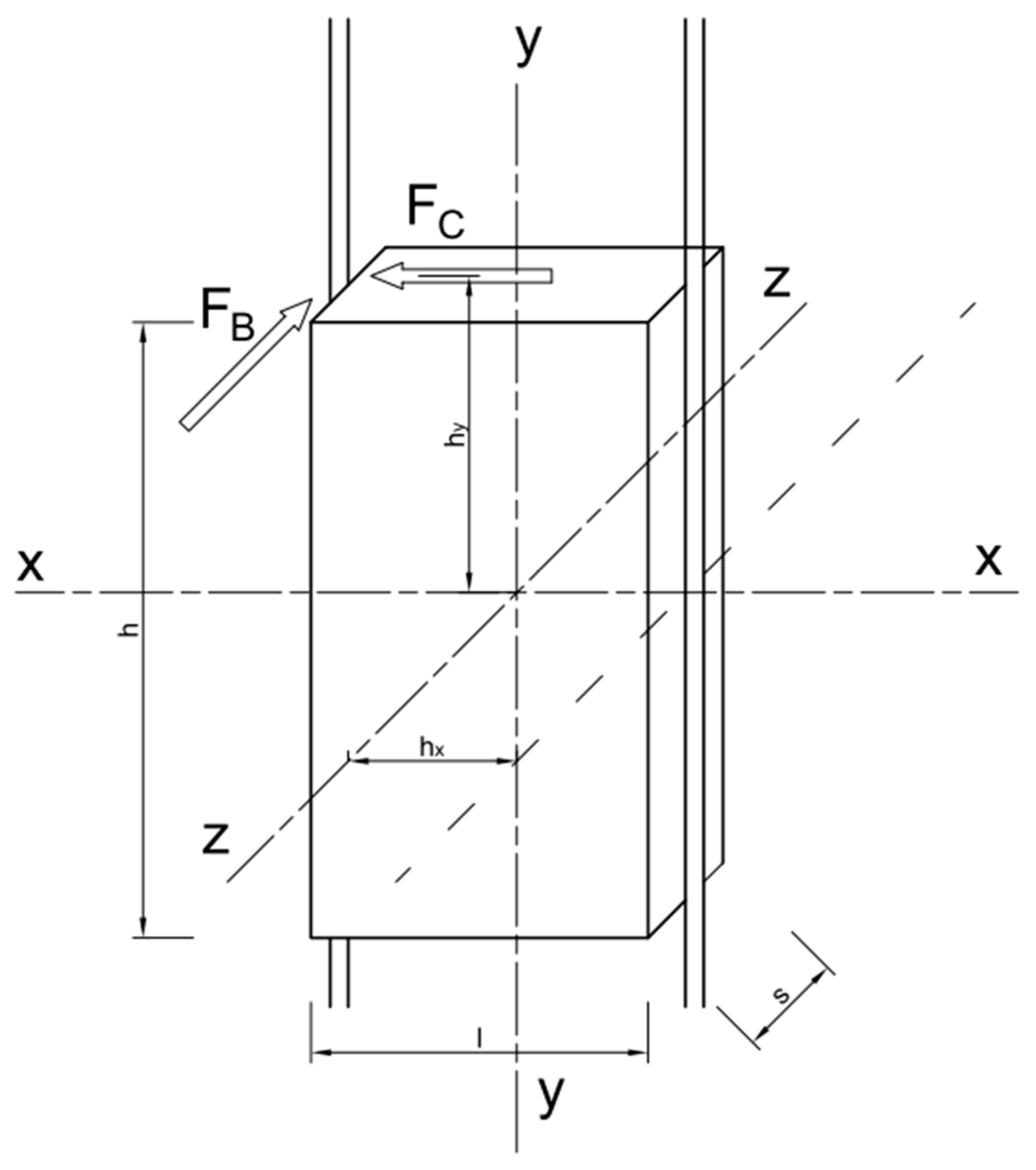
Many simplifications are assumed in this formula. One of them is the approximation of the extraction conveyance to a cuboid with the mass of the conveyance including the excavated material (Figure 6).
Depending on the directions, the mass portion of the conveyance to the force acting on the guide is calculated. The mass contribution when acting in the face direction (FC) is
m e = m s · I z I z + m s h y 2
In the side direction (FB), it is
m e = m s · I x I y I x I 2 + m s I x h y 2 + m s I y h x 2
where m s is the mass of the conveyance including the excavated material, and I x , I y , and I z are the mass moments of inertia about the x, y, and z axes (Figure 6).
The physical interpretation of the magnitude of the nonlinearity coefficient “e” is shown in Figure 7.
Such a rail deformation is actually rarely observed; the primary occurring deformations are discontinuous shifts on adjacent guides. This is also very difficult to measure. In practice, it is assessed on the basis of the maintenance category of the shaft (maintenance category). Its lowest value is 5 mm for shafts with a high level of maintenance. Because of the requirements of Polish regulations [30], all the shafts in operation in Poland are included in this category.
For the shaft under consideration, the mass of the skip including the excavated raw material was m s = 34,716 kg. The mass moments of inertia, assuming a uniform mass distribution with respect to the axis, were I x = 701,214 kg∙m2, I z = 669,476 kg∙m2, and I y = 39,907 kg∙m2. Assuming nominal thickness of the steelwork elements and the articulated connections of the steelwork elements (as recommended in [26]), the stiffness (understood as the value of the force causing unit displacement) in the middle of the guide was k g = 5.56 × 106 N/m, and at the point of connection with the bunton, it was k b = 37.60 × 106 N/m. The distance between the buntons was L = 4.5 m, and the coefficient was P b = 0.1. For the speed of v = 16 m/s, the face guiding force from the sliding plate was F c = 44.09 kN.

5. Accelerometer Measurements

The measurement of the horizontal acceleration of the hoisting conveyances was carried out as part of this study. The tests were performed using accelerometers from Colibrys (type: MS9030), with an accuracy of 0.01 m/s2. Accelerometers were installed in the bottom transom of the skip near the guide shoe. The measurement was taken while pulling a conveyance filled with a nominal mass of 20 tons at velocities of 4, 8, and 16 m/s. The graphs of the face acceleration are shown in the following diagrams (Figure 8, Figure 9 and Figure 10).
Table 1 presents the mean and maximum absolute values of face accelerations for the different winding velocities. The mean face acceleration increased with the speed of the conveyance.
The distribution of acceleration (Figure 11) was similar in nature to the distribution of the guiding forces [35,40]. A large portion of the readings indicated values that were small or close to zero.
The acceleration of the hoisting conveyance was the result of the vibrations and the impacts of the guide shoes against the guides. During the impacts, the value and sign of the acceleration changed rapidly. On the basis of accelerometric measurements, an acceleration pulse that could be identified as related to the impact of the guides and the generation of a force was selected (Figure 12). From the acceleration waveforms (Figure 8, Figure 9 and Figure 10), the extreme pulses at a stable conveyance velocity were selected.

6. Results

For each acceleration pulse, dynamic numerical simulations using Abaqus/Explicit solvers were carried out for the impact of the sliding plate on the guide. Twelve simulations were carried out in total for the pulses corresponding to three winding velocities (Figure 12), two masses of the working load, and two position points of the sliding plate impacting the guide. The first position corresponded to an impact in the mid-span of the guide (Figure 13a), while the second was in the vicinity of the bunton (Figure 13b). Figure 13 shows the horizontal displacement in the slider plate’s action direction and von Mises stress maps for two force application points. The interaction of the sliding plate at the middle of the guide span caused it to bend, while in the case of action near the bunton, shearing occurred. In order to take into account the effect of the mass of the excavated material being pulled on the value of the force, an analysis was carried out for the loading of the conveyance with a nominal mass—20 tons—and a halved mass.
The impact on the conveyance guide induced transverse bending in the guide, resulting in normal and shear stresses. The distribution of shear stresses in the cross-section of the guide in the direction of the sliding plate’s action is shown in Figure 14.
The shear force in the guide under the action of the guiding force is equal to
T = A τ 12 d A
where T is the shear force in section A of the guide in the direction of the sliding plate’s action; and τ 12 represents the shear stresses in the section of the guide in the direction of the sliding plate’s action.
By calculating the lateral force above and below the guide’s action, it was possible to determine the leading force as the difference in the lateral forces above and below the guide’s action.
F c = T A b o v e T B e l o w
where F c is the face guiding force; and T A b o v e and T B e l o w are the shear forces above and below the sliding plate’s action, respectively (Figure 14).
The results of the numerical analysis for three winding velocities, two conveyance positions, and two excavated masses are shown in Table 2.

7. Discussion

The value and variability of the acceleration reflect the misalignment of the guide rails. Both the mean values of the accelerations and the extreme pulses increased with the winding velocity. Accelerations and extreme accelerations are random in nature, and they vary in working runs at the same winding velocity.
As shown, the sliding plate’s impact location on the guide rail had a large effect on the guiding force. With the same simulation parameters, in the vicinity of the bunton, the guiding force was more than four times higher than that in the mid-span of the guide. This is a very important observation for the correct and rational evaluation of a guide’s load-carrying capacity. The reduction in the value of the guiding force in the middle of the span, that is, at the location of the extreme bending moment [40], and the maximum values of the dynamic amplification factor [25] are very beneficial for the load-carrying capacity of guides and the operation of steelwork.
The maximum values of guiding forces were generated in the vicinity of the buntons, so the measurements and empirical estimates of the maximum guiding forces actually apply to this vicinity. These values are used in standards to calculate guides for the least favorable load condition, that is, with guide forces applied at the mid-span of the guide. This increases the non-estimated safety margin, without a quantitative evaluation of the actual resistance and load effects, which can lead to the overdesigning of the steelwork and large unjustified costs.
The face force calculated from the standard in [26] for a velocity of 16 m/s and the nominal mass of the conveyance was 44.09 kN, which was 47% greater than that obtained from the numerical tests. It should be noted that the method of calculating the moments of inertia of the conveyance given in [39] based on approximating the skip to a cuboid with a uniform mass distribution resulted in the overestimation of the moments of inertia relative to the characteristics calculated from the numerical model—from 64% for the y-axis to 91% for the x-axis (axis designations are shown in Figure 6). This is explained by the fact that the excavated mass was actually concentrated close to the center of gravity and not distributed over the outer contour, as assumed in the standard design procedure; therefore, a significant overestimation occurs. Taking the values of the moment of inertia calculated from the numerical model in Formula (2), the value of the guiding force would be 28.31 kN, which is almost the same as that in the numerical study. However, in the context of the arbitrary adoption of the “e” factor, this convergence should be considered accidental. In the case of code calculations, the reduction in the mass of the conveyance had a significant effect on the value of the guiding force, and as the mass is reduced, it caused a linear decrease in the guiding force.
The assumption in empirical methods that the conveyance is a rigid body was rejected, and the numerical model was able to reveal the dynamic reaction of deformable conveyance to the impact of the sliding plate. No apparent effect of the transported mass on the guiding forces was observed. The differences in the values of the guiding force oscillated within 1%. The considered conveyance bucket was tied with bridles of finite stiffness, the deformation of which absorbed the guiding force shocks. A different skip design and the direct connection of the bucket to the top or bottom transom may result in a different effect of the transported mass on the guiding forces. However, the method of proportionally reducing the guiding forces by reducing the skip load was generally unjustified in light of the presented study.
The presented method considers the actual stiffness and mass distribution of hoisting conveyance and, therefore, allows for a more accurate estimation of the guiding forces and the transport of larger loads. This data-driven approach allows for the continuous monitoring of the guiding forces, the adjustment of the hoisting parameters, the rational planning of repairs, and a reduction in the replacement of corroded shaft steelwork.
Future research on the method will focus on testing in mine conditions. The long-term monitoring of accelerations and deformations will complete the field validation and enable industrial implementation of the method.

8. Conclusions

The study showed a novel concept for using acceleration measurements to calculate guiding forces and demonstrated its successful implementation. An advanced numerical model of the hoisting conveyance–steelwork system was developed, and a dynamic simulation of the interaction of the sliding plate with the guide was carried out. The main results can be concluded as follows:
  • The position of the sliding plate relative to the guide was shown to have a significant effect on the value of the guiding force. In the force measurement methods that are currently in use, it is not possible to accurately determine the position of the force application point; hence, the use of extreme values to calculate the maximum bending effects of the guide can lead to a significant overestimation of the normal stress and deflection;
  • Unlike the commonly used empirical formulas, the numerical simulations considered the shaft conveyance as a deformable body and showed a minor effect of the transported mass on the value of the guiding force. This was explained by the absorbing spring effect of the deformable conveyance construction;
  • The accurate calculation of the actual moments of inertia indicated that simplified methods of their estimation led to their significant overestimation, which directly affected the values of the forces calculated on the basis of the standard empirical formulas;
  • The presented approach reduced the uncertainty in traditional methods of assessing guiding forces and, therefore, allowed for improved shaft steelwork design and maintenance.
Accelerometric measurements, due to their simplicity, the relatively low cost of their equipment, and their small size, are an alternative to costly direct force tests and allow almost continuous measurement without interference with the stiffness of the conveyance–steelwork system. This is an unquestionable advantage over direct force measurements, which require a break in the normal operation of the shaft and are, therefore, possible practically only a few times per year due to the continuous nature of work in mines. An obstacle to using measurements for force calculations is the complexity of the system—the mass distribution and stiffness of the conveyance and steelwork. Dynamic numerical simulations make it possible to calculate force values while considering many factors that are omitted in analytical and empirical models. The difficulty in performing simulations is the need to develop a complex numerical model of the conveyance. However, in the case of a new hoisting conveyance, 3D models of the geometry are made at the design stage, and it is possible to export them to FEA programs. The use of accelerometers in new conveyances will allow the constant monitoring of guiding forces and the ability to adjust the velocity to the assumed force values. Such an approach, after field verification, will allow the introduction of a shaft reliability management system and safe operation even under conditions of damage or reduction in steelwork load capacity due to corrosion or other damage and will enable longer use of the shaft without the need for large, expensive renovations.

Author Contributions

Conceptualization, P.F. and J.J.; methodology, P.F. and J.J.; software, P.F. and J.J.; investigation, P.F. and J.J.; writing—original draft preparation, P.F. and J.J.; writing—review and editing, P.F. and J.J.; visualization, P.F. and J.J. All authors have read and agreed to the published version of the manuscript.

Funding

This research received no external funding.

Institutional Review Board Statement

Not applicable.

Informed Consent Statement

Not applicable.

Data Availability Statement

The original contributions presented in this study are included in the article; further inquiries can be directed to the corresponding author.

Conflicts of Interest

The authors declare no conflicts of interest.

References

  1. Bruneau, G.; Tyler, D.B.; Hadjigeorgiou, J.; Potvin, Y. Influence of faulting on a mine shaft—A case study: Part I—Background and instrumentation. Int. J. Rock Mech. Min. Sci. 2003, 40, 95–111. [Google Scholar] [CrossRef]
  2. Bruneau, G.; Hudyma, M.R.; Hadjigeorgiou, J.; Potvin, Y. Influence of faulting on a mine shaft—A case study: Part II—Numerical modelling. Int. J. Rock Mech. Min. Sci. 2003, 40, 113–125. [Google Scholar] [CrossRef]
  3. Zhao, J.; Ma, C.; Xiao, X.; Jiang, Y. Research on deformation law of guide rails caused by mine vertical shafts under non-mining action. Eng. Fail. Anal. 2022, 134, 106089. [Google Scholar] [CrossRef]
  4. Tarasov, V.V.; Aptukov, V.N.; Ivanov, O.V. Comprehensive assessment of deformation of rigid reinforcing system during convergence of mine shaft lining in unstable rocks. J. Min. Inst. 2024, 266, 305–315. [Google Scholar]
  5. Khan, M.; Krige, G. Evaluation of the structural integrity of aging mine shafts. Eng. Struct. 2002, 24, 901–907. [Google Scholar] [CrossRef]
  6. Fiołek, P.; Jakubowski, J. Assessment of the bending moment capacity of naturally corroded box-section beams. Materials 2021, 14, 5766. [Google Scholar] [CrossRef]
  7. Fiołek, P.; Jakubowski, J.; Tomczak, K. Failure modes of shaft steelwork in the state of advanced corrosion. Eng. Fail. Anal. 2023, 146, 107059. [Google Scholar] [CrossRef]
  8. Zhao, J.; Han, J.; Ma, C.; Xiao, X.; Jiang, Y.; Zhang, Y. Research on operation characteristics of hoisting conveyance under mining deformation action in mine vertical shaft. Nonlinear Dyn. 2024, 112, 2629–2659. [Google Scholar] [CrossRef]
  9. Fiołek, P.; Jakubowski, J. Structural safety assessment of shaft steelwork—A review. Arch. Min. Sci. 2023, 68, 655–670. [Google Scholar]
  10. Wolny, S. Experimental verification of the state of stress in load bearing cables in a hoisting installation due to random misalignments and irregularities of the guide strings. Arch. Min. Sci. 2021, 66, 57–68. [Google Scholar]
  11. Nicoletti, V.; Arezzo, D.; Carbonari, S.; Gara, F. Dynamic monitoring of buildings as a diagnostic tool during construction phases. J. Build. Eng. 2022, 46, 103764. [Google Scholar] [CrossRef]
  12. Yang, Y.; Zhu, Z.; Au, S. Bayesian dynamic programming approach for tracking time-varying model properties in SHM. Mech. Syst. Signal Process. 2023, 185, 109735. [Google Scholar] [CrossRef]
  13. Xiao, X.; Li, Z.; Zhang, J. Study on fault mechanism of shaft hoist steelwork. Procedia Earth Planet. Sci. 2009, 1, 1351–1356. [Google Scholar]
  14. Wu, B.; Li, W.; Jiang, F. Fault diagnosis of mine shaft guide rails vibration signal analysis based on dynamic time warping. Symmetry 2018, 10, 500. [Google Scholar] [CrossRef]
  15. Wang, Y.; He, J.; Zhang, X. A novel one dimensional convolutional neural network with parallel attention for fault diagnosis of rigid guides. J. Braz. Soc. Mech. Sci. Eng. 2024, 46, 477. [Google Scholar] [CrossRef]
  16. Lu, X.; Liu, Z.; Shen, Y.; Zhang, F.; Ma, N.; Hao, H.; Liang, Z. Research on fault diagnosis of rigid guide in hoist system based on vibration signal classification. Meas. Sci. Technol. 2024, 35, 116102. [Google Scholar] [CrossRef]
  17. Ma, C.; Wang, T.; Xiao, X.; Jiang, Y. Pattern recognition of rigid hoisting guides based on vibration characteristics. J. Vibroeng. 2017, 19, 237–245. [Google Scholar] [CrossRef]
  18. Ma, Y.; Yao, J.; Ma, C.; Xiao, X. Pattern recognition of rigid hoist guides based on support vector machine. Adv. Mech. Eng. 2018, 10, 1–7. [Google Scholar] [CrossRef]
  19. Heyns, P.; Heyns, M. Simulation of mining conveyance dynamics. Trans. Inst. Min. Metal. 1997, 106, A77–A83. [Google Scholar]
  20. Płachno, M. Mathematical model of transverse vibrations of a high-capacity mining skip due misalignment of the guiding tracks in the hoisting shaft. Arch. Min. Sci. 2018, 63, 3–26. [Google Scholar] [CrossRef]
  21. Deng, X.; Yao, J.; Liu, D.; Yan, R. Semi-active control of horizontal vibrations for mine hoisting containers using fuzzy skyhook control strategy. IEEE Access 2023, 11, 49957–49970. [Google Scholar] [CrossRef]
  22. Yao, J.; Liu, D.; Deng, X. Response characteristics and suppression of transverse vibrations of mine hoisting conveyances excited by multiple faults. Shock Vib. 2023, 2023, 8822754. [Google Scholar] [CrossRef]
  23. Drzewosz, A.; Wolny, S. The problem of stability in mechanical systems using the example of mine hoist installations. Appl. Sci. 2024, 14, 6472. [Google Scholar] [CrossRef]
  24. Wolny, S.; Matachowski, F. Analysis of loads and stresses in structural elements of hoisting installations in mines. Eng. Trans. 2010, 58, 153–174. [Google Scholar]
  25. Jakubowski, J.; Fiołek, P. Evaluation of stiffness and dynamic properties of a mine shaft steelwork structure through in situ tests and numerical simulations. Energies 2021, 14, 664. [Google Scholar] [CrossRef]
  26. SANS 10208-4:2016; Design of Structures for the Mining Industry Part 4: Shaft System Structures. SABS Standards Division: Pretoria, South Africa, 2016.
  27. AS/NZS 3785.6:2015; Underground Mining—Shaft Equipment Part 6: Fixed Guides, Rope Guides and Rubbing Ropes for Conveyances. Australian/New Zealand Standard: Sydney, Australia, 2015.
  28. ISO 19426-5:2018; Structures for Mine Shafts—Part 5: Shaft System Structures. ISO: Geneva, Switzerland, 2018.
  29. Thomas, G.R. COMRO, Design for the Dynamic Performance of Shaft Steelwork and Conveyances; COMRO Guidelines 21; COMRO: Johannesburg, South Africa, 1990. [Google Scholar]
  30. Dz.u.2017 poz.1118. The Decree of the Minister of Energy of 23rd November 2016 on Specific Requirements for Operating Underground Well Sites; Monitor Polski: Warszawa, Poland, 2017. (In Polish)
  31. Wolny, S. Displacements in mechanical systems due to random inputs in a mine hoist installation. Eng. Trans. 2017, 3, 513–522. [Google Scholar]
  32. Wolny, S. Loads experienced by load-bearing components of mine hoist installations due to random irregularities and misalignments of the guide string. J. Mach. Constr. Maint. 2018, 3, 79–86. [Google Scholar]
  33. ISO 19426-1:2018; Structures for Mine Shafts Part 1: Vocabulary. ISO: Geneva, Switzerland, 2018.
  34. Abaqus Analysis User’s Manual; Dassault Systèmes Simulia Corporation: Providence, RI, USA, 2010.
  35. Jakubowski, J.; Fiołek, P. Data-driven approach to structural analysis of shaft steelwork under corrosion. Eng. Struct. 2023, 281, 115741. [Google Scholar] [CrossRef]
  36. EN 10027-1; Designation Systems for Steels—Part 1: Steel Names. CEN: Brussels, Belgium, 2005.
  37. Buchmann, H. Vibration Problems in Structures Practical Guidelines; Springer: Basel, Switzerland, 2011. [Google Scholar]
  38. Batko, W.; Krobiel, T. Maintenance of mining shaft reinforcement based on global damping coefficient. Maint. Reliab. 2008, 1, 44–88. [Google Scholar]
  39. Krige, G.J. Commentary on SANS 10208:3—2001, 3rd ed.; SAISC: Johannesburg, South Africa, 2001. [Google Scholar]
  40. Jakubowski, J.; Fiołek, P. Probabilistic structural reliability assessment of underground shaft steelwork. Tunn. Undergr. Space Technol. 2022, 130, 104755. [Google Scholar] [CrossRef]
Figure 1. Shaft plan (a) and side (b) views.
Figure 1. Shaft plan (a) and side (b) views.
Applsci 14 10758 g001
Figure 2. Guide for bunton connections. Drawing (a) and photo (b) of the construction.
Figure 2. Guide for bunton connections. Drawing (a) and photo (b) of the construction.
Applsci 14 10758 g002
Figure 3. Simplified diagram of the skip construction.
Figure 3. Simplified diagram of the skip construction.
Applsci 14 10758 g003
Figure 4. Shaft steelwork. Top view (a) and connection detail (b). Skip model (c) and the entire model of the skip–steelwork system (d).
Figure 4. Shaft steelwork. Top view (a) and connection detail (b). Skip model (c) and the entire model of the skip–steelwork system (d).
Applsci 14 10758 g004
Figure 5. Field test (a) and static simulation (b) displacement in force direction was shown.
Figure 5. Field test (a) and static simulation (b) displacement in force direction was shown.
Applsci 14 10758 g005
Figure 6. Simplified diagram of the skip.
Figure 6. Simplified diagram of the skip.
Applsci 14 10758 g006
Figure 7. Interpretation of the misalignment coefficient e.
Figure 7. Interpretation of the misalignment coefficient e.
Applsci 14 10758 g007
Figure 8. Acceleration measurement in the face direction with a winding velocity of 4 m/s.
Figure 8. Acceleration measurement in the face direction with a winding velocity of 4 m/s.
Applsci 14 10758 g008
Figure 9. Acceleration measurement in the face direction with a winding velocity of 8 m/s.
Figure 9. Acceleration measurement in the face direction with a winding velocity of 8 m/s.
Applsci 14 10758 g009
Figure 10. Acceleration measurement in the face direction with a winding velocity of 16 m/s.
Figure 10. Acceleration measurement in the face direction with a winding velocity of 16 m/s.
Applsci 14 10758 g010
Figure 11. Histogram of the absolute face acceleration for a velocity of 8 m/s.
Figure 11. Histogram of the absolute face acceleration for a velocity of 8 m/s.
Applsci 14 10758 g011
Figure 12. Extreme pulses of the conveyance acceleration.
Figure 12. Extreme pulses of the conveyance acceleration.
Applsci 14 10758 g012
Figure 13. Position of the conveyance relative to the guide. Proximity to the bunton (a) and guide mid-span (b). Horizontal displacement (m) for the entire model and the details of the von Mises stress (Pa).
Figure 13. Position of the conveyance relative to the guide. Proximity to the bunton (a) and guide mid-span (b). Horizontal displacement (m) for the entire model and the details of the von Mises stress (Pa).
Applsci 14 10758 g013
Figure 14. Shear stress distribution in the guide (Pa).
Figure 14. Shear stress distribution in the guide (Pa).
Applsci 14 10758 g014
Table 1. Mean and maximum values of the face acceleration.
Table 1. Mean and maximum values of the face acceleration.
Winding Velocity (m/s)Max. Acceleration (m/s2)Mean Acceleration (m/s2)
41.790.19
81.940.26
162.680.38
Table 2. Face force for different simulation variants. The force values are given in kN.
Table 2. Face force for different simulation variants. The force values are given in kN.
Excavated Material Mass10 t20 t
Sliding Plate PositionBunton
Connection
Guide
Mid-Span
Bunton
Connection
Guide
Mid-Span
Guiding speed4 m/s10.612.5010.842.54
8 m/s11.042.6611.122.69
16 m/s29.846.2229.906.24
Disclaimer/Publisher’s Note: The statements, opinions and data contained in all publications are solely those of the individual author(s) and contributor(s) and not of MDPI and/or the editor(s). MDPI and/or the editor(s) disclaim responsibility for any injury to people or property resulting from any ideas, methods, instructions or products referred to in the content.

Share and Cite

MDPI and ACS Style

Fiołek, P.; Jakubowski, J. Assessment of Hoisting Conveyance Guiding Forces Based on Field Acceleration Measurements and Numerical Simulation. Appl. Sci. 2024, 14, 10758. https://doi.org/10.3390/app142210758

AMA Style

Fiołek P, Jakubowski J. Assessment of Hoisting Conveyance Guiding Forces Based on Field Acceleration Measurements and Numerical Simulation. Applied Sciences. 2024; 14(22):10758. https://doi.org/10.3390/app142210758

Chicago/Turabian Style

Fiołek, Przemysław, and Jacek Jakubowski. 2024. "Assessment of Hoisting Conveyance Guiding Forces Based on Field Acceleration Measurements and Numerical Simulation" Applied Sciences 14, no. 22: 10758. https://doi.org/10.3390/app142210758

APA Style

Fiołek, P., & Jakubowski, J. (2024). Assessment of Hoisting Conveyance Guiding Forces Based on Field Acceleration Measurements and Numerical Simulation. Applied Sciences, 14(22), 10758. https://doi.org/10.3390/app142210758

Note that from the first issue of 2016, this journal uses article numbers instead of page numbers. See further details here.

Article Metrics

Back to TopTop