Stress Concentration Modelling in Internal Stiffeners of Ship-to-Shore Quay Cranes Legs Due to Structural Heightening
Abstract
Featured Application
Abstract
1. Introduction
2. Materials and Methods
2.1. Materials
- Young’s modulus (MPa): 2.00 × 105
- Poisson’s ratio: 0.30
- Bulk modulus (MPa): 1.67 × 105
- Shear modulus (MPa): 76.92 × 104
2.2. Methods
2.2.1. Finite Element Method (FEM)
- Sides: restrained in the X, ZZ, and YY directions
- Front side: restrained in the Y, XX, and YY directions
- Back side: restrained in the Z, XX, and YY directions
- Axial loading: applied in the −Z direction
- is the global stiffness matrix combining the stiffness contributions of the plate (Kplate) and the stiffener (Kstiffener)
- u is the vector of nodal displacements
- is the vector of applied nodal forces resulting from the induced equivalent compressive forces
- is the maximum von Mises stress as a function of the parameters
- is the stress concentration factor
- is the applied force
2.2.2. Multiple Linear Regression
- Y is the dependent variable (the maximum stress),
- is the intercept term,
- are the regression coefficients representing the effect of each independent variable on the dependent variable,
- are the quadratic coefficients associated with ,
- are the interaction coefficients between and , and
- ϵ is the error term, which captures the variability not explained by the model
2.3. Experimental Procedure
- ti is the desired target or real data
- fi is the model’s output
- Problem complexity: The approach was developed for a specific problem involving a stiffened plate with a particular geometry and loading conditions. Applying the approach to more complex scenarios, with different geometries or loading conditions, may require modifications or the development of a new model.
- Data availability: The approach was trained using a dataset generated through FEM simulations. To apply the approach to other scenarios, it would be necessary to have a similar dataset available for the new scenario.
- The FEM model was focused on elastic analysis and the stress distribution in affected areas at the stiffener tip, omitting cracking effects and plastic deformation, as the objective was to evaluate stress concentration under controlled elastic conditions.
3. Results
4. Discussion
5. Conclusions
Author Contributions
Funding
Institutional Review Board Statement
Informed Consent Statement
Data Availability Statement
Acknowledgments
Conflicts of Interest
References
- Park, N.K.; Suh, S.C. Tendency toward Mega Containerships and the Constraints of Container Terminals. J. Mar. Sci. Eng. 2019, 7, 131. [Google Scholar] [CrossRef]
- Khedmati, M.R.; Zareei, M.R.; Rigo, P. Empirical formulations for estimation of ultimate strength of continuous stiffened aluminium plates under combined in-plane compression and lateral pressure. Thin-Walled Struct. 2010, 48, 274–289. [Google Scholar] [CrossRef]
- Li, S.; Hu, Z.; Benson, S. An analytical method to predict the buckling and collapse behaviour of plates and stiffened panels under cyclic loading. Eng. Struct. 2019, 199, 109627. [Google Scholar] [CrossRef]
- Ghavami, K.; Khedmati, M.R. Numerical and experimental investigations on the compression behaviour of stiffened plates. J. Constr. Steel Res. 2006, 62, 1087–1100. [Google Scholar] [CrossRef]
- Zhang, S.M.; Khan, I. Buckling and ultimate capability of plates and stiffened panels in axial compression. Mar. Struct. 2009, 22, 791–808. [Google Scholar] [CrossRef]
- Zhang, Q.; Yang, H.Q.; Wu, S.; Cheng, W.B.; Liang, Y.H.; Huang, Yi, 2023. A study on the ultimate strength and Failure mode of stiffened panels. J. Mar. Sci. Eng. 2023, 8, 605–1214. [Google Scholar] [CrossRef]
- Lan, X.; Wang, F.; Chen, N.; Xu, X.; Pan, X.; Luo, Z. Strength of internally ring-stiffened tubular DT-joints subjected to brace axial loading. J. Constr. Steel Res. 2016, 125, 88–94. [Google Scholar] [CrossRef]
- Yang, K.; Zhu, L.; Bai, Y.; Sun, H.; Wang, M. Strength of external-ring-stiffened tubular X-joints subjected to brace axial compressive loading. Thin-Walled Struct. 2018, 133, 17–26. [Google Scholar] [CrossRef]
- Nassiraei, H.; Mojtahedi, A.; Lotfollahi-Yaghin, M.A. Static strength of X-joints reinforced with collar plates subjected to brace tensile loading. Ocean. Eng. 2018, 161, 227–241. [Google Scholar] [CrossRef]
- Nascimento, S.; Oliveira, P.; Santos, R.; Ulrike, K. Experimental behaviour of plate girders in steel—Internal forces in intermediate transverse stiffeners. Eng. Struct. 2023, 291, 116425. [Google Scholar] [CrossRef]
- Li, Z.; Liu, X. Analytical model regarding compression-bending capacity of segmental joint reinforced by steel plate. Undergr. Space 2024, 20, 157–173. [Google Scholar] [CrossRef]
- Paslar, N.; Farzampour, A.; Chalangaran, N. Parametric study on the partially interconnected steel plate shear walls with stiffeners. Structures 2023, 53, 749–763. [Google Scholar] [CrossRef]
- Matsumoto, R.; Ishikawa, T.; Kitane, Y. Estimation of stress concentration factor at stop-hole repair strengthened by bonded patches. J. Constr. Steel Res. 2024, 213, 108421. [Google Scholar] [CrossRef]
- Guo, G.; Cui, J.; Wang, D. An experimental investigation on the collapse modes of stiffened plates subjected to combined axial and lateral loads. Ocean. Eng. 2024, 299, 117189. [Google Scholar] [CrossRef]
- Wang, Z.; Kong, X.; Wu, W. Corrected similarity method for designing scaled-down stiffened plate subjected to compression load with improved processing feasibility. Thin-Walled Struct. 2023, 192, 111201. [Google Scholar] [CrossRef]
- Tatsumi, A.; Kageyama, Y. Ultimate strength assessment of rectangular plates subjected to in-plane compression using a statistical model of welding initial deflection. Mar. Struct. 2024, 93, 103523. [Google Scholar] [CrossRef]
- Li, W.; Quan, L.; Hu, X.; Men, X. A comprehensive framework for model validation and reliability assessment of container crane structures. Struct. Multidiscip. Optim. 2020, 62, 2817–2832. [Google Scholar] [CrossRef]
- Wenzhao, L.; Yang, R.; Qi, Q.; Zhao, G. Reliability and sensitivity analysis of bridge crane structure. J. Mech. Sci. Technol. 2022, 36, 4419–4431. [Google Scholar] [CrossRef]
- Tang, G.; Hu, X.; Wang, W.; Tang, T.H.; Claramunt, C.; Chen, C.W. Structural strength analysis of ship-to-shore crane. Appl. Mech. Mater. 2017, 858, 34–37. [Google Scholar]
- Smolenski, R.; Benysek, G.; Malinowski, M.; Sedlak, M.; Stynski, S.; Jasinski, M. Ship-to-Shore Versus Shore-to-Ship Synchronization Strategy. IEEE Trans. Energy Convers. 2018, 33, 1787–1796. [Google Scholar] [CrossRef]
- Tran, Q.H.; Huh, J.; Nguyen, V.B.; Kang, C.; Ahn, J.-H.; Park, I.-J. Sensitivity Analysis for Ship-to-Shore Container Crane Design. Appl. Sci. 2018, 8, 1667. [Google Scholar] [CrossRef]
- Contreras-Fortes, J.; Rodríguez-García, M.I.; Sales, D.L.; Sánchez-Miranda, R.; Almagro, J.F.; Turias, I. Virtual Sensor for Estimating the Strain-Hardening Rate of Austenitic Stainless Steels Using a Machine Learning Approach. Appl. Sci. 2024, 14, 5508. [Google Scholar] [CrossRef]
- Turias, I.J.; Gutiérrez, J.M.; Galindo, P.L. Modelling the effective thermal conductivity of an unidirectional composite by the use of artificial neural networks. Compos. Sci. Technol. 2005, 65, 609–619. [Google Scholar] [CrossRef]







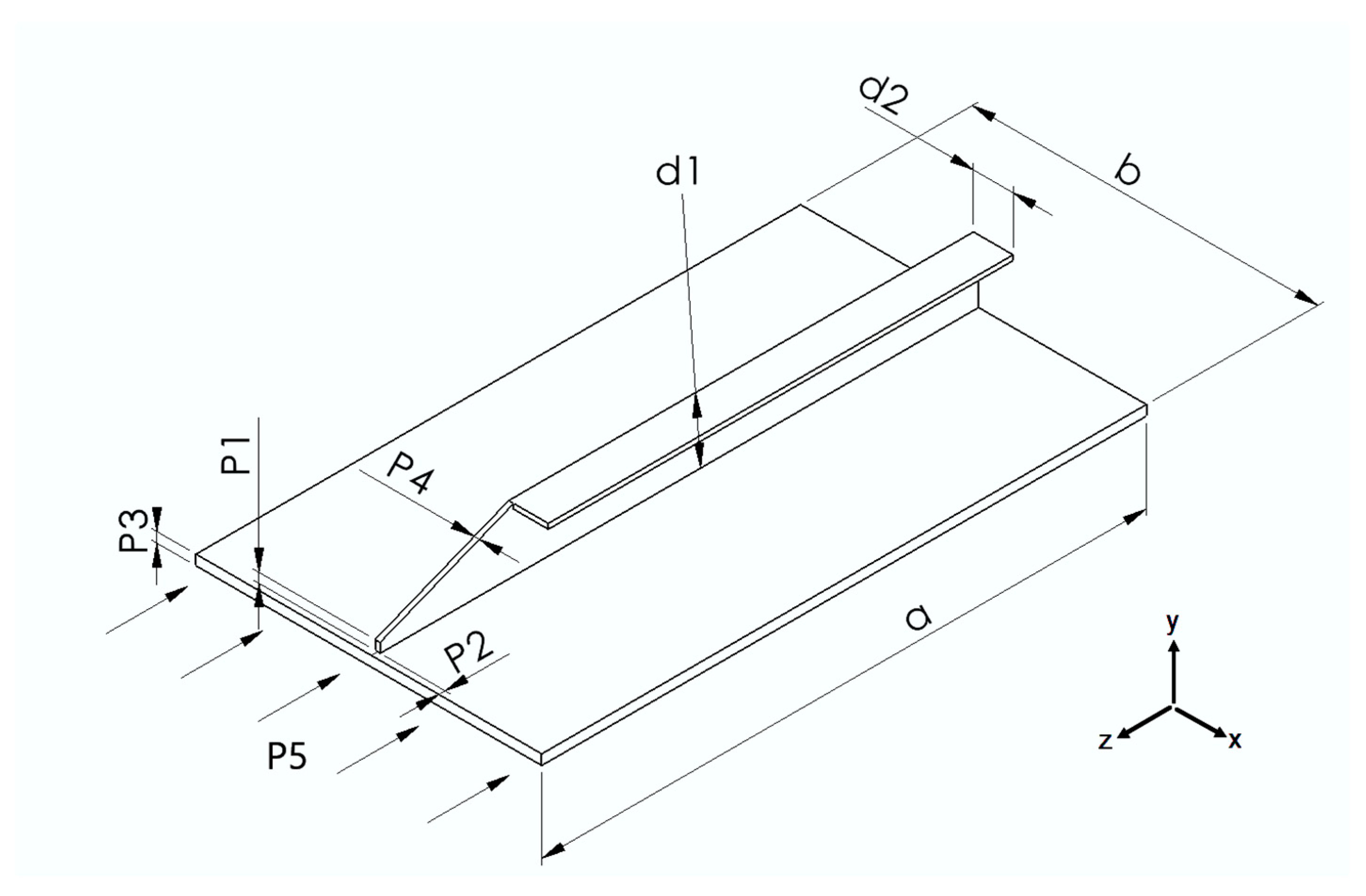
| Type | Param | Name | Description | Units | Levels |
|---|---|---|---|---|---|
| Input | P1 | Tip Height | Stiffener Tip Height | mm | [2, 15, 30] |
| Input | P2 | Separation | Diaphragm Separation | mm | [10, 25, 50] |
| Input | P3 | Web Plate Thickness | Leg Web Plate Thickness | mm | [8, 16, 32] |
| Input | P4 | Stiff Thickness | Stiffener Thickness | mm | [4, 8, 16] |
| Input | P5 | Line Pressure | Force in Z Component | N/mm | [−400, −300, −200] |
| Output | P6 | Equivalent Stress Max | Maximum Eq. Stress | MPa | Response |
| Metrics | Methods | ||
|---|---|---|---|
| MLR | MR Interactions | MR Quadratic | |
| R | 0.8539 | 0.8965 | 0.9807 |
| MSE | 0.0136 | 0.0097 | 0.0019 |
| Metrics | Methods | ||
|---|---|---|---|
| MLR | MR Interactions | MR Quadratic | |
| R | 0.8540 | 0.8976 | 0.9803 |
| MSE | 1001.3 | 719.2 | 143.9 |
| Metrics | Methods | ||
|---|---|---|---|
| MLR | MR Interactions | MR Quadratic | |
| B | 0.8585 | 0.9021 | 0.9823 |
| MSE | 0.0134 | 0.0091 | 0.0018 |
| Metrics | Methods | ||
|---|---|---|---|
| MLR | MR Interactions | MR Quadratic | |
| R | 0.8574 | 0.8992 | 0.9820 |
| MSE | 976.3 | 682.8 | 131.3 |
| 2-CV | 5-CV | |||
|---|---|---|---|---|
| Variables | Coef. | p-Values | Coef. | p-Values |
| (Intercept) | 0.4090 | 1.52 × 10−39 | 0.4063 | 1.745 × 10−62 |
| P1 | 0.2744 | 2.23 × 10−7 | 0.2821 | 6.774 × 10−16 |
| P2 | −0.0724 | 8.83 × 10−2 | −0.0318 | 3.997 × 10−1 |
| P3 | −11.7520 | 3.26 × 10−47 | −1.2157 | 2.437 × 10−79 |
| P4 | 0.3034 | 3.64 × 10−8 | 0.3293 | 5.211 × 10−17 |
| P5 | −0.1958 | 8.15 × 10−3 | −0.2192 | 9.524 × 10−11 |
| P1P2 | −0.0209 | 3.14 × 10−1 | −0.0379 | 4.248 × 10−2 |
| P1P3 | −0.1476 | 3.26 × 10−5 | −0.1188 | 2.531 × 10−10 |
| P1P4 | 0.0610 | 9.92 × 10−3 | 0.0262 | 1.722 × 10−1 |
| P1P5 | −0.0627 | 3.87 × 10−3 | −0.0489 | 8.091 × 10−3 |
| P2P3 | 0.0667 | 2.05 × 10−3 | 0.0724 | 5.528 × 10−5 |
| P2P4 | −0.0235 | 2.67 × 10−1 | −0.0272 | 1.588 × 10−1 |
| P2P5 | 0.0300 | 1.47 × 10−1 | 0.0166 | 4.256 × 10−1 |
| P3P4 | −0.2304 | 1.09 × 10−13 | −0.2320 | 3.256 × 10−28 |
| P3P5 | 0.2764 | 3.84 × 10−18 | 0.2640 | 1.387 × 10−31 |
| P4P5 | −0.1003 | 1.13 × 10−1 | −0.0926 | 2.914 × 10−6 |
| P12 | −0.1127 | 4.01 × 10−4 | −0.1237 | 3.658 × 10−6 |
| P22 | 0.0166 | 6.28 × 10−1 | −0.0048 | 7.040 × 10−1 |
| P32 | 0.7405 | 1.46 × 10−35 | 0.7779 | 7.078 × 10−63 |
| P42 | −0.0195 | 5.65 × 10−1 | −0.0386 | 2.334 × 10−1 |
| P52 | −0.0192 | 5.43 × 10−1 | 0.0009 | 7.572 × 10−1 |
Disclaimer/Publisher’s Note: The statements, opinions and data contained in all publications are solely those of the individual author(s) and contributor(s) and not of MDPI and/or the editor(s). MDPI and/or the editor(s) disclaim responsibility for any injury to people or property resulting from any ideas, methods, instructions or products referred to in the content. |
© 2024 by the authors. Licensee MDPI, Basel, Switzerland. This article is an open access article distributed under the terms and conditions of the Creative Commons Attribution (CC BY) license (https://creativecommons.org/licenses/by/4.0/).
Share and Cite
Castillo Rivera, J.R.; Rodríguez-García, M.I.; Carrasco-García, M.G.; Turias, I.J. Stress Concentration Modelling in Internal Stiffeners of Ship-to-Shore Quay Cranes Legs Due to Structural Heightening. Appl. Sci. 2024, 14, 10269. https://doi.org/10.3390/app142210269
Castillo Rivera JR, Rodríguez-García MI, Carrasco-García MG, Turias IJ. Stress Concentration Modelling in Internal Stiffeners of Ship-to-Shore Quay Cranes Legs Due to Structural Heightening. Applied Sciences. 2024; 14(22):10269. https://doi.org/10.3390/app142210269
Chicago/Turabian StyleCastillo Rivera, José Roberto, María Inmaculada Rodríguez-García, María Gema Carrasco-García, and Ignacio J. Turias. 2024. "Stress Concentration Modelling in Internal Stiffeners of Ship-to-Shore Quay Cranes Legs Due to Structural Heightening" Applied Sciences 14, no. 22: 10269. https://doi.org/10.3390/app142210269
APA StyleCastillo Rivera, J. R., Rodríguez-García, M. I., Carrasco-García, M. G., & Turias, I. J. (2024). Stress Concentration Modelling in Internal Stiffeners of Ship-to-Shore Quay Cranes Legs Due to Structural Heightening. Applied Sciences, 14(22), 10269. https://doi.org/10.3390/app142210269

