Classification of Faults in Power System Transmission Lines Using Deep Learning Methods with Real, Synthetic, and Public Datasets
Abstract
1. Introduction
2. Material and Methods
2.1. Datasets
- (a)
- Dataset 1: Real (Gediz) dataset
- (b)
- Dataset 2: Public dataset
- (c)
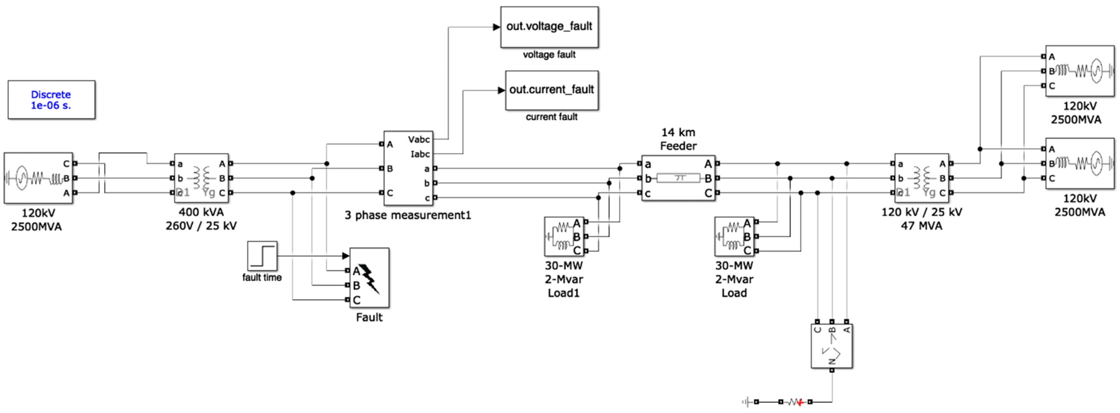
- Dataset 3: Fault dataset generated using Simulink
2.2. 1D Convolutional Neural Network Model
2.3. Normalization
2.4. Proposed Deep Learning Model for Fault Classification
- Keras, a high-level neural networks application programming interface (API) that runs on top of TensorFlow, is used to define the architecture of the model.
- First Block: Two convolutional layers (Conv1D) are applied successively to the input. Each convolutional layer has 64 filters with a filter size of three and ReLU activation function. The output of the second convolutional layer is passed through a max pooling layer (MaxPooling1D) with a pool size of two and “same” padding. This reduces the length of the sequence by half while retaining important features. This block also helps extract features from the input data.
- Second Block: Two convolutional layers are applied to the output of the first block. These layers have the same configuration as the layers in the first block.
- Residual Connection: The output of the second convolutional layer is added element-wise to the output of the first block. This creates a residual connection, allowing the network to learn residual mappings, which can make training deeper networks easier.
- Third Block: Two more convolutional layers are applied to the output of the second block. Again, the layers have the same configuration as before. Another residual connection is formed by adding the output of the second convolutional layer to the output of the second block.
- Final Layers: One more convolutional layer is applied to the output of the third block.
2.5. Parameter Setting
2.6. Assessment Criteria
3. Results of the Model
3.1. Fault Classification
- (a)
- Results of the public dataset
- (b) Results of the dataset generated based on Simulink
- (c) Results of the real (Gediz) dataset
3.2. Comparison with State-of-the-Art Models
| Ref. | Method | Dataset—Purpose | Criteria/Results |
|---|---|---|---|
| [34] | Deep Adversarial Transfer Learning | Generated with simulink—Fault classification | Acc./98.05 |
| [22] | LSTM | Generated with simulink—Fault classification | Acc./ideal 100%, 99.77% with 30 dB and 99.55% with 20 dB for 11 classes |
| [23] | ANN | Generated dataset (IEEE-13 bus)—Fault classification | Acc./avg. 99.6 for 10 classes |
| [17] | LSTM, LSTM-WR, ANN | Generated dataset with Simulink—Fault classification | Acc./43.33, 100, and 99.98, respectively |
| [25] | SVM, KNN, Decision Tree, Random Forest | Public dataset (four columns as fault status)—Fault detection | Acc./0.85, 0.83, 0.83, and 0.84, respectivly |
| [39] | ANFIS | Generated dataset (IEEE-37 bus)—Fault detection, classification and location | Acc./99.9 |
| Proposed model | 1D CNN-based Deep Learning Structure | Real/generated with Simulink/public datasets—Fault classification | Micro avg./0.99, 1.00, and 0.98, respectively |
4. Conclusions
- The results obtained in fault classification are at an acceptable level compared to the results obtained in the literature.
- Not only synthetic but also real data were used in this study. It has been observed that the created model can be used successfully for both real data and synthetic data.
- The proposed model shows an impressive result for all datasets. Hence, it can be said that the proposed model performance is independent of the transmission line configuration.
- It also will be tested with 3 different sets of data, which consist of real, generated, and public datasets to measure the robustness of the network.
Author Contributions
Funding
Institutional Review Board Statement
Informed Consent Statement
Data Availability Statement
Acknowledgments
Conflicts of Interest
References
- Radojevic, Z.M.; Kim, C.H.; Popov, M.; Preston, G.; Terzija, V. New Approach for Fault Location on Transmission Lines Not Requiring Line Parameters. In Proceedings of the International Conference on Power Systems Transients IPST, Kyoto, Japan, 2–6 June 2009. [Google Scholar]
- Izykowski, J. Power System Faults; PRINTPAP: Łódź, Poland, 2011; ISBN 978-83-62098-80-4. [Google Scholar]
- Stefanidou-Voziki, P.; Sapountzoglou, N.; Raison, B.; Dominguez-Garcia, J. A review of fault location and classification methods in distribution grids. Electr. Power Syst. Res. 2022, 209, 108031. [Google Scholar] [CrossRef]
- Jia, K.; Bi, T.; Ren, Z.; Thomas, D.W.P.; Sumner, M. High frequency impedance based fault location in distribution system with DGs. IEEE Trans. Smart Grid 2018, 9, 807–816. [Google Scholar] [CrossRef]
- Srivastava, A.; Parida, S. Data driven approach for fault detection and Gaussian process regression based location prognosis in smart AC microgrid. Electr. Power Syst. Res. 2022, 208, 107889. [Google Scholar] [CrossRef]
- Ozcanli, A.K.; Yaprakdal, F.; Baysal, M. Deep learning methods and applications for electrical power systems: A comprehensive review. Int. J. Energy Res. 2020, 44, 7136–7157. [Google Scholar] [CrossRef]
- Ibrahim, M.S.; Dong, W.; Yang, Q. Machine learning driven smart electric power systems: Current trends and new perspectives. Appl. Energy 2020, 272, 115237. [Google Scholar] [CrossRef]
- Miao, X.; Liu, X.; Chen, J.; Zhuang, S.; Fan, J.; Jiang, H. Insulator detection in aerial images for transmission line inspection using single shot multibox detector. IEEE Access 2019, 7, 9945–9956. [Google Scholar] [CrossRef]
- Anjaiah, K.; Dash, P.K.; Sahani, M. A new protection scheme for PV-wind based DC-ring microgrid by using modified multifractal detrended fluctuation analysis. Prot. Control. Mod. Power Syst. 2022, 7, 8. [Google Scholar] [CrossRef]
- Sampedro, C.; Rodriguez-Vazquez, J.; Rodriguez-Ramos, A.; Car- rio, A.; Campoy, P. Deep learning-based system for automatic recognition and diagnosis of electrical insulator strings. IEEE Access 2019, 7, 101283–101308. [Google Scholar] [CrossRef]
- Wang, J.; Pinson, P.; Chatzivasileiadis, S.; Panteli, M.; Strbac, G.; Terzija, V. On Machine learning-based techniques for future sustainable and resilient energy systems. IEEE Trans. Sustain. Energy 2023, 14, 1230–1241. [Google Scholar] [CrossRef]
- Vaish, R.; Dwivedi, U.; Tewari, S.; Tripathi, S. Machine learning applications in power system fault diagnosis: Research advancements and perspectives. Eng. Appl. Artif. Intell. 2021, 106, 104504. [Google Scholar] [CrossRef]
- Goni, M.F.; Nahiduzzaman, M.; Anower, M.; Rahman, M.; Islam, M.; Ahsan, M.; Haider, J.; Shahjalal, M. Fast and accurate fault detection and classification in transmission lines using extreme learning machine. E-Prime Adv. Electr. Eng. Electron. Energy 2023, 3, 100107. [Google Scholar] [CrossRef]
- Manojna; Sridhar, H.S.; Nikhil, N.; Kumar, A.; Amrit, P. Fault detection and classification in power system using machine learning [Paper presentation]. In Proceedings of the Second International Conference on Smart Electronics and Communication (ICOSEC), Trichy, India, 7–9 October 2021. [Google Scholar]
- Wadi, M. Fault detection in power grids based on improved supervised machine learning binary classification. J. Electr. Eng. 2021, 72, 315–322. [Google Scholar] [CrossRef]
- Ahmad, T.; Madonski, R.; Zhang, D.; Huang, C.; Mujeeb, A. Data-driven probabilistic machine learning in sustainable smart energy/smart energy systems: Key developments, challenges, and future research opportunities in the context of smart grid paradigm. Renew. Sustain. Energy Rev. 2022, 160, 112128. [Google Scholar] [CrossRef]
- Shukla, P.K.; Deepa, K. Deep learning techniques for transmission line fault classification—A comparative study. Ain Shams Eng. J. 2024, 15, 102427. [Google Scholar] [CrossRef]
- Tirnovan, R.-A.; Cristea, M. Advanced techniques for fault detection and classification in electrical power transmission systems: An overview. In Proceedings of the 2019 8th International Conference on Modern Power Systems (MPS), Cluj Napoca, Romania, 21–23 May 2019; IEEE: Piscataway, NJ, USA, 2019; pp. 1–10. [Google Scholar]
- Ajagekar, A.; You, F. Quantum computing based hybrid deep learning for fault diagnosis in electrical power systems. Appl. Energy 2021, 303, 117628. [Google Scholar] [CrossRef]
- Fahim, S.R.; Sarker, S.K.; Muyeen, S.; Das, S.K.; Kamwa, I. A deep learning based intelligent approach in detection and classification of transmission line faults. Int. J. Electr. Power Energy Syst. 2021, 133, 107102. [Google Scholar] [CrossRef]
- Belagoune, S.; Bali, N.; Bakdi, A.; Baadji, B.; Atif, K. Deep learning through LSTM classification and regression for transmission line fault detection, diagnosis and location in large-scale multi-machine power systems. Measurement 2021, 177, 109330. [Google Scholar] [CrossRef]
- Omar AM, S.; Osman, M.K.; Ibrahim, M.N.; Hussain, Z.; Abidin, A.F. Fault classification on transmission line using LSTM network. Indones. J. Electr. Eng. Comput. Sci. 2020, 20, 231–238. [Google Scholar]
- Tokel, H.A.; Al Halaseh, R.; Alirezaei, G.; Mathar, R. A new approach for machine learning-based fault detection and classification in power systems. In Proceedings of the 2018 IEEE Power & Energy Society Innovative Smart Grid Technologies Conference (ISGT), Washington, DC, USA, 19–22 February 2018; IEEE: Piscataway, NJ, USA, 2018; pp. 1–5. [Google Scholar]
- Nasrin, M.A.M.; Omar, A.M.S.; Ramli, S.S.M.; Ahmad, A.R.; Jamaludin, N.F.; Osman, M.K. Deep Learning Approach for Transmission Line Fault Classification. In Proceedings of the 2021 11th IEEE International Conference on Control System, Computing and Engineering (ICCSCE), Penang, Malaysia, 27–28 August 2021; IEEE: Piscataway, NJ, USA, 2021; pp. 164–169. [Google Scholar]
- Goswami, T.; Roy, U.B. Predictive model for classification of power system faults using machine learning. In Proceedings of the TENCON 2019—2019 IEEE Region 10 Conference (TENCON), Kerala, India, 17–20 October 2019; IEEE: Piscataway, NJ, USA, 2019; pp. 1881–1885. [Google Scholar]
- GDZ Electrical Energy Inc. GDZ Electricity Distribution Inc. Geographic Information System Software (EDABİS); GDZ Electrical Energy Inc.: Bornova Izmir, Turkiye, 2024. [Google Scholar]
- Jamil, M.; Sharma, S.K.; Singh, R. Fault detection and classification in electrical power transmission system using artificial neural network. SpringerPlus 2015, 4, 334. [Google Scholar] [CrossRef]
- Alhanaf, A.S.; Farsadi, M.; Balik, H.H. Fault Detection and Classification in Ring Power System with DG Penetration Using Hybrid CNN-LSTM. IEEE Access 2024, 12, 59953–59975. [Google Scholar] [CrossRef]
- Alsumaidaee, Y.A.M.; Paw, J.K.S.; Yaw, C.T.; Tiong, S.K.; Chen, C.P.; Yusaf, T.; Benedict, F.; Kadirgama, K.; Hong, T.C.; Abdalla, A.N.; et al. Fault detection for medium voltage switchgear using a deep learning hybrid 1D-CNN-LSTM model. IEEE Access 2023, 11, 97574–97589. [Google Scholar] [CrossRef]
- Khattak, K.D.; Choudhry, M.; Feliachi, A. Fault Classificaton and Location in Power Distribution Networks using 1D CNN with Residual Learning. In Proceedings of the 2024 IEEE Power & Energy Society Innovative Smart Grid Technologies Conference (ISGT), Bengaluru, India, 10–13 November 2024; IEEE: Piscataway, NJ, USA, 2024; pp. 1–5. [Google Scholar]
- Amini, M.; Sharifani, K.; Rahmani, A. Machine learning model towards evaluating data gathering methods in manufacturing and mechanical engineering. Int. J. Appl. Sci. Eng. Res. 2023, 15, 349–362. [Google Scholar]
- Elattar, E.E.; Shaheen, A.M.; El-Sayed, A.M.; El-Sehiemy, R.A.; Ginidi, A.R. Optimal Operation of Automated Distribution Networks Based-MRFO Algorithm. IEEE Access 2021, 9, 19586–19601. [Google Scholar] [CrossRef]
- Chicco, D.; Jurman, G. The Matthews correlation coefficient (MCC) should replace the ROC AUC as the standard metric for assessing binary classification. BioData Min. 2023, 16, 4. [Google Scholar] [CrossRef]
- Han, J.; Miao, S.H.; Yin, H.R.; Guo, S.Y.; Wang, Z.X.; Yao, F.X.; Lin, Y.J. Deep-Adversarial-Transfer Learning Based Fault Classification of Power Lines in Smart Grid. IOP Conf. Ser. Earth Environ. Sci. 2021, 701, 012074. [Google Scholar] [CrossRef]
- Elmasry, W.; Wadi, M. Detection of Faults in Electrical Power Grids Using an Enhanced Anomaly-Based Method. Arab. J. Sci. Eng. 2022, 47, 14899–14914. [Google Scholar] [CrossRef]
- Zhang, S.; Wang, Y.; Liu, M.; Bao, Z. Data-Based Line Trip Fault Prediction in Power Systems Using LSTM Networks and SVM. IEEE Access 2017, 6, 7675–7686. [Google Scholar] [CrossRef]
- Yan, S.; Gao, L.; Wang, W.; Cao, G.; Han, S.; Wang, S. An algorithm for power transmission line fault detection based on improved YOLOv4 model. Sci. Rep. 2024, 14, 5046. [Google Scholar] [CrossRef]
- Shiddieqy, H.A.; Hariadi, F.I.; Adiono, T. Power Line Transmission Fault Modeling and Dataset Generation For AI Based Automatic Detection. In Proceedings of the 2019 International Symposium on Electronics and Smart Devices (ISESD), Badung, Indonesia, 8–9 October 2019; pp. 1–5. [Google Scholar]
- Souhe FG, Y.; Boum, A.T.; Ele, P.; Mbey, C.F.; Kakeu, V.J.F. Fault detection, classification and location in power distribution smart grid using smart meters data. J. Appl. Sci. Eng. 2022, 26, 23–34. [Google Scholar] [CrossRef]













| Reference | Method | Content of the Research |
|---|---|---|
| [19] | ANN | Fault detection |
| [20] | ANN | Fault classification |
| [21] | DRNN, LSTM | Fault detection |
| [22] | LSTM | Fault classification |
| [23] | ANN | Fault detection and classification |
| [24] | DNN, SVM, ANN | Fault classification |
| [17] | LSTM, LSTM-WR, ANN | Fault classification |
| [25] | Decision Tree, KNN, SVM | Fault classification |
| Types of Faults | Definition of Faults | Fault Code [G C B A] | Real Dataset (# of Patterns) | Public Dataset (# of Patterns) | Dataset Generated Based on Simulink (# of Patterns) |
|---|---|---|---|---|---|
| Normal | No Fault | [0 0 0 0] | 400 | 1132 | 4000 |
| ABG | Double Line to Ground Fault | [1 0 1 1] | 400 | 1134 | 4000 |
| ABCG | 3 Phase to Ground Faults | [1 1 1 1] | 400 | 1133 | 4000 |
| AG | Single Line to Ground Fault | [1 0 0 1] | 400 | 1129 | 4000 |
| BC | Line to Line Fault | [0 1 1 0] | 399 | 1004 | 3999 |
| Total | 1999 | 5532 | 19,999 |
Disclaimer/Publisher’s Note: The statements, opinions and data contained in all publications are solely those of the individual author(s) and contributor(s) and not of MDPI and/or the editor(s). MDPI and/or the editor(s) disclaim responsibility for any injury to people or property resulting from any ideas, methods, instructions or products referred to in the content. |
© 2024 by the authors. Licensee MDPI, Basel, Switzerland. This article is an open access article distributed under the terms and conditions of the Creative Commons Attribution (CC BY) license (https://creativecommons.org/licenses/by/4.0/).
Share and Cite
Turanlı, O.; Benteşen Yakut, Y. Classification of Faults in Power System Transmission Lines Using Deep Learning Methods with Real, Synthetic, and Public Datasets. Appl. Sci. 2024, 14, 9590. https://doi.org/10.3390/app14209590
Turanlı O, Benteşen Yakut Y. Classification of Faults in Power System Transmission Lines Using Deep Learning Methods with Real, Synthetic, and Public Datasets. Applied Sciences. 2024; 14(20):9590. https://doi.org/10.3390/app14209590
Chicago/Turabian StyleTuranlı, Ozan, and Yurdagül Benteşen Yakut. 2024. "Classification of Faults in Power System Transmission Lines Using Deep Learning Methods with Real, Synthetic, and Public Datasets" Applied Sciences 14, no. 20: 9590. https://doi.org/10.3390/app14209590
APA StyleTuranlı, O., & Benteşen Yakut, Y. (2024). Classification of Faults in Power System Transmission Lines Using Deep Learning Methods with Real, Synthetic, and Public Datasets. Applied Sciences, 14(20), 9590. https://doi.org/10.3390/app14209590

