Next Article in Journal
Application of Differential Scanning Calorimetry and Thermogravimetry for Thermal Analysis of Dark Chocolates
Next Article in Special Issue
Towards Reliable ECG Analysis: Addressing Validation Gaps in the Electrocardiographic R-Peak Detection
Previous Article in Journal
On the Use of Machine Learning and Key Performance Indicators for Urban Planning and Design
Previous Article in Special Issue
Development and Investigation of a Smart Impact Detector for Monitoring the Shipment Transport Process
 
 
Font Type:
Arial Georgia Verdana
Font Size:
Aa Aa Aa
Line Spacing:
Column Width:
Background:
Article

Investigation of the Automatic Monitoring System of a Solar Power Plant with Flexible PV Modules

by
Žydrūnas Kavaliauskas
*,
Igor Šajev
,
Giedrius Blažiūnas
and
Giedrius Gecevičius
Centre of Engineering Studies, Faculty of Informatics, Engineering and Technologies, Kauno kolegija Higher Education Institution, Pramones Ave. 20, LT-50468 Kaunas, Lithuania
*
Author to whom correspondence should be addressed.
Appl. Sci. 2024, 14(20), 9500; https://doi.org/10.3390/app14209500
Submission received: 30 September 2024 / Revised: 14 October 2024 / Accepted: 16 October 2024 / Published: 17 October 2024
(This article belongs to the Special Issue Applied Electronics and Functional Materials)

Abstract

During this research, an automatic monitoring system was developed to monitor the working parameters in a solar power plant consisting of two flexible silicon modules. The first stage of the monitoring system relies on a microcontroller, which collects data from wattmeter modules made using a microcontroller. This tier also includes DC/DC converter and RS232-TCP converter modules for data transfer. The second stage, the industrial PLC, receives data from the first stage and transmits them to the PC, where the information is stored and the processes are visualized on the HMI screen. During this study, the charging process was analyzed using PWM- and MPPT-type charging controllers, as well as the power supply of Fito LED strips for lighting plants. Using the created monitoring system, the parameters of the solar power plant with flexible PV modules were monitored. This study compared PWM and MPPT battery charging methods, finding that MPPT is more efficient, especially under unstable solar conditions. MPPT technology optimizes energy usage more efficiently, resulting in faster battery charging compared to PWM technology.

1. Introduction

Currently, fossil fuels still account for the majority of all global energy sources. According to today’s data, about 38% of fossil fuels are coal. Such high consumption of fuel of this origin increases the amount of CO2 in the atmosphere. For this reason, the influence of greenhouse gasses is increasing, and at the same time, the overall temperature of the planet and air pollution are increasing. Various countries of the world such as the USA, China and India, suffer especially from the consumption of fossil fuels [1,2,3]. These countries have a highly developed production and heavy industry, which obtains electricity by burning fossil fuels. Solar energy is believed to have one of the greatest prospects for replacing polluting fuel sources. Currently, the predominant material used in the production of solar panels is silicon. With the development of materials science, various forms of silicon have been developed, which are widely used in PV production. One type of PV modules that is widely used are thin-film silicon modules. This type of PV modules may not necessarily have a completely flat surface. Thin-film PV silicon modules can be formed on various profiled surfaces. Many car manufacturers have recently begun to actively install solar panels on the roofs of electric cars as an additional source of energy. Such integration provides an opportunity to increase the efficiency of the electric car, extend its driving distance and reduce dependence on traditional charging stations. As an example, we can give the Toyota Prius, which has solar panels not only on the hood of the engine compartment, but also on the roof of the passenger cabin and the interior doors [4,5,6,7,8]. These solar panels are designed in such a way that their flexibility allows them to be adapted to different car shapes and surfaces. Another innovative solution is a solar-powered umbrella made of flexible solar panels. This umbrella acts as a mobile power source, which can be used not only for night lighting, but also for charging various mobile gadgets, such as smartphones, tablets or laptops. In addition, the development of this technology can significantly contribute to the development of renewable energy in the transport sector, reducing greenhouse gas emissions and dependence on fossil fuels. Various studies are currently underway to increase the efficiency and energy storage capacity of solar panels, which in the future could allow electric cars to use solar energy not only as an additional, but also as the main source of energy. Flexible solar modules can be fabricated using very thin Si sheets (between 1 and 10 µm) [1,2,9,10,11,12]. In the production of flexible solar modules, in order to reduce the use of silicon, various innovative materials are used, which are characterized by flexibility and efficiency in the light conversion process. The production of these modules is based on three main groups of components: active light conversion materials, electrodes and a flexible base. One of the key solutions in flexible solar modules is organic materials. Organic semiconductors, such as conjugated polymers or small molecules, are used to absorb light and convert it into electrical energy [1,2,3,13,14,15,16]. Polymers such as P3HT (polythiophenes) and PCBM (fullerene derivatives) are commonly used to form the active layer. These materials are easy to combine and print and offer flexibility. Another alternative are perovskite-type materials, which form hybrid organic–inorganic semiconductors. These materials have extremely high photoelectron conversion efficiency and can be easily used in thin layers on flexible substrates. Perovskite photovoltaic cells are often made using combinations of organic and metal halides, such as methylammonium lead halide (MAPbX3), where X represents a halogen such as iodine or bromine. CIGS (compounds of copper, indium, gallium and selenium) are also used in flexible solar modules. This group of semiconductors is particularly efficient in the light absorption process and suitable for flexible surfaces [2,17,18,19,20,21]. Due to their chemical composition, CIGS layers are easily integrated on polymeric or metallic flexible substrates. As an alternative to traditional electrodes, graphene and carbon nanotubes are used. Graphene, with its high conductivity and flexibility, can be used both as a conductive layer and as a protective top layer. Carbon nanotubes are also a good choice due to their mechanical strength and electrical conductivity. Since flexible modules must be light, durable and easily integrated into various structures, materials such as plastics, polyimides and metal foils are used. When using flexible solar modules in off-grid solar power plants, it is important to choose an efficient battery charging method. Two main methods are used for this: PWM (pulse-width modulation) and MPPT (Maximum Power Point Tracking) charging controllers [2,3,4,20,22,23,24]. These methods have their own advantages and disadvantages, which depend on the size of the system, the efficiency of the solar modules and the environmental conditions. PWM controllers are simpler in design and therefore cost less than MPPT. In small off-grid systems with small solar modules, PWM is a suitable choice, especially when the voltage of the solar modules is close to the battery voltage. PWM controllers cannot maximize the power of solar modules because they regulate the voltage according to the battery level and not according to the maximum power point. This means that a large part of the energy is lost. The MPPT charge controller is a more sophisticated device that continuously monitors the voltage and current of the solar modules to ensure that the system always operates at the maximum power point [1,2,25,26,27,28,29,30,31]. It converts excess voltage into additional current that efficiently charges the battery. MPPT controllers allow the maximum potential of solar modules to be used, even under different environmental conditions (e.g., cloudiness or temperature changes). This makes it possible to increase the charging efficiency by up to 30% compared to PWM. At low temperatures, solar modules often generate higher voltages. MPPT technology exploits this advantage by efficiently converting excess voltage into current [2,3,21,29,30,31].
In an off-grid-type solar power plant with PWM and MPPT battery charging controllers, the operating parameter monitoring system ensures optimal operation, efficiency and equipment protection. The system monitors the voltage, current and power of the solar modules, allowing for the estimation of energy generation under different lighting conditions. PWM and MPPT controller parameters such as input and output voltage, current and operating modes are displayed in real time, ensuring efficient energy conversion. Battery health is monitored by state of charge (SOC), charge/discharge current and temperature to prevent overcharging or over-discharging, which could shorten battery life. All information is provided through a centralized data collection device, providing real-time monitoring and alarms when disturbances are detected [1,2,3,4]. The monitoring system also collects historical data to analyze performance and optimize energy production according to weather conditions and seasonal changes.
The advanced integration of monitoring systems with flexible solar modules not only increases the efficiency of operations, but also enables real-time data analysis, which can improve the performance and lifetime of solar devices in various environmental conditions. As the global demand for renewable energy grows, the market for flexible solar modules and their corresponding monitoring systems is expected to expand significantly, driven by their applicability to a wide range of applications, including residential, commercial and automotive sectors [1,2,3,4,5]. The cost-cutting potential of developing efficient monitoring systems for flexible solar power plants can reduce installation and maintenance costs, making solar energy more affordable and attractive to a wider range of consumers and businesses. As many countries aim to be carbon-neutral by 2050, the use of efficient solar technologies, including flexible modules and advanced monitoring systems, will be critical to achieving these sustainability goals and reducing dependence on fossil fuels. Along with the continuous improvement of energy storage technologies such as improved battery systems, the automation and optimization provided by advanced monitoring systems will enable better energy management, enabling more reliable and efficient use of solar power in off-grid applications [1,2,3,4]. Integrating flexible solar modules into cars can increase their energy efficiency, allowing solar energy to recharge EV batteries and extend their range without relying on traditional charging stations. In addition, the solar charging of smart devices such as mobile phones and tablets provides greater convenience to consumers as they can get power anywhere and anytime there is sunlight. Finally, combining these technologies with advanced monitoring systems allows for more efficient control of energy flow, the optimization of energy storage and improved overall system performance [1,2,3,4,5,21].
The scientific novelty of this research lies in the creation of an automated monitoring system for a solar power plant with flexible modules, which allows the real-time monitoring and analysis of its operating parameters. The monitoring system consists of two monitoring stages based on an MCU (Microcontroller Unit) module and an industrial PLC. A number of variants of monitoring systems are described in the scientific literature, but the one considered in this study (intended for a solar power plant with flexible PV modules) has not yet been analyzed in the literature.
The aim of the study is to develop and investigate an automatic system for monitoring the operating parameters of a solar power plant with flexible modules in order to optimize the battery charging process and evaluate the efficiency of different charging controllers.

2. Materials and Methods

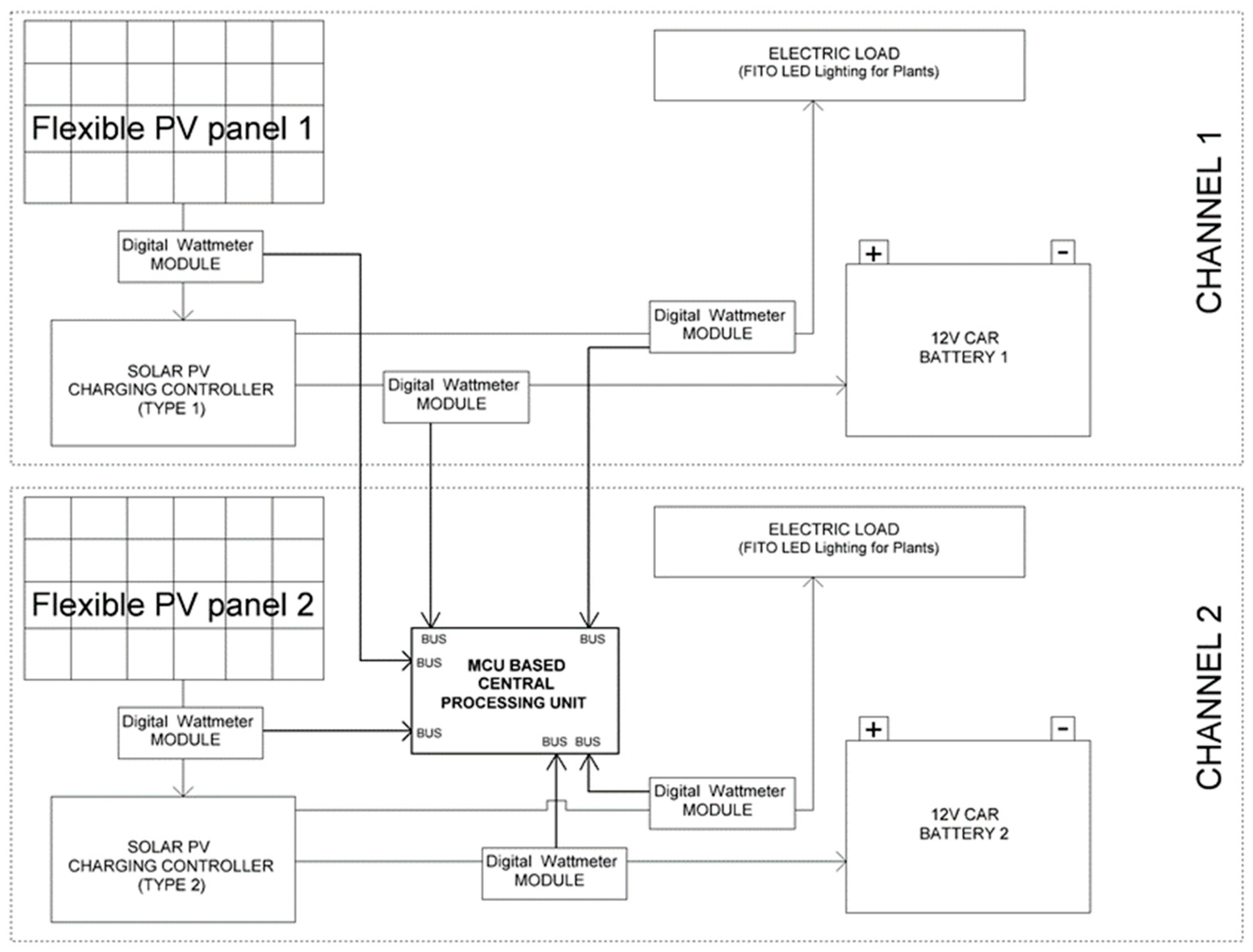
An automatic monitoring system was created to monitor the working parameters of the solar power plant with flexible modules. A conceptual diagram of this system is presented in Figure 1. The solar power plant consists of two flexible silicon modules (monocrystalline 140 W; 18.72 V; 7.48 A; 1090 × 700 × 3 mm) based on flexible plastic.
The automatic parameter monitoring system consists of two stages. The first stage consists of a microcontroller-based system. The basis of this stage is the PIC24FV32KA302 microcontroller and supporting parts such as a DC/DC converter module and an RS232—TCP converter module. This microcontroller is a 16-bit PIC24 series microcontroller developed by Microchip Technology with 32 KB of Flash memory and 2 KB of RAM. It supports 3.3 V and 5 V operating voltages, making it versatile for use in both low- and medium-voltage devices. This microcontroller has low power consumption and is suitable for low-power embedded systems. In addition, it integrates various peripherals such as analog-to-digital converters (ADCs), timers, serial communications (UART, SPI and I2C) and PWM generation. Because of these features, the PIC24FV32KA302 is often used in medical devices, sensor interfaces, industrial controllers and energy-efficient embedded systems where reliable and efficient performance is required. Power data (I and U values) are also received by the wattmeter modules (arranged on batteries and solar panels) in the first stage. The wattmeter modules are based on the PIC16F1516 microcontroller (an 8-bit microcontroller belonging to the PIC16 series). The purpose of the first stage is to collect data from the sensors and transfer them to the main PLC (US10-B10-T24) controller module. The second stage of the monitoring system consists of an industrial programmable controller (PLC) which receives data from the first stage. The PLC has communication with the PC where the data are stored and the HMI process visualization panel. The operation of the monitoring system was tested by charging two AGM-type batteries (40 Ah and 12 V). PWM (3IPSSOLU20)- and MPPT (3IPSMPPT10)-type charging controllers were used for charging. The study included a comparison of the efficiency of the loading process of waste loading controllers. Another part of the solar electric load was Fito LED strips emitting light of a certain wavelength for lighting the plants.
The reliability of data transmission is ensured by the PIC24FV32KA302 microcontroller, which integrates various peripherals that allow for the efficient collection and processing of data from the wattmeter modules. The stability of the connection is ensured by the RS232—TCP conversion module, which allows data transmission to PLC and PC, and a repeated data transmission system is used to avoid data loss. The optimization of data transfer is achieved by efficient communication protocols such as I2C between microcontrollers and RS232-TCP conversion, allowing fast and stable data transfer between the first and second stages of the monitoring system. In addition, optimizing the transmission frequency helps to reduce delays and ensure that all parameters are transmitted and recorded in the database on time.

3. Results and Discussion

This research used a solar power plant consisting of two flexible solar modules with a power of 140 W each. The experiment was carried out in an open outdoor environment on a sunny day with an average temperature of about 25 °C to ensure a maximum solar radiation intensity of 800 W/m2. The PV modules and other specific elements used in this study are typical of solar energy systems, but they also represent innovations that improve system efficiency. Flexible solar modules that can adapt to different surfaces make it easier to integrate solar systems, while PWM and MPPT technologies optimize energy flow and battery charging in response to changing weather conditions. Such solar power plants can be widely used for various applications due to their versatility (such as charging various mobile devices, powering IoT systems and charging mobile robots/drones). Flexible solar panels are formed on a flexible plastic substrate. Such a base expands the application possibilities of solar modules, as it is possible to adapt solar modules to a wider range of surfaces that are not necessarily perfectly flat or smooth. In addition, the total mass of such solar modules, up to 10 times or even more, is significantly lower than that of rigid solar modules. In order to be able to predict and ensure the stable operation of the PV system, a reliable flexible automatic monitoring system of operating parameters is required. A detailed conceptual diagram of the monitoring system considered during this study is presented in Figure 2. The process of designing and forming the design of this scheme is a part of scientific research, since the working efficiency, universality, speed, etc., of the monitoring system depends on the structure of the concept. While investigating the work of the monitoring system, the battery charging process was initiated and Fito LED strips emitting light of a certain wavelength were powered. Digital power meters are connected to each output of the solar panel, to the battery terminals and to the power circuit of the Fito led strips, which are made on the basis of the PIC16F1516 microcontroller. The data from the digital wattmeters go to the MCU main processor based on the PIC24FV32KA302 microcontroller. This part of the circuit forms a digital packet of data and transmits it to an industrial PLC module, which, using an Internet connection, transmits the data to a central computer, recording it in a database. Two methods are used for charging batteries: one charging process is performed using a PWM-type controller, while the other is using an MPPT-type controller [1,2,3,4]. As can be seen, the monitoring system of the working parameters of the solar power plant consists of two stages: in the first stage, based on the MCU controller, data are collected from digital wattmeters, while in the second stage, based on the industrial PLC, the data are analyzed and transmitted to the central PC, and the work process is displayed on the HMI screen.
As mentioned earlier, a digital wattmeter based on a PIC16F1516 microcontroller was designed for each power input point. The design of the wattmeter is part of this scientific process, because only an original, specially adapted wattmeter and its architecture can qualitatively ensure the stable operation of this experimental monitoring system. This power measurement module also has an additional RAM (PCF 8570) memory module, which is high-speed and helps ensure stable data transfer to the MCU module. The data transfer between the RAM and the main controller takes place using the I2C protocol. ACS (Current Sensor) 7 modules are used to measure current and voltage, which digitally transmit the data to the outputs of the microcontroller (Figure 3).
To collect data from digital wattmeters, the first stage of the operational data monitoring system (also called the MCU module) was designed and manufactured. This stage is based on the PIC24FV32KA302. Microcontrollers of this series are characterized by high work reliability and are widely used in digital electronic devices and systems, e.g., in medical equipment. The electrical circuit of the first stage is presented in Figure 4. This stage consists of a connector to which a programmer is connected to program the microcontroller. DC/DC converters are used for matching the level of the digital signal. A special module is used, the purpose of which is the conversion of protocols from RS232 to TCP. This is necessary in order to be able to transfer information to the industrial PLC module. Therefore, the communication between the MCU module and the PLC is ensured with the help of an RS232/TCP converter.
As can be seen from the electrical circuit, separate inputs for the information transmitted by digital wattmeters are designed in the MCU module. This information consists of electric current and voltage values from which the power value is found. The inputs of the digital wattmeters are connected to the corresponding logic inputs of the microcontroller and the information is transmitted in digital form. The monitoring data of the power values of solar panels, charge controllers and receivers allow one to understand whether the overall working process of the solar power plant is optimal and suitable. Also, monitoring the charging and feeding power of individual receivers allows one to see whether the required charging and feeding process is ensured and whether there are no work problems in the entire system.
In order for any (in this case, monitoring) system to be implemented and function optimally, it is necessary to properly design and manufacture the printed circuit boards (PCBs) where all electronic components will be installed. PCB design is a certain stage of research because it is necessary to ensure an optimal design and to select the transitions and length of the optimally conductive paths, so that, e.g., additional noises are avoided and the dimensions and price of the device are ensured to be as small as possible. During this study, two PCB variants were designed, one of which is intended for the realization of a digital wattmeter (Figure 5a) and the other PCB is intended for the realization of an MCU module (Figure 5b).
The basis of the PCB consists of copper tracks covered with solder and a special layer resistant to environmental effects, which protects the metal tracks from oxidation and other negative processes. The protective layer is a dielectric to prevent accidental exposure to electric current. In addition to the microcontroller, the printed circuit board has designed spaces for active SMD elements such as capacitors and diodes. A partial optimization of the PCB board was performed; the track length was kept as small as possible so that impedance mismatches would not affect the data transfer rate. The fastest signal using USB Full Speed has a rise time of 4 ns, so using the 10% signal edge travel limit, tracks should be no longer than 60.96 mm.
Using Python 9 and HTML programming languages, a software code was created for a virtual interface between a MySQL database and a computer application, where instantaneous data reflecting the real-time operation of the solar power plant are displayed. This interface is more suitable for the public demonstration of monitoring related to system operation and data display. The image of the PC application is presented in Figure 6. As we can see in the main window, the electrical values (voltage, current and power) of individual solar panels can be monitored. In this application, the system maintenance operator can make certain changes and evaluate whether the solar electric monitoring system is working properly.
By analyzing the data accumulated in the database, certain conclusions or observations can be made about the operation of the solar power plant, the battery charging process or the power supply of certain electrical receivers. If necessary, the system maintenance operator or other personnel can take certain actions based on the accumulated data. The collected data are also useful for the research process in improving this type of solar power plant and monitoring systems for operating parameters.
In order to ensure the proper operation of the monitoring system, a suitable algorithm for the program codes of individual modules is required. For each system module, which makes up both the first level of the system and the second level of the system, as well as the PC application, before programming, it is necessary to create program algorithms that define the sequence of system actions. The algorithms of the software codes of the monitoring system under study are presented in Figure 7. Figure 7a shows the algorithm of the wattmeter program. As one can see, the program starts with the command START WATTMETER FIRMWARE. |In the next execution step, a request is sent to the MCU module. If the request is successful and requires the measurement of electrical values, then the measurement is performed. In the next stage, the process of averaging the values is carried out and a digital data package is formed. The formed digital packet with data is sent to the MCU module using the I2C protocol. Later, if there is a need, the entire cycle of the program with all procedures is repeated again.
Figure 7b shows the algorithm of the MCU (first stage of the monitoring system) program code. As one can see, the program starts with the START command. During the next stage, a query/request is sent to the digital wattmeters. Upon receipt of a successful response and request for measurements, the measurement process is performed. After receiving the measured wattmeter values, a data packet is formed and sent to the second stage PLC module. TCP protocol is used for sending. If there is a need according to the command, the program cycle is repeated with the necessary procedures. When there is no need, this part of the system goes into standby mode. The second stage of the monitoring system consists of an industrial PLC. This part of the system receives data from the MCU module, analyzes them and transfers them to a stationary PC, where the data are recorded in the database. The structure diagram of the PLC program code algorithm is presented in Figure 7c. Program execution starts with the START PLC PROGRAM command. The next step is the configuration process of external modules. The working mode of the database is set. A request is sent to the MCU module for receiving data. Upon receiving the request, the MCU module sends a data packet to the PLC (the second stage of the monitoring system). During the next stage, the PLC program writes the data to the database. Instant value data are also displayed on the PC screen. After fulfilling the full set of algorithm requirements, the program cycle is repeated and the following monitoring of the parameters of the solar power plant is performed.
When a battery is charged with a PWM (pulse-width modulation) charger, the charge signal or cycle shortens over time because the PWM charger uses pulse-width modulation to regulate the current. When the battery is very discharged, the PWM charger delivers a maximum current pulse, so the signal has long and constant “on” cycles (long duty cycle, close to 100%). This means that most of the time, power is sent to the battery without interruption. When the battery reaches a certain charge level and the voltage rises, PWM regulates the current supply by reducing the pulse duration. Pulse-width modulation causes the cycle in the “on” part to begin to shorten and the “off” part to increase. This allows for slower charging, protecting the battery from overcharging. The duty cycle can drop to 50% or less. When the battery is almost fully charged, the PWM cycles become even shorter. The duty cycle can drop to small percentages like 10% or even less. This means that only very small current pulses are sent and most of the time the charger is off. Shortening cycle means that in each cycle of the PWM pulses, the “on” phase, when power is supplied to the battery, is shortened and the “off” phase is lengthened. This allows one to effectively regulate the current and protect the battery from overcharging, especially at the end of the charging process. The results of measurements of PWM charger characteristics are presented in Figure 8
PWM is also widely used to control LED brightness. In this case, the PWM signal regulates the brightness of the LED by alternating between “on” and “off” states in rapid pulses. A high duty cycle (close to 100%) means that the LED shines at its maximum, while a low duty cycle (e.g., 10%) provides a weaker light output. Because the signal changes rapidly, the human eye does not see the flickering, and the light appears constant. In conclusion, PWM technology is widely used not only in chargers, but also in various control systems. It allows for the efficient regulation of energy supply, avoiding unnecessary losses, while providing precise and accurate control in many areas of electronics and electromechanics [5,6,7].
The efficiency and speed of charging batteries depend on the efficiency of the charger and the charging process used. A comparison of PWM and MPPT charging methods where the battery voltage indicates the charge level over time is presented in Figure 9.
As we can see from the measurement results, up to the maximum voltage of 12.8 V, the battery charges in approximately 550 min when MPPT technology is used for charging. Meanwhile, when applying the PWM charging method, the battery is charged to the mentioned voltage value in approximately 650 min. In this case, a deep discharge 40 Ah 12 V battery was used in the study. During charging, the PWM charger directly connects the output of the solar panel to the battery. The voltage can change depending on the condition of the battery, and the current is regulated by shortening the duration of the “on” and “off” signals. However, PWM cannot optimize the power point of the solar panel, so it does not always use the energy efficiently. This means that when the voltage of the solar panel is higher than the battery, the excess energy is simply lost. MPPT chargers, on the other hand, continuously monitor the output of the solar panel and optimize the charging process by determining the maximum power point. MPPT regulates the input voltage and current in such a way that it uses the solar panel’s power at maximum efficiency. This allows for more energy, especially when solar conditions are unstable, such as cloud cover or temperature changes. PWM chargers work best when the solar panel voltage is close to the battery voltage. For example, if a 24 V solar panel is used to charge a 12 V battery, PWM will not be able to regulate the voltage effectively and will lose some power. Meanwhile, MPPT chargers can efficiently charge 12 V, 24 V, or 48 V batteries even at much higher solar panel voltages because they convert excess voltage into usable energy.
Changes in the state of batteries during different charging modes depend on the technology used and the dynamics of the charging process. With PWM (pulse-width modulation) chargers, batteries are charged in a long and consistent manner until a certain charge level is reached. When the battery is very discharged, the PWM charger delivers a maximum current pulse with a long “on” cycle and a shorter “off” period. This means that most of the time, power is supplied to the battery until it reaches the required charge level, and then PWM starts to reduce the current supply, shortening the “on” time to protect the battery from burning. Meanwhile, MPPT (Maximum Power Point Tracking) technology continuously monitors the output parameters of the solar modules and optimizes the energy recovery process, thus ensuring higher efficiency, especially in changing weather conditions. MPPT chargers can operate at any ratio between solar module voltage and battery voltage, and efficiently convert excess energy to achieve maximum energy use. As a result, MPPT chargers perform better in low-light conditions as they are able to maintain maximum power. For example, when a solar module generates more energy than the battery can accept, PWM technology simply loses this energy, while MPPT optimizes the charging process and makes the most of this energy. Such a difference between the technologies leads to different charging periods and final efficiency of the batteries, since PWM technology works most efficiently on sunny days, while MPPT ensures better energy utilization in changing weather conditions and also maintains the battery charging level optimally.
Analyzing the efficiency factor of MPPT and PWM chargers during battery charging, it is observed that the total useful work is higher in the case of MPPT than in the case of PWM. The dependence of efficiency over time, both in the case of PWM and MPPT, is presented in Figure 10.
The efficiency of MPPT and PWM chargers depends on the angle of the sun to the surface of the PV module. At a right angle between the solar radiation and the surface of the PV module, the efficiency is the highest and reaches about 75% for PWM and 92% for MPPT. The efficiency of MPPT and PWM chargers is one of the key considerations in understanding the differences in their performance and suitability in certain situations. This analysis and comparison help determine when to use one technology or another to get the most out of solar energy systems. The theoretical efficiency in a PWM charger is limited by its inability to maintain the maximum power point. PWM efficiency is directly related to the voltage difference between the solar module and the battery. Losses are due to unused solar energy. The maximum power of solar modules is usually achieved at a certain voltage, which does not necessarily coincide with the battery voltage. Due to this mismatch, PWM uses the available power inefficiently [4,5,6,7]. The theoretical efficiency in MPPT systems is much higher because the charger adapts to the difference in voltage between the solar module and the battery, converting the excess voltage into current for maximum energy use. An MPPT charger can operate at any ratio of solar module voltage to battery voltage while maintaining the maximum power point (MPT). MPPT is particularly effective in low sunlight or cloudy conditions where the voltage may be unstable. MPPT is able to monitor and maintain the maximum power point, so efficiency remains high even in changing lighting conditions.
During this study, error analysis and ensuring the accuracy and reliability of the data were carried out in several ways. First, the instruments used in the measurements, such as digital wattmeters, were calibrated prior to the measurements to ensure that the readings met the established standards. Second, each measurement was performed five times and the results were analyzed by averaging. The deviations of the values from the mean were vanishingly small, so they are not shown in the graphs.
With flexible solar modules, PWM (pulse-width modulation) and MPPT (Maximum Power Point Tracking) charging technologies operate differently depending on weather conditions. PWM works most efficiently in sunny conditions, but can lose power when the solar modules are at a higher voltage than the battery. On cloudy or rainy days, the efficiency of PWM is reduced because it has not been able to use all the power it generates. MPPT continuously monitors the output parameters of the solar modules and optimizes energy recovery, making it perform better in changing weather conditions. Due to this feature, MPPT provides higher energy efficiency, especially in poor weather conditions, compared to PWM. Flexible solar modules that can adapt to uneven surfaces allow for more efficient use of the sun’s rays, especially in bad weather conditions, as they can be quickly reoriented, which is especially useful when using MPPT technology. Meanwhile, rigid modules, which require a perfectly flat surface, can suffer efficiency losses if their position is not optimal, and their energy collection can be reduced on cloudy days [1,2,3,4,5]. With PWM, the efficiency of flexible modules can decrease when the intensity of sunlight decreases, while the inflexible modules can take longer to charge the batteries because they cannot use the full power generated.
The automatic monitoring system for a solar power plant stands out for its performance and advantages compared to other solutions on the market, such as Solar-Log, SMA Sunny Portal and Enphase Envoy. For example, Solar-Log offers advanced monitoring of energy production, but our system allows for greater efficiency and adaptability on uneven surfaces using flexible modules and microcontrollers [1,2,3,4]. In addition, compared to SMA Sunny Portal and Enphase Envoy, our solution provides better energy consumption analysis as it can accurately monitor battery charging processes in real time. This solution offers the possibility to adapt to different surfaces, thanks to the flexible solar modules that allow for more efficient use of solar energy even on uneven or unconventional surfaces. In addition, the automated monitoring system provides detailed analyses of energy production, battery charging and energy consumption, allowing for more efficient management of energy resources and optimizing their use. This solution outperforms others because its automated monitoring system and the use of flexible modules ensure greater energy efficiency, adaptability to various conditions and accurate real-time energy management compared to traditional solutions.

4. Conclusions

The results obtained during this study showed a relationship between the efficiency of the used charging technologies (PWM and MPPT) and the overall performance of solar energy systems. After analyzing the experimental data, it was found that the MPPT technology achieved an average charging time of about 550 min to 12.8 V in the charging process, while the PWM method took about 650 min, indicating that the MPPT charging method was more efficient. This difference of 100 min shows that the MPPT technology is able to make better use of solar energy, especially in changing weather conditions such as cloudy days. In addition, this study found that MPPT technology consistently supported higher energy efficiency. The solar modules achieved up to 92% efficiency when working with MPPT compared to PWM which maxed out at 75%. This trend is particularly important when the sunlight angle is optimal, but the MPPT technology also maintains high efficiency under non-uniform sunlight conditions. The experiment showed that flexible solar modules significantly increased energy harvesting, even with uneven surface conditions. For example, flexible modules installed on an uneven surface were able to generate up to 15% more energy compared to traditional rigid modules, which lose efficiency if their angle is not optimal. In this way, these innovations allow for better use of solar energy and the optimization of energy resource management. The energy consumption analysis of the devices showed that the system with flexible modules adapted more to changing conditions, optimizing the management of energy resources. This confirms that continuous data monitoring and analysis is necessary to ensure the optimal performance and efficiency of solar energy systems. Finally, the data collected during this study, including voltage, current and energy quantities, allow accurate recommendations for system optimization and further research development.

Author Contributions

Methodology, G.B. Software, I.Š. Formal analysis, G.G.; Writing—original draft, Ž.K. All authors have read and agreed to the published version of the manuscript.

Funding

This research received no external funding.

Institutional Review Board Statement

Not applicable.

Informed Consent Statement

Not applicable.

Data Availability Statement

The original contributions presented in the study are included in the article, and further inquiries can be directed to the corresponding author.

Conflicts of Interest

The authors declare no conflicts of interest.

References

  1. Li, X.; Li, P.; Wu, Z.; Luo, D.; Yu, H.; Lu, Z. Review and perspective of materials for flexible solar cells. Mater. Rep. Energy 2021, 1, 100001. [Google Scholar] [CrossRef]
  2. Dallaev, R.; Pisarenko, T.; Papež, N.; Holcman, V. Overview of the Current State of Flexible Solar Panels and Photovoltaic Materials. Materials 2023, 16, 5839. [Google Scholar] [CrossRef]
  3. Kavaliauskas, Ž.; Šajev, I.; Blažiūnas, G.; Gecevičius, G.; Čapas, V.; Adomaitis, D. Electronic System for the Remote Monitoring of Solar Power Plant Parameters and Environmental Conditions. Electronics 2022, 11, 1431. [Google Scholar] [CrossRef]
  4. Ansari, S.; Ayob, A.; Lipu, M.; Saad, M.; Hussain, A. A Review of Monitoring Technologies for Solar PV Systems Using Data Processing Modules and Transmission Protocols: Progress, Challenges and Prospects. Sustainability 2021, 13, 8120. [Google Scholar] [CrossRef]
  5. Asnil, A.; Krismadinata, K.; Husnaini, I.; Hazman, H.; Astrid, E. Real-Time Monitoring System Using IoT for Photovoltaic Parameters. TEM J. 2023, 12, 1316–1322. [Google Scholar] [CrossRef]
  6. Tian, X.; Wang, J.; Ji, J.; Xia, T. Comparative performance analysis of the flexible flat/curved PV modules with changing inclination angles. Energy Conv. Manag. 2022, 274, 116472. [Google Scholar] [CrossRef]
  7. Hantoro, R.; Septyaningrum, E.; Setiadi, I.; Izdiharrudin, M.; Uwitije, P.; Akbar, A.; Rahmawan, N.; Sinatra, L. Design and Implementation of Real-Time Monitoring System for Solar Power Plant in Surabaya, Indonesia. E3S Web Conf. 2020, 190, 00034. [Google Scholar] [CrossRef]
  8. Tjengdrawira, C.; Lamers, M.W.P.E.; Bennett, I.J.; De Jong, P.C. World first 17% efficient multi-crystalline silicon module. In Proceedings of the 35th IEEE Photovoltaic Specialist Conference, Honolulu, HI, USA, 20–25 June 2010. [Google Scholar]
  9. Untila, G.G.; Zaks, M.B. Silicon photoenergetics: State and main directions of development. Teploenergetika 2011, 11, 46–59. [Google Scholar]
  10. Veltkamp, T.; Coletti, G. Wafer-based crystalline silicon modules at 1 euro/wp: Final results from the crystalclear integrated project. In Proceedings of the Silicon for the Chemical and Solar Industry X, Geiranger, Norway, 28 June 28–2 July 2010. [Google Scholar]
  11. Green, M.A. Crystalline and thin film silicon solar cells: State of the art and future potentia. Sol. Energy 2003, 74, 181–198. [Google Scholar] [CrossRef]
  12. Kazmerski, L.L. Photovoltaics: A review of cell and module technologies. Renew. Sustain. Energy Rev. 1997, 1, 71–170. [Google Scholar] [CrossRef]
  13. Shockley, W.; Queisser, H.J. Detailed Balance Limit of Efficiency of p-n Junction Solar Cells. J. Appl. Phys. 1961, 32, 510–519. [Google Scholar] [CrossRef]
  14. Ramu, P.; Aho, A.; Polojärvi, V.; Aho, T.; Tukiainen, A.; Hakkarainen, T.; Reuna, J.; Lyytikäinen, J.; Hytönen, R.; Guina, M. Epitaxial lift-off process for GaAs solar cells controlled by InGaAs internal sacrificial stressor layers and a PMMA surface stressor. Sol. Energy Mater. Sol. Cells 2022, 248, 111982. [Google Scholar] [CrossRef]
  15. Sahoo, G.S.; Mishra, G.P. Analysis of Band Alignment Engineering and Interface Defects on a GaAs/GaSb Heterostructure Solar Cell. Phys. Status Solidi 2022, 219, 2200063. [Google Scholar] [CrossRef]
  16. Markna, J.; Rathod, P.K. Review on the efficiency of quantum dot sensitized solar cell: Insights into photoanodes and QD sensitizers. Dyes Pigments 2022, 199, 110094. [Google Scholar] [CrossRef]
  17. Yuan, J.; Hazarika, A.; Zhao, Q.; Ling, X.; Moot, T.; Ma, W.; Luther, J.M. Metal Halide Perovskites in Quantum Dot Solar Cells: Progress and Prospects. Joule 2020, 4, 1160–1185. [Google Scholar] [CrossRef]
  18. Yang, X.; Wang, K.; Gu, Y.; Ni, H.; Wang, X.; Yang, T.; Wang, Z. Improved efficiency of InAs/GaAs quantum dots solar cells by Si-doping. Sol. Energy Mater. Sol. Cells 2013, 113, 144–147. [Google Scholar] [CrossRef]
  19. Zakaria, A.; Ismail, F.B.; Lipu, M.S.H.; Hannan, M.A. Uncertainty models for stochastic optimization in renewable energy applications. Renew. Energy 2020, 145, 1543–1571. [Google Scholar] [CrossRef]
  20. Minh, P.V.; Quang, S.L.; Pham, M. Technical Economic Analysis of Photovoltaic-Powered Electric Vehicle Charging Stations under Different Solar Irradiation Conditions in Vietnam. Sustainability 2021, 13, 3528. [Google Scholar] [CrossRef]
  21. Li, G.; Li, M.; Taylor, R.; Hao, Y.; Besagni, C.G.; Markides, N. Solar energy utilisation: Current status and roll-out potential. Appl. Therm. Eng. 2022, 5, 118285. [Google Scholar] [CrossRef]
  22. Alsadi, S.Y.; Nassar, Y.F. Estimation of Solar Irradiance on Solar Fields: An Analytical Approach and Experimental Results. IEEE Trans. Sustain. Energy 2017, 8, 1601–1608. [Google Scholar] [CrossRef]
  23. Benedek, J.; Sebestyén, T.T.; Bartók, B. Evaluation of renewable energy sources in peripheral areas and renewable energy-based rural development. Renew. Sustain. Energy Rev. 2018, 90, 516–535. [Google Scholar] [CrossRef]
  24. Hannan, M.A.; Ghani, Z.A.; Hoque, M.M.; Hossain Lipu, M.S. A fuzzy-rule-based PV inverter controller to enhance the quality of solar power supply: Experimental test and validation. Electronics 2019, 8, 1335. [Google Scholar] [CrossRef]
  25. Al-Shahri, O.A.; Ismail, F.B.; Hannan, M.A.; Lipu, M.S.H.; Al-Shetwi, A.Q.; Begum, R.A.; Al-Muhsen, N.F.O.; Soujeri, E. Solar photovoltaic energy optimization methods, challenges and issues: A comprehensive review. J. Clean. Prod. 2021, 284, 125465. [Google Scholar] [CrossRef]
  26. Schmela, M.; Beauvais, A.; Chevillard, N.; Paredes, M.G.; Heisz, M.; Rossi, R. Global Market Outlook for Solar Power/2018–2022; Solar Power Europe: Brussels, Belgium, 2018. [Google Scholar]
  27. Singh, A.; Chawla, M.P.S. Zigbee and RF Module based Solar Panel Monitoring System. Int. J. Innov. Technol. Explor. Eng. 2018, 7, 7–12. [Google Scholar]
  28. Cihan, M. Monitoring System for Solar Panel using Xbee ZB Module based Wireless Sensor Networks. Int. J. Eng. Res. Technol. 2019, 8, 290–295. [Google Scholar]
  29. Aju, O.G. A Survey of ZigBee Wireless Sensor Network Technology: Topology, Applications and Challenges. Int. J. Comput. Appl. 2015, 130, 47–55. [Google Scholar]
  30. Patel, H.J.; Temple, M.A.; Baldwin, R.O. Improving ZigBee device network authentication using ensemble decision tree classifiers with radio frequency distinct native attribute fingerprinting. IEEE Trans. Reliab. 2015, 64, 221–233. [Google Scholar] [CrossRef]
  31. Haq, I.; Rahman, Z.U.; Ali, S.; Faisal, E.M. GSM Technology: Architecture, Security, and Future Challenges. Int. J. Sci. Eng. Adv. Technol. 2017, 5, 70–74. [Google Scholar]
Figure 1. Conceptual diagram of the system for monitoring the working parameters of a solar power plant with flexible modules.
Figure 1. Conceptual diagram of the system for monitoring the working parameters of a solar power plant with flexible modules.
Applsci 14 09500 g001
Figure 2. The main block diagram of the monitoring system.
Figure 2. The main block diagram of the monitoring system.
Applsci 14 09500 g002
Figure 3. Electrical diagram of power measurement.
Figure 3. Electrical diagram of power measurement.
Applsci 14 09500 g003
Figure 4. Electrical diagram of the first stage of the monitoring system.
Figure 4. Electrical diagram of the first stage of the monitoring system.
Applsci 14 09500 g004
Figure 5. PCB of the power measurement circuit (a) and the circuit of the first stage of the monitoring system (b).
Figure 5. PCB of the power measurement circuit (a) and the circuit of the first stage of the monitoring system (b).
Applsci 14 09500 g005
Figure 6. An image of the main window of the PC program with settings.
Figure 6. An image of the main window of the PC program with settings.
Applsci 14 09500 g006
Figure 7. Control program algorithms: (a) power measurement module program algorithm; (b) algorithm of the first stage of the monitoring system and (c) algorithm of the second stage of the monitoring system.
Figure 7. Control program algorithms: (a) power measurement module program algorithm; (b) algorithm of the first stage of the monitoring system and (c) algorithm of the second stage of the monitoring system.
Applsci 14 09500 g007
Figure 8. Dependence of PWM cycle length on battery charge level.
Figure 8. Dependence of PWM cycle length on battery charge level.
Applsci 14 09500 g008
Figure 9. Battery voltage dependence when PWM and MPPT systems are used for charging.
Figure 9. Battery voltage dependence when PWM and MPPT systems are used for charging.
Applsci 14 09500 g009
Figure 10. Time dependence of the efficiency of PWM and MPPT charging controllers.
Figure 10. Time dependence of the efficiency of PWM and MPPT charging controllers.
Applsci 14 09500 g010
Disclaimer/Publisher’s Note: The statements, opinions and data contained in all publications are solely those of the individual author(s) and contributor(s) and not of MDPI and/or the editor(s). MDPI and/or the editor(s) disclaim responsibility for any injury to people or property resulting from any ideas, methods, instructions or products referred to in the content.

Share and Cite

MDPI and ACS Style

Kavaliauskas, Ž.; Šajev, I.; Blažiūnas, G.; Gecevičius, G. Investigation of the Automatic Monitoring System of a Solar Power Plant with Flexible PV Modules. Appl. Sci. 2024, 14, 9500. https://doi.org/10.3390/app14209500

AMA Style

Kavaliauskas Ž, Šajev I, Blažiūnas G, Gecevičius G. Investigation of the Automatic Monitoring System of a Solar Power Plant with Flexible PV Modules. Applied Sciences. 2024; 14(20):9500. https://doi.org/10.3390/app14209500

Chicago/Turabian Style

Kavaliauskas, Žydrūnas, Igor Šajev, Giedrius Blažiūnas, and Giedrius Gecevičius. 2024. "Investigation of the Automatic Monitoring System of a Solar Power Plant with Flexible PV Modules" Applied Sciences 14, no. 20: 9500. https://doi.org/10.3390/app14209500

APA Style

Kavaliauskas, Ž., Šajev, I., Blažiūnas, G., & Gecevičius, G. (2024). Investigation of the Automatic Monitoring System of a Solar Power Plant with Flexible PV Modules. Applied Sciences, 14(20), 9500. https://doi.org/10.3390/app14209500

Note that from the first issue of 2016, this journal uses article numbers instead of page numbers. See further details here.

Article Metrics

Back to TopTop