Numerical and Experimental Studies on Crack Resistance of Ultra-High-Performance Concrete Decorative Panels for Bridges
Abstract
1. Introduction
2. Design and Analysis of Decorative Panels
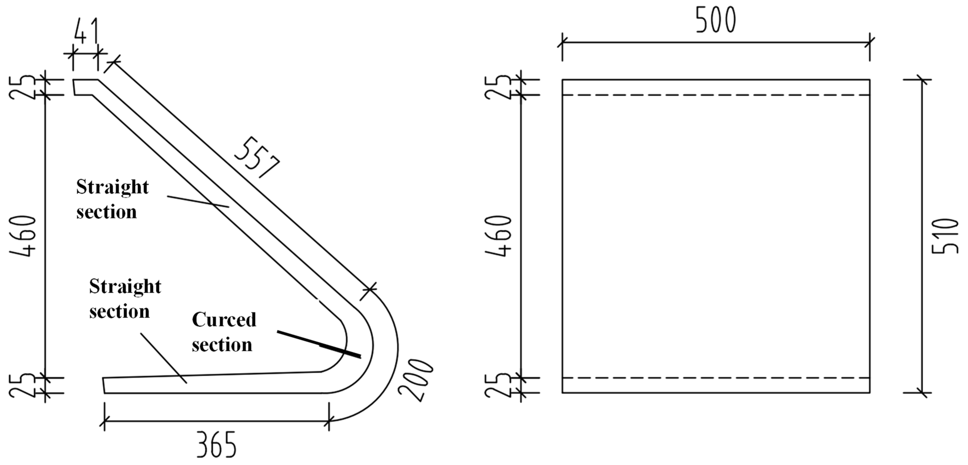
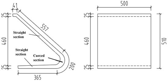
2.1. Configuration of Decorative Panels
2.2. Structural Analysis
2.2.1. Analysis of the Entire Bridge
2.2.2. Analysis of Decorative Panels
3. Self-Balanced Bending Tests of Decorative Panels
3.1. Test Design
3.2. Mechanical Property Tests of Concrete
3.3. Test Setup and Apparatus of Self-Bending Tests
4. Test Results and Discussion
4.1. Failure Mode
4.2. Load vs. Displacement
4.3. Characteristic Loads
4.3.1. Cracking Stress
4.3.2. Impact of Curved Section Thickness
5. Conclusions
- (1)
- The numerical results show that the deformation of the main girder of the bridge was the primary cause of stress in the decorative panels. The curved section of the decorative panel had the greatest tensile stress, which should be paid particular attention in the design.
- (2)
- The failure modes of UHPC decorative panels and UHPC tension specimens were the pull-out of steel fibers from the UHPC matrix. The GRC tension specimens exhibited a failure mode of glass fiber rupture, while in the case of GRC decorative panels, the delamination of glass fibers tended to be the failure mode.
- (3)
- Compared to GRC decorative panels, UHPC decorative panels had greater stiffness and superior ductility. GRC decorative panels showed a brittle fracture after the curved section thickness reached 34 mm, while all the UHPC decorative panels saw ductile failure.
- (4)
- The cracking stresses of the UHPC decorative panels were like those of the UHPC tension specimens, while the GRC decorative panels exhibited a smaller cracking stress than the GRC tension specimens. The cracking load and ultimate load of the UHPC decorative panels exceeded those of the GRC decorative panels by 64.3% to 123.0% and 29.2% to 115.0%, respectively. Compared to 30 mm-long glass fibers, 9 mm-long steel fibers exhibit a more significant improvement in the crack resistance of the decorative panels.
- (5)
- The distribution of steel fibers in the panel shows a considerable size effect. In UHPC decorative panels, the cracking stress decreased slightly as the panel thickness increased. Due to fiber distribution, when the curved section thickness reached a threshold value (37 mm in this study), the value and increment of the ultimate load of UHPC decorative panels began to decrease.
Author Contributions
Funding
Institutional Review Board Statement
Informed Consent Statement
Data Availability Statement
Acknowledgments
Conflicts of Interest
References
- Liu, L. Study on the Selection of Bridge Form Based on Environment and Function. Master’s Thesis, Chongqing Jiaotong University, Chongqing, China, 2019. (In Chinese). [Google Scholar] [CrossRef]
- Branco, F.; Ferreira, J.; Brito, J.D.; Santos, J.R. Building structures with GRC. In Proceedings of the CIB World Building Congress, Wellington, New Zealand, 23–25 April 2003. [Google Scholar]
- Li, J.; Wu, Z.; Shi, C.; Yuan, Q.; Zhang, Z. Durability of ultra-high performance concrete—A review. Constr. Build. Mater. 2020, 255, 119296. [Google Scholar] [CrossRef]
- Xue, J.; Briseghella, B.; Huang, F.; Nuti, C.; Tabatabai, H.; Chen, B. Review of ultra-high performance concrete and its application in bridge engineering. Constr. Build. Mater. 2020, 260, 119844. [Google Scholar] [CrossRef]
- Abbas, S.; Nehdi, M.L.; Saleem, M.A. Ultra-High Performance Concrete: Mechanical Performance, Durability, Sustainability and Implementation Challenges. Int. J. Concr. Struct. Mater. 2016, 10, 271–295. [Google Scholar] [CrossRef]
- Graybeal, B.A. Material Property Characterization of Ultrahigh Performance Concrete. Mclean: Federal Highway Administration. 2006. Available online: https://rosap.ntl.bts.gov/view/dot/38714/dot_38714_DS1.pdf (accessed on 17 December 2023).
- Shafieifar, M.; Farzad, M.; Azizinamini, A. Experimental and numerical study on mechanical properties of Ultra High Performance Concrete (UHPC). Constr. Build. Mater. 2017, 156, 402–411. [Google Scholar] [CrossRef]
- Park, S.H.; Kim, D.J.; Ryu, G.S.; Koh, K.T. Tensile behavior of Ultra High Performance Hybrid Fiber Reinforced Concrete. Cem. Concr. Compos. 2012, 34, 172–184. [Google Scholar] [CrossRef]
- Xie, L.B. The Effect of Strengthening and Toughening of Hybrid Fiber on Ultra High Performance Concrete Plate. Master’s Thesis, Hunan University, Changsha, China, 2017. (In Chinese). [Google Scholar]
- Guo, J.Y.; Wang, J.Y.; Wu, K. Effects of self-healing on tensile behavior and air permeability of high strain hardening UHPC. Constr. Build. Mater. 2019, 204, 342–356. [Google Scholar] [CrossRef]
- Rajczakowska, M.; Nilsson, L.; Habermehl-Cwirzen, K.; Hedlund, H.; Cwirzen, A. Does a high amount of unhydrated Portland cement ensure an effective autogenous self-healing of mortar? Materials 2019, 12, 3298. [Google Scholar] [CrossRef] [PubMed]
- Liu, J.; Shi, C.; Wu, Z. Hardening, microstructure, and shrinkage development of UHPC: A review. J. Asian Concr. Fed. 2019, 5, 1–19. [Google Scholar] [CrossRef]
- Shen, P.; Lu, L.; He, Y.; Rao, M.; Fu, Z.; Wang, F.; Hu, S. Experimental investigation on the autogenous shrinkage of steam cured ultra-high performance concrete. Constr. Build. Mater. 2018, 162, 512–522. [Google Scholar] [CrossRef]
- Fan, J.; Yu, L. Analysis of application of ultra-high performance concrete in prefabricated building and its quality control index. China Concr. Cem. Prod. 2020, 9, 1–4. (In Chinese) [Google Scholar] [CrossRef]
- Kim, S.; Kang, T.H.K.; Hong, S.G. Impact performance of thin prefabricated ultra-high performance concrete facade. ACI Struct. J. 2021, 118, 167–177. [Google Scholar] [CrossRef]
- Harsono, K.; Shih, S.G.; Chen, Y.J. The Integration of Design and Fabrication for Prefabricated UHPC Panels of Building Facades. In Proceedings of the 5th International Conference on Civil and Building Engineering Informatics, Bangkok, Thailand, 19–21 July 2023; pp. 444–451. [Google Scholar]
- Mueller, U.; Portal, N.W.; Chozas, V.; Flansbjer, M.; Larazza, I.; da Silva, N.; Malaga, K. Reactive powder concrete for façade elements – A sustainable approach. J. Facade Des. Eng. 2016, 4, 53–66. [Google Scholar] [CrossRef]
- Maier, A.; Gilka-Bötzow, A.; Schneider, J. An energy-active facade element from mineralized foam (MF) and micro-reinforced, ultra-high-performance concrete (mrUHPC). J. Facade Des. Eng. 2016, 3, 289–301. [Google Scholar] [CrossRef][Green Version]
- Qi, Y.; Huang, K.; Li, J.; Zeng, Y.; Huang, K. Hysteretic Performance of Ring-shaped Energy-dissipating Devices for Assembly of Steel Frame Structure with External Wall Panel. J. Smart Build. Constr. Technol. 2023, 5, 17–25. [Google Scholar] [CrossRef]
- Yang, Y.; Shi, X. Design study of energy-dissipating connections of exterior wall panels. Low Temp. Archit. Technol. 2013, 35, 73–75. (In Chinese) [Google Scholar]
- JTG 3362–2018; Specifications for Design of Highway Reinforced Concrete and Pre-Stressed Concrete Bridges and Culverts. China Communications Press: Beijing, China, 2018. (In Chinese)
- JTG D60-2015; General Specifications for Design of Highway Bridges and Culverts. China Communications Press: Beijing, China, 2015. (In Chinese)
- GB 55001-2021; General Code for Engineering Structures. China Industrial Architecture Press: Beijing, China, 2021. (In Chinese)
- CJJ11-2011; Code for Design of the Municipal Bridge. China Industrial Architecture Press: Beijing, China, 2011. (In Chinese)
- GB 50009-2012; Load Code for the Design of Building Structures. China Industrial Architecture Press: Beijing, China, 2012. (In Chinese)
- GB/T 31387-2015; Reactive Powder Concrete. Standards Press of China: Beijing, China, 2015. (In Chinese)
- ASTM C1116/C1116M-23; Standard Specification for Fiber-Reinforced Concrete. American Society for Testing and Materials: West Conshohocken, PA, USA, 2023.
- ASTM C1550-20; Method for Flexural Toughness of Fiber Reinforced Concrete. American Society for Testing and Materials: West Conshohocken, PA, USA, 2020.
- Chen, Y. Study on Mechanical Properties of Basalt Fiber Shotcrete in High Geothermal Environment. Master’s Thesis, Xi’an University of Architecture and Technology, Xi’an, China, 2022. (In Chinese). [Google Scholar] [CrossRef]
- Dong, S.; Zhou, D.; Ashour, A.; Han, B.; Ou, J. Flexural toughness and calculation model of super-fine stainless wire reinforced reactive powder concrete. Cem. Concr. Compos. 2019, 104, 103367. [Google Scholar] [CrossRef]













| Material | Compressive Strength (MPa) | Tensile Strength (MPa) | Modulus of Elasticity (GPa) |
|---|---|---|---|
| C60 concrete | 26.5 | 1.96 | 36 |
| HRB400 steel bar | - | 330 | 200 |
| HPB300 steel bar | - | 250 | 200 |
| Steel strand | - | 1260 | 195 |
| Q345 steel plate | - | 310 | 200 |
| Load Type | Load Value | Combination Coefficient | |
|---|---|---|---|
| Dead load | Self-weight | 26 kN/m3 | 1.0 |
| Secondary dead | 62 kN/m | ||
| Vehicle load | Lane | 10.5 kN/m | 0.4 |
| Vehicle concentrated | 360 kN | ||
| Temperature | Temperature lifting | ±20 °C | 0.5 |
| Temperature gradient | Table 3 | ||
| Support settlement | 10 mm | 1.0 | |
| Shrinkage and creep | JTG 3362-2018 | 1.0 | |
| Height (m) | Positive (°C) | Negative (°C) | ||
|---|---|---|---|---|
| T1 | T2 | T3 | T4 | |
| 0–0.1 | 25 | 6.7 | −12.5 | −3.35 |
| 0.1–0.2 | 6.7 | 4.47 | −3.35 | −2.235 |
| 0.2–0.4 | 4.47 | 0 | −2.235 | 0 |
| 0.4–0.7 | 0 | 0 | 0 | 0 |
| Segment | Transverse (mm/m) | Vertical (mm/m) | Longitudinal (mm/m) |
|---|---|---|---|
| Last concrete cantilever | 0.021 | 4.8 | 0.78 |
| Pier top | 0.04 | 0.97 | 0.15 |
| Steel girder midspan | 0.02 | 0.4 | 0.44 |
| Load Type | Load Value | Maximum Tensile Stress (MPa) | Adverse Position |
|---|---|---|---|
| Forced deformation | 4.8 mm | 4.7 | Curved section |
| Wind load | 0.4 kN/m2 | 0.5 | Straight section |
| Self-weight | 9.80 m/s2 | 1.5 | Curved section |
| Temperature | ±20 °C | 0.7 | Connection position |
| Combination | - | 5.1 | Curved section |
| Specimen Number | Material | Curved Section Thickness (mm) | Straight Section Thickness (mm) |
|---|---|---|---|
| U25 | UHPC | 25 | 25 |
| U28 | 28 | ||
| U31 | 31 | ||
| U34 | 34 | ||
| U37 | 37 | ||
| U40 | 40 | ||
| G25 | GRC | 25 | |
| G28 | 28 | ||
| G31 | 31 | ||
| G34 | 34 | ||
| G37 | 37 | ||
| G40 | 40 |
| Material | Cube Compressive Strength (MPa) | Uniaxial Compressive Strength (MPa) | Modulus of Elasticity (GPa) | Uniaxial Tensile Cracking Strength (MPa) |
|---|---|---|---|---|
| GRC | 62.2 | 57.1 | 32.3 | 6.8 |
| UHPC | 111.9 | 104.7 | 39.7 | 7.8 |
| Cracking Load (N) | Ultimate Load (N) | L (mm) | Cracking Stress (MPa) | Mean (MPa) | μcr/% | μu/% | |
|---|---|---|---|---|---|---|---|
| U25 | 1334.1 | 1863.9 | 361 | 9.35 | 8.12 | 126.8 | 81.0 |
| U28 | 1491.1 | 2256.3 | 371 | 8.57 | 87.7 | 115.0 | |
| U31 | 1677.5 | 2472.1 | 380 | 8.07 | 71.2 | 86.7 | |
| U34 | 1952.1 | 2687.9 | 374 | 7.69 | 70.4 | 39.1 | |
| U37 | 2256.3 | 3276.5 | 378 | 7.60 | 64.3 | 39.2 | |
| U40 | 2550.6 | 3168.3 | 381 | 7.42 | 68.1 | 29.2 | |
| G25 | 588.6 | 1030.0 | 367 | 4.19 | 4.51 | - | - |
| G28 | 794.6 | 1049.6 | 380 | 4.68 | - | - | |
| G31 | 981.0 | 1324.3 | 368 | 4.57 | - | - | |
| G34 | 1147.7 | 1932.5 | 374 | 4.52 | - | - | |
| G37 | 1373.3 | 2354.4 | 378 | 4.62 | - | - | |
| G40 | 1520.5 | 2452.5 | 385 | 4.47 | - | - |
Disclaimer/Publisher’s Note: The statements, opinions and data contained in all publications are solely those of the individual author(s) and contributor(s) and not of MDPI and/or the editor(s). MDPI and/or the editor(s) disclaim responsibility for any injury to people or property resulting from any ideas, methods, instructions or products referred to in the content. |
© 2024 by the authors. Licensee MDPI, Basel, Switzerland. This article is an open access article distributed under the terms and conditions of the Creative Commons Attribution (CC BY) license (https://creativecommons.org/licenses/by/4.0/).
Share and Cite
Zhao, J.; Zhang, Y.; Qin, Y. Numerical and Experimental Studies on Crack Resistance of Ultra-High-Performance Concrete Decorative Panels for Bridges. Appl. Sci. 2024, 14, 636. https://doi.org/10.3390/app14020636
Zhao J, Zhang Y, Qin Y. Numerical and Experimental Studies on Crack Resistance of Ultra-High-Performance Concrete Decorative Panels for Bridges. Applied Sciences. 2024; 14(2):636. https://doi.org/10.3390/app14020636
Chicago/Turabian StyleZhao, Jiongfeng, Yang Zhang, and Yanyue Qin. 2024. "Numerical and Experimental Studies on Crack Resistance of Ultra-High-Performance Concrete Decorative Panels for Bridges" Applied Sciences 14, no. 2: 636. https://doi.org/10.3390/app14020636
APA StyleZhao, J., Zhang, Y., & Qin, Y. (2024). Numerical and Experimental Studies on Crack Resistance of Ultra-High-Performance Concrete Decorative Panels for Bridges. Applied Sciences, 14(2), 636. https://doi.org/10.3390/app14020636
