Next Article in Journal
AIS Data Driven Ship Behavior Modeling in Fairways: A Random Forest Based Approach
Next Article in Special Issue
The Applications and Challenges of Digital Twin Technology in Smart Grids: A Comprehensive Review
Previous Article in Journal
Research on Positioning Error Compensation of Rock Drilling Manipulator Based on ISBOA-BP Neural Network
 
 
Font Type:
Arial Georgia Verdana
Font Size:
Aa Aa Aa
Line Spacing:
Column Width:
Background:
Article

Multi-Span Tension Control for Printing Systems in Gravure Printed Electronic Equipment

by
Kui He
1,2,*,
Shifa Li
1,
Pengbo He
1,
Jian Li
1,2 and
Xingmei Wei
1,2
1
School of Mechatronics Engineering, Henan University of Science and Technology, Luoyang 471000, China
2
High-End Bearing Collaborative Innovation Center of Henan Province, Luoyang 471000, China
*
Author to whom correspondence should be addressed.
Appl. Sci. 2024, 14(18), 8483; https://doi.org/10.3390/app14188483
Submission received: 19 August 2024 / Revised: 11 September 2024 / Accepted: 18 September 2024 / Published: 20 September 2024
(This article belongs to the Special Issue Intelligent Control of Electromechanical Complex System)

Abstract

The tension system is one of the most critical systems in gravure printed electronic equipment. It possesses a complex structure that spans the entire feeding process, from unwinding through printing to rewinding. This article focuses on the research of multi-span tension control for printing systems. Firstly, the characteristics and requirements of the tension-control system in the printing section were analyzed, and a multi-span tension-control structure was devised. Then, based on the coupled mathematical model of the multi-span tension system, a static decoupling model was formulated, and a first-order active disturbance rejection control (ADRC) controller was designed utilizing active disturbance rejection control technology. Finally, to verify the control performance of the ADRC decoupling controller for the printing tension system, simulation and experimental studies were conducted using MATLAB/Simulink R2018a and a dedicated experimental platform, and the results were then compared with those obtained from a traditional PID controller. The research findings indicate that the designed multi-span tension-control system demonstrates outstanding decoupling performance and anti-interference capabilities, effectively enhancing the tension-control accuracy of gravure printed electronic equipment.

1. Introduction

Printed electronics technology involves the process of layering and depositing various electronic materials in the form of ink through printing methods, thereby forming electronic devices or circuit systems with diverse functions. Shakeel studied the key technology to attain a high degree of TFT integration through R2R gravure printing [1]. Shan developed a R2R processing system with gravure printing and coating functions for manufacturing printed electronic devices on flexible substrates [2]. Lee analyzed the rheological properties of silver inks in the R2R printing process [3]. Gong provided a potential strategy for commercially fabricating flexible perovskite solar cells (f-PSCs) via a scalable and efficient R2R printing process [4]. Compared with traditional manufacturing techniques for electronic devices and circuits, printed electronics technology boasts numerous advantages, including the absence of a corrosion process, environmental friendliness, minimal material and energy consumption, as well as the capability for large-scale production [5,6].
Gravure printed electronic equipment is an essential piece of machinery for producing roll-to-roll (R2R) gravure-printing electronic products. While gravure-printing electronic products share similar production processes with traditional gravure printing of image–text materials, the former necessitates higher performance standards for the gravure-printing equipment, including greater accuracy in web tension and registration [7].
The tension system, which serves as the core of gravure printed electronic equipment, comprises three subsystems: unwinding, printing, and rewinding, as shown in Figure 1. The primary function of the unwinding tension system is specifically to ensure that the web enters the printing section at a consistent speed while minimizing tension fluctuations. The purpose of the printing tension system is not only to maintain a constant web tension but also to ensure higher tension accuracy. This tension system is intimately coupled with the register system in the printing section, serving as its foundation. The rewinding tension system controls the web tension, ensuring that it varies vary according to a predetermined law (e.g., taper tension) during the rewinding process, thereby ensuring rewind quality and preventing wrinkles in the rolled material. The tension system of gravure printed electronic equipment has a complex structure and variable working conditions, and it is influenced by numerous factors that make the tension system exhibit nonlinear, strong coupling, and strong interference characteristics.
The tension model serves as the foundation of tension control. Numerous scholars have been studying tension system models with the aim of devising mathematical models capable of accurately reflecting the intricate relationships among inputs, outputs, and various disturbances. In the unwinding and rewinding processes of gravure printed electronic equipment, significant tension fluctuations arise due to the continual changes in the radius and moment of inertia of the material roll, as well as the utilization of dancer roller mechanisms and material changing devices. Consequently, this topic has garnered substantial attention within the field of tension research. Many scholars have concentrated their efforts on studying models of key components or subsystems within tension systems. Zhou established a dynamic model of the non-continuous unwinding tension-control system to research the tension characteristics of non-continuous film unwinding systems [9]. Dwivedula proposed a mathematical model of the R2R system and described the effect of transmission backlash on web tension [10]. Shao established the nonlinear coupling model of winding tension system by the coupling method [11]. The factors influencing changes in the tension of a roll-to-roll system were analyzed, and a tension model was developed for each section to predict the tension by Jeong [12].
The web tension is not only related to the printing speed and roll diameter changes but also to the mechanical accuracy, materials, temperature, humidity, and other factors. With the increasing demand for printing accuracy, these influencing factors need to be considered when modeling tension systems. Jeon proposed a fast stabilization method for web tension in the drying process to reduce the time required for the stabilization of the tension [13]. Ma conducted a dynamic study on the film and guide rollers in the film transport system of gravure printing [14]. He comprehensively considered the influence of temperature and established the most basic single-span tension model [15,16]. Based on this, He explored the coupling relationship of multi-span tension systems [8].
In terms of tension control, employing the correct tension model and adopting appropriate control strategies can essentially achieve effective tension control. Simply relying on PID control in industrial applications proves difficult for accommodating the nonlinearity, strong coupling, and time-varying parameters characteristic of tension systems. Consequently, some scholars have employed PID control as the core and integrated it with other control algorithms to devise composite control methods specifically for tension control. Park designed a variable-gain PID to control the tension of the unwinding system [17]. Raul devised a feedforward control strategy to improve the control accuracy for known disturbances in the system [18]. He also designed and discussed two adaptive PI control schemes for the control of web tension in R2R manufacturing systems [19].
In recent years, with the improvements in device computing power, modern control methods, such as robust control, fuzzy control, and neural network control, have developed rapidly, and these control methods have also been studied and applied in tension systems. Gassmann adopted the H∞ robust control algorithm for the tension control of the unwinding system, which has demonstrated a significant interference suppression effect in simulation results [20]. Choi applied regularized variable learning-rate backpropagating artificial neural networks for the control of a roll-to-roll system [21]. Ponniah proposed a fuzzy-logic-based hybrid approach specifically tailored for tension systems, enabling the automatic adjustment of control parameters for adapting to variations in system parameters and structural uncertainties, as reported in [22]. Tran devised a backstepping control strategy specifically for a tension-control system, with simulation results demonstrating its capability of achieving high accuracy in tension control [23]. Eum successfully achieved robust control of the unwinding tension subsystem through the innovative design of a disturbance observer, as described in [24]. He designed a high-precision reduced-order observer-based LQR control method for roll-to-roll systems [25]. Kim introduced an advanced observer-based single-loop feedback system for roll-to-roll machine tension-control applications, and the simulation results numerically validated the feasibility of the proposed solution [26]. The modern control methods also have some problems in practical applications, such as fuzzy control requiring rich manual experience to formulate logical rules, robust control relying heavily on models, and neural network control requiring a lot of training. For systems with high complexity, the workload associated with implementing these modern control methods multiplies.
Active disturbance rejection control (ADRC) technology has evolved from PID control and proposes several improvement methods to address the shortcomings of PID control. The main methods encompass: (1) Incorporating a tracking differentiator (TD) to arrange the transition process and extract error signals more effectively. (2) Utilizing both the extended state observer (ESO) and the tracking differentiator (TD) for the reasonable extraction of differential signals, which can effectively suppress interference signals. (3) Eliminating the integration step and adopting a nonlinear state error feedback (NLSEF) control method, resulting in higher efficiency and better control performance. (4) Real-time estimation of unknown disturbances within the system using an extended state observer (ESO), followed by immediate compensation for the estimated disturbances, thereby enhancing the dynamic performance of the system. A decoupling controller based on ADRC was proposed for the rewinding tension system by Wang [27]. He built an ADRC decoupling controller for the rewinding tension system of the R2R printing equipment [28]. Ju designed a parameter self-tuning decoupling controller based on ADRC for tension systems of roll-to-roll coating machines [29]. Ding proposed a feedforward ADRC parameter self-tuning decoupling control strategy to improve the control precision of the nonlinear register system for flexographic printing [30].
It can be observed that the aforementioned research primarily focuses on both unwinding and rewinding tension systems, whereas relatively little attention has been devoted to printing tension systems. The primary rationale behind this phenomenon stems from the fact that traditional image–text printing requires lower equipment precision, thus ensuring effective control of both the unwinding and rewinding tension systems suffices. However, when it comes to gravure printed electronic equipment, which demands stricter standards for tension-control accuracy, a more profound investigation into the printing tension system becomes imperative. Given its characteristic of multi-span coupling and the substantial influence from the drying system, the printing tension system necessitates the exploration of decoupling control methodologies tailored specifically for it. The control strategy employed ought to possess good decoupling and anti-interference capabilities based on limited tension model information while maintaining ease of implementation in engineering practices.
This article is based on previous research on tension models and studies the printing tension-control system. Firstly, based on the characteristics of the printing tension system, a control system structure was constructed. Then, the coupling model was decoupled to obtain a static decoupling model, and the first-order ADRC controllers were designed. Finally, through simulation and experimentation, the performance of the designed control system was analyzed and verified.

2. Design of the Control Structure for the Printing Tension System

2.1. Multi-Span Tension Model of the Printing Tension System

In gravure printed electronic equipment, the front end of the printing tension system is connected to the unwinding tension system, and the rear end is linked to the rewinding tension system. The printing tension system primarily comprises a sequence of multiple printing units, with each adjacent pair of units forming a printing span. Each printing span incorporates a drying device, as depicted in Figure 2. The printing tension system serves as a representative example of a multi-span web tension system.
According to references [8,16], the multi-span tension model for the printing tension system is expressed by the following:
[ L p 1 + L D p 1 ( E E E D 1 ) ] d T p 1 ( t ) d t = [ A E E T p 1 ( t ) ] R p 1 ω p 1 ( t ) [ A E E T u 2 ( t ) ] R p 0 ω p 0 ( t ) [ L p 2 + L D p 2 ( E E E D 1 ) ] d T p 2 ( t ) d t = [ A E E T p 2 ( t ) ] R p 2 ω p 2 ( t ) [ A E E T p 1 ( t ) ] R p 1 ω p 1 ( t ) [ L p n + L D p n ( E E E D 1 ) ] d T p n ( t ) d t = [ A E E T p n ( t ) ] R p n ω p n ( t ) [ A E E T p ( n 1 ) ( t ) ] R p ( n 1 ) ω p ( n 1 ) ( t )
Definitions:
L p i : the web length in the i-th span.
L D p i : the web length inside the i-th drying device.
T u 2 : the web tension in the unwinding traction span.
T p i : the web tension in the i-th span.
ω p i : the angular velocity of the i-th printing roller.
R p i : the radius of the i-th printing roller.
E E : Young’s modulus at ambient temperature.
E D : Young’s modulus at the drying temperature.
A : the cross-sectional area of the web.

2.2. Control Structure Design for the Printing Tension System

Equation (1) represents the universal mathematical model of a multi-span printing tension system. For the convenience of research, the number of spans in this multi-span tension system is chosen to be 3. The control structure of the printing tension system, shown in Figure 3, depicts a three-span coupling system comprising four identical printing units. Adjacent spans are coupled through a shared printing unit and substrate.
For the three-span printing tension system, the inputs are the web tension of the unwinding traction span T u 2 ; the motor speeds of each printing unit are ω p 0 , ω p 1 , ω p 2 , and ω p 3 ; and the outputs are the web tensions of each printing span T p 1 , T p 2 , and T p 3 . Due to the fact that T u 2 is the tension output of the unwinding traction system, it can only be used as a reference or interference for the printing tension-control system. Moreover, the motor speed of printing unit 1, ω p 0 , is the speed reference of the entire system. Therefore, the actual input control quantities of the printing tension system are the motor speeds ω p 1 , ω p 2 , and ω p 3 , and the actual output quantities are the web tensions T p 1 , T p 2 , and T p 3 . The purpose of the printing tension system is to maintain a constant tension on the web of each span, making the web tension of each span a constant tension-control type.
There are complex multi-span coupling relationships in the printing tension system. For adjacent spans, the web tension of the previous span and the rotational speed of the shared printing unit in the middle are coupled physical variables of the two spans. When designing a printing tension controller, it is necessary to decouple this coupling relationship. Since there are no time-varying parameters in the physical quantities of the printing tension system, the robustness performance requirements for the controller are not high. However, there are drying devices in various printing spans that can affect the tension of the web. The mathematical model of the tension system used in designing the tension controller should include the factor of web temperature changes. According to the mechanism of web tension generation in a single span, the web tension is very sensitive to the roller speed at the front and rear ends of the span, and small speed changes can cause significant tension changes. Therefore, when controlling the web tensions of the printing system, it should be noted that the changes in roller speed should not be too large; that is, when adjusting the rotation speeds of the printing units in a steady state, only minor adjustments can be made.
Based on the characteristics of the printing tension system, a three-span tension-control structure was designed that comprises three controllers, each dedicated to one span, as shown in Figure 3. This three-span tension-control structure can be easily extended to multi-span printing tension systems. The input of the tension controller for printing span i is the set tension T r p i , and the web tension T p i is controlled by the motor speed ω p i . The actual web tension T p i is fed back to the controller to form a closed-loop control system. At the same time, the web tension of the previous span and the motor speed ω p ( i 1 ) of printing unit i − 1 are input as disturbances into the controller for calculation.
The controllers for each span of the printing tension system employ active disturbance rejection control technology in conjunction with the static decoupling model of the printing tension system to achieve ADRC decoupling control of the multi-span printing tension system. This control structure effectively addresses control challenges such as decoupling and interference mitigation in the printing tension system.

3. Design of an ADRC Decoupling Controller for Multi-Span Printing

3.1. Establishing the Decoupling Model

In the printing tension-control system depicted in Figure 3, ω p 1 , ω p 2 , and ω p 3 represent the system inputs, which are the motor speeds of the respective printing units. Correspondingly, T p 1 , T p 2 , and T p 3 are the system outputs, indicating the web tensions across each printing span. By adjusting the motor speeds ω p 1 , ω p 2 , and ω p 3 of the printing units, the tensions T p 1 , T p 2 , and T p 3 within each span are controlled. Furthermore, the actual tension values are monitored using tension sensors strategically placed within each span.
The printing tension-control system is a multi-input multi-output coupled system that requires decoupling of the model. Its mathematical model can be further rewritten as Equation (2).
d T p 1 ( t ) d t = E D [ A E E T u 2 ( t ) ] R p 0 ω p 0 ( t ) L p 1 E D + L D p 1 ( E E E D ) + E D [ A E E T p 1 ( t ) ] R p 1 L p 1 E D + L D p 1 ( E E E D ) ω p 1 ( t ) d T p 2 ( t ) d t = E D [ A E E T p 1 ( t ) ] R p 1 L p 2 E D + L D p 2 ( E E E D ) ω p 1 ( t ) + E D [ A E E T p 2 ( t ) ] R p 2 L p 2 E D + L D p 2 ( E E E D ) ω p 2 ( t ) d T p 3 ( t ) d t = E D [ A E E T p 2 ( t ) ] R p 2 L p 3 E D + L D p 3 ( E E E D ) ω p 2 ( t ) + E D [ A E E T p 3 ( t ) ] R p 3 L p 3 E D + L D p 3 ( E E E D ) ω p 3 ( t )
Equation (2) is written in matrix form as
d T p ( t ) d t = f p ( t ) + B p ( t ) ω p ( t )
where
T p ( t ) = [ T p 1 ( t ) T p 2 ( t ) T p 3 ( t ) ] T
ω p ( t ) = [ ω p 1 ( t ) ω p 2 ( t ) ω p 3 ( t ) ] T
f p ( t ) = [ f p 1 ( t ) f p 2 ( t ) f p 3 ( t ) ] T = E D [ A E E T u 2 ( t ) ] R p 0 ω p 0 ( t ) L p 1 E D + L D p 1 ( E E E D ) 0 0 T
B p ( t ) = E D [ A E E T p 1 ( t ) ] R p 1 L p 1 E D + L D p 1 ( E E E D ) 0 0 E D [ A E E T p 1 ( t ) ] R p 1 L p 2 E D + L D p 2 ( E E E D ) E D [ A E E T p 2 ( t ) ] R p 2 L p 2 E D + L D p 2 ( E E E D ) 0 0 E D [ A E E T p 2 ( t ) ] R p 2 L p 3 E D + L D p 3 ( E E E D ) E D [ A E E T p 3 ( t ) ] R p 3 L p 3 E D + L D p 3 ( E E E D )
T p ( t ) is the system output; ω p ( t ) is the system input; f p ( t ) is the part outside the system control variables, known as the “dynamic coupling” part; and B p t ω p t is the “static coupling” part of the system.
Introduce the virtual control variable u p t = u p 1 t u p 2 t u p 3 t T , and let
u p ( t ) = B p ( t ) ω p ( t )
Equation (3) becomes
d T p ( t ) d t = f p ( t ) + u p ( t )
In this configuration, each individual channel of the virtual control variable u p t establishes a direct, single-input single-output relationship with its corresponding channel of tension output T p ( t ) . Specifically, u p 1 t directly controls T p 1 t , u p 2 t controls T p 2 t , and u p 3 t controls T p 3 t , thereby creating a precise one-to-one mapping and ensuring complete decoupling between the control and output channels. The elements f p 1 t , f p 2 t , and f p 3 t of f p t can be interpreted as the cumulative “total disturbance” arising from known factors affecting each respective channel. Notably, based on Equation (6), it becomes evident that only the first printing span, i.e., span 1, experiences disturbances, whereas spans 2 and 3 remain undisturbed.
B p ( t ) = E D 3 [ A E E T p 1 ( t ) ] [ A E E T p 2 ( t ) ] [ A E E T p 3 ( t ) ] R p 1 R p 2 R p 3 [ L p 1 E D + L D p 1 ( E E E D ) ] [ L p 2 E D + L D p 2 ( E E E D ) ] [ L p 3 E D + L D p 3 ( E E E D ) ]
Due to the fact that the product of the web’s cross-sectional area and the Young’s modulus of elasticity is much greater than the web tension for each printing span, B p t 0 , which means that B p 1 ( t ) exists.
ω p ( t ) = B p 1 ( t ) u p ( t )
where
B p 1 ( t ) = L p 1 E D + L D p 1 ( E E E D ) E D [ A E E T p 1 ( t ) ] R p 1 0 0 L p 1 E D + L D p 1 ( E E E D ) E D [ A E E T p 2 ( t ) ] R p 2 L p 2 E D + L D p 2 ( E E E D ) E D [ A E E T p 2 ( t ) ] R p 2 0 L p 1 E D + L D p 1 ( E E E D ) E D [ A E E T p 3 ( t ) ] R p 3 L p 2 E D + L D p 2 ( E E E D ) E D [ A E E T p 3 ( t ) ] R p 3 L p 3 E D + L D p 3 ( E E E D ) E D [ A E E T p 3 ( t ) ] R p 3
Equation (12) is the static decoupling model that characterizes the behavior of the printing tension system.
Pursuant to Equation (9), three ADRC controllers were specifically designed between the virtual control variable u p t and the output tension T p ( t ) . By employing Equation (11) to calculate the actual control input ω p ( t ) , the system can successfully implement decoupling control within a multivariable system.

3.2. ADRC Controller Design

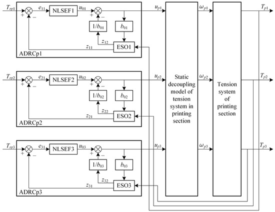
The ADRC decoupling controller for the printing tension system was designed, utilizing three ADRC controllers in conjunction with a static decoupling model, as shown in Figure 4.
Three first-order ADRC controllers, namely ADRCp1, ADRCp2, and ADRCp3, were designed specifically for three spans, each to control the web tensions T p 1 , T p 2 , and T p 3 , respectively, in the printing process. The inputs to these controllers, ADRCp1, ADRCp2, and ADRCp3, are the set tensions T r p 1 , T r p 2 , and T r p 3 , respectively, as well as the detected tensions T p 1 , T p 2 , and T p 3 . The outputs of the controllers are the virtual control variables u p 1 , u p 2 , and u p 3 .
The first-order ADRC controllers, ADRCp1, ADRCp2, and ADRCp3 have the same structure, which comprises a second-order extended state observer (ESO) and a first-order nonlinear state error feedback (NLSEF) component. The ESO is the core part of the ADRC, which can track the actual tension of the system and estimate the internal and external disturbances of the controlled system. Since the tensions T r p 1 , T r p 2 , and T r p 3 are set by the program code, the first-order ADRC controllers eliminate the tracking differentiator (TD) components. In each of the designed first-order ADRC controllers, there is no error differential processing term; thus, the NLSEF only needs to proportionally adjust the error term, further reducing the computational load. The output control quantities u 01 , u 02 , and u 03 from NLSEF1, NLSEF2, and NLSEF3 are compensated with the total disturbance estimation quantities z 12 , z 22 , and z 32 , respectively, to obtain u p 1 , u p 2 , and u p 3 as the final virtual control quantities. The “compensation factors” b 01 , b 02 , and b 03 are the sole parameters in ADRC controllers that are related to the system model, and their values depend on the degree of the compensation required.
The discrete algorithm equations for ADRCp1, ADRCp2, and ADRCp3 are the same, as shown below.
e i ( k ) = z i 1 ( k ) T p i ( k ) z i 1 ( k + 1 ) = z i 1 ( k ) + h ( z i 2 ( k ) β i 1 e i ( k ) + b 0 i u p i ( k ) ) z i 2 ( k + 1 ) = z i 2 ( k ) + h ( β i 2 f a l ( e i ( k ) , 0.5 , h ) ) e i 1 ( k + 1 ) = T r p i ( k + 1 ) z i 1 ( k + 1 ) u p i ( k + 1 ) = k i p f a l ( e i 1 ( k + 1 ) , 0.5 , h ) z i 2 ( k + 1 ) / b 0 i
where i —ADRC controller number ( i = 1 ,   2 ,   3 ); k —discrete number ( k = 0 ,   1 ,   2 , ); h —integral step size; β i 1 and β i 2 —ESO gain coefficients; k i p —NLSEF gain coefficient.
After solving for the virtual control variables u p 1 , u p 2 , and u p 3 using Equation (13), further calculate the actual control variables ω p 1 , ω p 2 , and ω p 3 based on Equation (11). The actual control variables act on the tension system to achieve decoupling control of the multi-span printing tension system.

4. Performance Study of the ADRC Decoupling Controller for the Printing Tension System

4.1. Experimental Conditions

In order to verify the control performance of the ADRC decoupling controller for the multi-span printing tension system, the designed control system was simulated on MATLAB/Simulink and experimentally studied on a dedicated experimental platform, with its performance compared to that of the traditional PID controller.
The gravure printed electronic experimental platform is shown in Figure 5. It comprises a comprehensive system, primarily featuring an unwinding unit, a dedicated unwinding traction unit, a quartet of printing units, a rewinding traction unit, a rewinding unit, two dancer roller mechanisms, and a total of five load cells for accurate measurements.
The electrical system is based on an industrial computer and controls eight servo motors, specifically two HF-SP102s and six HF-SE52JW1-S00s, through an 8-axis motion controller, the GTS-X800-PV-PCI. Five LX-015TD load cells are used to detect the tensions of the web in each printing span, and the tension data is transmitted to the industrial computer via the LM-10TA tension amplifier. The monitoring software for the experimental platform is written in Visual C# and primarily encompasses functions such as motion control, data acquisition, and data storage. The system data sampling period and control period are both 10 ms, and the sampled data are not filtered.
The key indicators of the experimental platform are presented in Table 1.
The structure of the PID control system is illustrated in Figure 6, where the controller PIDi outputs a control quantity ω p i that is specifically designed to regulate the web tension T p i of the printing span i.
The simulation parameters of the printing tension system are identical to those of the experimental platform, as shown in Table 1. Due to the absence of a drying system, the Young’s modulus of elasticity at the drying temperature is assumed to be the same as that at ambient temperature. The parameters of the PID controller and the ADRC controller are adjusted under the condition of a steady-state printing speed of 100 r/min and do not change during operation. The parameters of the PID controller and the ADRC decoupling controller for the printing tension system are listed in Table 2 and Table 3, respectively. The simulation employs a fixed-step mode with a control period of 10 ms.

4.2. Simulations

The printing tension system operates in a stable state, maintaining a steady-state value of 50 N for each span of web tension. At 8 s, 10 s, and 12 s, respectively, three printing spans undergo 10 N step changes. The web tension change curves for each span, when using a PID controller, are depicted in Figure 7, while the corresponding curves for each span utilizing an ADRC decoupling controller are shown in Figure 8. Figure 7a–c show the web tension curves for printing span 1, printing span 2, and printing span 3, respectively.
In PID control, the step change in web tension of the previous span will affect the web tension of the subsequent span, but the step change in web tension of the subsequent span has no effect on the web tension of the previous span. The tension step change of printing span 1 in Figure 7 resulted in a tension pulse fluctuation of −8.1 N in printing span 2, as well as tension pulse fluctuations of 4 N and −5.6 N in printing span 3. The tension step change of printing span 2 resulted in a tension pulse fluctuation of −8.1 N in printing span 3. The reason for this phenomenon is that the actual control quantity of each span controller is the discharge roller speed of that span. This roller speed, in turn, serves as the input quantity for the tension system of the subsequent span, indicating that the printing roller speed between the two spans acts as a coupling quantity. PID control cannot suppress the influence of this coupling relationship on the web tension. From Figure 8, it can be seen that when using the ADRC decoupling control method, tension step changes in one span do not affect the tension in others, indicating that the proposed ADRC decoupling control method can effectively achieve tension decoupling control of multi-span printing systems.
In addition, when comparing PID control with ADRC decoupling control, it can be observed that the step-response adjustment time of each span is longer when using ADRC decoupling control, reaching 0.18 s, which is higher than the 0.05 s achieved with PID control. This indicates a decrease in dynamic performance. Nonetheless, this value still fully meets the requirements for tension systems.

4.3. Experiments

The PID control experiment and the ADRC decoupling control experiment for the printing tension system were conducted on the experimental platform built earlier. The parameters for both the PID controller and the ADRC controller were fine-tuned based on the simulation parameters and remained unchanged throughout the experiment. The web tensions of the three spans of the printing tension system were controlled to produce step changes of 10 N at different times. The step responses of the web tensions for each span using the PID controller are shown in Figure 9, while the step responses of the web tensions for each span using the ADRC decoupling controller are shown in Figure 10.
When using PID control, the step change in web tension of the previous printing span will have an impact on the web tension of all subsequent printing spans, which cannot solve the problem of multi-span coupling. When using ADRC decoupling control, the tension step changes of each printing span will not affect the web tension of other printing spans, demonstrating good decoupling performance.
In addition, ADRC decoupling control has good steady-state performance. The steady-state tension fluctuation amplitude range in ADRC decoupling control is ±0.7 N, while the steady-state tension fluctuation amplitude range in PID control is ±1.1 N, which means that the steady-state tension-control accuracy has been improved by 36.4%. The steady-state tension-control accuracy of ADRC decoupling control is within ±1.4%, which is much lower than the steady-state tension-control accuracy index of ±5% for traditional image–text gravure printing. This is related to the anti-interference ability of ADRC itself, which can provide timely estimation and compensation for roller speed fluctuations, mechanical vibrations, electrical interference, etc.
By organizing the above experimental data into Table 4, it can be seen that the ADRC decoupling controller of the printing tension-control system has significantly better performance than the PID controller.
In summary, the experimental and simulation results of the printing tension system are basically consistent. Compared with traditional PID control, the ADRC decoupling control method better solves the coupling problem of the printing tension system and has good interference suppression performance.

5. Conclusions

This article conducts in-depth research on the tension-control problem within the printing system of gravure printed electronic equipment. The main accomplishments and conclusions derived from this research are as follows:
(1)
The structure and characteristics of the printing tension system were analyzed, and, subsequently, the control system structure of the printing tension system was constructed. Notably, the printing tension system is a typical multi-span coupled system, which adopts a constant tension-control mode and controls the speed of the discharge rollers for each span.
(2)
A static decoupling control model for the printing tension system was established, and an active disturbance rejection control (ADRC) controller was designed for each tension span. The ADRC controller adopts a first-order form, omitting the tracking differentiator (TD), and the nonlinear state error feedback (NLSEF) component employs a proportional adjustment method. These designs greatly reduce the computational complexity of the tension-control system and improve control efficiency. The extended state observer (ESO) can quickly track the system output, estimate the total disturbance of the current span, and quickly compensate for the controller output.
(3)
Simulation and experimental studies were conducted on the ADRC decoupling controller of the printing tension system. The research results indicate that the designed ADRC decoupling controller can effectively decouple the multi-span coupled tension system and suppress system disturbances effectively. The multi-span tension system achieves a steady-state tension-control accuracy of ±1.4%, which is significantly lower than the tension-control accuracy index of ±5% for traditional image–text gravure printing. Compared with traditional PID control, the designed ADRC decoupling controller exhibits better decoupling performance, anti-interference ability, and steady-state accuracy, thus enhancing the overall performance of gravure printed electronic equipment.

Author Contributions

Conceptualization, K.H. and J.L.; methodology, K.H.; data curation, S.L. and P.H.; writing—original draft, K.H. and X.W.; writing—review and editing, J.L. and X.W.; funding acquisition, K.H. and J.L. All authors have read and agreed to the published version of the manuscript.

Funding

This research was supported by the National Key R&D Program of China (grant number 2023YFB4605105) and the Key Research Projects of Henan Province (grant number 222102220044).

Institutional Review Board Statement

Not applicable.

Informed Consent Statement

Not applicable.

Data Availability Statement

The data presented in this study are available in the article.

Conflicts of Interest

The authors declare no conflicts of interest.

Abbreviations

ADRCActive disturbance rejection control
PIDProportional integral differential
R2RRoll-to-roll
LQRLinear quadratic regulator
ESOExtended state observer
NLSEFNonlinear state error feedback
TDTracking differentiator

References

  1. Shakeel, A.; Maskey, B.; Shrestha, Y. Towards Digital Twin Implementation in Roll-To-Roll Gravure Printed Electronics: Overlay Printing Registration Error Prediction Based on Printing Process Parameters. Nanomaterials 2023, 13, 1008. [Google Scholar] [CrossRef] [PubMed]
  2. Shan, X.C.; Sunappan, V.; Salam, B.; Lok, B.K. Roll-to-Roll Gravure Printing of Electric Heaters on Polymeric Substrates. In Proceedings of the 2020 IEEE 22nd Electronics Packaging Technology Conference (EPTC), Singapore, 2–4 December 2020; pp. 201–204. [Google Scholar]
  3. Lee, M.; Parajuli, S.; Moon, H.; Song, R.; Lee, S.; Shrestha, S.; Park, J.; Yang, H.; Jung, Y.; Cho, G.; et al. Characterization of Silver Nanoparticle Inks toward Stable Roll-to-Roll Gravure Printing. Flex. Print. Electron. 2022, 7, 014003. [Google Scholar] [CrossRef]
  4. Gong, C.; Tong, S.; Huang, K.; Li, H.; Huang, H.; Zhang, J.; Yang, J. Flexible Planar Heterojunction Perovskite Solar Cells Fabricated via Sequential Roll-to-Roll Microgravure Printing and Slot-Die Coating Deposition. Sol. RRL 2019, 4, 1900204. [Google Scholar] [CrossRef]
  5. Cui, Z.; Wang, Z. Study on Development Trend of Flexible Printed Electronic Technology. Appl. IC 2019, 36, 26–29. [Google Scholar]
  6. Liu, L.; Liu, Y.; Zhang, J. Additive manufacturing: Printed electronics and 3D printing technologies. Sci. Technol. Rev. 2017, 35, 21–29. [Google Scholar]
  7. Li, Q.; Tang, W. Research Progress in Register Accuracy and Control on Multilayer Printed Electronic. J. Beijing Inst. Graph. Commun. 2015, 23, 57–62. [Google Scholar]
  8. He, K.; He, P.; Li, S.; Li, J.; Wei, X. Study on Multi-Span Tension Coupling Relationship of Gravure Printed Electronic Equipment. Appl. Sci. 2024, 14, 7054. [Google Scholar] [CrossRef]
  9. Zhou, C.; Chen, J.; Yin, Z. Modeling, Simulation and Experiment of Tension Control in Film Non-Continuous Unwinding System. Electr. Autom. 2013, 35, 9–11. [Google Scholar]
  10. Dwivedula, R.; Pagilla, P. Effect of Backlash on Web Tension in Roll-to-Roll Manufacturing Systems: Mathematical Model, Mitigation Method and Experimental Evaluation. In Proceedings of the 2013 IEEE International Conference on Control Applications (CCA), Hyderabad, India, 28–30 August 2013; pp. 1087–1092. [Google Scholar]
  11. Shao, M.Y.; Wu, J.M.; Wang, Y.; Fang, K.; Guo, X.X. Research on Modeling Method of Winding Tension System for Gravure Printing Machine. In Proceedings of the 2016 Symposium on Piezoelectricity, Acoustic Waves, and Device Applications (SPAWDA), Xi’an, China, 21–24 October 2016; pp. 110–114. [Google Scholar]
  12. Jeong, J.; Gafurov, A.N.; Park, P.; Kim, I.; Kim, H.C.; Kang, D.; Oh, D.; Lee, T.M. Tension Modeling and Precise Tension Control of Roll-to-Roll System for Flexible Electronics. Flex. Print. Electron. 2021, 6, 015005. [Google Scholar] [CrossRef]
  13. Jeon, S.; Kim, C.; Kim, C. Fast Stabilization of Web Tension in Drying Process of Roll-to-Roll Printing Equipment for Printed Electronics. J. Mech. Sci. Technol. 2015, 29, 5069–5074. [Google Scholar] [CrossRef]
  14. Ma, L.; Kong, F.; Cheng, G.; Sun, J.; Wu, J.; Liu, S. The Influence of Web Moving Speed on Flow Field Characteristics of the Entrained Air. Packag. Eng. 2017, 38, 21–24. [Google Scholar]
  15. He, K.; Liu, S.; Wang, K.; Mei, X. Thermal Characteristics of Plastic Film Tension in Roll-to-Roll Gravure Printed Electronics. Appl. Sci. 2018, 8, 312. [Google Scholar] [CrossRef]
  16. He, K.; Liu, S.; Wang, K.; Mei, X. Effect of Environment Temperature on Web Tension in Shaft-Less Drive Gravure Printing System. Adv. Mech. Eng. 2019, 11, 1687814018816872. [Google Scholar] [CrossRef]
  17. Park, J.C.; Jeon, S.W.; Nam, K.S.; Liu, L.; Sun, J.; Kim, C.H. Tension Control of Web of Winder Span Using Adaptive Gain Control Method. Jpn. J. Appl. Phys. 2014, 53, 05HC11. [Google Scholar] [CrossRef]
  18. Raul, P.R.; Manyam, S.G.; Pagilla, P.R.; Darbha, S. Output Regulation of Nonlinear Systems with Application to Roll-to-Roll Manufacturing Systems. IEEE/ASME Trans. Mechatron. 2015, 20, 1089–1098. [Google Scholar] [CrossRef]
  19. Raul, P.; Pagilla, P. Design and Implementation of Adaptive PI Control Schemes for Web Tension Control in Roll-to-Roll (R2R) Manufacturing. ISA Trans. 2015, 56, 276–287. [Google Scholar] [CrossRef] [PubMed]
  20. Gassmann, V.; Knittel, D.; Pagilla, P.R.; Bueno, M.A. Fixed-Order H∞ Tension Control in the Unwinding Section of a Web Handling System Using a Pendulum Dancer. IEEE Trans. Control Syst. Technol. 2011, 20, 173–180. [Google Scholar] [CrossRef]
  21. Choi, K.; Zubair, M.; Ponniah, G. Web Tension Control of Multispan Roll-to-Roll System by Artificial Neural Networks for Printed Electronics. Proc. Inst. Mech. Eng. Part C J. Mech. Eng. Sci. 2013, 227, 2361–2376. [Google Scholar] [CrossRef]
  22. Ponniah, G.; Zubair, M.; Doh, Y.H.; Choi, K.H. Fuzzy Decoupling to Reduce Propagation of Tension Disturbances in Roll-to-Roll System. Int. J. Adv. Manuf. Technol. 2014, 71, 153–163. [Google Scholar] [CrossRef]
  23. Tran, T.; Choi, K. A Backstepping-Based Control Algorithm for Multi-Span Roll-to-Roll Web System. Int. J. Adv. Manuf. Technol. 2014, 70, 45–61. [Google Scholar] [CrossRef]
  24. Eum, S.; Lee, J.; Nam, K. Robust Tension Control of Roll-to-Roll Winding Equipment Based on a Disturbance Observer. In Proceedings of the IECON 2016-42nd Annual Conference of the IEEE Industrial Electronics Society, Florence, Italy, 23–26 October 2016; pp. 625–630. [Google Scholar]
  25. He, Z.; Chen, Z.; Huang, X.; Ma, D. A Reduced-Order Observer-Based LQR Control Method for Roll-to-Roll Systems. J. Control Eng. Appl. Inform. 2023, 25, 12–20. [Google Scholar]
  26. Kim, S.; Kim, D.; Ahn, C. Observer-Based Critically Damped Feedback Systems for Nonlinear Roll-to-Roll Printing Machine Applications Under Decentralized Strategy. Int. J. Robust Nonlinear Control 2024, 34, 4343–4362. [Google Scholar] [CrossRef]
  27. Wang, Z.; Liu, S.; He, K.; Shi, W.; Chen, S. Design Decoupling Controller for Rewinding System of the Gravure Printing Machines. In Proceedings of the 2020 IEEE 5th Information Technology and Mechatronics Engineering Conference (ITOEC), Chongqing, China, 12–14 June 2020; pp. 908–912. [Google Scholar]
  28. He, K.; Liu, S.; Shi, W.; Wang, Z. Decoupling Control for Rewinding Tension System of the Roll-to-Roll Printing Equipment. Packag. Eng. 2020, 41, 209–216. [Google Scholar]
  29. Ju, G.; Liu, S.; Wei, K.; Ding, H.; Wang, C. A Parameter Self-Tuning Decoupling Controller Based on an Improved ADRC for Tension Systems. Appl. Sci. 2023, 13, 11085. [Google Scholar] [CrossRef]
  30. Ding, H.; Liu, S.; Wang, Z.; Zhang, H.; Wang, C. An ADRC Parameters Self-Tuning Controller Based on RBF Neural Network for Multi-Color Register System. Machines 2023, 11, 320. [Google Scholar] [CrossRef]
Figure 1. Diagram of a roll-to-roll gravure printed electronic machine [8].
Figure 1. Diagram of a roll-to-roll gravure printed electronic machine [8].
Applsci 14 08483 g001
Figure 2. Schematic diagram of the printing tension system [8].
Figure 2. Schematic diagram of the printing tension system [8].
Applsci 14 08483 g002
Figure 3. Control structure of the printing tension system.
Figure 3. Control structure of the printing tension system.
Applsci 14 08483 g003
Figure 4. ADRC decoupling controller for the printing tension system.
Figure 4. ADRC decoupling controller for the printing tension system.
Applsci 14 08483 g004
Figure 5. Photograph of the gravure printed electronic experimental platform.
Figure 5. Photograph of the gravure printed electronic experimental platform.
Applsci 14 08483 g005
Figure 6. PID control structure of the printing tension system.
Figure 6. PID control structure of the printing tension system.
Applsci 14 08483 g006
Figure 7. Performance simulations of the PID controller for the printing tension system.
Figure 7. Performance simulations of the PID controller for the printing tension system.
Applsci 14 08483 g007
Figure 8. Performance simulations of the ADRC controller for the printing tension system.
Figure 8. Performance simulations of the ADRC controller for the printing tension system.
Applsci 14 08483 g008
Figure 9. Performance experiment of PID control for the printing tension system.
Figure 9. Performance experiment of PID control for the printing tension system.
Applsci 14 08483 g009
Figure 10. Performance experiment of ADRC decoupling control for the printing tension system.
Figure 10. Performance experiment of ADRC decoupling control for the printing tension system.
Applsci 14 08483 g010
Table 1. Main technical indicators of the experimental platform.
Table 1. Main technical indicators of the experimental platform.
ParameterValueUnit
Groups of printing units4group
Maximum web width300mm
Printing roller diameter60mm
Tension range10~150N
Maximum unwinding and rewinding diameter350mm
Web materialPET/
Web length in a span350mm
Cross-section area of web10mm2
Young’s modulus of PET(25 °C)4.89 × 109Pa
Table 2. Parameters of the PID controllers for the printing tension system.
Table 2. Parameters of the PID controllers for the printing tension system.
ControllerParameter
PID1KP1 = 15; KI1 = 200; KD1 = 0.12
PID2KP2 = 15; KI2 = 200; KD2 = 0.12
PID3KP3 = 15; KI3 = 200; KD3 = 0.12
Table 3. Parameters of the ADRC controllers for the printing tension system.
Table 3. Parameters of the ADRC controllers for the printing tension system.
ControllerParameter
ADRCp1β11 = 100; β12 = 6 × 105; k1p = 30; b01 = 488
ADRCp2β21 = 100; β22 = 6 × 105; k2p = 30; b02 = 488
ADRCp3Β31 = 100; β32 = 6 × 105; k3p = 30; b03 = 488
Table 4. Performance comparison of printing tension-control systems.
Table 4. Performance comparison of printing tension-control systems.
Performance IndexPID ControlADRC Decoupling ControlComparison Results
Decoupling performanceCannot decoupleCompletely decoupledExcellent
Steady-state accuracy±1.1 N (±2.2%)±0.7 N (±1.4%)Increase by 36.4%
Disclaimer/Publisher’s Note: The statements, opinions and data contained in all publications are solely those of the individual author(s) and contributor(s) and not of MDPI and/or the editor(s). MDPI and/or the editor(s) disclaim responsibility for any injury to people or property resulting from any ideas, methods, instructions or products referred to in the content.

Share and Cite

MDPI and ACS Style

He, K.; Li, S.; He, P.; Li, J.; Wei, X. Multi-Span Tension Control for Printing Systems in Gravure Printed Electronic Equipment. Appl. Sci. 2024, 14, 8483. https://doi.org/10.3390/app14188483

AMA Style

He K, Li S, He P, Li J, Wei X. Multi-Span Tension Control for Printing Systems in Gravure Printed Electronic Equipment. Applied Sciences. 2024; 14(18):8483. https://doi.org/10.3390/app14188483

Chicago/Turabian Style

He, Kui, Shifa Li, Pengbo He, Jian Li, and Xingmei Wei. 2024. "Multi-Span Tension Control for Printing Systems in Gravure Printed Electronic Equipment" Applied Sciences 14, no. 18: 8483. https://doi.org/10.3390/app14188483

APA Style

He, K., Li, S., He, P., Li, J., & Wei, X. (2024). Multi-Span Tension Control for Printing Systems in Gravure Printed Electronic Equipment. Applied Sciences, 14(18), 8483. https://doi.org/10.3390/app14188483

Note that from the first issue of 2016, this journal uses article numbers instead of page numbers. See further details here.

Article Metrics

Back to TopTop