Novel Gas Supply System for Multi-Chamber Tri-Gas Cell Culture: Low Gas Consumption and Wide Concentration Range
Abstract
1. Introduction
2. Materials and Methods
2.1. Gas Mixing and Distribution System
2.2. Numerical Simulation for Mixers
2.3. Calculation Method of Inflow Volume
part) × (Target concentration).
- (1)
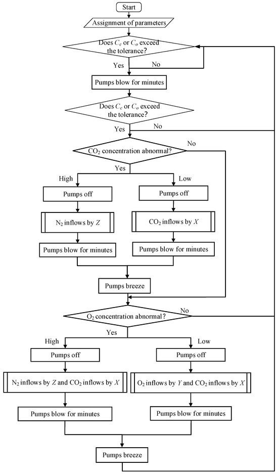
- Prioritize ensuring the CO2 concentration through a step-by-step adjustment strategy;
- (2)
- When the CO2 concentration is normal, the subsequent gas introduced always contains the target proportion of CO2 in order to reach the target O2 concentration while keeping the CO2 concentration constant;
- (3)
- If the CO2 concentration is higher, N2 is used to dilute its concentration to the target level instead of O2.
- (1)
- If the original CO2 concentration is higher than the target concentration, i.e., Cc > Ccs:
- 1)
- If the intermediate concentration of O2 is higher, i.e., Co1 > Cos
- 2)
- If the intermediate concentration of O2 is lower, i.e., Co1 < Cos
- (2)
- If the original concentration of CO2 is lower than the target concentration, i.e., Cc < Ccs,
- (1)
- If the intermediate concentration of O2 is higher, i.e., Co1 > Cos
- (2)
- If the intermediate concentration of O2 is lower, i.e., Co1 < Cos
- (1)
- Initially, all pumps operate at a high flow rate for a few minutes to enhance rapid gas flow and mixing through the gas mixer. This step ensures the proper distribution of gas across the chambers and minimizes gas concentration gradients to achieve uniformity. Monitoring gas concentrations over time can provide insights into the effectiveness of the mixing process.
- (2)
- If post-mixing gas concentrations are outside the acceptable range, Mass Flow Controllers (MFCs) regulate the flow of CO2, O2, or N2 into the gas mixer at specific volumes. Simultaneously, the existing gas in the mixer is slowly released through the relief valve until the MFCs are closed, with a small amount of new gas potentially escaping. Inflow volumes of CO2, O2, and N2 can be calculated based on system parameters and measured gas concentrations. It is essential to keep the pumps off during this stage to ensure thorough replacement of the original gas with the new gas.
- (3)
- Similar to stage 1, all pumps are activated to blow for a few minutes to facilitate the mixing of new gas with any remaining original gas, aiming for consistent gas concentration throughout the system.
- (4)
- All pumps are initially set to a low flow rate, known as breezing, to prevent air leakage into the chamber and potential disruption of cell development. This breezing state is maintained as long as the lid remains closed unless there is a change in gas concentration. Upon opening and closing the lid, a blowing operation is triggered instead of breezing, enabling the system to swiftly revert to the previous atmosphere within a brief timeframe. In case of abnormal gas concentration, the system automatically re-regulates to the initial stage.
2.4. Gas Mixing Experiment on Multi-Chamber Cell Incubator
2.4.1. Mixer Performance Experiment
2.4.2. Three-Gas Mixing Experiment
- Initialization
- O2 concentration changes
- Chamber lids open
3. Results
3.1. Numerical Simulation Results of Mixers
3.2. Experiment Results of Mixer
3.2.1. Open System Experiment
3.2.2. Circulatory System Experiment
3.3. Gas Concentration and Consumption under Different Scenarios
3.3.1. Initialization
3.3.2. O2 Concentration Changes
3.3.3. Chamber Lids Open
4. Discussion
5. Conclusions
Author Contributions
Funding
Institutional Review Board Statement
Informed Consent Statement
Data Availability Statement
Conflicts of Interest
Nomenclature
| V | Total volume of circulation part, including mixer, chambers, pipelines, etc. |
| Cc | Original concentration of CO2 |
| Co | Original concentration of O2 |
| Co1 | Intermediate concentration of O2 (theoretical) |
| Ccs | Target concentration of CO2 |
| Cos | Target concentration of O2 |
| X | Inflow volume of CO2, the subscript “1” means the volume of the first step during once adjustment and the subscript “2” means the volume of the second step |
| Y | Inflow volume of O2, the subscript “1” means the volume of the first step during once adjustment and the subscript “2” means the volume of the second step |
| Z | Inflow volume of N2, the subscript “1” means the volume of the first step during once adjustment and the subscript “2” means the volume of the second step |
References
- Tse, H.M.; Gardner, G.; Dominguez-Bendala, J.; Fraker, C.A. The Importance of Proper Oxygenation in 3D Culture. Front. Bioeng. Biotechnol. 2021, 9, 634403. [Google Scholar] [CrossRef]
- Klein, S.G.; Steckbauer, A.; Alsolami, S.M.; Arossa, S.; Parry, A.J.; Li, M.; Duarte, C.M. Toward Best Practices for Controlling Mammalian Cell Culture Environments. Front. Cell Dev. Biol. 2022, 10, 788808. [Google Scholar] [CrossRef] [PubMed]
- Lee, S.C.; Seo, H.C.; Lee, J.; Jun, J.H.; Choi, K.W. Effects of dynamic oxygen concentrations on the development of mouse pre- and peri-implantation embryos using a double-channel gas supply incubator system. Clin. Exp. Reprod. Med. 2019, 46, 189–196. [Google Scholar] [CrossRef] [PubMed]
- Li, J.; Zhang, J.; Pan, X.; Tang, W.-X.; Wang, B.-H. Effects of Different Oxygen Concentrations on Growth of Several Kinds of Cells in Vitro. J. Nat. Sci. Hunan Normal Univ. 2014, 37, 13–18. [Google Scholar]
- Aguilera-Castrejon, A.; Oldak, B.; Shani, T.; Ghanem, N.; Itzkovich, C.; Slomovich, S.; Tarazi, S.; Bayerl, J.; Chugaeva, V.; Ayyash, M.; et al. Ex utero mouse embryogenesis from pre-gastrulation to late organogenesis. Nature 2021, 593, 119–141. [Google Scholar] [CrossRef]
- Swain, J.E. Optimal human embryo culture. Semin. Reprod. Med. 2015, 33, 103–117. [Google Scholar] [CrossRef]
- Hadanny, A.; Efrati, S. The Hyperoxic-Hypoxic Paradox. Biomolecules 2020, 10, 958. [Google Scholar] [CrossRef]
- Huang, J.; Xu, Z.; Jiao, J.; Li, Z.; Li, S.; Liu, Y.; Li, Z.; Qu, G.; Wu, J.; Zhao, Y.; et al. Microfluidic intestinal organoid-on-a-chip uncovers therapeutic targets by recapitulating oxygen dynamics of intestinal IR injury. Bioact. Mater. 2023, 30, 1–14. [Google Scholar] [CrossRef]
- Wörsdörfer, P.; Ergün, S. The Impact of Oxygen Availability and Multilineage Communication on Organoid Maturation. Antioxid. Redox Sign. 2021, 35, 217–233. [Google Scholar] [CrossRef]
- Kadoshima, T.; Sakaguchi, H.; Nakano, T.; Soen, M.; Ando, S.; Eiraku, M.; Sasai, Y. Self-organization of axial polarity, inside-out layer pattern, and species-specific progenitor dynamics in human ES cell-derived neocortex. Proc. Natl. Acad. Sci. USA 2013, 110, 20284–20289. [Google Scholar] [CrossRef]
- Lee, M.; Grazi, R.; Seifer, D. Incorporation of the Cook K-Minc incubator and media system into the IVF lab: The future of IVF. J. Clin. Embryol. 2010, 13, 21–32. [Google Scholar]
- Aparicio-Ruiz, B.; Romany, L.; Meseguer, M. Selection of preimplantation embryos using time-lapse microscopy in in vitro fertilization: State of the technology and future directions. Birth Defects Res. 2018, 110, 648–653. [Google Scholar] [CrossRef] [PubMed]
- Sciorio, R.; Thong, J.K.; Pickering, S.J. Comparison of the development of human embryos cultured in either an EmbryoScope or benchtop incubator. J. Assist. Reprod. Gen. 2018, 35, 515–522. [Google Scholar] [CrossRef]
- Schiewe, M.C.; Zozula, S.; Nugent, N.L.; Whitney, J.B.; Hatch, I.; Lee, C.T.; Anderson, R.E. Systematic Development, Validation and Optimization of a Human Embryo Culture System. Reprod. Med. 2020, 1, 1–14. [Google Scholar] [CrossRef]
- Bosch, E.P.; Bori, L.; Beltran, A.; Naranjo, V.; Meseguer, M. Artificial intelligence system for the automation of the blastocyst morphology evaluation in GERI Time-lapse Incubator. Hum. Reprod. 2021, 36, 200. [Google Scholar]
- Meyers, S.; Burruel, V.; Kato, M.; De La Fuente, A.; Orellana, D.; Renaudin, C.; Dujovne, G. Equine non-invasive time-lapse imaging and blastocyst development. Reprod. Fert. Develop. 2019, 31, 1874–1884. [Google Scholar] [CrossRef]
- Chun-Chen, W.; Tai-Hu, W.U.; Xin-Xi, X.U.; Feng, C.; Guang, Z. Design and Simulation Based on Improved Genetic Algorithm for Gas Mixture Control System. Chin. Hydraul. Pneum. 2017, 11, 81–86. [Google Scholar]
- Helwig, N.; Schüler, M.; Bur, C.; Schütze, A.; Sauerwald, T. Gas mixing apparatus for automated gas sensor characterization. Meas. Sci. Technol. 2014, 25, 055903. [Google Scholar] [CrossRef]
- Zhuang, Z.; Yan, J.; Sun, C.; Wang, H.; Wang, Y.; Wu, Z. The numerical simulation of a new double swirl static mixer for gas reactants mixing. Chin. J. Chem. Eng. 2020, 28, 2438–2446. [Google Scholar] [CrossRef]
- Su, Y.; Li, J.F.; Yu, B.; Zhao, Y.L.; Han, D.X.; Li, J.L. Simulation study on the mixing of hydrogen and natural gas in static mixers. Nat. Gas Ind. 2023, 43, 113–122. [Google Scholar]
- Putra, R.A. Mixing Characteristics Of Gas-Liquid Flow In A Static Mixer: A Numerical Study. Angkasa J. Ilm. Bid. Teknologi 2020, 12, 117–124. [Google Scholar] [CrossRef]
- Haddadi, M.M.; Hosseini, S.H.; Rashtchian, D.; Olazar, M. Comparative analysis of different static mixers performance by CFD technique: An innovative mixer. Chin. J. Chem. Eng. 2020, 28, 672–684. [Google Scholar] [CrossRef]
- Thakur, R.K.; Vial, C.; Nigam, K.D.P.; Nauman, E.B. Static mixers in the process industries—A review. Chem. Eng. Res. Des. 2003, 81, 787–826. [Google Scholar] [CrossRef]
- Saeed, M.; Yu, J.Y.; Abdalla, A.A.A.; Zhong, X.P.; Ghazanfar, M.A. An assessment of k-ε turbulence models for gas distribution analysis. Nucl. Sci. Tech. 2017, 28, 146. [Google Scholar] [CrossRef]
- Boudin, L.; Grec, B.; Salvarani, F. A mathematical and numerical analysis of the maxwell-stefan diffusion equations. Discret. Contin. Dyn. Syst.-Ser. B 2012, 17, 1427–1440. [Google Scholar] [CrossRef]













| Target Concentration | Measured Concentration | Deviation | |||
|---|---|---|---|---|---|
| CO2 | O2 | CO2 | O2 | CO2 | O2 |
| 5% | 5% | 5.01% | 4.99% | 0.01% | −0.01% |
| 8% | 4.97% | 7.87% | −0.03% | −0.13% | |
| 13% | 4.92% | 12.71% | −0.08% | −0.29% | |
| 18% | 4.93% | 17.65% | −0.07% | −0.35% | |
| 23% | 4.96% | 22.90% | −0.04% | −0.02% | |
| 28% | 4.96% | 27.73% | −0.04% | −0.27% | |
| 33% | 4.92% | 32.50% | −0.08% | −0.50% | |
| 38% | 4.90% | 37.50% | −0.10% | −0.50% | |
| 43% | 4.90% | 42.70% | −0.10% | −0.30% | |
| 48% | 4.91% | 47.50% | −0.09% | −0.50% | |
| 53% | 4.90% | 52.82% | −0.10% | −0.18% | |
| 60% | 4.95% | 59.88% | 0.05% | −0.12% | |
| 70% | 4.92% | 69.51% | −0.08% | −0.49% | |
| 80% | 4.93% | 79.81% | −0.07% | −0.19% | |
Disclaimer/Publisher’s Note: The statements, opinions and data contained in all publications are solely those of the individual author(s) and contributor(s) and not of MDPI and/or the editor(s). MDPI and/or the editor(s) disclaim responsibility for any injury to people or property resulting from any ideas, methods, instructions or products referred to in the content. |
© 2024 by the authors. Licensee MDPI, Basel, Switzerland. This article is an open access article distributed under the terms and conditions of the Creative Commons Attribution (CC BY) license (https://creativecommons.org/licenses/by/4.0/).
Share and Cite
Xiao, D.; Zeng, W.; Chen, R.; Li, W.; Sun, H. Novel Gas Supply System for Multi-Chamber Tri-Gas Cell Culture: Low Gas Consumption and Wide Concentration Range. Appl. Sci. 2024, 14, 7411. https://doi.org/10.3390/app14167411
Xiao D, Zeng W, Chen R, Li W, Sun H. Novel Gas Supply System for Multi-Chamber Tri-Gas Cell Culture: Low Gas Consumption and Wide Concentration Range. Applied Sciences. 2024; 14(16):7411. https://doi.org/10.3390/app14167411
Chicago/Turabian StyleXiao, Donggen, Weijun Zeng, Ruitao Chen, Wei Li, and Haixuan Sun. 2024. "Novel Gas Supply System for Multi-Chamber Tri-Gas Cell Culture: Low Gas Consumption and Wide Concentration Range" Applied Sciences 14, no. 16: 7411. https://doi.org/10.3390/app14167411
APA StyleXiao, D., Zeng, W., Chen, R., Li, W., & Sun, H. (2024). Novel Gas Supply System for Multi-Chamber Tri-Gas Cell Culture: Low Gas Consumption and Wide Concentration Range. Applied Sciences, 14(16), 7411. https://doi.org/10.3390/app14167411
