Seismic Response and Mitigation Analysis of a Subway Station in the Site with Weak Interlayers
Abstract
1. Introduction
2. Seismic Response of the Subway Station in the Site with Weak Interlayers
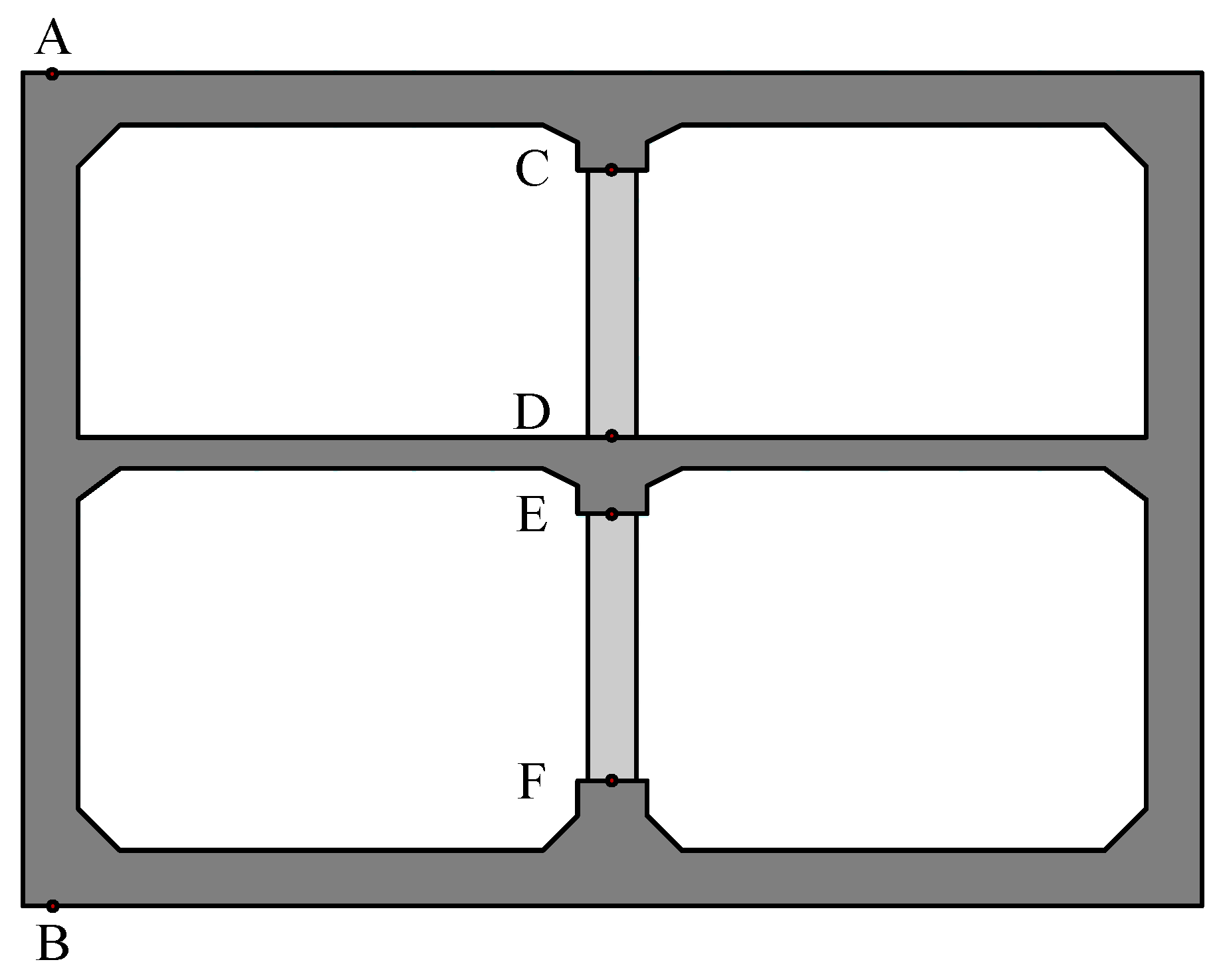
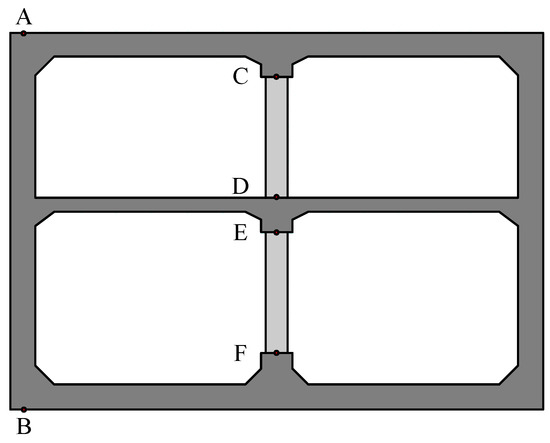
2.1. Engineering Profile
2.2. Finite Element Model
2.3. Computational Result
- (1)
- Influence of the position of weak interlayers
- (2)
- Influence of the Influence of the thickness of weak interlayers
- (3)
- Influence of the strength of the weak interlayer
3. Seismic Mitigation Effect of FPB in Weak Interlayer Site
3.1. The Mechanical Model of FPB
3.2. Validation of Model Suitability
3.3. The Seismic Mitigation Effect of FPB
4. Conclusions
Author Contributions
Funding
Institutional Review Board Statement
Informed Consent Statement
Data Availability Statement
Conflicts of Interest
References
- Amorosi, A.; Boldini, D. Numerical modelling of the transverse dynamic behaviour of circular tunnels in clayey soils. Soil Dyn. Earthq. Eng. 2009, 29, 1059–1072. [Google Scholar] [CrossRef]
- Cilingir, U.; Madabhushi, S.G. Effect of depth on the seismic response of square tunnels. Soils Found. 2011, 51, 449–457. [Google Scholar] [CrossRef]
- Tsinidis, G. Response characteristics of rectangular tunnels in soft soil subjected to transversal ground shaking. Tunn. Undergr. Space Technol. 2017, 62, 1–22. [Google Scholar] [CrossRef]
- Hashash, Y.M.; Hook, J.J.; Schmidt, B.; John, I.; Yao, C. Seismic design and analysis of underground structures. Tunn. Undergr. Space Technol. 2001, 16, 247–293. [Google Scholar] [CrossRef]
- Wang, Z.; Zhang, Z. Seismic damage classification and risk assessment of mountain tunnels with a validation for the 2008 Wenchuan earthquake. Soil Dyn. Earthq. Eng. 2013, 45, 45–55. [Google Scholar] [CrossRef]
- Wang, T.; Kwok, O.L.A.; Jeng, F.S. Seismic response of tunnels revealed in two decades following the 1999 Chi-Chi earthquake (Mw 7.6) in Taiwan: A review. Eng. Geol. 2021, 287, 106090. [Google Scholar] [CrossRef]
- An, X.; Shawky, A.; Maekawa, K. The Collapse Mechanism of a Subway Station during the Great Hanshin Earthquake. Cem. Concr. Compos. 1997, 19, 241–257. [Google Scholar] [CrossRef]
- Iida, H.; Hiroto, T.; Yoshida, N.; Iwafuji, M. Damage to Daikai subway station. Soils Found. 1996, 36, 283–300. [Google Scholar] [CrossRef]
- Seokwon, J.; Jongwoo, K.; Youngho, S.; Changwoo, H. Effect of a fault and weak plane on the stability of a tunnel in rock—A scaled model test and numerical analysis. Int. J. Rock Mech. Min. Sci. 2004, 41, 658–663. [Google Scholar]
- Huang, F.; Zhu, H.; Xu, Q.; Cai, Y.; Zhuang, X. The effect of weak interlayer on the failure pattern of rock mass around tunnel–Scaled model tests and numerical analysis. Tunn. Undergr. Space Technol. 2013, 35, 207–218. [Google Scholar] [CrossRef]
- Zhuang, H.; Wang, X.; Chen, G. Earthquake responses of subway station with different depths of soft soil. Chin. J. Geotech. Eng. 2009, 31, 1258–1266. (In Chinese) [Google Scholar]
- Du, N. The Seismic Response Analysis of the Subway Statio in Soil with Saturated Weak Intercalations. Master’s Thesis, Beijing Jiaotong University, Beijing, China, 2010. (In Chinese). [Google Scholar]
- Dou, Y.; Feng, F.; Wang, J.; Fan, J.; Zheng, S. The 3D seismic response analysis of subway station built in weak interlayer. Struct. Eng. 2019, 35, 140–148. (In Chinese) [Google Scholar]
- Chen, S.; Tang, B.; Zhao, K.; Li, X.; Zhuang, H. Seismic response of irregular underground structures under adverse soil conditions using shaking table tests. Tunn. Undergr. Space Technol. 2020, 95, 103145. [Google Scholar] [CrossRef]
- Huang, Z.; Pitilakis, K.; Tsinidis, G.; Argyroudis, S.; Zhang, D.-M. Seismic vulnerability of circular tunnels in soft soil deposits: The case of Shanghai metropolitan system. Tunn. Undergr. Space Technol. 2020, 98, 103341. [Google Scholar] [CrossRef]
- Huang, Z.; Pitilakis, K.; Argyroudis, S.; Tsinidis, G.; Zhang, D.-M. Selection of optimal intensity measures for fragility assessment of circular tunnels in soft soil deposits. Soil Dyn. Earthq. Eng. 2021, 145, 106724. [Google Scholar] [CrossRef]
- Shimamura, S.; Kasai, H.; Haruumi, M. Seismic isolation effect for a tunnel with a soft isolation layer. Struct. Eng. Earthq. Eng. 1999, 16, 143–154. [Google Scholar] [CrossRef] [PubMed]
- Kim, D.; Konagai, K. Key parameters governing the performance of soft tunnel coating for seismic isolation. Earthq. Eng. Struct. Dyn. 2001, 30, 1333–1343. [Google Scholar] [CrossRef]
- Kim, D.S.; Konagai, K. Seismic isolation effect of a tunnel covered with coating material. Tunn. Undergr. Space Technol. 2000, 15, 437–443. [Google Scholar] [CrossRef]
- Konagai, K.; Kim, D.S. Simple evaluation of the effect of seismic isolation by covering a tunnel with a thin flexible material. Soil Dyn. Earthq. Eng. 2001, 21, 287–295. [Google Scholar] [CrossRef]
- Chen, Z.; Liang, S.; Shen, H.; He, C. Dynamic centrifuge tests on effects of isolation layer and cross-section dimensions on shield tunnels. Soil Dyn. Earthq. Eng. 2018, 109, 173–187. [Google Scholar] [CrossRef]
- Huo, H.; Bobet, A.; Fernandez, G.; Ramírez, J. Load transfer mechanisms between underground structure and surrounding ground: Evaluation of the failure of the Daikai station. J. Geotech. Geoenviron. Eng. 2005, 131, 1522–1533. [Google Scholar] [CrossRef]
- Du, X.; Ma, C.; Lu, D.; Xu, C.; Xu, Z. Collapse simulation and failure mechanism analysis of the Daikai station under seismic loads. China Civ. Eng. J. 2017, 50, 53–62. (In Chinese) [Google Scholar]
- Du, X.; Li, Y.; Xu, C.; Lu, D.; Xu, Z.; Jin, L. Review on damage causes and disaster mechanism of Daikai subway station during 1995 Osaka-Kobe earthquake. Chin. J. Geotech. Eng. 2018, 40, 223–236. (In Chinese) [Google Scholar]
- Xu, C.; Zhang, Z.; Li, Y.; Du, X. Validation of a numerical model based on dynamic centrifuge tests and studies on the earthquake damage mechanism of underground frame structures. Tunn. Undergr. Space Technol. 2020, 104, 103538. [Google Scholar] [CrossRef]
- Chen, Z.; Liu, Z. Optimal shock absorption layout of lead rubber bearing in a multi-story underground structure. In Proceedings of the GeoShanghai 2018 International Conference: Tunnelling and Underground Construction, Shanghai, China, 27–30 May 2018; Springer: Singapore, 2018; pp. 718–727. (In Chinese). [Google Scholar]
- Liu, Z.; Chen, Z.; Liang, S.; Li, C. Isolation mechanism of a subway station structure with flexible devices at column ends obtained in shaking-table tests. Tunn. Undergr. Space Technol. 2020, 98, 103328. [Google Scholar] [CrossRef]
- Zheng, Y.; Yue, C. Shaking table test study on the functionality of rubber isolation bearing used in underground structure subjected to earthquakes. Tunn. Undergr. Space Technol. 2020, 98, 103153. [Google Scholar] [CrossRef]
- Chen, Z.; Chen, W.; Bian, G. Seismic Performance upgrading for underground structures by introducing shear panel dampers. Adv. Struct. Eng. 2014, 17, 1343–1357. [Google Scholar] [CrossRef]
- Zhuang, H.; Zhao, C.; Chen, S.; Fu, J.; Zhao, K.; Chen, G. Seismic performance of underground subway station with sliding between column and longitudinal beam. Tunn. Undergr. Space Technol. 2020, 102, 103439. [Google Scholar] [CrossRef]
- Yang, J.; Zhuang, H.; Wang, W.; Zhou, Z.; Chen, G. Seismic performance and effective isolation of a large multilayered underground subway station. Soil Dyn. Earthq. Eng. 2021, 142, 106560. [Google Scholar]
- Bu, X.; Xu, Z.; Ledesma, A.; López-Almansa, F. Seismic target drifts for underground railway stations. Cases of traditional rigid connections and sliding interior columns. Tunn. Undergr. Space Technol. 2024, 144, 105555. [Google Scholar] [CrossRef]
- Xu, Z.; Xia, Z.; Bu, X.; Han, R. Research on Seismic Performance of a Two-Story, Two-Span Underground Subway Station with Split Columns Based on the Quasi-Static Method. Appl. Sci. 2024, 14, 4077. [Google Scholar] [CrossRef]
- Zayas, V.A.; Low, S.S.; Mahin, S.A. A simple pendulum technique for achieving seismic isolation. Earthq. Spectra 1990, 6, 317–333. [Google Scholar] [CrossRef]
- Tesopelas, P.; Constantinou, M.C.; Kim, Y.S.; Okamoto, S. Experimental study of FPS system in bridge seismic isolation. Earthq. Eng. Struct. Dyn. 1996, 25, 65–78. [Google Scholar] [CrossRef]
- Jangid, R.S. Optimum friction pendulum system for near-fault motions. Eng. Struct. 2005, 27, 349–359. [Google Scholar] [CrossRef]
- Mazza, F.; Mazza, M. Nonlinear seismic analysis of irregular rc framed buildings base-isolated with friction pendulum system under near-fault excitations. Soil Dyn. Earthq. Eng. 2016, 90, 299–312. [Google Scholar] [CrossRef]
- Xu, Z.; Du, X.; Xu, C.; Han, R. Numerical analyses of seismic performance of underground and aboveground structures with friction pendulum bearings. Soil Dyn. Earthq. Eng. 2020, 130, 105967. [Google Scholar] [CrossRef]
- Quaglini, V.; Bocciarelli, M.; Gandelli, E.; Dubini, P. Numerical assessment of frictional heating in sliding bearings for seismic isolation. J. Earthq. Eng. 2014, 18, 1198–1216. [Google Scholar] [CrossRef]
- Ma, C.; Lu, D.C.; Du, X.L. Seismic performance upgrading for underground structures by introducing sliding isolation bearings. Tunn. Undergr. Space Technol. 2018, 74, 1–9. [Google Scholar] [CrossRef]
- Systèmes, D. Abaqus Analysis User’s Manual; Simulia Corp.: Providence, RI, USA, 2007; p. 40. [Google Scholar]
- Chen, Z.; Jia, P. Seismic response of underground stations with friction pendulum bearings under horizontal and vertical ground motions. Soil Dyn. Earthq. Eng. 2021, 151, 106984. [Google Scholar] [CrossRef]
- Lee, J.; Fenves, G.L. Plastic-damage model for cyclic loading of concrete structures. J. Eng. Mech. 1998, 124, 892–900. [Google Scholar] [CrossRef]
- Lubliner, J.; Oliver, J.; Oller, S.; Oñate, E. A plastic-damage model for concrete. Int. J. Solids Struct. 1989, 25, 299–326. [Google Scholar] [CrossRef]
- Kampitsis, A.E.; Sapountzakis, E.J.; Giannakos, S.K.; Gerolymos, N.A. Seismic soil-pile-structure kinematic and inertial interaction-a new beam approach. Soil Dyn. Earthq. Eng. 2013, 55, 211–224. [Google Scholar] [CrossRef]































| Layer No. | Thickness (m) | ρ (kg/m3) | Vs (m/s) | ν |
|---|---|---|---|---|
| 1 | 4 | 2000 | 170 | 0.3 |
| 2 | 4 | 2000 | 205 | 0.3 |
| 3 | 4 | 2000 | 240 | 0.3 |
| 4 | 2 | 2000 | 275 | 0.3 |
| 5 | 2 | 2000 | 275 | 0.3 |
| 6 | 4 | 2000 | 310 | 0.3 |
| 7 | 4 | 2000 | 345 | 0.3 |
| 8 | 4 | 2000 | 380 | 0.3 |
| 9 | 4 | 2000 | 415 | 0.3 |
| 10 | 4 | 2000 | 450 | 0.3 |
| 11 | 4 | 2000 | 485 | 0.3 |
| Condition | Interlayer Position (m) | Relationship between Interlayer and Underground Structure Position | Thickness of Interlayer (m) | Shear Wave Velocity (m/s) |
|---|---|---|---|---|
| 1 | Layered soil site | |||
| 2 | 2 | Upper | 2 | 80 |
| 3 | 6 | Top | 2 | 80 |
| 4 | 12 | Middle | 2 | 80 |
| 5 | 19 | Bottom | 2 | 80 |
| 6 | 22 | Lower | 2 | 80 |
| 7 | 12.5 | Middle | 1 | 80 |
| 8 | 12.25 | Middle | 1.5 | 80 |
| 9 | 11.75 | Middle | 2.5 | 80 |
| 10 | 11.5 | Middle | 3 | 80 |
| 11 | 12 | Middle | 2 | 90 |
| 12 | 12 | Middle | 2 | 100 |
| 13 | 12 | Middle | 2 | 110 |
| 14 | 12 | Middle | 2 | 120 |
| Model Parameters | Parameter Values | Model Parameters | |
|---|---|---|---|
| Initial yield compressive stress σ c/MPa | 20.72 | Tensile stiffness recovery coefficient/ωt | 0 |
| Ultimate compressive stressσ cu/MPa | 29.6 | Compression stiffness recovery coefficient/ωc | 1 |
| Initial yield tensile stressσ t0/MPa | 2.95 | Damage factor | dc, dt |
| Divergence angle ψ/(°) | 38 |
| Plastic strain (%) | 0.0 | 0.13 | 0.19 | 0.26 | 0.31 | 0.42 | 0.53 | 0.78 | 1.48 |
| Compressive stress (MPa) | 29.6 | 26.5 | 21.53 | 17.32 | 14.18 | 10.15 | 7.79 | 5.25 | 2.32 |
| Damage factor | 0.0 | 0.37 | 0.49 | 0.59 | 0.65 | 0.74 | 0.79 | 0.85 | 0.93 |
| Cracking strain (%) | 0.0 | 0.011 | 0.018 | 0.058 | 0.107 | 0.205 | 0.399 | 1.56 | 3.07 |
| Tensile stress (MPa) | 3.42 | 2.7 | 2.17 | 1.05 | 0.68 | 0.43 | 0.27 | 0.11 | 0.07 |
| Damage factor | 0.0 | 0.34 | 0.49 | 0.78 | 0.86 | 0.93 | 0.96 | 0.98 | 0.99 |
Disclaimer/Publisher’s Note: The statements, opinions and data contained in all publications are solely those of the individual author(s) and contributor(s) and not of MDPI and/or the editor(s). MDPI and/or the editor(s) disclaim responsibility for any injury to people or property resulting from any ideas, methods, instructions or products referred to in the content. |
© 2024 by the authors. Licensee MDPI, Basel, Switzerland. This article is an open access article distributed under the terms and conditions of the Creative Commons Attribution (CC BY) license (https://creativecommons.org/licenses/by/4.0/).
Share and Cite
Xu, Z.; Li, C.; Xia, Z.; Han, R. Seismic Response and Mitigation Analysis of a Subway Station in the Site with Weak Interlayers. Appl. Sci. 2024, 14, 6608. https://doi.org/10.3390/app14156608
Xu Z, Li C, Xia Z, Han R. Seismic Response and Mitigation Analysis of a Subway Station in the Site with Weak Interlayers. Applied Sciences. 2024; 14(15):6608. https://doi.org/10.3390/app14156608
Chicago/Turabian StyleXu, Zigang, Chunyu Li, Zongyao Xia, and Runbo Han. 2024. "Seismic Response and Mitigation Analysis of a Subway Station in the Site with Weak Interlayers" Applied Sciences 14, no. 15: 6608. https://doi.org/10.3390/app14156608
APA StyleXu, Z., Li, C., Xia, Z., & Han, R. (2024). Seismic Response and Mitigation Analysis of a Subway Station in the Site with Weak Interlayers. Applied Sciences, 14(15), 6608. https://doi.org/10.3390/app14156608
