Design of a Lightweight Cryptographic Scheme for Resource-Constrained Internet of Things Devices
Abstract
1. Introduction
2. Related Work
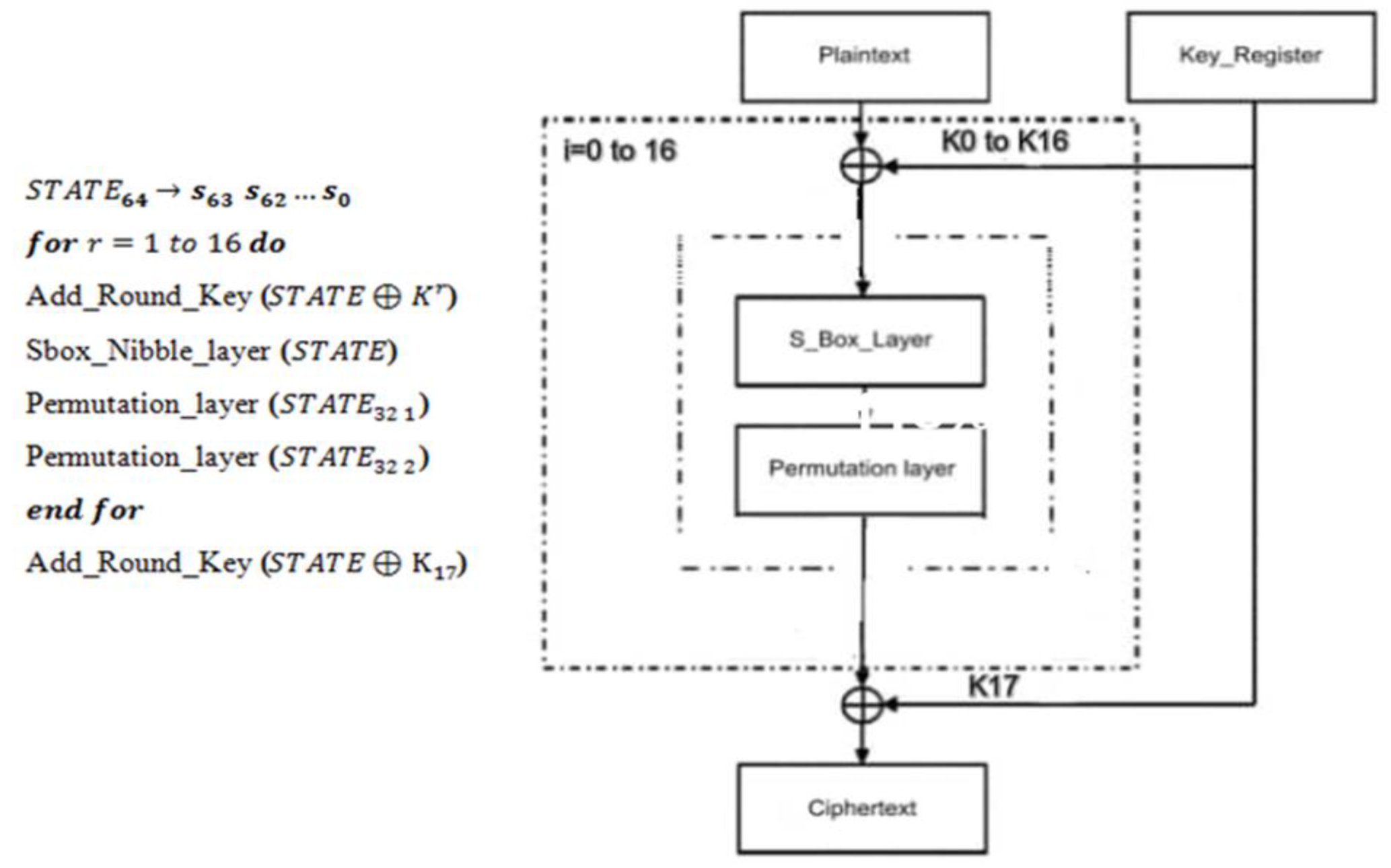
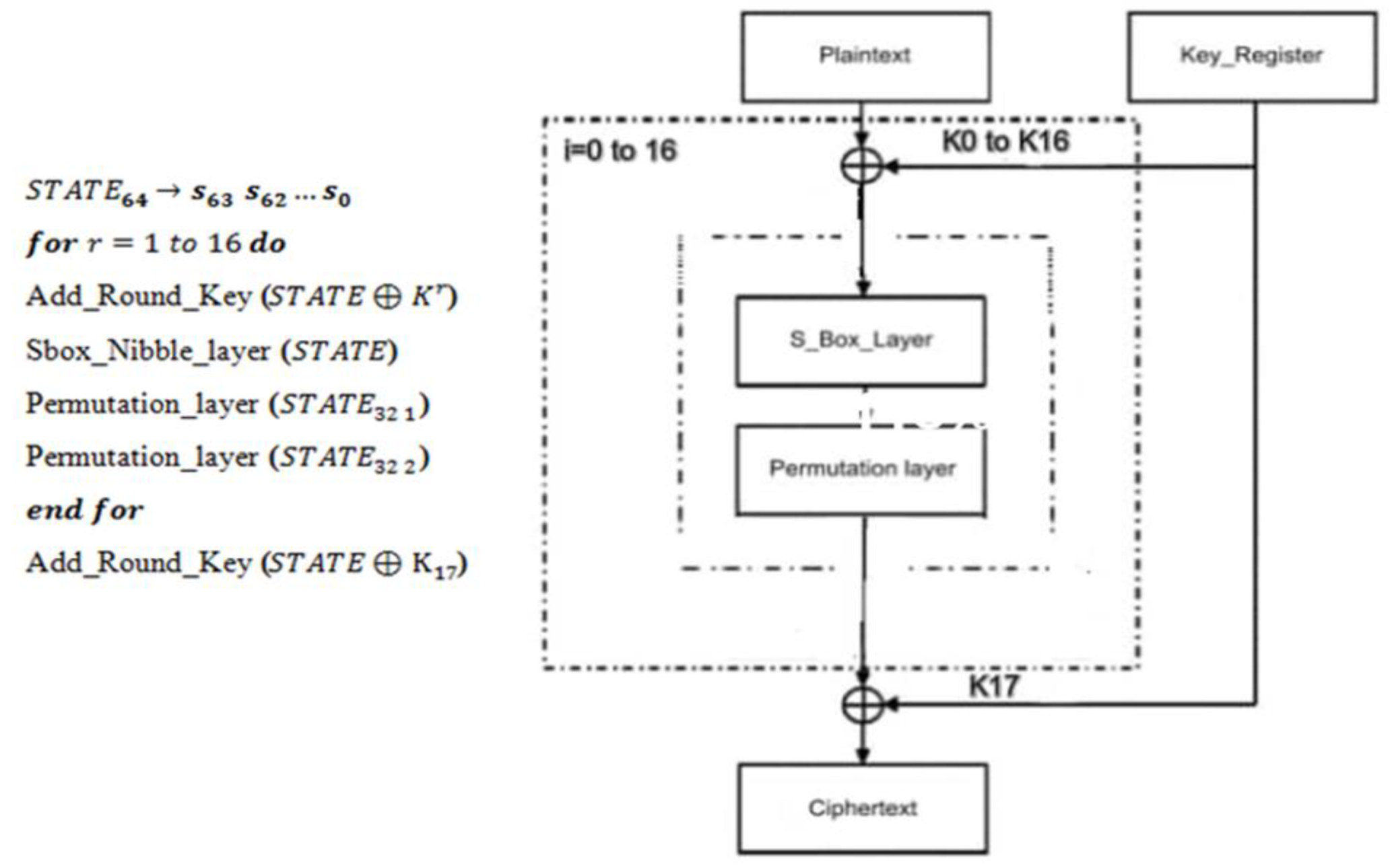
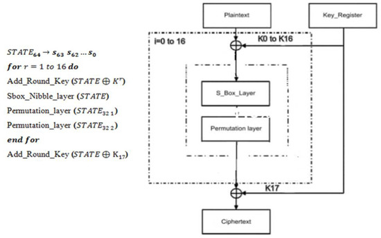
3. Block Cipher SLA
3.1. Add_Round_Key
3.2. Substitution Box (S-Box_Nibble Layer)
3.3. Permutation Layer
| Algorithm 1 Encryption |
| Input: Plaintext Output: Ciphertext = 0 16 // S-box // High 32-bit P-box // Low 32-bit P-box |
3.4. Key Schedule of 80- and 128-Bit Key Size
- Scheduling of 80-bit key
- 2.
- Scheduling of 128-bit key
3.5. The Decryption Process
4. Evaluation of SLA Scheme
4.1. Security Evaluation
- Linear cryptanalysis
- 2.
- Differential Cryptanalysis
- 3.
- Algebraic degree. An algebraic degree of a vectorial Boolean function is the number of variables in the longest item of its ANF, denoted by [28].
- 4.
- Nonlinearity. The nonlinearity of the vectorial Boolean function is the minimal of all component functions of [28], and the Walsh spectrum is used to calculate it in the manner outlined below in (18):
- 5.
- Correlation Immunity. The correlation immunity of a Boolean function is defined as a measurement of how uncorrelated outputs are with a certain subset of its inputs. If is balanced, and , then so-called [30]. This criterion is from the Walsh spectrum in the manner outlined in (19):
- 6.
- Balancedness. The vectorial Boolean function is balanced if its outputs are distributed uniformly over . According to the Walsh Spectrum, this property is evaluated as follows [31]:
- 7.
- 8.
- Global avalanche criterion (GAC). The global avalanche criterion is presented through two indicators [35].
- 9.
- 10.
- Linear potential. The linear potential of a vectorial Boolean function is a metric of linearity that fulfills [38]. Therefore, the upper bound is met when is linear or affine, whereas the tight bound holds if and only if exhibits maximal nonlinearity ( is bent), and it is defined as
- 11.
- Differential potential. The differential potential of a vectorial Boolean function is a gauge of resistance to differential attack where and the lower bound is valid if is bent and the upper bound is met when is linear or affine, and it is defined as
- 12.
- Fixpoints and negated-fixpoints. A vectorial Boolean function represents the fixpoints of , that is, and negated-fixpoints of , that is
4.2. The Effect of the Avalanche
4.3. Performance Evaluations
4.4. Results
5. Conclusions
Author Contributions
Funding
Institutional Review Board Statement
Informed Consent Statement
Data Availability Statement
Acknowledgments
Conflicts of Interest
Appendix A. Bit Permutation Layer


Appendix B. Test Vectors
| Plaintext | Key | Ciphertext |
|---|---|---|
| 0000 0000 0000 0000 | 0000 0000 0000 0000 0000 | 740434f796cff821 |
| FFFF FFFF FFFF FFFF FFFF | 475a92fa61af749c |
| Plaintext | Key | Ciphertext |
|---|---|---|
| 0000 0000 0000 0000 | 0000 0000 0000 0000 0000 0000 0000 0000 | 858f96a55cc4f107 |
| FFFF FFFF FFFF FFFF FFFF FFFF FFFF FFFF | 0937f4ef5c91acfa |
Appendix C
| Lemma (Pilling-up lemma) |
Appendix D
Appendix E. Differential and Linear Relations of SLA Sbox_Nibble
| a\b | 0 | 1 | 2 | 3 | 4 | 5 | 6 | 7 | 8 | 9 | a | b | c | d | e | f |
|---|---|---|---|---|---|---|---|---|---|---|---|---|---|---|---|---|
| 0 | 16 | 0 | 0 | 0 | 0 | 0 | 0 | 0 | 0 | 0 | 0 | 0 | 0 | 0 | 0 | 0 |
| 1 | 0 | 2 | 2 | 2 | 2 | 0 | 0 | 4 | 2 | 0 | 0 | 0 | 2 | 0 | 0 | 0 |
| 2 | 0 | 2 | 0 | 0 | 2 | 2 | 2 | 0 | 0 | 2 | 0 | 0 | 4 | 0 | 0 | 2 |
| 3 | 0 | 0 | 2 | 0 | 2 | 2 | 2 | 0 | 4 | 0 | 0 | 2 | 0 | 0 | 2 | 0 |
| 4 | 0 | 4 | 0 | 2 | 0 | 2 | 0 | 0 | 2 | 0 | 2 | 2 | 0 | 0 | 0 | 2 |
| 5 | 0 | 0 | 4 | 2 | 0 | 0 | 2 | 0 | 0 | 0 | 0 | 2 | 2 | 2 | 0 | 2 |
| 6 | 0 | 0 | 0 | 2 | 4 | 2 | 2 | 2 | 0 | 0 | 2 | 0 | 0 | 2 | 0 | 0 |
| 7 | 0 | 0 | 0 | 4 | 2 | 0 | 0 | 2 | 0 | 2 | 0 | 2 | 0 | 0 | 2 | 2 |
| 8 | 0 | 0 | 2 | 0 | 2 | 0 | 0 | 0 | 2 | 2 | 2 | 0 | 0 | 2 | 0 | 4 |
| 9 | 0 | 0 | 0 | 0 | 0 | 0 | 2 | 2 | 2 | 0 | 2 | 0 | 2 | 0 | 4 | 2 |
| a | 0 | 2 | 0 | 2 | 0 | 0 | 4 | 0 | 2 | 2 | 0 | 0 | 0 | 2 | 2 | 0 |
| b | 0 | 2 | 2 | 0 | 0 | 0 | 2 | 2 | 0 | 2 | 4 | 2 | 0 | 0 | 0 | 0 |
| c | 0 | 0 | 2 | 2 | 0 | 4 | 0 | 0 | 0 | 2 | 2 | 0 | 2 | 0 | 2 | 0 |
| d | 0 | 2 | 2 | 0 | 0 | 2 | 0 | 2 | 0 | 0 | 0 | 0 | 0 | 4 | 2 | 2 |
| e | 0 | 0 | 0 | 0 | 0 | 2 | 0 | 2 | 2 | 4 | 0 | 2 | 2 | 2 | 0 | 0 |
| f | 0 | 2 | 0 | 0 | 2 | 0 | 0 | 0 | 0 | 0 | 2 | 4 | 2 | 2 | 2 | 0 |
| a\b | 0 | 1 | 2 | 3 | 4 | 5 | 6 | 7 | 8 | 9 | a | b | c | d | e | f |
|---|---|---|---|---|---|---|---|---|---|---|---|---|---|---|---|---|
| 0 | 16 | 0 | 0 | 0 | 0 | 0 | 0 | 0 | 0 | 0 | 0 | 0 | 0 | 0 | 0 | 0 |
| 1 | 0 | 0 | −4 | 0 | 2 | −2 | 2 | 2 | −2 | 2 | 2 | 2 | 0 | 0 | 0 | 4 |
| 2 | 0 | 2 | 0 | −2 | 2 | 4 | 2 | 0 | −2 | 0 | 2 | 0 | 4 | −2 | 0 | −2 |
| 3 | 0 | 2 | 0 | 2 | −4 | 2 | 0 | −2 | 0 | −2 | 4 | 2 | 0 | 2 | 0 | 2 |
| 4 | 0 | −4 | 2 | 2 | 2 | 2 | 4 | 0 | 2 | −2 | 0 | 0 | 0 | 0 | −2 | 2 |
| 5 | 0 | 0 | 2 | 2 | 0 | 0 | −2 | −2 | 0 | 4 | −2 | 2 | 4 | 0 | −2 | 2 |
| 6 | 0 | 2 | 2 | 4 | 0 | −2 | 2 | 0 | 0 | 2 | 2 | −4 | 0 | −2 | 2 | 0 |
| 7 | 0 | −2 | −2 | 0 | −2 | 4 | 0 | 2 | 2 | 4 | 0 | −2 | 0 | 2 | 2 | 0 |
| 8 | 0 | −2 | −2 | 4 | −2 | 0 | 0 | 2 | −4 | −2 | −2 | 0 | 2 | 0 | 0 | −2 |
| 9 | 0 | −2 | −2 | 0 | 0 | −2 | −2 | 0 | 2 | 0 | 4 | −2 | 2 | 0 | −4 | −2 |
| a | 0 | 0 | 2 | −2 | −4 | 0 | 2 | 2 | −2 | 2 | 0 | 0 | −2 | −2 | −4 | 0 |
| b | 0 | 0 | −2 | −2 | −2 | −2 | 4 | −4 | 0 | 0 | −2 | −2 | 2 | 2 | 0 | 0 |
| c | 0 | 2 | −4 | 2 | 0 | 2 | 0 | −2 | 2 | 0 | −2 | 0 | −2 | −4 | −2 | 0 |
| d | 0 | −2 | 0 | −2 | −2 | 0 | −2 | 0 | 0 | −2 | 0 | −2 | 2 | −4 | 2 | 4 |
| e | 0 | 0 | 0 | 0 | 2 | 2 | −2 | −2 | −4 | 0 | 0 | −4 | −2 | 2 | −2 | 2 |
| f | 0 | −4 | 0 | 0 | 0 | 0 | 0 | −4 | −2 | 2 | 2 | 2 | −2 | −2 | 2 | −2 |
References
- Vinayaga Sundaram, B.; Ramnath, M.; Prasanth, M.; Varsha Sundaram, J. Encryption and Hash based Security in Internet of Things. In Proceedings of the ICSCN 2015, IEEE, Chennai, India, 26–28 March 2015; pp. 1–6. [Google Scholar] [CrossRef]
- Kumar, V.K.; Mascarenhas, S.J.; Kumar, S.; Rakesh, J.P.V. Design And Implementation of Tiny Encryption Algorithm. IJERA 2015, 5 Pt 2, 94–97. [Google Scholar]
- National Institute of Standards and Technology (NIST); Lightweight Cryptography. Available online: https://csrc.nist.gov/Projects/LightweightCryptography (accessed on 18 October 2018).
- National Institute of Standards and Technology (NIST); Lightweight Cryptography Workshop 2015. Available online: https://www.nist.gov/newsevents/events/2015/07/lightweight-cryptographyworkshop2015 (accessed on 23 September 2016).
- National Institute of Standards and Technology (NIST); Lightweight Cryptography Workshop 2016. Available online: https://www.nist.gov/newsevents/events/2016/10/lightweight-cryptography-workshop-2016 (accessed on 3 April 2017).
- Al-Rahman, S.A.; Sagheer, A.; Dawood, O. NVLC: New Variant Lightweight Cryptography Algorithm for Internet of Things. In Proceedings of the AICIS 2018, IEEE, Fallujah, Iraq, 20–21 November 2018; pp. 176–181. [Google Scholar] [CrossRef]
- Li, L.; Liu, B.; Zhou, Y.; Zou, Y. SFN: A new lightweight block cipher. In Proceedings of the MICPRO 2018, Opatija, Croatia, 21–25 May 2018; Elsevier: Amsterdam, The Netherlands, 2018; pp. 138–150. [Google Scholar] [CrossRef]
- Alassaf, N.; Gutub, A.; Parah, S.A.; Al Ghamdi, M. Enhancing speed of SIMON: A light-weight-cryptographic algorithm for IoT applications. In Multimedia Tools and Applications 2018; Springer: Berlin/Heidelberg, Germany, 2018; pp. 32633–32657. [Google Scholar] [CrossRef]
- Patil, J.; Bansod, G.; Kant, K.S. LiCi: A new ultra-lightweight block cipher. In Proceedings of the ICEI 2017, IEEE, Pune, India, 3–5 February 2017; pp. 40–45. [Google Scholar] [CrossRef]
- Bansod, G.; Pisharoty, N.; Patil, A. BORON: An ultra-lightweight and low power encryption design for pervasive computing. In FITEE 2017; Zhejiang University: Hangzhou, China; Springer: Berlin/Heidelberg, Germany, 2017; pp. 317–331. [Google Scholar] [CrossRef]
- Banik, S.; Bogdanov, A.; Isobe, T.; Shibutani, K.; Hiwatari, H.; Akishita, T.; Regazzoni, F. Midori: A Block Cipher for Low Energy. In ASIACRYPT 2015; Springer: Berlin/Heidelberg, Germany, 2015; pp. 411–436. [Google Scholar] [CrossRef]
- Yang, G.; Zhu, B.; Suder, V.; Aagaard, M.D.; Gong, G. The Simeck Family of Lightweight Block Ciphers. In CHES 2015; Springer: Berlin/Heidelberg, Germany, 2015; pp. 307–329. [Google Scholar] [CrossRef]
- Zhang, W.; Bao, Z.; Lin, D.; Rijmen, V.; Yang, B.; Verbauwhede, I. RECTANGLE: A Bit-slice Lightweight Block Cipher Suitable for Multiple Platforms. In Science China Information Sciences 2015; Springer Nature: Berlin/Heidelberg, Germany, 2015; pp. 1–15. [Google Scholar] [CrossRef]
- Biham, E. A Fast New DES Implementation in Software. In FSE 1997; Biham, E., Ed.; Springer: Berlin/Heidelberg, Germany, 1997; pp. 260–272. [Google Scholar] [CrossRef]
- Anderson, R.; Biham, E.; Knudsen, L.R. Serpent: A Proposal for the Advanced Encryption Standard. NIST AES Propos. 1998, 174, 1–23. [Google Scholar]
- Suzaki, T.; Minematsu, K.; Morioka, S.; Kobayashi, E. TWINE: A Lightweight Block Cipher for Multiple Platforms. In SAC 2012; Springer: Berlin/Heidelberg, Germany, 2012; pp. 339–354. [Google Scholar] [CrossRef]
- Bogdanov, L.R.; Knudsen, G.; Leander, C.; Paar, A.; Poschmann, M.J.B.; Seurin, Y.; Vikkelsoe, C. PRESENT: An Ultra-Lightweight Block Cipher. In CHES 2007; Springer: Berlin/Heidelberg, Germany, 2007; pp. 450–466. [Google Scholar] [CrossRef]
- Daemen, J.; Peeters, M.; Van Assche, G.; Rijmen, V. The Noekeon Block Cipher. The NESSIE Proposal, 2000. First Open NESSIE Workshop, November. Available online: http://gro.noekeon.org/ (accessed on 23 September 2016).
- Borghof, J.; Canteaut, A.; Güneysu, T.; Kavun, E.B.; Knezevic, M.; Knudsen, L.R.; Leander, G.; Nikov, V.; Paar, C.; Rechberger, C.; et al. PRINCE—A low-latency block cipher for pervasive computing applications. In Proceedings of the ASIACRYPT 2012, Beijing, China, 2–6 December 2012; Springer: Berlin/Heidelberg, Germany, 2012; pp. 208–225. [Google Scholar] [CrossRef]
- Gong, Z.; Nikova, S.; Law, Y.W. KLEIN: A New Family of Lightweight Block Ciphers. In RFIDSec 2011; Springer: Berlin/Heidelberg, Germany, 2011; pp. 1–18. [Google Scholar] [CrossRef]
- Leander, G.; Paar, C.; Poschmann, A.; Schramm, K. New Lightweight DES Variants. In FSE 2007; Springer: Berlin/Heidelberg, Germany, 2007; pp. 196–210. [Google Scholar] [CrossRef]
- Lim, C.H.; Korkishko, T. mCrypton—A Lightweight Block Cipher for Security of Low-Cost RFID Tags and Sensors. In WISA 2005; Song, J., Kwon, T., Yung, M., Eds.; Springer: Berlin/Heidelberg, Germany, 2005; pp. 243–258. [Google Scholar] [CrossRef]
- Lim, C.H. A revised version of crypton: Crypton v1.0. In FSE 1999; Knudsen, L.R., Ed.; Spinger: Berlin/Heidelberg, Germany, 1999; pp. 31–45. [Google Scholar] [CrossRef]
- Menezes, A.; van Oorschot, P.C.; Vanstone, S. The Handbook of Applied Cryptography; CRC Press: Boca Raton, FL, USA, 1996. [Google Scholar] [CrossRef]
- Matsui, M. Linear Cryptanalysis Method for DES Cipher. In EUROCRYPT 1993; Springer: Berlin/Heidelberg, Germany, 1993; pp. 386–397. [Google Scholar] [CrossRef]
- Heys, H.M. A tutorial on linear and differential cryptanalysis. Cryptologia 2001, 26, 189–221. [Google Scholar] [CrossRef]
- Biham, E.; Shamir, A. Differential Cryptanalysis of DES-like Cryptosystems. J. Cryptol. 1991, 4, 3–72. [Google Scholar] [CrossRef]
- Nyberg, K. On the construction of highly nonlinear permutations. In EUROCRYPT 1992; Springer: Berlin/Heidelberg, Germany, 1992; pp. 92–98. [Google Scholar] [CrossRef]
- Pieprzyk, J.; Finkelstein, G. Toward effective nonlinear cryptosystem design. IEE Proc. E-Comput. Digit. Tech. 1988, 135, 325–335. [Google Scholar] [CrossRef]
- Siegenthaler, T. Decrypting a class of stream ciphers using ciphertext only. IEEE Trans. Comput. 1985, 34, 81–85. [Google Scholar] [CrossRef]
- Pommerening, K. Linearitatsmafie fiir BOOLE sche Abbildungen; Technical Report 2005; Fachbereich Mathematik der Johannes-Gutenberg-Universitát: Mainz, Germany, 2005. [Google Scholar]
- Courtois, N. Fast algebraic attacks on stream ciphers with linear feedback. In CRYPTO 2003; Springer: Berlin/Heidelberg, Germany, 2003; pp. 176–194. [Google Scholar] [CrossRef]
- Courtois, N.; Meier, W. Algebraic attacks on stream ciphers with linear feedback. In EUROCRYPT 2003; Springer: Berlin/Heidelberg, Germany, 2003; pp. 345–359. [Google Scholar] [CrossRef]
- Faugére, J.-C.; Ars, G. An Algebraic Cryptanalysis of Nonlinear Filter Generators Using Grobner Bases. Technical Report 2003. INRIA 4739. Available online: https://hal.inria.fr/inria-00071848 (accessed on 1 February 2023).
- Zhang, X.-M.; Zheng, Y. GAC—The criterion for global avalanche characteristics of cryptographic functions. J. Univers. Comput. Sci. 1995, 1, 320–337. [Google Scholar] [CrossRef]
- Preneel, B.; Van Leekwijck, W.; Van Linden, L.; Govaerts, R.; Vandewalle, J. Propagation Characteristics of Boolean Functions. In EUROCRYPT 1990; Springer: Berlin/Heidelberg, Germany, 1990; pp. 161–173. [Google Scholar]
- Webster, A.F.; Tavares, S.E. On the Design of S-boxes. In Crypto ’85; Williams, H.C., Ed.; Springer: Berlin/Heidelberg, Germany, 1986; pp. 523–534. [Google Scholar] [CrossRef]
- Chabaud, F.; Vaudenay, S. Links between differential and linear cryptanalysis. In Advances in Cryptology (EUROCRYPT 1995); Springer: Berlin/Heidelberg, Germany, 1995; pp. 356–365. [Google Scholar] [CrossRef]
- Shi, Z.; Lee, R.B. Bit permutation instructions for accelerating software cryptography. In ASAP’00 2000; IEEE: Boston, MA, USA, 2000; pp. 138–148. [Google Scholar] [CrossRef]
- Álvarez-Cubero, J.A.; Zufiria, P.J. Algorithm 959: VBF: A Library of C++ Classes for Vector Boolean Functions in Cryptography. ACM Trans. Math. Softw. 2016, 42, 1–22. [Google Scholar] [CrossRef]
- Bansod, G.; Patil, A.; Sutar, S.; Pisharoty, N. ANU: An ultra-lightweight cipher design for security in IoT. Secur. Commun. Netw. 2016, 9, 4823–6411. [Google Scholar] [CrossRef]
- Kumar, M.; Pal, S.K.; Panigrahi, A. FeW: A lightweight block cipher. MATDER 2019, Turk. J. Math. Comput. Sci. 2019, 11, 58–73. [Google Scholar]
- Wu, W.; Zhang, L. L-block: A lightweight block cipher. In ACNS 2011; Springer: Berlin/Heidelberg, Germany, 2011; pp. 327–344. [Google Scholar] [CrossRef]
- Shibutani, K.; Isobe, T.; Hiwatari, H.; Mitsuda, A.; Akishita, T.; Shirai, T. Piccolo: An Ultra-Lightweight Block cipher. In CHES 2011; Springer: Berlin/Heidelberg, Germany, 2011; pp. 342–357. [Google Scholar] [CrossRef]
- Matsui, M. New structure of block ciphers with provable security against differential and linear cryptanalysis. In FSE 1996; Gollmann, D., Ed.; Springer: Berlin/Heidelberg, Germany, 1996; pp. 205–218. [Google Scholar] [CrossRef]


| 0 | 1 | 2 | 3 | 4 | 5 | 6 | 7 | 8 | 9 | a | b | c | d | e | f | |
| f | 8 | 3 | e | 0 | 7 | b | a | 5 | d | 9 | c | 6 | 4 | 2 | 1 |
| Criteria | Lower Bound | Upper Bound | Our S-Box | Mini AES S-Box | Ref. |
|---|---|---|---|---|---|
| ƊԐ | 0 (constant functions) | 3 | 2 | [40] | |
| 0 (affine functions) | 4 | 2 | |||
| 0 | 1 | 1 | |||
| S-box Balanced | - | - | Balanced | Balanced | |
| 0 | [32] ⌈⌉ | 2 | 2 | ||
| 0 (bent functions) | (affine functions) | 8 | 16 | ||
| (bent functions) | (affine functions) | 640 | 1408 | ||
| 0 (if it has linear structures) | 2 | 0 | |||
| 0 | 1 | 1 | |||
| 0.0625 | 1 | 0.25 | 0.5 | ||
| 0.0625 | 1 | 0.25 | 0.5 |
| Rounds | Input to S-Box | Output of S-Box |
|---|---|---|
| First | 0000 0000 0008 0000 | 0000 0000 0003 0000 |
| Second | 0000 0000 5000 5000 | 0000 0000 c000 c000 |
| Third | 0360 0060 0300 0360 | 04b0 00b0 0400 04b0 |
| Fourth | 2024 2004 0040 204c | 5051 5001 0010 5012 |
| Rounds | Min. No. of Active S-Boxes |
|---|---|
| First | 1 |
| Second | 3 |
| Third | 9 |
| Fourth | 18 |
| Rounds | Input-to-S-Box | Output-of-S-Box |
|---|---|---|
| First | 0000 0000 000e 0000 | 0000 0000 0009 0000 |
| Second | 0000 0000 2000 2000 | 0000 0000 c000 c000 |
| Third | 0360 0060 0300 0360 | 0840 0040 0800 0840 |
| Fourth | 0140 0045 0120 0100 | 0710 0012 07c0 0700 |
| Rounds | Min. No. of Active S-Boxes |
|---|---|
| First | 1 |
| Second | 3 |
| Third | 9 |
| Fourth | 20 |
| LWC Algorithm | No. of Rounds | No. of Active S-Boxes | No. of Known Plaintext | No. of Chosen Plaintext | Ref. |
|---|---|---|---|---|---|
| SLA | 16 | 48 | This paper | ||
| BORON | 18 | 48 | [10] | ||
| ANU | 18 | 54/48 | [41] | ||
| FEW | 27 | 45 | [42] | ||
| L-Block | 15 | 32 | [43] | ||
| PICCOLO | 30 | 30 | [44] | ||
| PRESENT | 25 | 50 | [17] |
| Plaintext | Key | Ciphertext | No. of Bits Altered | Rate |
|---|---|---|---|---|
| 0000 0000 0000 0000 | 0000 0000 0000 0000 0000 | 740434f796cff821 | ||
| 0010 0000 0000 0000 0000 | 0020313a0c9157ee | 34 | 53% | |
| 0000 0000 0000 0000 0010 | bcc58124f3b581de | 34 | 53% |
| Plaintext | Key | Ciphertext | No. of Bits Altered | Rate |
|---|---|---|---|---|
| 0000 0000 0000 0000 | 0000 0000 0000 0000 0000 0000 0000 0000 | 858f96a55cc4f107 | ||
| 0000 0000 0000 0000 0000 0000 0000 0010 | 48987e3bd2bc193b | 34 | 53% | |
| 0000 8000 0000 0000 0000 0000 0000 0000 | 00f7818f94a2e296 | 39 | 60% |
| Performance on AMD Ryzen 45500U Processor | ||||||
|---|---|---|---|---|---|---|
| Structure | LWC Algorithm | Block Size | Key Size | Execution Time | Block Size | Key Size |
| SP network | SLA | 64 | 80 | 0.000659451 | 97050.44167 | 1631127 |
| PRESENT | 64 | 80 | 0.015804805 | 4049.401468 | 238283 | |
| LED | 64 | 64 | 0.020789735 | 3078.442315 | 11398908 | |
| KLEIN | 64 | 64 | 0.021051668 | 3040.139201 | 689344 | |
| AES | 128 | 128 | 0.016058415 | 3985.44933 | 727652 | |
| Feistel network | DES | 64 | 56 | 0.015747033 | 4064.257677 | 37362051 |
| TWINE | 64 | 80 | 0.02186244 | 2927.395138 | 2118524 | |
| SPECK | 48 | 96 | 0.021938369 | 2917.2634 | 228783 | |
| SIMON | 48 | 96 | 0.02201274 | 2907.407207 | 247285 | |
| CLEFIA | 128 | 128 | 0.022619188 | 2829.456145 | 1074972 | |
Disclaimer/Publisher’s Note: The statements, opinions and data contained in all publications are solely those of the individual author(s) and contributor(s) and not of MDPI and/or the editor(s). MDPI and/or the editor(s) disclaim responsibility for any injury to people or property resulting from any ideas, methods, instructions or products referred to in the content. |
© 2023 by the authors. Licensee MDPI, Basel, Switzerland. This article is an open access article distributed under the terms and conditions of the Creative Commons Attribution (CC BY) license (https://creativecommons.org/licenses/by/4.0/).
Share and Cite
Ibrahim, N.; Agbinya, J. Design of a Lightweight Cryptographic Scheme for Resource-Constrained Internet of Things Devices. Appl. Sci. 2023, 13, 4398. https://doi.org/10.3390/app13074398
Ibrahim N, Agbinya J. Design of a Lightweight Cryptographic Scheme for Resource-Constrained Internet of Things Devices. Applied Sciences. 2023; 13(7):4398. https://doi.org/10.3390/app13074398
Chicago/Turabian StyleIbrahim, Nahla, and Johnson Agbinya. 2023. "Design of a Lightweight Cryptographic Scheme for Resource-Constrained Internet of Things Devices" Applied Sciences 13, no. 7: 4398. https://doi.org/10.3390/app13074398
APA StyleIbrahim, N., & Agbinya, J. (2023). Design of a Lightweight Cryptographic Scheme for Resource-Constrained Internet of Things Devices. Applied Sciences, 13(7), 4398. https://doi.org/10.3390/app13074398

