Abstract
The edible portions of cauliflowers and broccoli are immature flower heads composed of florets attached to the stalk. In most cases, larger florets are separated into smaller pieces during processing. Complex processing lines for cauliflower and broccoli floretting are available on the market, but they are very expensive and require a large working area. Therefore, the aim of this study was to present a proposal for a new floretting unit dedicated to this group of vegetables. The unit will be operated in small farms; it will help producers shorten processing times and sell their goods for higher prices. It was assumed that the unit will feature two main devices: a vegetable crusher and a calibrator. The crusher will remove the florets from the stalk and break larger florets into smaller pieces of appropriate size. Florets with a diameter of 2 to 6 cm will be separated by the calibrator. During the process, leaves, stalks, and very small florets will fall into separate containers, and these fractions will be further processed into food products. The entire process will be carried out directly on the farm, which can increase potential profits by around 25%. Due to a shorter processing time, the product is likely to be fresher and more appealing for consumers.
1. Introduction
The cauliflower (Brassica oleracea var. botrytis L.) and the broccoli (Brassica oleracea var. botrytis italica L.) belong to the cabbage family (Brassicaceae). Both vegetable species have a high nutrient content, and they contain low amounts of fat and sugars. They are classified as low-calorie foods rich in minerals, macronutrients, and dietary fiber [,,,]. Cauliflowers and broccoli deliver health benefits due to the presence of glucosinolates which are associated with lowering the risk of cancer [,,,]. They also contain health-promoting flavonoids that exert fungicidal, bactericidal and antioxidant effects [,,,,]. These vegetables also contain carotenoids, B vitamins, vitamin K, ascorbic acid (vitamin C) and vitamins A, E, H and U, whose deficiencies may have adverse health consequences [,,]. Therefore, Brassica vegetables are important components of the human diet, and their significance has been increasing steadily [,,,,].
Unlike other members of the family Brassicaceae, the main edible parts of cauliflowers and broccoli are their immature flower heads (corymbs). The flower heads are arranged in a tree-like structure branching out from a thick, edible stalk, and they are surrounded by leaves [,,]. The date of harvest varies depending on cultivar and growing season. In Poland, cauliflowers and broccoli grown in the field can be harvested already in June, and the last harvest can take place in November and, under supportive weather conditions, even in December. The flower heads should be transported to an air-conditioned storehouse immediately after harvest, where their external quality should be evaluated to detect potential defects. In the next step, leaves and their fragments are removed, the stalk is cut to an appropriate size, the inflorescences are rinsed with chlorinated water and packaged [,]. Post-harvest floret handling is the weakest link in the production and marketing process. Cauliflowers and broccoli are highly perishable products, and production losses can reach 3–25% []. They should be stored under relatively low temperatures (approx. 1–3 °C) and relatively high air humidity (approx. 90–95%). Even a short-term rise in temperature above 6 °C leads to deterioration changes in flower buds and floret yellowing, and the development of bacterial and fungal diseases on the floret surface [,]. Too low a humidity level in storage facilities contributes to rapid loss of floret firmness, whereas stems become fibrous and woody [,,,]. Moreover, cauliflowers and broccoli are also sensitive to ethylene emitted by fruits that are stored in the same facility []. Therefore, these vegetables should not be stored together with apples, pears, apricots, plums, melons, avocados, bananas, and tomatoes. Florets intended for freezing should be compact, with well-formed but completely closed flower buds, and fleshy (not woody) stems. Large inflorescences should be separated into smaller florets, 2–6 cm in diameter [].
According to Serrano and Rolle [], the main causes of losses in the supply chain of cauliflowers and broccoli include:
- no control over agronomic factors and weather conditions;
- harvesting at an improper stage of maturity;
- direct packaging before the field heat had been removed from the vegetables with the use of pre-cooling techniques;
- inadequate cleaning and sorting;
- inappropriate grading and sorting of florets;
- improper packaging or the use of inappropriate packaging materials;
- improper transportation and handling of raw material;
- inadequate storage facilities (cool chambers, location of storehouses).
Cauliflower and broccoli florets can be used to prepare various dishes and pickles, and they can also be canned. They impart a specific flavor to different kinds of foods and are characterized by high digestibility coefficients []. Cauliflowers and broccolis are most often consumed after heat treatment such as blanching, cooking, steaming, and frying, but they can also be fermented and pickled, alone or with other vegetables [,,].
Cauliflowers and broccoli can be separated into flowers directly in the field or in processing plants. In the field, this task is accomplished with the use of tractors connected to combine harvesters. Field workers place the harvested vegetables on transverse conveyor belts. The conveyor belt transports the vegetables to the crushing chamber, where florets are separated, and the remaining elements are discarded and left in the field. In turn, indoor processing lines for cauliflower and broccoli floretting are relatively expensive and complex, and they occupy a large area in dedicated facilities. As a result, the floretting process is usually conducted in large processing plants where whole heads (inflorescences) are purchased from producers. The prices for such raw materials are lower, and the field-harvested vegetables must be stored under adequate conditions over relatively long periods of time. According to the information provided by production managers in two processing plants, processing losses are very high (up to 40%), and the profits derived by Polish producers are substantially reduced (by around 25%) because processing companies pay only for properly separated raw materials. When cauliflowers and broccoli are separated manually on the farm with a knife, the quality of the resulting product is largely dependent on the skills of the personnel performing the task. According to the producers, raw products sold to processing companies often contain oversized florets. The entire product batch can be rejected even when two oversized florets are found, which leads to considerable financial losses. According to the information provided by farmers from northern Poland, manual floretting is also ineffective because one person is capable of processing only around 300 kg of vegetables during an 8-h workday.
In view of the above, this study was undertaken to design a new processing line for cauliflower and broccoli floretting, characterized by simple operation and a small size. Such a unit can be operated directly on the farm, thus shortening the processing time.
2. Design Requirements
It was assumed that the processing line should consist of two main devices, i.e., a vegetable crusher and a calibrator. The crusher should divide inflorescences into smaller florets, and florets with diameters larger than 2–6 cm should be further broken into smaller pieces. During the process, stalks and leaf fragments should fall into separate containers because these fractions can be further processed into food products [,,]. The calibrator should separate florets with a diameter of 2 to 6 cm from the raw material [], because such florets can be frozen. The remaining florets (that are too small and too large) should fall into separate containers. Florets that are too small can be further processed into food products, and florets that are too large can be returned to the crushing chamber of the vegetable crusher. Both raw materials and semi-processed products are used in food production; therefore, machine components that come into direct contact with vegetables should be made of materials that have been approved for use in the food industry [,,]. Both main devices can be operated individually or connected into a single processing line with the use of suitably positioned conveyor belts which, according to Gierz et al. [], are most suited for transporting these vegetables.
3. Structure of the Processing Line
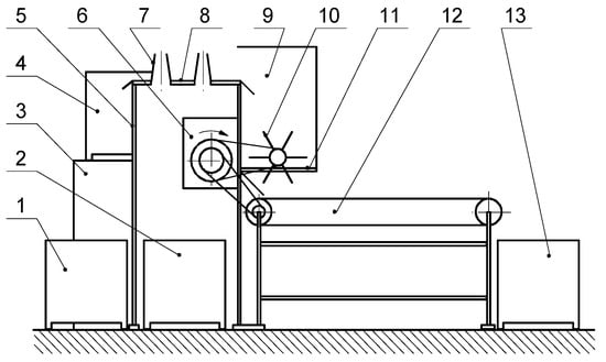
As already mentioned, the designed processing line for cauliflower and broccoli floretting consists of a vegetable crusher and a calibrator. A patent application for the crusher has been submitted to the patent office [], and its detailed description can be found in a study by Jadwisieńczak et al. []. The crusher (Figure 1) features a load-bearing frame (5) made of steel sections, which consists of: a processing table (8), a crushing chamber (9), a conveyor belt (12) and an electric motor (6) with a power drive system. On the processing table, once the stalk had been removed, leaf fragments are manually separated from the florets, and they are placed in a waste container (1). The stalk is removed in two stages. In the first stage, one of the two conical knives is used (7). The operator evaluates the diameter of the stalk, and pushes the inflorescence downwards onto the appropriately sized knife so as to overcome the resistance of leaves and florets. To increase safety, the operator can hold inflorescences down with a steel plate or wear steel gloves similar to those used in the meat-processing industry. The separated florets are gathered on the table, and the process is continued until the last floret remains on the apex. The apical floret is separated in the second stage of stalk removal. A horizontal cut is made with an additional knife, and the stalk falls into a container for separated stalks (2), placed under the processing table. Once leaf fragments have been removed, the separated florets are manually fed into the crushing chamber (9). At the bottom of the chamber, there is a fixed screen (11), and the cutters of a rotating crushing roller (10) are inserted into the openings of the bottom screen. The width of the openings can be adjusted, and large florets can be crushed by the cutters of a crushing roller. The separated florets pass through the screen openings and fall onto the conveyor belt (12) that transports them to the appropriate container (13). The separated florets can be inspected visually on a moving conveyor belt, and they are fed to the hopper in the calibrator in the following stage of the production process. The crushing roller (10) and the conveyor belt (12) are powered by an electric motor (6) via two V-belts. Since the processing table is positioned relatively high above-ground, a raised platform (3) is required. Unprocessed cauliflower and broccoli heads are placed in a container (4) on the platform, and the operator picks them from the container for processing.

Figure 1.
Schematic diagram of the designed vegetable crusher for cauliflower and broccoli inflorescences: 1—waste container (e.g., for discarded leaves), 2—container for separated stalks, 3—platform, 4—container for unprocessed vegetables, 5—load-bearing frame, 6—electric motor, 7—floretting knife, 8—processing table, 9—crushing chamber, 10—cutters of the crushing roller, 11—screen at the bottom of the hopper, 12—conveyor belt, 13—container for separated florets.
A patent application for the other device—the calibrator (Figure 2) has also been submitted to the patent office []. The load-bearing frame (5) is the main structural component of the calibrator. Separated florets are transported to a hopper (6) in the upper part of the load-bearing frame. Semi-processed products are evenly distributed by a rotary feeder (7) with four elongated vanes, which is powered by an electric motor (3) via a V-belt (4). The hopper is equipped with a stirring rod (8) that is set into oscillatory motion by a Scotch yoke mechanism (9) powered by a disc with an eccentric sheave connected to the feeder pulley wheel (7). A screen box (11) under the processing table features two removable screens with 20 mm and 60 mm mesh size. The screen box is set into oscillatory motion to separate florets into three size fractions: the smallest florets fall into container (10), correctly sized florets fall into container (12), and oversized florets fall into container (13). The largest florets from container (13) can be redirected to the crushing chamber. The screen box is supported by four control arms. The two front arms (1) are adjustable, and the inclination angle of the screen box can be changed. The screen box is powered by an electric motor (3) via a slider-crank linkage (2).

Figure 2.
Schematic diagram of the designed calibrator for cauliflower and broccoli florets: 1—control arm with adjustable length, 2—mechanism driving the screen box, 3—electric motor, 4—belt transmission, 5—load-bearing frame, 6—hopper, 7—feeder, 8—stirring rod, 9—mechanism driving the stirring rod, 10—container for excessively crushed florets, 11—screen box, 12—container for appropriately sized florets, 13—container for oversized florets.
A processing line containing the discussed devices is presented in Figure 3. The vegetable crusher (1) is operated by two persons, and the calibrator (2)—by one or two persons. The line should be equipped with five containers for raw materials and semi-processed products, as well as three additional conveyor belts. As already mentioned, the operator at the processing table of the vegetable crusher (1) picks whole cauliflower and broccoli heads from the container (3), selects the appropriate conical knife and removes the stalk that falls into another container (4) placed under the table. The florets and leaves are gathered on the table, leaf fragments are picked manually and are placed in the appropriate container (5), and the remaining raw material is fed manually into the crushing chamber (4) where large florets are crushed, their fragments pass through the screen openings and fall onto the conveyor belt. The quality of florets on the moving conveyor belt is evaluated by another person who can remove excessively damaged florets and their fragments as well as impurities such as leaves. These fractions are transported by the conveyor belt (8) to the container (5). Qualified material is transported by the hopper belt conveyor (9) to the calibrator hopper (2). Oversized florets can block the openings in the screen box, and they should be manually removed by one or two persons positioned by the screen box. The person operating the second mesh screen can be also tasked with dividing oversized florets into smaller pieces that can pass through screen openings. In a standard set-up, the smallest (excessively crushed) florets are directed to container (6), appropriately sized florets are directed to container (7), and oversized florets are directed to hopper belt conveyor (10) and transported to the processing table of the vegetable crusher (1).

Figure 3.
Schematic diagram of a processing line for cauliflower and broccoli floretting: 1—crusher, 2—calibrator, 3—container for whole inflorescences, 4—container for stalks, 5—container for leaf fragments, 6—container for excessively crushed florets, 7—container for appropriately sized florets, 8—conveyor belt for unqualified semi-processed products, 9—conveyor belt for qualified semi-processed products, 10—conveyor belt for oversized florets.
Two additional persons can be employed to operate the processing line. One person would deliver containers with inflorescences and receive containers with crushed leaves and stalks, and the other person would process containers with differently sized florets. According to the requirements of collection points, broccoli florets weighing 0.5 to 2.0 kg [] and cauliflower florets weighing 0.5 to 3.0 kg [,,,] (average weight of around 1.2 kg and around 2.0 kg, respectively) can be used for processing. The operator at the processing table of the vegetable crusher picks individual florets from a container—this operation will take around 2 s. The operator evaluates the diameter of the stalk, the inflorescence is pushed downwards onto the appropriately sized knife, and side florets are separated. This stage of the process will take approximately 2 to 4 s, depending on the size of broccoli and cauliflower florets. The removal of the apical floret with an additional knife will take around 2 s. In the next stage, the operator picks leaf fragments manually from the florets and leaves that are gathered on the table, and places them in the appropriate container, and then moves the florets to the crushing chamber. This operation will take around 3 s. Therefore, the entire operating cycle at the processing table will take approximately 9 to 11 s (10 s on average). It is assumed that the designed line has an estimated theoretical processing capacity of around 430 kg of broccoli per hour, and around 720 kg of cauliflowers per hour. In farms where cauliflowers and broccoli are separated manually, 2–3 people would have to work for 8 h to achieve this level of productivity.
4. Prototypes of the Vegetable Crusher and Calibrator
The prototypes of the designed devices were built at the Department of Food Processing Methods and Technology of the Łukasiewicz Research Network—Industrial Institute of Agricultural Engineering in Poznań. The components of both devices were made of X5CrNi18-10 stainless steel sheets with a thickness of 1 to 5 mm. The main elements of the load-bearing frame, i.e., square tubes measuring 80 × 80 mm or 50 × 50 mm, were made of 3 mm sheet. The remaining elements were connected to the frame with welded joints (stiffeners) or screw joints (to facilitate their assembly and disassembly).
The vegetable crusher is presented in Figure 4. The crusher has the following dimensions: length—260 cm, width—80 cm, height—180 cm. The crusher can be easily moved because polyamide wheels were mounted at the bottom of the frame (a). The wheels have brakes to stabilize the crusher during operation. The moveable working elements of the crusher are powered by a 1.1 kW electric motor (f) supplied with three-phase power. Its rotational speed can be controlled via a power control box (e); in case of emergency, power can be immediately cut off by pushing one of the two emergency stop buttons. The motor shaft features two pulleys (g), one of which drives the crushing roller, and the other drives the conveyor belt. V-belt tension can be adjusted with boomerang tensioners.

Figure 4.
Prototype of the designed vegetable crusher: (a) general view; (b) floretting knives; (c) crushing chamber; (d) screen at the bottom of the crushing chamber; (e) power control box, (f) electric motor; and (g) V-belts.
One of the main components of the vegetable crusher is a processing table with two conical knives (b) with a height of 100 mm with a sharpened top edge; one knife has a diameter of 40 and 50 mm, and the other knife has a diameter of 50 and 70 mm. The round opening and the shape of a truncated cone facilitate cutting off leaf fragments and, most importantly, the florets attached to the stalk; when the apical floret is removed, the stalk can fall into the container placed under the processing table. The operator at the processing table separates leaf fragments from the raw material, and manually directs the remaining portion of the raw material into the crushing chamber (d). In the chamber, the crushing roller is positioned right above the screen; the roller features five uniformly distributed cutters with the shape of 4-, 6- or 8-pointed stars with a diameter of 385 mm and a thickness of 8 mm. The star-shaped cutters are inserted into screen openings (c), and large florets are deposited on the rounded edges of the screen openings and are broken into smaller fragments. The crusher is equipped with three interchangeable screens whose openings have a width of 40, 60 and 80 mm. Small florets pass through the screen openings and fall onto the conveyor belt.
If the crusher is to be used separately, minimum four plastic containers (1200 × 800 × 1000 mm) are needed, e.g., openwork Big Box containers (Paleteo, Poznań, Poland): one for the processed raw material and three for semi-processed products (leaf fragments, stalks, and separated florets). Since the processing table is positioned at a height of 160 cm above ground (because a container for stalks is to be placed under the table), a raised platform is required to accommodate the operator and a container with the raw material to be processed.
The calibrator of cauliflower and broccoli florets, including its main elements, is presented in Figure 5. The calibrator has the following dimensions: length—240 cm, width—130 cm, height—200 cm. The calibrator consists of (a): a load-bearing frame, a hopper with a feeder and a stirring rod, the load-bearing frame of a screen box with an angle adjustment mechanism, the screen box, and the power drive system. The moveable working elements of the calibrator are powered by a 0.55 kW electric motor supplied with three-phase power. Similar to the crusher, the rotational speed of the motor can be controlled via a power control box (e); in case of emergency, power can be immediately cut off by pushing one of the two emergency stop buttons.

Figure 5.
Prototype of the designed calibrator for cauliflower and broccoli florets: (a) general view; (b) hopper with a feeder and a stirring rod; (c) screen box; (d) mechanism adjusting the inclination angle of the screen box and slide plates; (e) power control box and electric motor; (f) mechanism driving the screen box; and (g) mechanism driving the stirring rod.
The drive shaft of the electric motor is connected to two components: the pulley wheel of the feeder shaft and the disc of the slider-crank linkage that drives the screen box (f). V-belt tension is controlled by changing the position of the tension roll, and the rotational speed of the feeder shaft is decreased three-fold. The disc driving the screen box has a diameter of 250 mm and a thickness of 15 mm. The disc’s outward facing surface features four 12 mm-diameter holes positioned at a distance of 25, 30, 35 and 40 mm from the disc’s axis of rotation. The openings are used to attach the connecting rod which converts the disc’s rotational motion into the reciprocating motion of the screen box. The displacement of the screen box can be controlled at intervals of 50 to 80 mm. Two elements are connected to the feeder shaft: the pulley wheel and the disc of the Scotch yoke mechanism (g). The disc has a diameter of 160 mm and a thickness of 5 mm, and it features two pairs of openings with a diameter of 8 mm, positioned at a distance of 50 and 70 mm from the disc’s axis of rotation. The openings are used to mount the yoke roller which changes the displacement of the stirring rod in the lower part of the hopper (b), above the rotary feeder. The feeder has an outer diameter of 160 mm, and it contains four vanes measuring 70 × 480 mm. The feeder sweeps florets from the hopper and moves them to the screen box platform (d). The screen box contains two mesh screens measuring 600 × 600 mm. The screens are separated by a 110 mm-wide strip of stainless-steel sheet to prevent different floret fractions from moving to the adjacent containers when the screen box is set into oscillating motion. Each screen features round openings that are distributed along the vertices of a regular hexagon. The openings in the first screen have a diameter of 20 mm, and the openings in the second screen—60 mm. Crushed (smallest) florets pass through the first screen, whereas correctly sized florets (with a diameter of 20–60 mm) pass through the second screen. Oversized florets are retained, but many of them contain stem fragments, and they are often wedged in mesh openings. Therefore, the device should be operated by at least one person (preferably two persons) who will monitor the screen for any obstructions. The screen frame is positioned 130 cm above ground, and two containers (measuring 1200 × 800 × 1000 mm) for collecting different floret fractions can be accommodated under the screen box. A raised platform should be designed for operators with short stature.
The screen box is suspended in the frame by four control arms with a diameter of 220 cm. Control arms enable the screen box to move in reciprocating motion and separate different floret fractions. One end of the screen box frame rests on a bearing pad in the load-bearing frame, and the other end is supported by three control screws—two on the sides (c), and one in the center. The screws are used to change the position of the screen box frame relative to the load-bearing frame and adjust the inclination angle of the screen box in a range of 0° and 9°. Four sets of polyamide slide plates (PA 6) with a thickness of 10 mm were mounted to the frame and the screen box to prevent direct contact between these elements. Polyamide is highly resistant to friction and mechanical impact. In the initial position, the plates in each set are separated by a distance of 5 mm, but these distances change during operation, and some plates can rub against each other. The extent to which the transverse position of the screen box can be adjusted relative to the frame ensures that metal parts do not come into direct contact. An additional container should be provided if oversized florets (retained on the second screen) are not manually broken into smaller pieces by the operator, but only are only lifted from the screen and placed at the end of the platform. If the designed device is installed in a processing line together with the vegetable crusher, the belt conveyer hopper should be placed at the outlet of the screen box. In such a case, oversized florets can be returned to the processing table in the crusher, and transported with the remaining florets to the crushing chamber.
5. Case Study
The vegetable crusher is the main operating unit in the proposed processing line, and its performance was evaluated during a broccoli floretting trial. The crushing chamber was equipped with a set of cutters with the shape of six-pointed stars, designed for operation with a screen with 40 mm-wide openings. The rotational speed of the shaft with star-shaped cutters was set at 6 rpm. Thirty broccoli heads were used in the trial. Broccoli cv. Batory was purchased from a farm in Zakrzewek (Poland) on 7 November 2022. Broccoli was harvested in the morning, packaged in plastic containers, and transported to the crop processing laboratory of the Faculty of Technical Sciences of the University of Warmia and Mazury in Olsztyn on the same day. The morphological traits of broccoli inflorescences were evaluated in the laboratory; measurements were performed using a ruler with an accuracy of 1 mm and the WPS 3100/C/2 laboratory weighing scale (RADWAG Radom, Poland) with an accuracy of 0.1 g. The measured values are presented in Table 1. Broccoli inflorescences contain four leaves on average. This parameter ranges from 0 to 9, and it is characterized by the greatest variation relative to other traits. The second variable parameter is mass which was determined in the range of around 276 g to around 1117 g (approx. 530 g on average). Medium-sized inflorescences have the following dimensions: width—15.2 cm, thickness—14.3 cm, and height—8.8 cm. Stalk diameter was the least variable parameter (15.1%), and it was determined at 39 mm on average.

Table 1.
Statistical distribution of the morphometric traits of broccoli inflorescences.
In the next step, broccoli inflorescences were separated into florets in the vegetable crusher. Inflorescences were collected from the container; an appropriately sized conical knife was selected based on a visual assessment of the stalk diameter; the head was pushed onto the knife, and successive florets and leaves were separated until only the apical floret remained on the stalk. The apical floret was separated with an additional knife. The stalk fell into a container under the processing table. Leaves were separated manually from the florets remaining on the processing table, and they were placed in a container under the table. The florets remaining on the table were fed into the crushing chamber. The entire process was recorded with a Nikon Z6 II camera (Nikon Corporation, Amstelveen, Netherlands) mounted on a DJI Ronin 3-axis gimbal stabilizer (DJI Headquarters Building, Shenzhen, China). The duration of each processing operation was determined in a chronometric analysis of the recorded video footage. Leaf and stalk mass was determined on the WPS 3100/C/2 laboratory weighing scale. The duration of each processing operation in the total time of the processing cycle (in percent) is presented in Figure 6a.

Figure 6.
Duration of each processing operation in the process of broccoli floretting (in %) (a); and the proportion of different fractions in the mass of a broccoli head (b).
The processing cycle of one broccoli inflorescence lasted 11.9 s on average. Inflorescences were separated by an unexperienced operator; therefore, the duration of the processing cycle can be expected to decrease to around 10 s over time. The average duration of each processing operation in the total time of the processing cycle (in %) was as follows: the inflorescence is selected from the container—17.5%; stem diameter is assessed, the inflorescence is inserted onto the conical knife, and florets and leaves are separated—39.1%; the apical floret is separated—14.1%; leaves are moved to a container—11.4%; the separated florets are fed into the crushing chamber—17.9%. Depending on curd size, the mass of the semi-processed product (separated florets) ranged from around 130 g to around 700 g, and it accounted for 62.4% of inflorescence mass on average (Figure 6b). Leaves and the stalk accounted for 3.6% and 34.0% of inflorescence mass, respectively. These results indicate that discarded elements accounted for more than a third of inflorescence mass. These elements can be processed into salads or paste to generate additional profits for the farmer.
The parameters of processed florets are presented in Table 2. These data indicate that 88.5% of the processed material was converted into appropriately sized florets (with a width of 2–6 cm) already in the first stage of the crushing process. Seven to 32 appropriately sized florets (width—38 mm, thickness—33 mm, height—32 mm, on average) were obtained from a single inflorescence. Oversized florets accounted for only 1.5% of the processed material, and they had to be crushed again to obtain suitably sized material. Only two florets were oversized in the total sample of 449 florets. Excessively crushed florets accounted for around 10% of the processed material. This fraction can be used in the production of frozen mixed vegetables to generate additional profits.

Table 2.
Statistical distribution of floret parameters.
As previously mentioned, Polish vegetable suppliers are paid only for adequately separated and sized fractions. Assuming that the share (mass) of floret fractions separated in the proposed device and a processing plant is similar, the producer will be paid for only 56% of the supplied material, whereas the remainder is regarded as waste. Therefore, farmers can use the designed device to separate broccoli and cauliflower heads into appropriately sized florets themselves, and sell the semi-processed product at a higher price (for example to processing plants that produce frozen mixed vegetables). The remaining fractions can be used in the production of processed foods (pastes, salads, etc.) to generate additional profits.
6. Summary
The designed processing line for cauliflower and broccoli floretting will consist of two main devices, a vegetable crusher, and a calibrator. They can be used separately or as parts of the line. In the second scenario, to ensure the continuity of the process, minimum three conveyor belts and five containers (for whole heads and fractions of leaf fragments, stalks, excessively crushed florets, and appropriately sized florets) are required.
The unit will meet the requirements of small-scale agricultural producers because it is expected to be inexpensive, and it does not occupy a large area, especially when the crusher and calibrator are used separately.
The technological process of cauliflower and broccoli floretting with the proposed unit will consist of the following stages: whole inflorescences are picked from the container by the operator, stalk diameter is evaluated and one of the two conical knives is selected, the inflorescence is pushed onto the knife and successive florets are separated; the apical floret is removed by making a horizontal cut with an additional knife, and the stalk falls into a container under the processing table; leaf fragments are separated and placed in a separate container, and the florets are moved to the crushing chamber where large florets are broken into smaller pieces; the raw material is transported by the conveyor belt to another container or it is fed into a hopper in the calibrator via an additional conveyor. Since screens with two different pore sizes will be used, the raw material will be divided into three fractions: florets that are too small, appropriately sized florets (with a diameter of 2 to 6 cm) and florets that are too large which can be redirected to the crushing chamber of the vegetable crusher.
7. Patents
The prototypes of the presented devices were created on the basis of two patent applications:
- Kruszarka do warzyw [Vegetable crusher]. Patent No. Pat.241696, Patent Office of the Republic of Poland, Warsaw (in Polish);
- Kalibrator do róż kalafiora i brokuła [Calibrator for cauliflower and broccoli florets]. Patent No. Pat.240043, Patent Office of the Republic of Poland, Warsaw (in Polish).
Author Contributions
Conceptualization, K.J., S.K., D.C. and J.M.-G.; methodology, K.J. and Z.K.; formal analysis, Z.K.; investigation, K.J. and Z.K.; resources, D.C. and J.M.-G.; data curation, K.J. and Z.K.; writing—original draft preparation, K.J., Z.K. and D.C.; writing—review and editing, Z.K. and S.K.; visualization, Z.K.; supervision, Z.K.; project administration, K.J.; funding acquisition, K.J. and D.C. All authors have read and agreed to the published version of the manuscript.
Funding
The publication of this article was financed by the Department of Heavy Duty Machines and Research Methodology of the University of Warmia and Mazury in Olsztyn as part of research topic 16.610.001-110. The prototype of the designed floretting machine was built during a research study entitled “Production line for processing and calibrating cauliflower and broccoli inflorescences”, performed under Agreement No. 2_UWM_202 of 30 October 2020 as part of a research project entitled “Research management support and commercialization of R&D results in scientific institutions and enterprises” under the Intelligent Development Operational Program for 2014-2020 (Measure 4.4) co-financed by the European Regional Development Fund.
Institutional Review Board Statement
Not applicable.
Informed Consent Statement
Not applicable.
Data Availability Statement
Not applicable.
Conflicts of Interest
The authors declare no conflict of interest.
References
- Jahangir, M.; Kim, H.K.; Choi, Y.H.; Verpoorte, R. Healthaffecting compounds in Brassicaceae. Compr. Rev. Food Sci. Food Saf. 2009, 8, 31–43. [Google Scholar] [CrossRef]
- Sikorska-Zimny, K. Health promoting constituents of Brassica vegetables. Nowości Warzywnicze 2010, 51, 51–63. (In Polish) [Google Scholar]
- Mukherjee, V.; Mishra, P.K. Broccoli–an underexploited neutraceutical. Sci. Res. Rep. 2012, 2, 291–294. [Google Scholar]
- Madumathi, D.T.C.; Reddy, P.S.S.; Reddy, D.S. Effect of planting density and transplanting time on growth and curd yield of broccoli. Int. J. Hortic. Floricul. 2017, 5, 301–303. [Google Scholar]
- Moreno, D.A.; Carvajal, M.; Lopez-Berenguer, C.; Garcia-Viguera, C. Chemical and biological characterisation of nutraceutical compounds of broccoli. J. Pharm. Biomed. Anal. 2006, 41, 1508–1522. [Google Scholar] [CrossRef]
- Sosińska, E.; Obiedziński, M.W. Investigation on bioactive glucosinolates in chosen cruciferous vegetables varieties by HPLC. Żywność Nauka Technol. Jakość 2007, 5, 129–136. [Google Scholar]
- Yagishita, Y.; Fahey, J.W.; Dinkova-Kostova, A.T.; Kensler, T.W. Broccoli or sulforaphane: Is it the source or dose that matters. Molecules 2019, 24, 3593. [Google Scholar] [CrossRef]
- Lindsay, D.G.; Astley, S.B. European research on the fundamental effects of dietary antioxidants–EUROFEDA. Mol. Asp. Med. 2002, 23, 1–38. [Google Scholar] [CrossRef]
- Jeffery, E.H.; Brown, A.F.; Kurilich, A.C.; Keck, A.S.; Matusheski, N.; Klein, B.P.; Juvik, J.A. Variation in content of bioactive components in broccoli. J. Food Compost. Anal. 2003, 16, 232–330. [Google Scholar] [CrossRef]
- Heimler, D.; Vignolini, P.; Dini, M.G.; Vincieri, F.F.; Romani, A. Antiradical activity and polyphenol composition of local Brassicaceae edible varieties. Food Chem. 2006, 99, 464–469. [Google Scholar] [CrossRef]
- Ahmed, F.A.; Ali, R.F.M. Bioactive compounds and antioxidant activity of fresh and processed white cauliflower. BioMed Res. Int. 2013, 2013, 367819. [Google Scholar] [CrossRef] [PubMed]
- Cebulak, T.; Kapusta, I.; Czernicka, M.; Zaguła, G.; Puchalski, C. Health promoting properties broccoli with conventional and organic cultivation. Bromat. Chem. Toksykol. 2015, 48, 660–666. (In Polish) [Google Scholar]
- Simarmata, M.; Susantiand, L.; Setyowati, N. Utilization of manure and green organic composts as alternative fertilizers for cauliflower production. J. Agric. Sci. Technol. 2016, 12, 311–319. [Google Scholar]
- Zhu, L.; Hu, H.; Luo, S.; Wu, Z.; Li, P. Melatonin delaying senescence of postharvest broccoli by regulating respiratory metabolism and antioxidant activity. Trans. Chin. Soc. Agric. Eng. 2018, 34, 300–308. [Google Scholar] [CrossRef]
- Han, F.; Liu, Y.; Fang, Z.; Yang, L.; Zhuang, M.; Zhang, Y.; Lv, H.; Wang, Y.; Ji, J.; Li, Z. Advances in genetics and molecular breeding of broccoli. Horticulturae 2021, 7, 280. [Google Scholar] [CrossRef]
- Łabanowski, G. (Ed.) Metodyka Integrowanej Produkcji Brokułu [Methodology for Integrated Broccoli Production]; PIORIN: Warsaw, Poland, 2016; pp. 1–91. (In Polish) [Google Scholar]
- Savita; Jaipaul; Choudhary, A.K.; Negi, M.S.; Kumar, A. Scientific cultivation of cauliflower (Brassica oleracea L. var. botrytis). In Advances in Vegetable Agronomy; Choudhary, A.K., Rana, K.S., Dass, A., Srivastav, M., Eds.; Post Graduate School & Indian Council of Agricultural Research: New Delhi, India, 2014; pp. 67–78. [Google Scholar]
- He, Q.; Xiao, K.J. Quality of broccoli, (Brassica oleracea L. var. italica), in modified atmosphere packaging made by gas barrier-gas promoter blending materials. Postharvest Biol. Technol. 2018, 144, 63–69. [Google Scholar] [CrossRef]
- Serrano, E.P.; Rolle, R. Post-harvest Management of Cauliflower for Quality and Safety Assurance. In Guidance for Horticultural Supply Chain Stakeholders; Food and Agriculture Organization of the United Nations: Rome, Italy, 2018; pp. 1–13. [Google Scholar]
- Luo, F.; Fang, H.; Wei, B.; Cheng, S.; Zhou, Q.; Zhou, X.; Zhang, X.; Zhao, Y.; Ji, S. Advance in yellowing mechanism and the regulation technology of post-harvested broccoli. Food Qual. Saf. 2020, 4, 107–113. [Google Scholar] [CrossRef]
- Mayberry, K.S. Sample Cost to Establish and Produce Cauliflower; University of California and the United States Department of Agriculture Cooperating: California, CA, USA, 2000. [Google Scholar]
- Hodges, D.M.; Munro, K.D.; Forney, C.F.; McRae, K.B. Glucosinolate and free sugar content in cauliflower (Brassica oleracea var. botrytis cv. Freemont) during controlled-atmosphere storage. Postharvest Biol. Technol. 2006, 40, 123–132. [Google Scholar] [CrossRef]
- Apahidean, A.S.; Apahidean, M.; Maniutiu, D.; Ganea, R.; Apahidean, A.I.; Moldvai, C. The influence of plant variety and plantation density on open field cultivated cauliflower production. Bull. UASVM Hortic. 2010, 67, 215–218. [Google Scholar]
- Sosińska, E.; Obiedziński, M.W. Effect of processing on the content of glucobrassicin and its degradation products in broccoli and cauliflower. Food Control 2011, 22, 1348–1356. [Google Scholar] [CrossRef]
- Tamer, C.E. Quality evaluation of canned cauliflower pickles prepared with different ingredients. Afr. J. Agric. Res. 2012, 7, 1550–1555. [Google Scholar] [CrossRef]
- Rafiuddin, M.; Swathi, Y.; Prakash, M.; Suneetha, W.; Kumari, B. Standardization and evaluation of cauliflower stalks incorporated phulkas. Int. Res. J. Pure Appl. Chem. 2019, 19, 1–6. [Google Scholar] [CrossRef]
- Shi, M.; Hlaing, M.M.; Ying, D.; Ye, J.; Sanguansri, L.; Augustin, M.A. New food ingredients from broccoli by-products: Physical, chemical and technological properties. Int. J. Food Sci. Technol. 2019, 54, 1423–1432. [Google Scholar] [CrossRef]
- Berndtsson, E.; Andersson, R.; Johansson, E.; Olsson, M.E. Side streams of broccoli leaves: A climate smart and healthy food ingredient. Int. J. Environ. Res. Public Health 2020, 17, 2406. [Google Scholar] [CrossRef] [PubMed]
- Regulation (EC). No. 1935/2004 of the European Parliament and of the Council of 27 October 2004 on materials and articles intended to come into contact with food and repealing Directives 80/590/EEC and 89/109/EEC. Off. J. Eur. Union 2004, 338, 4–17. [Google Scholar]
- Commission Regulation (EC). No. 2023/2006 of 22 December 2006 on good manufacturing practice for materials and articles intended to come into contact with food (Text with EEA relevance). Off. J. Eur. Union 2006, 384, 75–78. [Google Scholar]
- Commission Regulation (EU). No. 10/2011 of 14 January 2011 on plastic materials and articles intended to come into contact with food Text with EEA relevance. Off. J. Eur. Union 2011, 12, 1–89. [Google Scholar]
- Gierz, Ł.; Warguła, Ł.; Kukla, M.; Koszela, K.; Zwiachel, T.S. Computer aided modeling of wood chips transport by means of a belt conveyor with use of discrete element method. Appl. Sci. 2020, 10, 9091. [Google Scholar] [CrossRef]
- Jadwisieńczak, K.; Konopka, S.; Duber-Skwarska, O.; Majkowska-Gadomska, J. Kruszarka do Warzyw [Vegetable Crusher]. Patent No. 241696, 5 September 2022. (In Polish). [Google Scholar]
- Jadwisieńczak, K.; Choszcz, D.; Kaliniewicz, Z.; Majkowska-Gadomska, J. Kalibrator do róż Kalafiora i Brokuła [Calibrator for Cauliflower and Broccoli Florets]. Patent No. 240043, 12 November 2021. (In Polish). [Google Scholar]
- Jadwisieńczak, K.; Kaliniewicz, Z.; Konopka, S.; Choszcz, D.; Majkowska-Gadomska, J. Cauliflower and broccoli floretting machine. Tech. Sci. 2022, 25, 171–181. [Google Scholar] [CrossRef]
- Lin, K.H.; Chang, L.C.; Lai, C.D.; Lo, H.F. AFLP mapping of quantitative trait loci influencing seven head-related traits in broccoli (Brassica oleracea var. italica). J. Hortic. Sci. Biotechnol. 2013, 88, 257–268. [Google Scholar] [CrossRef]
- Kabiraj, J.; Das, R.; Das, S.P.; Mandal, A.R. A study on cauliflower (Brassica oleracea var. botrytis) based intercropping system. Int. J. Curr. Microbiol. App. Sci. 2017, 6, 2595–2602. [Google Scholar] [CrossRef]
- de Souza, A.P.; da Silva, A.C.; Tanaka, A.A.; de Souza, M.E.; Pizzatto, M.; Felipe, R.T.A.; Martim, C.C.; Ferneda, B.G.; da Silva, S.G. Yield and water use efficiency of cauliflower under irrigation different levels in tropical climate. Afr. J. Agric. Res. 2018, 13, 1621–1632. [Google Scholar] [CrossRef]
- Kaur, P.; Singh, S.K.; Kaur, R.; Sidhu, M.K. Response of different levels of nitrogen and spacing on growth and yield of cauliflower grown under central region of Punjab. Int. J. Bio-Resour. Stress Manag. 2020, 11, 320–326. [Google Scholar] [CrossRef]
Disclaimer/Publisher’s Note: The statements, opinions and data contained in all publications are solely those of the individual author(s) and contributor(s) and not of MDPI and/or the editor(s). MDPI and/or the editor(s) disclaim responsibility for any injury to people or property resulting from any ideas, methods, instructions or products referred to in the content. |
© 2023 by the authors. Licensee MDPI, Basel, Switzerland. This article is an open access article distributed under the terms and conditions of the Creative Commons Attribution (CC BY) license (https://creativecommons.org/licenses/by/4.0/).