Using the FEM Method in the Prediction of Stress and Deformation in the Processing Zone of an Elastic/Visco-Plastic Material during Diamond Sliding Burnishing
Abstract
:1. Introduction
1.1. Modeling of Selected Phenomena in the Diamond Sliding Burnishing Process
1.2. Modeling in Continuum Mechanics
2. Materials and Methods
2.1. Modeling of Diamond Sliding Burnishing and Micro-Cutting Processes
2.1.1. The Concept of Incremental Description
2.1.2. Measures of Increments of Physical Quantities
2.1.3. The Equation of the Motion of a Discrete Object on Typical Step Time
2.2. Experimental Research
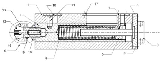
2.2.1. Research Position
2.2.2. Test Samples
- -
- B—the hardening parameter, isotropic-kinematic or kinematic plastic hardening,
- -
- —initial, static yield stress [MPa],
- -
- —effective plastic strain rate [s−1],
- -
- C—material parameter determining the influence of the strain rate of plastic deformation [s−1],
- -
- —material constant determining the sensitivity of the material to the plastic strain rate [-],
- -
- —effective plastic strain [-],
- -
- —material parameter dependent on the modulus of plastic hardening, where is the strain-hardening modulus and E is the Young’s modulus of elasticity.
2.2.3. Experiment Plan and Methodology of Statistical Elaboration of Research Results
- (1)
- feed: f = 0.04 ÷ 0.1 [mm∙rev−1],
- (2)
- force: F = 5 ÷ 25 [N].
- Determination of the variability range of the parameters studied,
- Choice of the class of the mathematical model,
- Coding the parameters analyzed,
- Collection of the experiment results,
- Elimination of results with gross mistakes,
- Calculation of inter-row variance and standard deviation,
- Checking the homogeneity of variance,
- Calculating the coefficients of regression function,
- Statistical analysis of the regression function,
- Examination of the significance level of the correlation coefficient,
- Checking the adequacy of the mathematical model,
- Decoding the regression function.
- -
- —input variable matrix of dimension N×L, for data N = 13 and L = 6,
- -
- —transposed matrix ,
- -
- —covariance matrix,
- -
- —column vector of the average values of the experimental results.
3. Results
3.1. Results of Numerical Analyses
3.2. Results of Experimental Studies
3.3. Validation of Models and Numerical Algorithms
4. Summary and Conclusions from Numerical Analyses
- (1)
- The workpiece in the process of moving the wedge is subjected to a complex deformation process, characterized by large displacements and large deformations. Rendering complex changes in the outline of an object requires a sufficiently fine mesh of finite elements. The use of a very fine mesh of finite elements for the entire workpiece and throughout the process leads to a numerical model with a very large number of unknowns, requiring long calculation times. The developed effective discrete models and numerical algorithms allow for automatic mesh refinement only in areas with high curvature and large deformation gradients. In the numerical examples presented in this article, discretization with 4-node PLANE 162 elements was used. The finite elements used to discretize the object well modeled the complex deformation state, and at the same time, they are characterized by high computational efficiency.
- (2)
- The shape factor of the finite element (SF) significantly affects both the accuracy of mapping the outline of the tool and the value of stresses and strains as well as the course of cracking. The most favorable results of the stresses and strains calculated are obtained for . Further increase of SF (up to nine times) has no significant impact on the accuracy of the stresses and strains calculated, defined as the difference of their values in elements and nodes.
- (3)
- The results of the computer simulation of the wedge displacement process on the effective model and real material confirmed the results of the experimental research. This proves the correctness of the developed mathematical model and the method of integrating the discrete equation of motion.
- (4)
- The results of numerical calculations confirm the possibility of a correct analysis of the burnishing or micro-cutting processes and the determination of the states of displacements, strains and stresses, using the discrete effective models developed.
- (5)
- The application developed in the ANSYS system enables a time analysis of deformation and stress states at any point of the material.
- (6)
- For example, Figure 14b shows the displacement of selected nodes in the contact area in the direction of the Y axis. It is possible to determine the separation point of the material moving with the chip or remaining in the surface layer of the product.
- (7)
- The basic problem in the design of the wedge displacement process is the development of appropriate tool constructions and the selection of process conditions in order to ensure the technical requirements and properties of the product obtained, while increasing tool life and process efficiency. The results of computer simulations may form the basis for the selection of technological parameters in the machining or burnishing process, and they can be used to develop a new technology with the necessary technological equipment.
- (8)
- As a result of the analyses carried out, it was found that the angle of inclination of the shear plane is not the same for each rake angle γ and it varies in the range of , which is consistent with the values given in the professional literature. The values of maximum stresses, for almost every simulation, prevailed in the contact area of the wedge tip with the base material, as well as in the contact areas of the wedge rake surface with the surface of the forming chip, and in the area of the shear plane.
- (9)
- For given machining conditions and tool depth there is a limited rake angle below which the burnishing process takes place (no chip) and above it, the micro-cutting process (chip formation) occurs. For example, Figure 12 shows two cases of wedge displacement, for which the limit rake angle was, respectively, the depth of for the depth of and for the depth of .
Author Contributions
Funding
Institutional Review Board Statement
Informed Consent Statement
Data Availability Statement
Conflicts of Interest
References
- Gryglicki, R.; Kukiełka, L. The use of numerical simulation for predicting the surface roughness of an object burnished by sliding diamond. In Contemporary Problems in Burnishing Processing Technology; TON’2008: Gdansk, Poland, 2008. [Google Scholar]
- Przybylski, W. Burnishing Technology; WNT: Warsaw, Poland, 1987. [Google Scholar]
- Torbilo, V.M. Almaznoe Vyglażivanie; Masinostrojenie: Moscow, Russia, 1974. [Google Scholar]
- Biezuchov, N.I. Theory of Elasticity and Plasticity; PWN: Warsaw, Poland, 1957. [Google Scholar]
- Jezierski, J.; Mazur, T.; Siemiątkowski, Z.; Kowalik, M. Calculations of the Thickness of the Surface Layer Plastically Deformed after Burnishing with Ceramic Tools. In Contemporary Problems in Burnishing Processing Technology; Publishing House of the Gdansk University of Technology: Gdansk, Poland, 2005. [Google Scholar]
- Bouzid, W.; Tsoumarev, O.; Sai, K. An investigation of surface roughness of burnished AlSi 1042 steel. Int. J. Adv. Manuf. Technol. 2004, 24, 120–125. [Google Scholar]
- Korzyński, M. Optimalnyje Znaćenia Natjagu Pri Almaznomu Vyglaźivani Sfericeskim Nakonećnikom; Visnik Lvivskogo Politechnićeskogo Instituta nr 225; Lvivski Politechnićeski Institut: Lviv, Ukraine, 1991. [Google Scholar]
- Kudriavcev, I.V. Povysenie Dolgovecnosti Detalej Masin Metodom Poverhnostnogo Naklepa; Maśgiz: Moscow, Russia, 1965. [Google Scholar]
- Mamalis, A.G.; Grabchenko, A.I.; Horvath, M.; Meszaros, I.; Paulmier, D. Ultraprecision metal removal processing of mirror-surfaces. J. Mater. Process. Technol. 2001, 108, 269–277. [Google Scholar] [CrossRef]
- Odincov, L.T. Finisnaja Obrabotka Detalej Vyglazyvaniem i Almaznym Vyglazyvaniem; Masinostrojenie: Moscow, Russia, 1981. [Google Scholar]
- Kragielski, I.V. Trenie i Iznos; Maśinostrojenie: Moscow, Russia, 1968. [Google Scholar]
- Hassan, A.M.; Al-Jalil, H.F.; Ebied, A.A. Burnishing force and number of ball passes for the optimum surface finish of brass components. J. Mater. Process. Technol. 1998, 83, 176–179. [Google Scholar] [CrossRef]
- Tubielewicz, K.; Zaborski, A. Optimization of the Operational Parameters of the Surface Layer after Burnishing. In Modern Problems in Burnishing Treatment Technology; Przybylski, W., Ed.; Publishing House of the Gdansk University of Technology: Gdansk, Poland, 2005. [Google Scholar]
- Hassan, A.M.; Maqableh, A.M. The effects of initial burnishing parameters on non-ferrous components. J. Mater. Process. Technol. 2000, 102, 115–121. [Google Scholar] [CrossRef]
- Patyk, R.; Kukielka, L.; Kukielka, K.; Kulakowska, A.; Malag, L.; Bohdal, L. Numerical Study of the Influence of Surface Regular Asperities Prepared in Previous Treatment by Embossing Process on the Object Surface Layer State after Burnishing. In Applied Mechanics and Materials; Trans Tech Publications Ltd.: Wollerau, Switzerland, 2014; Volume 474, pp. 448–453. [Google Scholar] [CrossRef]
- Kukielka, L.; Geleta, K.; Kukielka, K. Modelling of initial and boundary problems with geometrical and physical nonlinearity and its application in burnishing processes. Steel Res. Int. 2012, 83, 1375–1378. [Google Scholar]
- Patyk, R.; Kukielka, L.; Kaldunski, P.; Bohdal, L.; Chodor, J.; Kulakowska, A.; Kukielka, K.; Nagnajewicz, S. Experimental and Numerical Researches of Duplex Burnishing Process in Aspect of Achieved Productive Quality of the Product. In AIP Conference Proceedings; AIP Publishing LLC: Palermo, Italy, 2018; Volume 1960. [Google Scholar] [CrossRef]
- Patyk, S.; Patyk, R.; Kukielka, L.; Kaldunski, P.; Chojnacki, J. Numerical method for determining the main force of burnishing rolling of rough cylindrical surface with regular periodical outlines asperities. Eng. Mech. 2017, 754–757. [Google Scholar]
- Luca, L.; Neagu-Ventzel, S.; Marinescu, I. Effects of working parameters on surface finish in ball-burnishing of hardened steel. Precis. Eng. 2005, 29, 2005. [Google Scholar] [CrossRef]
- Shiou, F.J.; Chen, C.H. Determination of optimal ball-burnishing parameters for plastic injection moulding steel. Int. J. Adv. Manuf. Technol. 2003, 21, 177–185. [Google Scholar]
- Zhang, P.; Lindermann, J. Effect of Toller burnishing on the high cycle fatique performance of the high-strength wrought magnesium alloy AZ80. Scr. Mater. 2005, 52, 1011–1015. [Google Scholar] [CrossRef]
- Szulc, S.; Stefko, A. Surface Treatment of Machine Parts; WNT: Warsaw, Poland, 1976. [Google Scholar]
- Prevey, P.S.; Cammett, J.T. The influence of surface enhancement by low plasticity burnishing on the corrosion fatique performance of AA7075-T6. Int. J. Fatique 2004, 26, 975–982. [Google Scholar] [CrossRef]
- Tubielewicz, K.; Zaborski, A. Modeling and Experimental Analysis of the Deformation Process during Burnishing and Wear. In Proceedings of the 7th Scientific and Technical Conference “Burnishing Processing Technology”, Bydgoszcz, Poland; 2000. [Google Scholar]
- Korzynski, M. Modeling and experimental validation of the force–surface roughness relation for smoothing burnishing with a spherical tool. Int. J. Mach. Tools Manuf. 2007, 47, 1956–1964. [Google Scholar] [CrossRef]
- Sheng-Kuei, L.; Yung-Li, L.; Ming-Wei, L. Evaluation of the staircase and the accelerated test methods for fatigue limit distributions. Int. J. Fatigue 2001, 23, 75–83. [Google Scholar]
- Korzynski, M.; Pacana, A.; Cwanek, J. Fatigue strength of chromium coated elements and possibility of its improvement with slide diamond burnishing. Surf. Coat. Technol. 2009, 203, 1670–1676. [Google Scholar] [CrossRef]
- Carvalho, A.L.M.; Voorwald, H.J.C. Influence of shot peening and hard chromium electroplating on the fatigue strength of 7050-T7451 aluminum alloy. Int. J. Fatigue 2007, 29, 1282–1291. [Google Scholar] [CrossRef]
- Benedetti, M.; Fontanari, V.; Höhn, B.R.; Tobie, T. Influence of shot peening on bending tooth fatigue limit of case hardened gears. Int. J. Fatigue 2002, 24, 1127–1236. [Google Scholar] [CrossRef]
- Maximov, J.T.; Duncheva, G.V.; Anchev, A.P.; Dunchev, V.P.; Ichkova, M.D. Improvement in fatigue strength of 41Cr4 steel through slide diamond burnishing. J. Bras. Soc. Mech. Sci. Eng. 2020, 42, 197. [Google Scholar] [CrossRef]
- Skalski, K.; Jezierski, J. Analysis of the Depth of Plastic Deformation in Surface Treatment with Burnishing. In Proceedings of the 3rd Scientific and Technical Conference “Burnishing Processing Technology”, Bydgoszcz, Poland; 1984. [Google Scholar]
- Korzyński, M.; Zarski, T. Slide diamond burnishing influence on of surface stereometric structure of an AZ91 alloy. Surf. Coat. Technol. 2016, 307, 590–595. [Google Scholar] [CrossRef]
- Lopez de Lacalle, L.N.; Lamikiz, A.; Munoa, J.; Sanchez, J.A. Quality improvement of ball-end milled sculptured surfaces by ball burnishing. Int. J. Mach. Tools Manuf. 2005, 45, 1659–1668. [Google Scholar] [CrossRef]
- Tubielewicz, K.; Major, B.; Zaborski, A. The Structure of the Surface Layer After Burnishing. In Proceedings of the 7th Scientific and Technical Conference “Burnishing Processing Technology”, Bydgoszcz, Poland; 2000. [Google Scholar]
- Zdrodowski, S. A Summary of the Runout Test Results of the Measurement Paths on the Old and New Borsig Compressor Rotor Shaft; Report on Work for Przedsiębiorstwo Remontowe Maszyn i Armature Masz-ZAP; Przedsiębiorstwo Remontowe Maszyn i Armature Masz-ZAP: Puławy, Poland, 2002. [Google Scholar]
- Shiou, F.J.; Chuang, C.H. Precision surface finish of the mold steel PDS5 using an innovative ball burnishing tool embedded with a load cell. Precis. Eng. 2010, 34, 76–84. [Google Scholar] [CrossRef]
- Patyk, S.; Patyk, R.; Kukiełka, L. Study of the Main Force of Rolling Burnishing of a Rough Surface. In Contemporary Problems in Burnishing Processing Technology; TON’2008: Gdansk, Poland, 2008. [Google Scholar]
- Patyk, S.; Patyk, R.; Kukiełka, L. Analysis of forces in the burnishing process of rough surfaces. In Contemporary Problems in Burnishing Processing Technology; TON’2008: Gdansk, Poland, 2008. [Google Scholar]
- Świrad, S.; Dudek, K. Burnishing as a decorative treatment. In Contemporary Problems in Burnishing Processing Technology; TON’2008: Gdansk, Poland, 2008. [Google Scholar]
- Sznejder, U.G. Obrazowanie Regularnych Mikrorelefov na Detalach i Ich Eksplatacjonnyje Svojstva; Maszinostrojenie: Leningrad, Russia, 1972. [Google Scholar]
- Tian, Y.; Shin, Y.C. Laser-assisted burnishing of metals. Int. J. Mach. Tools Manuf. 2007, 47, 14–22. [Google Scholar] [CrossRef]
- Korzynski, M.; Lubas, J.; Swirad, S.; Dudek, K. Surface layer characteristics due to slide diamond burnishing with a cylindrical-ended tool. J. Mater. Process. Technol. 2011, 211, 84–94. [Google Scholar] [CrossRef]
- Nestler, A.; Schubert, A. Effect of machining parameters on surface properties in slide diamond burnishing of aluminum matrix composites. Mater. Today Proc. 2015, 2, 156–161. [Google Scholar] [CrossRef]
- Bouzid Sai, W.; Lebrun, J.L. Inflence of finishing by burnishing on surface characteristics. J. Mater. Eng. Perform. 2003, 12, 37–40. [Google Scholar]
- Sachin, B.; Rao, C.M.; Naik, G.M.; Puneet, N.P. Infuence of slide burnishing process on the surface characteristics of precipitation hardenable steel. SN Appl. Sci. 2021, 3, 223. [Google Scholar] [CrossRef]
- Orkisz, J. Finite difference method. In Handbook of Computational Solid Mechanics. Survey and Comparison of Contemporary Methods; Kleiber, M., Ed.; Springer: Berlin/Heidelberg, Germany, 1998. [Google Scholar]
- Burczyński, T. Boundary Element Method in Mechanics; WNT: Warsaw, Poland, 1995. [Google Scholar]
- Kleiber, M. Introduction to the Finite Element Method; PWN: Warsaw-Poznan, Poland, 1989. [Google Scholar]
- Kleiber, M. Finite Element Method in Non-Linear Continuum Mechanics; PWN: Warsaw-Poznan, Poland, 1985. [Google Scholar]
- Zienkiewicz, O.C.; Taylor, R.L. The Finite Element Method. Volume 1—The Basis; Butterworth—Heinemann: Oxford, UK, 2000. [Google Scholar]
- Zienkiewicz, O.C.; Taylor, R.L. The Finite Element Method. Volume 2—Solid Mechanics; Butterworth—Heinemann: Oxford, UK, 2000. [Google Scholar]
- Zienkiewicz, O.C.; Taylor, R.L. The Finite Element Method. Volume 3—Fluid Dynamics; Butterworth—Heinemann: Oxford, UK, 2000. [Google Scholar]
- Belytschko, T.; Liu, W.K.; Moran, B. Nonlinear Finite Elements for Continua and Structures; John Wiley & Sons: New York, NY, USA, 2000. [Google Scholar]
- Liu, G.R.; Liu, M.B. Smoothed Particle Hydrodynamics. In A Meshfree Particle Method; World Scientific: Singapore, 2003. [Google Scholar]
- Jach, K. Computer Modeling of Dynamic Interactions of Bodies Using the Free Point Method; PWN: Warsaw, Poland, 2001. [Google Scholar]
- Więckowski, Z. A particle-in-cell solution to the silo discharging problem. Int. J. Numer. Methods Eng. 1999, 45, 1203–1225. [Google Scholar] [CrossRef]
- Więckowski, Z. The material point method in large strain engineering problems. Comput. Methods Appl. Mech. Eng. 2004, 193, 4417–4438. [Google Scholar] [CrossRef]
- Orkisz, J. Recent advances in meshless finite difference methods. In Proceedings of the CMM-2005—Computer Methods in Mechanics, Częstochowa, Poland, 21–24 June 2005. [Google Scholar]
- FLAC. Fast Lagrangian Analysis of Continua; Itasca: Minneapolis Minnesota, MN, USA, 1995. [Google Scholar]
- Bathe, K.J. Finite Element Procedures in Engineering Analisis; Prentice—Hall: Englewood Cliffs, NJ, USA, 1982. [Google Scholar]
- Burakowski, T.; Wierzchoń, T. Metal Surface Engineering; WNT: Warsaw, Poland, 1995. [Google Scholar]
- Oñate, E.; Idelsohn, S.; Zienkiewicz, O.C.; Taylor, R.L. A finite point method in computational mechanics. Applications to convective transport and fluid flow. Int. J. Numer. Methods Eng. 1996, 39, 3839–3866. [Google Scholar] [CrossRef]
- Belytschko, T.; Lu, Y.Y.; Gu, L. Element-free Galerkin method. Int. J. Numer. Methods Eng. 1994, 37, 229–256. [Google Scholar] [CrossRef]
- Dolag, K.; Bartelmann, M.; Lesch, H. SPH simulations of magnetic fields in galaxy clusters. Astron. Astrophys. 1999, 348, 351–363. [Google Scholar]
- Chodor, J.; Kukielka, L. Using nonlinear contact mechanics in process of tool edge movement on deformable body to analysis of cutting and sliding burnishing processes. In Applied Mechanics and Materials; Trans Tech Publications Ltd.: Baech, Switzerland, 2014. [Google Scholar] [CrossRef]
- Chodor, J.; Zurawski, L. Investigations on the chip shape and its upsetting and coverage ratios in partial symmetric face milling process of aluminium alloy AW-7075 and the simulation of the process with the use of FEM. In Advances in Mechanics: Theoretical, Computational and Interdisciplinary Issues; CRC Press: Boca Raton, FL, USA, 2016; pp. 121–124. [Google Scholar]
- Myśliński, P.; Precht, W.; Kukiełka, L.; Kamasa, P.; Pietruszka, K.; Małek, P. A possibility of application of mtdil to the residual stresses analysis the hard coating—Substrate system. J. Therm. Anal. Calorim. 2004, 77, 253–258. [Google Scholar] [CrossRef]
- Bohdal, L.; Kukiełka, L. Application of variational and FEM methods to the modelling and numerical analysis of the slitting process for geometrical and physical nonlinearity. J. Theor. Appl. Mech. 2015, 53, 487–500. [Google Scholar] [CrossRef]
- Bohdal, L.; Kukielka, L. Application of variational and FEM methods to the modelling and numerical analysis of guillotining process for geometrical and physical nonlinearity. Mechanics 2014, 20, 197–204. [Google Scholar] [CrossRef]
- Bohdal, L.; Kukielka, L.; Świłło, S.; Radchenko, A.M.; Kułakowska, A. Modelling and experimental analysis of shear-slitting process of light metal alloys using FEM, SPH and vision-based methods. In AIP Conference Proceedings; AIP Publishing LLC: Palermo, Italy, 2019; Volume 2078, p. 020060. [Google Scholar] [CrossRef]
- Bohdal, Ł.; Kułakowska, A.; Patyk, R. Analysis of Slitting of Aluminum Body Panels in the Aspect of Scrap Reduction. Annu. Set Environ. Prot. 2014, 16, 105–114. [Google Scholar]
- Bohdal, L.; Kukielka, L.; Kukielka, K.; Kulakowska, A.; Malag, L.; Patyk, R. Three Dimensional Finite Element Simulation of Sheet Metal Blanking Process. Appl. Mech. Mat. 2014, 474, 430–435. [Google Scholar] [CrossRef]
- Kukielka, K.; Kukielka, L.; Bohdal, L.; Kulakowska, A.; Malag, L.; Patyk, R. 3D numerical analysis the state of elastic/visco-plastic strain in the external round thread rolled on cold. In Applied Mechanics and Materials; Trans Tech Publications Ltd.: Baech, Switzerland, 2014. [Google Scholar] [CrossRef]
- Kukiełka, L. Mathematical modelling and numerical simulation of non-linear deformation of the asperity in the burnishing cold rolling operation. In Computational and Experimental Methods; WITPRESS: Southampton, UK, 2001. [Google Scholar]
- Kukiełka, L. New damping models of metallic materials and its application in non-linear dynamical cold processes of metal forming. In Steel Research International, Proceedings of the 13th International Conference Metal Forming 2010; Toyohashi, Japan, 19–22 September 2010, Verlag Stahleisen GmbH: Düsseldorf, Germany, 2010; Volume 81, pp. 1482–1485. ISBN 978-3-514-00774-1. [Google Scholar]
- Kukiełka, L.; Geleta, K.; Kukiełka, K. Modelling and analysis of nonlinear physical phenomena in the burnishing rolling operation with electrical current. In Steel Research International; Wiley-VCH Verlag GmbH & Co. KGaA: Weinheim, Germany, 2012; pp. 1379–1382. [Google Scholar]
- Kowalik, M.; Trzepiecinski, T. A method of increasing the depth of the plastically deformed layer in the roller burnishing process. In AIP Conference Proceedings; AIP Publishing LLC: Palermo, Italy, 2018; Volume 1960, p. 040011. [Google Scholar] [CrossRef]
- Kowalik, M.; Trzepieciński, T.; Kukiełka, L.; Paszta, P.; Maciąg, P.; Legutko, S. Experimental and numerical analysis of the depth of the strengthened layer on shafts resulting from roller burnishing with roller braking moment. Materials 2021, 14, 5844. [Google Scholar] [CrossRef]
- Kaldunski, P.; Kukielka, L. Numerical Analysis and Simulation of Drawpiece Forming Process by Finite Element Method. Appl. Mech. Mater. 2014, 474, 153–158. [Google Scholar] [CrossRef]
- Kałduński, P. Numerical analysis of the deep drawing process including the history of stress and strain. J. Theor. Appl. Mech. 2018, 56, 781–792. [Google Scholar] [CrossRef]
- Kaldunski, P.; Kukielka, L.; Patyk, R.; Kulakowska, A.; Bohdal, L.; Chodor, J.; Kukielka, K. Study of the Influence of Selected Anisotropic Parameter in the Barlat’s Model on the Drawpiece Shape; AIP Publishing LLC: Palermo, Italy, 2018; p. 160014. [Google Scholar]
- Kukielka, L.; Kustra, J.; Kukielka, K. Numerical analysis of states of strain and stress of material during machining with a single abrasive grain. WIT Trans. Eng. Sci. 2005, 49, 57–66. [Google Scholar]
- Miksza, M.; Bohdal, Ł.; Kałduński, P.; Patyk, R.; Kukiełka, L. Forecasting the Fatigue Strength of DC01 Cold-Formed Angles Using the Anisotropic Barlat Model. Materials 2022, 15, 8436. [Google Scholar] [CrossRef]
- Kornienko, V.; Radchenko, R.; Bohdal, Ł.; Kukiełka, L.; Legutko, S. Investigation of Condensing Heating Surfaces with Reduced Corrosion of Boilers with Water-Fuel Emulsion Combustion. In Integrated Computer Technologies in Mechanical Engineering—2020; Lecture Notes in Networks and Systems; Nechyporuk, M., Pavlikov, V., Kritskiy, D., Eds.; Springer: Cham, Switzerland, 2021; Volume 188, pp. 300–309. [Google Scholar] [CrossRef]
- Horajski, P.; Bohdal, L.; Kukielka, L.; Patyk, R.; Kaldunski, P.; Legutko, S. Advanced Structural and Technological Method of Reducing Distortion in Thin-Walled Welded Structures. Materials 2021, 14, 504. [Google Scholar] [CrossRef]
- Jaworska, L.; Szutkowska, M.; Morgiel, J.; Stobierski, L.; Lis, J. Ti3SiC2 as a Bonding Phase in Diamond Composites. J. Mater. Sci. Lett. 2001, 20, 1783–1786. [Google Scholar] [CrossRef]
- EN 10002-1+AC1 standard; Metallic materials—Tensile testing—Part 1: Method of test at ambient temperature. European Committee for Standardization: Brussels, Belgium, 2002.
- Heyer, D.E. Plane-Stress Fracture Toughness Testing Using a Crack-Line-Loaded Specimen. Eng. Fract. Machanics 1972, 4, 393–414. [Google Scholar] [CrossRef]
- ANSYS. Theory Reference 11.0; Ansys Inc.: Fort Cannons, PA, USA, 2007. [Google Scholar]
- Kukiełka, L. Fundamentals of Engineering Studies; PWN: Warsaw, Poland, 2002; p. 273. ISBN 8301137495/9788301137496. (in Polish) [Google Scholar]




















| ρ [kg·m−3] | E [GPa] | Re [MPa] | ET [MPa] | ν [-] | K [MPa] | ε0 [-] | C [s−1] | P [-] |
|---|---|---|---|---|---|---|---|---|
| 7830 | 207 | 310 | 763 | 0.27 | 938 | 0.05 | 40 | 5 |
| n [-] | n1 [-] | a [-] | b [-] | c [-] | d [-] | β [-] | m [-] | [-] |
| 0.1694 | 1 | 3·10−10 | −10−6 | 7·10−4 | 1.0 | 1 | 0.2 | 2.0 |
| C [%] | Mn [%] | Si [%] | P [%] | Cr [%] | S [%] | Ni [%] | Mo [%] | W [%] | V [%] | Cu [%] |
|---|---|---|---|---|---|---|---|---|---|---|
| 0.42 | 0.83 | 0.32 | 0.03 | 1.05 | 0.028 | 0.24 | 0.08 | 0.16 | 0.04 | 0.23 |
| Level Plan | Investigated Factors | |||
|---|---|---|---|---|
| Real Values | Coded Values | |||
| Feed | Force | Feed | Force | |
| f [mm·rev−1] | F [N] | f [-] | F [-] | |
| 1 | 0.05 | 8 | -1 | -1 |
| 2 | 0.09 | 8 | +1 | -1 |
| 3 | 0.05 | 22 | -1 | +1 |
| 4 | 0.09 | 22 | +1 | +1 |
| 5 | 0.10 | 15 | α = +1.414 | 0 |
| 6 | 0.04 | 15 | α = −1.414 | 0 |
| 7 | 0.07 | 25 | 0 | α = +1.414 |
| 8 | 0.07 | 5 | 0 | α = −1.414 |
| 9 | 0.07 | 15 | 0 | 0 |
| 10 | 0.07 | 15 | 0 | 0 |
| 11 | 0.07 | 15 | 0 | 0 |
| 12 | 0.07 | 15 | 0 | 0 |
| 13 | 0.07 | 15 | 0 | 0 |
| Plan Level | Surface Roughness Parameters | Profile Roughness Parameters | ||||||||
|---|---|---|---|---|---|---|---|---|---|---|
| Sq [μm] | Ssk [-] | Sku [-] | Sp [μm] | Sv [μm] | Sz [μm] | Sa [μm] | Rz [μm] | Rt [μm] | Ra [μm] | |
| 1 | 0.465 | −0.028 | 3.14 | 2.39 | 2.54 | 4.93 | 0.369 | 1.98 | 2.30 | 0.326 |
| 2 | 0.769 | −0.189 | 3.51 | 4.30 | 4.01 | 8.31 | 0.614 | 5.11 | 6.30 | 0.549 |
| 3 | 0.583 | −0.255 | 3.70 | 5.20 | 2.94 | 8.14 | 0.444 | 2.74 | 3.22 | 0.384 |
| 4 | 0.721 | 0.098 | 3.31 | 3.82 | 4.38 | 8.20 | 0.568 | 4.65 | 5.17 | 0.557 |
| 5 | 0.753 | 0.003 | 3.18 | 3.74 | 3.96 | 7.70 | 0.599 | 4.23 | 4.52 | 0.556 |
| 6 | 0.567 | −0.149 | 3.51 | 3.75 | 3.46 | 7.21 | 0.441 | 3.37 | 3.48 | 0.396 |
| 7 | 0.673 | −0.187 | 3.36 | 3.66 | 3.82 | 7.47 | 0.528 | 3.87 | 4.40 | 0.479 |
| 8 | 0.957 | −0.543 | 3.94 | 4.38 | 5.66 | 10.0 | 0.740 | 5.11 | 5.90 | 0.605 |
| 9 | 0.722 | −0.212 | 3.30 | 3.84 | 4.48 | 8.32 | 0.571 | 3.59 | 4.06 | 0.529 |
| 10 | 0.810 | −0.378 | 3.82 | 5.50 | 4.66 | 10.2 | 0.625 | 3.42 | 4.84 | 0.549 |
| 11 | 0.754 | −0.245 | 3.44 | 3.98 | 4.51 | 9.20 | 0.613 | 3.61 | 4.13 | 0.473 |
| 12 | 0.796 | −0.276 | 3.37 | 4.45 | 4.47 | 9.75 | 0.587 | 3.49 | 4.66 | 0.508 |
| 13 | 0.783 | −0.306 | 3.67 | 4.38 | 4.58 | 8.64 | 0.596 | 3.54 | 4.28 | 0.504 |
| Plan Level | Rresults of Measurements of the Ra [μm] Parameter of Profile Roughness | |||
|---|---|---|---|---|
| Ra1 [μm] | Ra2 [μm] | Ra [μm] | Average Ra [μm] | |
| 1 | 0.295 | 0.350 | 0.335 | 0.326 |
| 2 | 0.58 | 0.504 | 0.565 | 0.549 |
| 3 | 0.39 | 0.364 | 0.398 | 0.384 |
| 4 | 0.572 | 0.557 | 0.544 | 0.557 |
| 5 | 0.535 | 0.556 | 0.577 | 0.556 |
| 6 | 0.395 | 0.37 | 0.424 | 0.396 |
| 7 | 0.477 | 0.481 | 0.479 | 0.479 |
| 8 | 0.641 | 0.623 | 0.551 | 0.605 |
| 9 | 0.528 | 0.527 | 0.534 | 0.529 |
| 10 | 0.453 | 0.540 | 0.656 | 0.549 |
| 11 | 0.458 | 0.473 | 0.49 | 0.473 |
| 12 | 0.479 | 0.513 | 0.533 | 0.508 |
| 13 | 0.490 | 0.521 | 0.502 | 0.504 |
Disclaimer/Publisher’s Note: The statements, opinions and data contained in all publications are solely those of the individual author(s) and contributor(s) and not of MDPI and/or the editor(s). MDPI and/or the editor(s) disclaim responsibility for any injury to people or property resulting from any ideas, methods, instructions or products referred to in the content. |
© 2023 by the authors. Licensee MDPI, Basel, Switzerland. This article is an open access article distributed under the terms and conditions of the Creative Commons Attribution (CC BY) license (https://creativecommons.org/licenses/by/4.0/).
Share and Cite
Chodór, J.; Kukiełka, L.; Chomka, G.; Bohdal, Ł.; Patyk, R.; Kowalik, M.; Trzepieciński, T.; Radchenko, A.M. Using the FEM Method in the Prediction of Stress and Deformation in the Processing Zone of an Elastic/Visco-Plastic Material during Diamond Sliding Burnishing. Appl. Sci. 2023, 13, 1963. https://doi.org/10.3390/app13031963
Chodór J, Kukiełka L, Chomka G, Bohdal Ł, Patyk R, Kowalik M, Trzepieciński T, Radchenko AM. Using the FEM Method in the Prediction of Stress and Deformation in the Processing Zone of an Elastic/Visco-Plastic Material during Diamond Sliding Burnishing. Applied Sciences. 2023; 13(3):1963. https://doi.org/10.3390/app13031963
Chicago/Turabian StyleChodór, Jarosław, Leon Kukiełka, Grzegorz Chomka, Łukasz Bohdal, Radosław Patyk, Marek Kowalik, Tomasz Trzepieciński, and Andrii M. Radchenko. 2023. "Using the FEM Method in the Prediction of Stress and Deformation in the Processing Zone of an Elastic/Visco-Plastic Material during Diamond Sliding Burnishing" Applied Sciences 13, no. 3: 1963. https://doi.org/10.3390/app13031963
APA StyleChodór, J., Kukiełka, L., Chomka, G., Bohdal, Ł., Patyk, R., Kowalik, M., Trzepieciński, T., & Radchenko, A. M. (2023). Using the FEM Method in the Prediction of Stress and Deformation in the Processing Zone of an Elastic/Visco-Plastic Material during Diamond Sliding Burnishing. Applied Sciences, 13(3), 1963. https://doi.org/10.3390/app13031963

