Abstract
The effect of capillary tube material on the process of thermal decomposition of methane at 1100 °C and methane supply at a rate of 2 L/h without the use of catalysts was studied. The materials used were corundum, titanium, nickel, and stainless steel. The reactor was a capillary tube, which was heated from the outside with a propane burner; the length of the heating zone was about 8 cm. It was found that the efficiency of methane decomposition decreases in a number of materials: Al2O3 > Ni > Ti > stainless steel. The highest hydrogen yield (73.35 vol. %) was achieved in the experiment with a corundum tube with an inner diameter of 4 mm, and the lowest (27.75 vol. %) was achieved in the experiment with a stainless steel tube with a diameter of 6 mm. Nickel and titanium showed worse hydrogen yield results than corundum: for nickel, the volume content of hydrogen after pyrolysis was 71.27%, and for titanium, 41.51%.
1. Introduction
The containment of climate change requires developing a hydrogen economy, which needs sources of large amounts of hydrogen []. One of the possible methods for large-scale production of low-carbon hydrogen is the pyrolysis of methane (natural gas), also known as the thermal decomposition of methane, which has been actively studied in recent years [,,,]. The decomposition of methane is a moderately endothermic process. If a catalyst is not used, a temperature of about 1100 °C or higher is required to achieve a reasonable yield []. The temperature of the process can be significantly reduced by using a catalyst []. Methane pyrolysis is described by the following equation:
In [], the following two equations were provided, showing the mass and energy on both sides of the equation:
Mass:
Energy:
where ΔH = 4600 MJ. In terms of mass balance, the main product of this reaction is carbon, which accounts for 75% of the total mass.
The process of methane pyrolysis is carried out in three different ways: non-catalytic thermal decomposition, catalytic decomposition, and plasma-chemical decomposition. All works in the literature can be divided into these three areas.
For the thermal non-catalytic decomposition of methane, methods are used that involve passing it through molten metal elements or alloys. Metals (Ti, Sn, Ga, Pb), molten alloys (Ni-Bi, Cu-Bi), or molten salts (KBr, NaBr, NaCl, NaF, MnCl2, KCl) are used as molten media [,,,,,,]. The main advantage of such systems is the simple separation of the solid products and the gas stream, followed by the removal of solid products from the system. The disadvantages of this method include the difficulty of maintaining a high temperature in the melt’s volume and clogging of the working volume with a carbon-containing product.
Another way to decompose hydrocarbons is to use plasma processes, which have several advantages compared to thermal processes: high carbon and hydrogen yield, high degree of methane conversion, small reactor size, and relatively low energy costs [,]. A wide range of hydrocarbon gases can be used in plasma processes. However, at present, the use of such a method in industry is too expensive [].
A large number of research works are observed today in the direction of the catalytic decomposition of methane. Numerous metal catalysts have been studied in the process of thermal decomposition of methane. In recent decades, many experimental studies have been carried out using metallic, especially transition metals (Ni, Fe, Co, Cu, etc.) [,,,,] and carbon catalysts [,,,] to reduce the energy of activation. Such catalysts as Co/Mo/Al2O3, Ni-Cu/SiO2, Ni-Cu/Al2O3, Mo-Fe/Al2O3, Ni- and Fe/Al2O3 are of great interest, as they exhibit high catalytic activity and stability [,,,,].
Although some of these catalysts have good catalytic activity, they are often deactivated during the pyrolysis process. Some metals are quite expensive, and regeneration to the initial activity of the catalyst is practically impossible due to the deformation of the catalyst surface and the porous structure []. Although carbon-containing catalysts theoretically do not require regeneration, their catalytic activity also decreases after several hours of operation [].
The use of catalysts allows the decomposition temperature to be decreased. However, such problems as carbon deposition on the surface of catalysts (both metal and carbon) and the need for catalyst regeneration do not allow us to comment on the large-scale use of this method.
Instead of catalysts for the decomposition of methane, capillary tubes could be used. It is relatively easier to clear capillary tubes of produced carbon. The removal of carbon could be realized mechanically during pyrolysis. Soot deposits and the clogging of pyrolysis units are one of the key problems, the solution of which is an urgent technical challenge []. At the same time, capillary tubes provide a high reaction surface for the methane decomposition reaction.
This work aims to test the capillary tubes composed of different materials for the process of thermal decomposition of methane. The main task of the work is to study the effect of the material (composition) of the wall of the reactors on the degree of methane decomposition (the yield of hydrogen). Tubes of the following materials are studied: stainless steel, titanium, nickel, and corundum. Titanium is renowned for its extreme tensile strength, which is maintained even at high temperatures. It has low weight, outstanding corrosion resistance, and the ability to operate in extreme temperatures. Nickel stands out for its high coefficient of thermal expansion and relatively low thermal conductivity. Stainless steel is characterized by its economical operation (long service life) and high strength. Corundum has found its application in various industrial sectors due to its outstanding hardness, resistance to chemical attack, and heat resistance. Thermal stability, availability, and reproducibility make these materials promising for use in plants designed to produce hydrogen on an industrial scale.
2. Experimental Part
2.1. Materials
The studies were carried out on grade A methane (methane volume fraction 99.99%) produced by the Moscow Gas Processing Plant.
The capillary tubes were heated from the outside using a gas burner (GV-3V-01), for which technical propane–butane (gas mixture following GOST 20448-90) was used.
The tubes used in the experiments had the following parameters:
- Stainless steel tube (grade 10Ch18N10T) with an inner diameter of 6 mm, a wall thickness of 1 mm, and a length of 27 cm.
- Nickel tube (grade NP2) with an inner diameter of 5.5 mm, a wall thickness of 0.4 mm, and a length of 27 cm.
- Titanium tube (grade VT 1-0) with an inner diameter of 6 mm, a wall thickness of 1 mm, and a length of 27 cm.
- Corundum tube (MKR-95) with an inner diameter of 4 mm, a wall thickness of 1 mm, and a length of 30 cm.
2.2. Experimental Setup
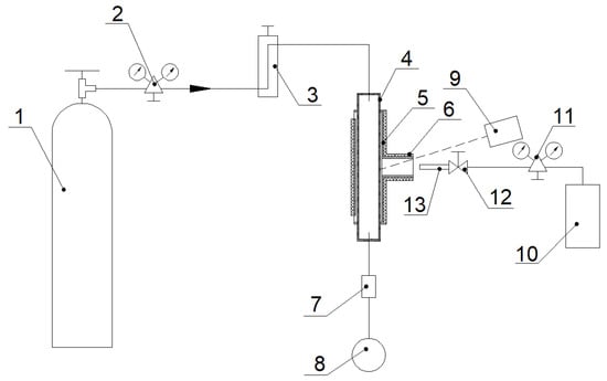
Methane pyrolysis in capillary tubes of various compositions was carried out on a laboratory plant with replaceable tubes, the scheme of which is shown in Figure 1.

Figure 1.
Scheme of an experimental plant for methane pyrolysis in tubes of various materials []: 1—a cylinder with methane; 2—reducer; 3—rotameter; 4—tube (reactor); 5—T-shaped pipe; 6—T-shaped pipe insulation; 7—filter; 8—gas sampling chamber; 9—pyrometer; 10—propane–butane cylinder; 11—reducer; 12—propane–butane flow control valve; 13—burner.
The pyrolysis plant is made in the form of a tube made of the selected material. Methane is pumped into the tube from cylinder 1 through reducer 2 and rotameter 3 at a certain flow rate. The methane speed is adjusted using a precision control valve. Inside reactor 4, gas moves through a heated area 8 cm long. The reactor tube is heated externally using a gas burner 13. The propane used in the burner 13 is taken from the propane cylinder 10 through the reducer 11. The burner directs the flame to a T-shaped tube 5 connected to the reactor. Polymerization products are collected in a rubber container with a volume of 1 L, where gas analysis is carried out. Before entering this container, the gas passes through filter 7 at the outlet of the tube. Ashless paper filter FM 03.14 V is used as a filter material in the filter. A pyrometer 9 is used to determine the temperature of the outer wall of the reactor (Kelvin Compact Pyrometer 2300D (Moscow, Russia) with measurement error: 1% + 1 °C).
2.3. Experimental Method
Before each experiment, the reactor was filled with methane, followed by purging with cold methane at a rate of about 12 L/h for 5 min to remove air. The methane flow rate was then set to 2 L/h using a methane flow control device. After this, heating of the reactor with the burner began. The reactor was heated to a temperature of 1100 °C, which took approximately 4–5 min; accordingly, the heating rate is approximately 200–225 °C/min. After the reactor reached its maximum temperature, a device for sampling gas for analysis (connected to its outlet through a filter) was turned on. When the chamber was filled, the supply of the propane–butane mixture to the burner was stopped. Then, after cooling, the reactor was replaced with another one made of a different material, and the experiment was repeated, but with a tube made of this new material. At the 5th minute of the study, the gas obtained as a result of methane pyrolysis was collected in a specialized container for further study on a gas chromatograph. This specialized container was made in the form of a rubber ball, from which air was first evacuated using a pump, then it was connected to the filter outlet and filled with the gas mixture. Three such samples were taken and examined during each experiment, and the results were averaged. Each rubber balloon was filled in approximately 20 min. Next, the gas produced by methane pyrolysis was sent to a gas chromatograph where its chemical composition was analyzed.
2.4. Research Methods
The chemical composition of the gas obtained through the pyrolysis of methane was studied on a Chromatek-Kristall 5000 gas chromatograph (Moscow, Russia) with a TCD detector (detection limit—3 × 10−9 g/mL for heptane or propane) and FID detector (detection limit—1.1 × 10−12 g/s for carbon in hydrocarbons), argon was used as the carrier gas. Columns 3 m long and 3 mm inner diameter are filled with NaX 80/100 for TCD and Hayesep Q 80/100 for FID. To analyze the data from the chromatograph the program “Chromatek-Navigator” version 3.0.0.2 was used. Calculation method—absolute graduation (external standard). The integration of peaks was performed over the width of 2 by 5 s with a threshold of 5. Identification of reference peaks—largest in height; normal peaks—closest in retention parameter; retention index—logarithmic.
The structure of solid substances resulting from the decomposition of methane was studied using an electron microscope Nova Nano-Sem 650 (Riga, Latvia). This method is based on the use of a ring sensor that detects electrons bouncing back from the sample. This sensor provides contrast in images based on the different atomic numbers of the structural components of the sample. To obtain more accurate data, the samples were secured with conductive tape, but were not covered with a conductive film—this avoided possible interference in the determination of nano-sized elements. The samples were scanned using secondary electrons, and the process itself was carried out at an accelerating voltage of 2 and 3 kV. In addition, to reduce errors associated with possible charging of the samples, the resulting images were corrected and rescanned.
3. Results and Discussion
Table 1 shows the elemental composition of metallic tubes, according to their grades. For titanium, the main impurities are iron, silicon, carbon, nickel-iron, manganese, and copper. Table 2 shows the main properties of the corundum tube (MKR-95). The content of Al2O3 in the corundum tube is no less than 95%.

Table 1.
Elemental composition for metallic tubes.

Table 2.
The main properties of the corundum tube (MKR-95).
Figure 2 shows the contents of CH4 and H2 in the gaseous product of methane pyrolysis at 1100 °C in tubes of different materials. The results show that when using a tube made of corundum (MKR-95), the highest hydrogen yield of 73.35 vol.% is achieved (at 1100 °C and a methane flow rate of 2 L/h). The yield of hydrogen for the nickel tube was 71.27 vol.%, which is comparable to the yield of hydrogen for a corundum tube. For stainless steel and titanium tubes, the hydrogen yield was 27.75 and 41.51%, respectively.

Figure 2.
The contents of CH4 and H2 in the gaseous product of methane pyrolysis at 1100 °C in tubes of different materials.
The composition of the gaseous product of methane pyrolysis at 1100 °C depending on the material of the reaction tube is shown in Table 3. It can be seen that the main pyrolysis product is hydrogen. In addition, compounds such as C2H6, C2H4, C3H8, C3H6, (CH3)3CH, C4H10, C4H8, n-pentane, and hexane are also present in gaseous products. Ethylene shows the highest content—from 0.7 to 2.2 vol. %. The content of ethane is about 0.1 vol %.

Table 3.
The composition of gaseous product of methane pyrolysis at 1100 °C depending on the material of the reaction tube.
A comparison of the obtained results with previous studies is presented in Table 4. It shows the methane conversion values reported in various papers. When comparing, we focused on similarities in the experimental conditions, such as the material used as a catalyst, reactor design, and temperature.

Table 4.
The comparison of the obtained results with previous studies. Literature survey on reactor and catalyst types in methane decomposition.
Table 4 shows that stainless steel tube with Fe powder has better results on CH4 conversion—from 28.5%, the methane conversion increased to 92% at a process temperature of 1100 °C. The methane conversion result of the nickel tube was 73.21%, which is better than that of the titanium tube, where the CH4 conversion was 42.2%, but worse than that of the corundum tube. At the same time, reduced nickel oxide showed a methane conversion of 20% at a process temperature of 500 °C. The tube made of corundum (α-Al2O3 tube) shows a 75.7% CH4 conversion, a result which is the best for other tubes made in different materials. The porous alumina tube showed slightly similar results (71%) at a flow rate of 1000 cm/min.
One of the main points in the process of thermal decomposition of methane is the residence time of methane in the heating region (t). To determine this indicator, you need to know the speed of gas movement along the reactor channel (υ). And to determine it, you need to know two quantities: the volumetric amount of gas (Q) and the cross-sectional area of the flow (S). Then, the speed of gas movement can be expressed through the following equation:
The volume of gas passing through a given cross section per unit time (Q) is known under normal conditions. However, in the heating zone, this volume increases, since when heated, the gas expands according to the law V/T = const. Due to the lack of experimental data on the gas temperature distribution inside the reactor along its length, we continue to estimate the volume of gas without taking into account its heating.
The following equation is used to calculate gas velocity:
where S0 is the area of the flow section of the reactor tube, and (d) is the inner diameter of the tube.
The residence time of methane in the heating zone (t) is calculated by the following equation:
where l is the length of the heating zone.
The length of the T-tube is 8 cm. The length of the T-tube can be considered as the length of the heating zone of the reactor (l). Therefore, in our case, l = 8 cm.
The residence time of methane in the heating zone is presented in Table 5. The calculation of the residence time was carried out for a methane flow rate of 2 L/h. In the tube with the smallest flow area (in our case, it is a corundum tube with an inner diameter of 4 mm), the methane flow rate was 4.42 cm/s. In the tubes with the largest flow area (in our case, these are stainless steel and titanium tubes with an inner diameter of 6 mm), the methane flow rate was 1.97 cm/s. Thus, the residence time in the heating zone of the reactor was the shortest for the corundum tube (1.8 s), and the longest for the stainless steel and titanium tubes (about 4 s).

Table 5.
Methane flow rates in the capillary tube, as well as the estimated residence time of methane in the 8 cm heating zone (8 cm is the length of the T-tube along the heated section of the reactor tube). Methane flow rate—2 L/h.
There are two main parameters influencing the degree of methane decomposition—temperature and residence time. The increase in both the temperature and the residence time leads to an increase in the degree of methane decomposition. In [], it was shown that the increase in residence time at one temperature always leads to an increase in the yield of hydrogen. In this study, the highest yield of hydrogen (73.35 vol.%) was achieved at the lowest residence time in the heating zone (1.8 s) in the corundum capillary tube. We believe this is due to the roughness of the corundum material, unlike metal tubes. Therefore, the corundum surface contains more active soot formation centers, resulting in increased hydrogen yield. More about the mechanisms of soot formation on non-porous aluminum oxide is described in []. The yield of hydrogen in the nickel tube was less than in the corundum tube by only 2 vol.%. However, the residence time in the nickel tube was higher. Thus, with the same residence time, one should expect an even greater difference in the yield of hydrogen between the corundum and nickel tubes. The same applies to the results obtained for titanium and stainless steel tubes. At the residence time of about 4 s, hydrogen yield in experiments with titanium and stainless steel tubes was 41.51 and 27.75 vol.%, respectively. With a shorter residence time, lower values of the hydrogen yield for titanium and stainless steel tubes should be expected.
It should be noted that Ni is often used as a catalyst for the decomposition of methane. This catalyst is often supported by alumina, which is used as a carrier []. Due to the use of a nickel catalyst, the temperature of methane decomposition is lowered to 700–800 °C []. However, in this work, at a high temperature of 1100 °C, metallic nickel is lost to aluminum oxide in the efficiency of methane decomposition.
Following [], the theoretical maximum for the yield of hydrogen at 1100 °C is about 90%, and it depends on the residence time. At the residence time of about 10 s at 1100 °C, the yield of hydrogen is about 45%. At the residence time of about 1 s at 1100 °C, the yield of hydrogen is about 10%. In general, the results of our work are in agreement with the results of the kinetic model []. In this work, the obtained yields were slightly higher, which is explained by the presence of a wall that catalyzes the process of methane decomposition.
Figure 3 shows SEM images of carbon obtained via the pyrolysis of methane at a process temperature of 1100 °C and a methane flow rate of 2 L/h in a corundum tube. This carbon was obtained on filter paper. SEM analysis of a sample of carbon obtained via the pyrolysis of methane in a corundum tube at a temperature of 1100 °C showed that the carbon particles have a spherical shape, and their average diameter is about 130 nm.

Figure 3.
SEM images of carbon obtained via pyrolysis of methane at a process temperature of 1100 °C and a methane flow rate of 2 L/h in a corundum tube, with a resolution of 3 μm (enlargement ×50,000) (A), 1 μm (enlargement ×100,000) (B), and 0.5 μm (enlargement ×200,000) (C).
It is worth noting that nickel, titanium, and stainless steel tubes worked at the limit of their capabilities at 1100 °C. The nickel tube became more ductile at the heating zone after cooling, and the stainless steel and titanium tubes deformed at the heating zone during the experiment. Further exposure at a temperature of 1100 °C might lead to destruction, which makes it hard to use these tubes at this temperature. The corundum tube showed the best thermal and mechanical resistance when exposed to a temperature of 1100 °C.
4. Conclusions
The thermal decomposition of methane was studied in capillary tubes made of different materials. The experiments were carried out at 1100 °C on tubes made of the following materials: nickel (NP2), stainless steel (10Ch18N10T), titanium (VT 1-0), and corundum (MKR-95).
Results showed that when using a tube made of corundum, the highest value of the hydrogen yield is achieved, and the material of the tube made of corundum showed the maximum resistance when exposed to high temperatures during the pyrolysis process in comparison with other selected metal tubes. It was established that the degree of methane decomposition in different capillary tubes decreases in the following sequence: Al2O3 > Ni > Ti > stainless steel. The yield of hydrogen in a corundum tube was 73.35 vol. %. The lowest hydrogen yield (27.75 vol.%) was obtained for a stainless steel tube with an inner diameter of 6 mm.
The solid product obtained in the corundum tube during the process of methane pyrolysis at 1100 °C and a methane flow rate of 2 L/h was studied by SEM. SEM images showed that the carbon represents the spherical particles with an average diameter of about 130 nm.
From the results obtained, it can be concluded that corundum can be a promising material for the creation of a methane pyrolysis unit. This material, in addition to its catalytic activity, which, as shown by a series of experiments, is not inferior to the catalytic activity of nickel, also has other additional advantages. In particular, this material is stable when heated to high temperatures, and this material is also chemically stable in the temperature range of interest for methane pyrolysis (up to 1500 °C) both in reducing and oxidizing media. Moreover, this material is widely used as a structural material at high temperatures. Therefore, the manufacture of elements of the methane pyrolysis reactor from this material seems to be possible and reliable.
Future work should be devoted to the development of technical solutions for the removal of carbon from the working zone of the reactor. These technical solutions should be adopted to work at high temperatures.
Author Contributions
Formulation of the research problem: M.S.V., A.V.G., A.O.D., V.K. and G.E.V.; Analysis of the samples and preparation of micrographs of the samples obtained after the experiment: M.S.V., A.V.G., A.O.D., V.K. and G.E.V.; Writing—the main manuscript text: M.S.V., A.V.G., A.O.D., V.K. and G.E.V.; Writing—review and editing: M.S.V., A.V.G., A.O.D., M.S.G.-T., V.K. and G.E.V.; Funding and administrate: M.S.V., A.V.G., A.O.D., V.K. and G.E.V.; All authors have read and agreed to the published version of the manuscript.
Funding
This work was supported by the Ministry of Science and Higher Education of the Russian Federation (State Assignment No. 075-01129-23-00). This paper has been supported by the RUDN University Strategic Academic Leadership Program.
Institutional Review Board Statement
Not applicable.
Informed Consent Statement
Not applicable.
Data Availability Statement
Data are contained within the article.
Conflicts of Interest
The authors declare no conflict of interest.
References
- da Rosa, A.V.; Ordóñez, J.C. (Eds.) Chapter 10—Hydrogen Production. In Fundamentals of Renewable Energy Processes, 4th ed.; Academic Press: Oxford, UK, 2022; pp. 419–470. [Google Scholar]
- Bhaskar, A.; Assadi, M.; Somehsaraei, H.N. Can methane pyrolysis based hydrogen production lead to the decarbonisation of iron and steel industry? Energy Convers. Manag. X 2021, 10, 100079. [Google Scholar] [CrossRef]
- Fau, G.; Gascoin, N.; Gillard, P.; Steelant, J. Methane pyrolysis: Literature survey and comparisons of available data for use in numerical simulations. J. Anal. Appl. Pyrolysis 2013, 104, 1–9. [Google Scholar] [CrossRef]
- Sánchez-Bastardo, N.; Schlögl, R.; Ruland, H. Methane Pyrolysis for Zero-Emission Hydrogen Production: A Potential Bridge Technology from Fossil Fuels to a Renewable and Sustainable Hydrogen Economy. Ind. Eng. Chem. Res. 2021, 60, 11855–11881. [Google Scholar] [CrossRef]
- Schneider, S.; Bajohr, S.; Graf, F.; Kolb, T. State of the Art of Hydrogen Production via Pyrolysis of Natural Gas. ChemBioEng Rev. 2020, 7, 150–158. [Google Scholar] [CrossRef]
- Younessi-Sinaki, M.; Matida, E.A.; Hamdullahpur, F. Kinetic model of homogeneous thermal decomposition of methane and ethane. Int. J. Hydrogen Energy 2009, 34, 3710–3716. [Google Scholar] [CrossRef]
- Abbas, H.F.; Wan Daud, W.M.A. Hydrogen production by methane decomposition: A review. Int. J. Hydrogen Energy 2010, 35, 1160–1190. [Google Scholar] [CrossRef]
- Serban, M.; Lewis, M.A.; Marshall, C.L.; Doctor, R.D. Hydrogen Production by Direct Contact Pyrolysis of Natural Gas. Energy Fuels 2003, 17, 705–713. [Google Scholar] [CrossRef]
- Leal Pérez, B.J.; Medrano Jiménez, J.A.; Bhardwaj, R.; Goetheer, E.; van Sint Annaland, M.; Gallucci, F. Methane pyrolysis in a molten gallium bubble column reactor for sustainable hydrogen production: Proof of concept & techno-economic assessment. Int. J. Hydrogen Energy 2021, 46, 4917–4935. [Google Scholar]
- Palmer, C.; Tarazkar, M.; Kristoffersen, H.H.; Gelinas, J.; Gordon, M.J.; McFarland, E.W.; Metiu, H. Methane Pyrolysis with a Molten Cu–Bi Alloy Catalyst. ACS Catal. 2019, 9, 8337–8345. [Google Scholar] [CrossRef]
- Palmer, C.; Bunyan, E.; Gelinas, J.; Gordon, M.J.; Metiu, H.; McFarland, E.W. CO2-Free Hydrogen Production by Catalytic Pyrolysis of Hydrocarbon Feedstocks in Molten Ni–Bi. Energy Fuels 2020, 34, 16073–16080. [Google Scholar] [CrossRef]
- Kang, D.; Rahimi, N.; Gordon, M.J.; Metiu, H.; McFarland, E.W. Catalytic methane pyrolysis in molten MnCl2-KCl. Appl. Catal. B Environ. 2019, 254, 659–666. [Google Scholar] [CrossRef]
- Patzschke, C.F.; Parkinson, B.; Willis, J.J.; Nandi, P.; Love, A.M.; Raman, S.; Hellgardt, K. Co-Mn catalysts for H2 production via methane pyrolysis in molten salts. Chem. Eng. J. 2021, 414, 128730. [Google Scholar] [CrossRef]
- Parkinson, B.; Patzschke, C.F.; Nikolis, D.; Raman, S.; Dankworth, D.C.; Hellgardt, K. Methane pyrolysis in monovalent alkali halide salts: Kinetics and pyrolytic carbon properties. Int. J. Hydrogen Energy 2021, 46, 6225–6238. [Google Scholar] [CrossRef]
- Battelle. R&D Opportunities for Development of Natural Gas Conversion Technologies for Co-Production of Hydrogen and Value-Added Solid Carbon Products; Argonne National Laboratory and Pacific Northwest National Laboratory Operated for the U.S. Department of Energy Office of Science; U.S. Department of Energy: Washington, DC, USA, 2017.
- Kerscher, F.; Stary, A.; Gleis, S.; Ulrich, A.; Klein, H.; Spliethoff, H. Low-carbon hydrogen production via electron beam plasma methane pyrolysis: Techno-economic analysis and carbon footprint assessment. Int. J. Hydrogen Energy 2021, 46, 19897–19912. [Google Scholar] [CrossRef]
- Ashik, U.P.M.; Wan Daud, W.M.A.; Abbas, H.F. Production of greenhouse gas free hydrogen by thermocatalytic decomposition of methane—A review. Renew. Sustain. Energy Rev. 2015, 44, 221–256. [Google Scholar] [CrossRef]
- Pudukudy, M.; Yaakob, Z.; Jia, Q.; Sobri Takriff, M. Catalytic decomposition of undiluted methane into hydrogen and carbon nanotubes over Pt promoted Ni/CeO2 catalysts. New J. Chem. 2018, 42, 14843–14856. [Google Scholar] [CrossRef]
- Kopp, M.; Coleman, D.; Stiller, C.; Scheffer, K.; Aichinger, J.; Scheppat, B. Energiepark Mainz: Technical and economic analysis of the worldwide largest Power-to-Gas plant with PEM electrolysis. Int. J. Hydrogen Energy 2017, 42, 13311–13320. [Google Scholar] [CrossRef]
- Ayillath Kutteri, D.; Wang, I.W.; Samanta, A.; Li, L.; Hu, J. Methane decomposition to tip and base grown carbon nanotubes and COx-free H2 over mono- and bimetallic 3d transition metal catalysts. Catal. Sci. Technol. 2018, 8, 858–869. [Google Scholar] [CrossRef]
- Dunker, A.M.; Kumar, S.; Mulawa, P.A. Production of hydrogen by thermal decomposition of methane in a fluidized-bed reactor—Effects of catalyst, temperature, and residence time. Int. J. Hydrogen Energy 2006, 31, 473–484. [Google Scholar] [CrossRef]
- Patel, S.; Kundu, S.; Halder, P.; Marzbali, M.H.; Chiang, K.; Surapaneni, A.; Shah, K. Production of hydrogen by catalytic methane decomposition using biochar and activated char produced from biosolids pyrolysis. Int. J. Hydrogen Energy 2020, 45, 29978–29992. [Google Scholar] [CrossRef]
- Abbas, H.F.; Daud, W.M.A.W. Influence of reactor material and activated carbon on the thermocatalytic decomposition of methane for hydrogen production. Appl. Catal. A Gen. 2010, 388, 232–239. [Google Scholar] [CrossRef]
- Botas, J.A.; Serrano, D.P.; Guil-López, R.; Pizarro, P.; Gómez, G. Methane catalytic decomposition over ordered mesoporous carbons: A promising route for hydrogen production. Int. J. Hydrogen Energy 2010, 35, 9788–9794. [Google Scholar] [CrossRef]
- Bai, Z.; Chen, H.; Li, W.; Li, B. Hydrogen production by methane decomposition over coal char. Int. J. Hydrogen Energy 2006, 31, 899–905. [Google Scholar] [CrossRef]
- Saraswat, S.K.; Pant, K.K. Synthesis of hydrogen and carbon nanotubes over copper promoted Ni/SiO2 catalyst by thermocatalytic decomposition of methane. J. Nat. Gas Sci. Eng. 2013, 13, 52–59. [Google Scholar] [CrossRef]
- Pinilla, J.L.; Suelves, I.; Lázaro, M.J.; Moliner, R.; Palacios, J.M. Parametric study of the decomposition of methane using a NiCu/Al2O3 catalyst in a fluidized bed reactor. Int. J. Hydrogen Energy 2010, 35, 9801–9809. [Google Scholar] [CrossRef]
- Shah, N.; Wang, Y.; Panjala, D.; Huffman, G.P. Production of Hydrogen and Carbon Nanostructures by Non-oxidative Catalytic Dehydrogenation of Ethane and Propane. Energy Fuels 2004, 18, 727–735. [Google Scholar] [CrossRef]
- Al-Fatesh, A.S.; Fakeeha, A.H.; Ibrahim, A.A.; Khan, W.U.; Atia, H.; Eckelt, R.; Seshan, K.; Chowdhury, B. Decomposition of methane over alumina supported Fe and Ni–Fe bimetallic catalyst: Effect of preparation procedure and calcination temperature. J. Saudi Chem. Soc. 2018, 22, 239–247. [Google Scholar] [CrossRef]
- Fakeeha, A.H.; Kasim, S.O.; Ibrahim, A.A.; Al-Awadi, A.S.; Alzahrani, E.; Abasaeed, A.E.; Awadallah, A.E.; Al-Fatesh, A.S. Methane Decomposition Over ZrO2-Supported Fe and Fe–Ni Catalysts—Effects of Doping La2O3 and WO3. Front. Chem. 2020, 8, 317. [Google Scholar] [CrossRef]
- Abánades, A.; Rubbia, C.; Salmieri, D. Thermal cracking of methane into Hydrogen for a CO2-free utilization of natural gas. Int. J. Hydrogen Energy 2013, 38, 8491–8496. [Google Scholar] [CrossRef]
- Abánades, A.; Rubbia, C.; Salmieri, D. Technological challenges for industrial development of hydrogen production based on methane cracking. Energy 2012, 46, 359–363. [Google Scholar] [CrossRef]
- Galtsov-Tsientsiala, M.S.; Dudoladov, A.O.; Grigorenko, A.V.; Vlaskin, M.S. Study of Soot Deposits during Continuous Methane Pyrolysis in a Corundum Tube. Appl. Sci. 2023, 13, 10817. [Google Scholar] [CrossRef]
- Vlaskin, M.S.; Grigorenko, A.V.; Gromov, A.A.; Kumar, V.; Dudoladov, A.O.; Slavkina, O.V.; Darishchev, V.I. Methane pyrolysis on sponge iron powder for sustainable hydrogen production. Results Eng. 2022, 15, 100598. [Google Scholar] [CrossRef]
- Lua, A.C.; Wang, H.Y. Decomposition of methane over unsupported porous nickel and alloy catalyst. Appl. Catal. B Environ. 2013, 132–133, 469–478. [Google Scholar] [CrossRef]
- Muto, T.; Asahara, M.; Miyasaka, T.; Asato, K.; Uehara, T.; Koshi, M. Methane pyrolysis characteristics for the practical application of hydrogen production system using permalloy plate catalyst. Chem. Eng. Sci. 2022, 274, 117931. [Google Scholar] [CrossRef]
- Schultz, I.; Agar, D.W. Decarbonisation of fossil energy via methane pyrolysis using two reactor concepts: Fluid wall flow reactor and molten metal capillary reactor. Int. J. Hydrogen Energy 2015, 40, 11422–11427. [Google Scholar] [CrossRef]
- Abánades, A.; Ruiz, E.; Ferruelo, E.M.; Hernández, F.; Cabanillas, A.; Martínez-Val, J.M.; Rubio, J.A.; López, C.; Gavela, R.; Barrera, G.; et al. Experimental analysis of direct thermal methane cracking. Int. J. Hydrogen Energy 2011, 36, 12877–12886. [Google Scholar] [CrossRef]
- Kreuger, T.; Van Swaaij, W.P.M.; Bos, A.N.R.; Kersten, S.R.A. Methane decomposition kinetics on unfunctionalized Alumina surfaces. Chem. Eng. J. 2021, 427, 130412. [Google Scholar] [CrossRef]
- Gao, B.; Wang, I.W.; Ren, L.; Haines, T.; Hu, J. Catalytic Performance and Reproducibility of Ni/Al2O3 and Co/Al2O3 Mesoporous Aerogel Catalysts for Methane Decomposition. Ind. Eng. Chem. Res. 2019, 58, 798–807. [Google Scholar] [CrossRef]
Disclaimer/Publisher’s Note: The statements, opinions and data contained in all publications are solely those of the individual author(s) and contributor(s) and not of MDPI and/or the editor(s). MDPI and/or the editor(s) disclaim responsibility for any injury to people or property resulting from any ideas, methods, instructions or products referred to in the content. |
© 2023 by the authors. Licensee MDPI, Basel, Switzerland. This article is an open access article distributed under the terms and conditions of the Creative Commons Attribution (CC BY) license (https://creativecommons.org/licenses/by/4.0/).