Next Article in Journal
Design and Experiment of an Electric Control Spiral-Pushing Feed Mechanism for Field Fertilizer Applicator
Previous Article in Journal
A Decision Support System That Considers Risk and Site Specificity in the Assessment of Irrigation Water Quality (IrrigWQ)
 
 
Font Type:
Arial Georgia Verdana
Font Size:
Aa Aa Aa
Line Spacing:
Column Width:
Background:
Article

Service States and Reliability Analysis of Low-Voltage Circuit Breaker Overload Protection Considering the Safety Margin

1
Key Laboratory of Electromagnetic Field and Electrical Apparatus Reliability of Hebei Province, Hebei University of Technology, Tianjin 300401, China
2
State Key Laboratory of Reliability and Intelligence of Electrical Equipment, Tianjin 300401, China
*
Author to whom correspondence should be addressed.
Appl. Sci. 2023, 13(23), 12626; https://doi.org/10.3390/app132312626
Submission received: 21 October 2023 / Revised: 18 November 2023 / Accepted: 21 November 2023 / Published: 23 November 2023
(This article belongs to the Section Electrical, Electronics and Communications Engineering)

Abstract

:
The performance of low-voltage circuit breaker overload protection degrades slowly during service, and the service state cannot be simply described as a normal state or a fault state. To address this problem, a method is proposed to classify the operating state of low-voltage circuit breaker overload protection, taking into account the safety margin of action characteristics and a Markov-process-based operating state transfer model is established to accurately describe its actual service state. By analyzing the degradation of the overload protection performance of circuit breakers and simulating the state transfer with different operating conditions using circuit breaker reliability levels and operating time as the main variables, the change law of the service state with service time is determined. The method is not only applicable to the analysis and evaluation of circuit breakers with different reliability levels but also has guiding significance for improving the safe operation of distribution grid systems.

1. Introduction

A low-voltage circuit breaker is an important control and protection class of electrical appliance in low-voltage distribution networks that is used to cut off and turn on the load circuit as well as break overload faults and short-circuit faults and whose reliability has a direct impact on the reliability and security of the power system [1,2,3]. In the service process, the overload protection function of low-voltage circuit breakers may occur refusal or misoperation faults and the loss of overload protection function; moreover, equipment overload will produce a large amount of heat and its temperature rise limit is directly related to the quality and life of the product, resulting in equipment aging, insulation degradation, and affecting its service life [4,5,6]. Therefore, the study of low-voltage circuit breaker reliability technology for long-term stable and reliable operation of power systems is of great significance.
In the study of the reliability of circuit breaker overload protection, the success rate R is generally used to assess reliability [7], which can effectively check whether the circuit breaker overload protection is faulty or not; however, with improvement of the product design, manufacturing process, and material performance of low-voltage circuit breakers, their life span has been effectively increased and the verification method of the success rate of the protection needs to be further explored and researched. Reliability assessment methods based on failure time require a long test time as well as a large test sample and cannot accurately realize the reliability prediction of individual products in the actual service process. The number of protection function measurements at the same moment hardly affects whether the circuit breaker operates reliably or not and cannot accurately reflect the actual change in the reliability of the overload protection, so it is necessary to study the actual in-service state of overload protection of low-voltage circuit breakers. In the service process of the circuit breaker, its performance is gradually degraded and the overload protection action curve will deviate from the initial design curve, although the system is still in operation, but at this time the overload protection action characteristics of the working state are not good. In the same use environment, a high degree of decentralization of the product means it will not work or the probability of false action is greater, affecting the reliability of the product. For high-reliability long-life products, many scholars have reported on the performance degradation of the product service process for state classification and reliability research. Ref. [8] utilized infrared imaging technology to detect faults in power equipment, mining the information of the equipment operation state contained therein, and establishing a multi-state degradation model. Ref. [9] used a deep learning method to extract the degradation features of monitoring data and divide them into multiple states to achieve performance degradation assessment and maintenance optimization. Ref. [10] used the IK means algorithm to classify the degradation states of railroad contact networks and used the hidden Markov algorithm for state assessment of their performance degradation. The Markov process can describe the transfer between the different operating states of a device or system, which takes into account the randomness of the state transfer while also considering the temporal correlation of the appearance of each state, which is closer to the actual operation. Ref. [11] utilized the Markov process to accurately describe the actual service state of leakage protectors, which provided guidance for the development of periodic inspection strategies. Ref. [12] addressed the difficulty of comprehensively describing the system operating state of the power system under large disturbances, established a multi-state Markov model based on the model, and carried out a control strategy design based on the model constructed, which improved the transient stability of the AC/DC hybrid system. Ref. [13] utilized the Markov model to describe the transfer process between different fault states and proposed a method for evaluating the probability of the smooth operation state of DC circuit breakers of different topologies based on the characteristic parameters of the availability rate and fault rate. The Markov process is widely used in the reliability modeling and analysis of systems and plays a significant role in studying the reliability index of equipment in different operating environments. In recent years, artificial intelligence algorithms have been rapidly developed that do not need to obtain the product degradation distribution and life distribution and thus have been more applied in the field of switchgear and electrical appliances. The reliability modeling method based on AI algorithms is a method to use the degradation data containing failure information monitored in real time during experiments as a test or training data set and input it into the corresponding AI model for training, analysis, and determination [14,15,16]. Data-driven modeling methods based on artificial intelligence mainly include fuzzy comprehensive judgment method, gray theory, support vector machines, artificial neural networks, convolutional neural networks, and chaos theory methods [17,18,19,20,21,22,23]. The authors of [24] applied fuzzy theory to vacuum circuit breakers to establish parameters such as first-open-phase arc ignition time, back-open-phase arc ignition time, and first-open-phase distribution uniformity as a set of factors for judging the object and used the secondary judgment model to evaluate the state of circuit breakers, realizing the comprehensive judgment of the opening and breaking life of vacuum circuit breakers. Ref. [25] takes the motion speed of the moving contact of the high-voltage circuit breaker in the closing process as the characteristic quantity to characterize the mechanical failure and uses the improved generalized radial basis artificial neural network to identify the circuit breaker fault type, realizing the rapid fault diagnosis of a high-voltage circuit breaker. In references [26,27], the arc feature set of each break was established based on the real-time monitoring of voltage and current signals and the conditional density estimation was used to train the data and establish a prediction model for the relative residual electric life; shortly thereafter, the current waveform data of an AC contactor in AC-4 experimental conditions were used as the training and testing set and a prediction model was established by using a convolutional neural network to predict the resistance performance of an AC contactor. The prediction of electrical performance was realized by using a convolutional neural network to build a prediction model. Artificial-intelligence-based methods are characterized by strong adaptive ability, flexible modeling, and fewer assumptions; however, it is often difficult to obtain a comprehensive reliability assessment for products with multiple failure forms and small amounts of data.
The safety margin method is a method of reliability assessment using performance thresholds or margins as the characteristic covariates; different scholars have different meanings for its concept, sometimes it denotes the reliability, sometimes it is used to evaluate the riskiness of the system, etc. Ref. [28] proposed to utilize the static safety distance as a way to describe the safety margins of the grid as well as the branches. Ref. [29] used the remaining active power transfer capacity on the line as the safety margin of the line. Ref. [30] considered the different impacts of different security margins on load fluctuations for the rational planning of microgrids.
Based on the above research, this paper proposes a safety margin method based on action characteristics to classify the service state of a low-voltage circuit breaker overload protection system. Additionally, using the Markov state transfer model, the reliability assessment of low-voltage circuit breaker overload protection is carried out to realize the accurate description of its actual service state to solve the problem of the reliability assessment of protection appliances and to provide reference for the development of maintenance strategies.

2. Circuit Breaker Overload Protection Working Principle and Its Service Status

2.1. Working Principle of Circuit Breaker Overload Protection and Its Failure Analysis

Thermal release is the core component of the overload protection function of low-voltage circuit breakers, which is mainly composed of a heating element and a thermal bimetal. In this paper, overload experiments are carried out using a company’s molded-case circuit breakers that were produced in the same batch; the type of circuit breaker shell current rating Ie = 125 A and the rated voltage is 380 V. The structure of the composite heated thermal release is shown in Figure 1.
According to the law of conservation of energy, the differential equation of heat balance for a bimetal sheet is [31]:
P d t = c m d τ + K T A τ d t
where P is the total heating power, c is the specific heat capacity of the material, m is the mass of the heat generator, K T is the comprehensive heat dissipation coefficient, A is the effective heat dissipation area, τ is the temperature rise, P d t is the total heat generation, c m d τ is the heat storage, and K T A τ d t is the heat dissipation.
Considering the heat generation along with the heat dissipation to the surrounding medium, the solution to this differential equation is:
τ = τ w 1 e t / T + τ 0 e t / T
where τ w is the stabilized temperature rise, τ 0 is the initial temperature rise, and T is the thermal time constant.
A hot bimetal is fixed at one end and bent at the free end when heated, producing a deformation of:
f = K L 2 τ δ
where K is the specific bending ratio, L is the length, and δ is the thickness.
Thrust formula [32]:
F = K E b δ 2 4 L τ
where E is the modulus of elasticity and b is the height.
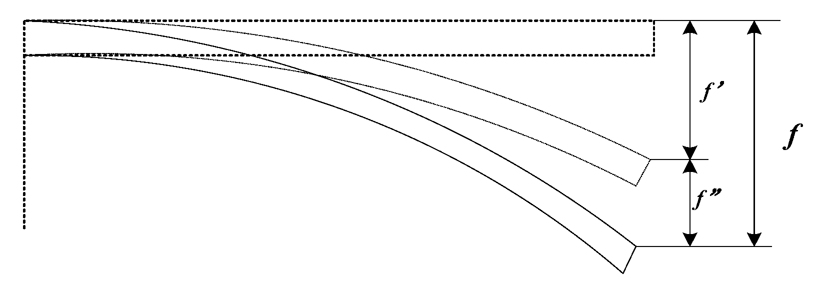
In practice, as shown in Figure 2 the thermal bimetal has a certain distance from the linkage mechanism and the bending displacement of the thermal bimetal is the empty stroke before encountering the obstruction, at which time the resulting thrust is calculated by the formula:
F = K E b δ 2 4 L τ E b δ 3 4 L 3 f
where f is the free-end air travel.
After the heating element is energized, the heat increases the temperature of the thermal bimetal through heat conduction, heat convection, and heat radiation, which leads to the deformation of the thermal bimetal. Furthermore, when the deformation distance reaches the decoupling distance, the thermal bimetal pushes the decoupling shaft of the circuit breaker to make the circuit breaker disconnect to realize the overload protection.
With an increase in the service time of the product, the overload protection action characteristics of low-voltage circuit breakers are gradually changed by the working environment and the degradation of its own performance and other factors. On the one hand, the dispersion of the action time becomes larger, on the other hand, the action time curve is gradually shifted, resulting in the action characteristics of the product no longer meeting the requirements of the national standards and ultimately manifesting in two failure modes, i.e., (1) when overloading of the power supply line or the power-using equipment occurs, the circuit breaker cannot act quickly and reliably and it cannot cut off the faulty line and does not act and (2) when there is no overloading of the power supply line or the power-using equipment, the circuit breaker breaks off the normally operating line, and the circuit breaker malfunctions.

2.2. Overload Protection Service State Considering Safety Margins for Action Characteristics

In the process of the degradation of the performance of low-voltage circuit breaker thermal disconnectors, the overload protection action time is selected as the characteristic quantity. When the action temperature rise of the thermal overload protection is τ d , the circuit breaker overload protection action time can be obtained from Equations (1) and (2):
t d = T l n τ w τ 0 τ w τ d
According to the provisions of the national standards, the action characteristic relationship of different overload currents of the circuit breaker can be calculated, as shown in Figure 3. Where the normal overload protection action characteristic is within the range of curve 2 and curve 3, curve 2 and curve 3 are called the upper limit and lower limit of the overload protection action time curve, respectively, indicating the maximum and minimum action times corresponding to each overload current value. Curves 1 and 4 represent the failure of the protection characteristics, indicating that the overload protection action time no longer meets the requirements for release. In practice, the overload protection action characteristic curve will be affected by various factors, producing a curve with an error band, and the more serious the influence, the wider the error band. In order to maintain the operating state of the equipment and the overload protection action characteristics for good cooperation, it is necessary to select the appropriate action curve according to the actual situation, reduce the amount of load loss, improve the service life of the equipment, and obtain a better adjustment effect for the overload protection [33,34].
The service processes of low-voltage circuit breaker overload protection action characteristics gradually change, so its performance degradation is relatively slow and the service state cannot be simply described as being in a normal state or fault state. Therefore, it is proposed that the action characteristics of low-voltage circuit breaker overload protection service state are divided into different states. Considering the actual service situation of the circuit breaker thermal release, the safety margin of the initial state of the low-voltage circuit breaker is defined as 1 and when the protective characteristics of the thermal release are degraded to the limit value the safety margin is 0; the expression of which is shown in Equation (7). The state grading is carried out according to the change in the safety margin, which is divided into five states.
Y t d , t = t m , i t d , i t m , i t c , i × 100 %
where t m , i is the current overload current that is allowed to protect the action time limit value (when the trend of action time change is gradually increasing the upper limit value is taken and vice versa), t d , i is the actual overload protection action time for current overload current, and t c , i is the initial overload protection action time for current overload current.
State 1 (healthy state): 100% ≥ safety margin > 60%, the action time of overload protection meets the standard requirements and has enough safety margin to withstand the influence of external factors without exceeding the limit of overload protection action time. The current state of the circuit breaker overload protection function itself is not faulty; its overload protection action time is the shaded part in Figure 4a. Under different overload currents, the circuit breaker overload protection can ensure normal operation and realize various specified functions without any maintenance work.
State 2 (mild degradation state): 60% ≥ safety margin > 30%, the overload protection action time can meet the standard requirements, the overall performance has been reduced, the action time curve has been shifted, the safety margin has been reduced, and the ability to withstand external influencing factors has been weakened. Its overload protection action time is shown as the shaded part in Figure 4b. Under different overload currents, the circuit breaker overload protection can meet the requirements. The main technical performance indicators of the equipment are within the permissible range; the overall performance has deteriorated but this will not affect normal operation and can be repaired as planned.
State 3 (heavy degradation state): 30% ≥ safety margin > 0%, the overload protection action time is in the limit edge state and its action characteristic performance is further degraded. Its overload protection action time is the shaded part in Figure 4c. Once affected by the external contingent factors, the overload protection action time will be out of the limit and the overload protection function of the circuit breaker enters into the faulty state, which can be chosen to be repaired. A part of the main technical performance of the equipment is degraded, there is a tendency to deteriorate, and there are a small number of bad working conditions recorded; however, it can still fulfill the main functions in the use of the time to strengthen the monitoring and pay attention to the trend of the state of health changes.
State 4 (general fault state): 0% ≥ safety margin > −20%, the overload protection action time does not meet the standard requirements. The overload protection action time is shaded in Figure 4d. Although it can complete the function of release, the action time is out of the standard range, which will lead to a large amount of heat being generated by the equipment or line and there is a potential danger; however, it will not cause damage to the equipment or line. The circuit breaker needs to be replaced or repaired. The major technical performance of the equipment is severely degraded, with a clear trend of deterioration and a record of poor working conditions, which may be considered for implementation of maintenance activities prior to the planned maintenance time.
State 5 (severe fault state): −20% ≥ safety margin, the overload protection action time does not meet the standard requirements or even cannot be released or closed, which is manifested as a failure to act or a malfunctioning fault. The overload protection action time is the shaded part in Figure 4e. If not dealt with in time, the normal operation of power supply lines or electrical equipment cannot be ensured, which may lead to significant economic losses; therefore, the circuit breaker should be replaced or repaired immediately.

3. Service Reliability Analysis of Low-Voltage Circuit Breaker Overload Protection Based on the Markov Process

The Markov model is a stochastic process that uses probability statistics to describe the state transfer of a device or system [35] and has an important feature of memorylessness, i.e., the next state of a device or system in operation depends only on the current state and is not affected by the previous state, i.e., at any time t n + 1 t n < t n + 1 , its state X t n + 1 is related only to X t n = x n and has nothing to do with X t 1 = x 1 ,   , X t n 1 = x n 1 . The relationship between the five service states of low-voltage circuit breaker overload protection can be described as a Markov process in which the next state depends only on the current state, satisfying the Markov property. In order to better utilize the Markov model to describe the state transfer of LV circuit breaker overload protection, the following assumptions are made:
(1) The initial operating moment of the low-voltage circuit breaker is in a healthy state (state 1) and the degradation of the circuit breaker’s thermal disconnectors’ performance up to the severe fault state (state 5) is degraded step by step.
(2) The currently observed state is the result of the cumulative effect of the operating time and different factors prior to the observation point.
(3) The degradation of the low-voltage circuit breaker thermal release performance has a continuous time Markovian nature, where the evolution of the future state of the circuit breaker in the current state does not depend on the previous state, i.e., there is no memory effect.
(4) The degradation trend of low-voltage circuit breaker thermal release performance remains monotonic, i.e., if the trend of overload protection action time change is increasing, its action time will keep increasing and eventually exceed the upper limit of the action time, resulting in a refusal failure for the circuit breaker. If the trend of the overload protection action time change is decreasing, its action time will keep decreasing and eventually exceed the lower limit of the action time, resulting in a malfunctioning failure for the circuit breaker.
(5) The linear degradation model is utilized to describe the degradation of the performance of the thermal release of the low-voltage circuit breaker, and the degradation model of the overload protection action characteristics is as follows:
t d U t = t d 0 + β U t
where t d U t is the time of the overload protection action time, t d 0 is the circuit breaker overload protection action time of the initial value, with a normal distribution to describe its dispersion expressed as t d 0 ~ N ( μ d 0 , σ d 0 2 ) . The action time degradation rate is expressed as β , and also described by a normal distribution, i.e., β ~ N ( μ β , σ β 2 ) ; the mean value of μ β can be positive or negative. When β < 0 is manifested as a gradual decrease in the overload protection action time, it may cause false faults, and when the opposite is true, it may cause refusal faults.
Describing the degradation process using a linear degradation model helps to analyze the effect of thermal release performance degradation on the service state of low-voltage circuit breaker overload protection. When the degradation model adopts other forms, the analytical process in this paper can also be referred to.
(6) Circuit breakers that are subject to environmental temperature, altitude, salt spray, humidity, mold, and other factors, the operating conditions of low-voltage circuit breakers are divided into three cases [11]: good operating conditions (such as office or residential premises), general operating conditions (such as commercial or light industrial production and other places), and poor operating conditions (outdoor, agricultural network and heavy industrial production and other places). The degradation rates of the overload protection action times for low-voltage circuit breakers under different operating conditions are different.
(7) The upper threshold for a degradation failure of the thermal release of a low-voltage circuit breaker is the overload protection action time t max , whereas the lower threshold is the action time t min . The reliability level of a low-voltage circuit breaker affects the dispersion of the initial overload protection action time and the rate of action time degradation β . The higher the reliability level of a circuit breaker, the lower the dispersion of the initial overload protection action time t d 0 ; the lower β means that the circuit breaker can work reliably for a longer period of time and there is a higher probability of it being in a healthy operating condition.
Since there are two trends in the change of overload protection action time, in order to more clearly describe the change trend of the overload protection action characteristics of a low-voltage circuit breaker and its impact on the service state, the linear degradation model was used to analyze the degradation of the overload protection action time, as shown in Figure 5. In the figure, μ 0 represents the design parameter of the circuit breaker overload protection action time. The actual overload protection action time can be described using a normal distribution with a mean value of μ 0 . T and T in the figure represent the failure time, corresponding to the occurrence of a malfunction fault or refusal fault of the circuit breaker overload protection, i.e., the average lifetime of the thermal release of the low-voltage circuit breaker.
Based on the above assumptions, the low-voltage circuit breaker overload protection service state transfer process is as follows:
In Figure 6, the transfer probability λ i Δ t is the state transfer probability between the states of low-voltage circuit breaker overload protection at Δt time, which is satisfied by the service state transfer probability:
p i j ( Δ t ) = P [ X ( t + Δ t ) = j X ( t ) = i ] p i i ( Δ t ) = P [ X ( t + Δ t ) = i X ( t ) = i ] i , j = 1 , 2 , 3 , 4 , 5 p i i ( Δ t ) + j i p i j ( Δ t ) = 1
where p i j Δ t is the state i of the circuit breaker in t moments, in t + Δ t moments there is a probability of state transfer to state j , and p i i Δ t is the state i of the circuit breaker in t moments, in t + Δ t moments there is a probability of maintaining state i .
According to Equation (9), the transfer probability is written in matrix form and denoted as:
P ( Δ t ) = 1 λ 1 Δ t λ 1 Δ t 0 0 0 0 1 λ 2 Δ t λ 2 Δ t 0 0 0 0 1 λ 3 Δ t λ 3 Δ t 0 0 0 0 1 λ 4 Δ t λ 4 Δ t 0 0 0 0 1
Continuous time chi-squared Markov chains have an important feature [36]:
q i j = lim Δ t 0 p i j ( Δ t ) Δ t , i j q i i = lim Δ t 0 1     p i i ( Δ t ) Δ t
Then, the corresponding transfer density matrix M is:
M = lim Δ t 0 P Δ t I Δ t = λ 1 λ 1 0 0 0 0 λ 2 λ 2 0 0 0 0 λ 3 λ 3 0 0 0 0 λ 4 λ 4 0 0 0 0 0
where I is the unit matrix.
According to the full probability formula, the state probability of t + Δ t moments in any state j is [13]:
p j ( t + Δ t ) = i = 1 5 p i ( t ) p i j ( Δ t )
The matrix form is:
P ( t + Δ t ) = P ( t ) P ( Δ t )
where the probability of the state i at time t pi(t) = P(X(t) = i), i = 1 ~ 5 , the state probabilities P(t) = (p1(t), p2(t), p3(t), p4(t), p5(t)), P(t + Δt) = (p1(t + Δt), p2(t + Δt), p3(t + Δt), p4(t + Δt), p5(t + Δt)).
By the definition of differentiation, let converge go to 0:
lim Δ t 0 P ( t + Δ t ) P ( t ) Δ t = d P ( t ) d t
Solve Equations (14) and (15) together and the probability of each state at the initial moment is P 0 = 1 , 0 , 0 , 0 , 0 , then the state probability of the state at any moment is:
d p 1 ( t ) d t = λ 1 p 1 ( t ) d p 2 ( t ) d t = λ 1 p 1 ( t ) λ 2 p 2 ( t ) d p 3 ( t ) d t = λ 2 p 2 ( t ) λ 3 p 3 ( t ) d p 4 ( t ) d t = λ 3 p 3 ( t ) λ 4 p 4 ( t ) d p 5 ( t ) d t = λ 4 p 4 ( t )
In the service process of low-voltage circuit breakers, there are multiple operating states of their thermal overload protection action characteristics and these states are transferred with the degradation of their performance; the Markov model can accurately describe this state transfer phenomenon. The state probabilities of the operating states of the circuit breaker overload protection in service can be obtained through Equation (16).

4. Simulation Analysis and Verification

4.1. Analog Simulation Analysis Process

In order to simulate the impact of product quality and the operating environment on reliability, two products with different reliability levels and three different performance degradation rates were used to analyze the operating state of circuit breaker overload protection in service. The Monte Carlo method was used to simulate the circuit breaker overload protection operation scenario and analyze the transfer of each state during the service process of the circuit breaker; the simulation flow of the reliability of the low-voltage circuit breaker overload protection based on the linear degradation of the performance of the thermal cutoff is shown in Figure 7. The simulation parameter setting includes the setting of parameters such as simulation years, upper and lower action time limits, and action time cloth parameters.
In order to facilitate the simulation and simulation analysis, the circuit breaker operating conditions are assumed [20], and the simulation and analysis process is as follows:
(1) The larger the number of samples, the closer it is to reality. In this paper, the number of samples of low-voltage circuit breakers was selected as n = 10,000 and the simulation period was selected as 20 years.
(2) Low-voltage circuit breaker overload protection action time standardization. The upper limit of the standard action time t max was standardized as 1, the lower limit of the standard action time t m i n was standardized as 0, and the initial circuit breaker action time t d 0 was standardized as 0.5.
(3) Low-voltage circuit breaker overload protection action time degradation may be increased or decreased, assuming that the overload protection action time increase and decrease probabilities are the same but the action time dispersion of different batches of products by different operating conditions and reliability levels are different. Without maintenance [37], it is assumed that 40% and 50% of the circuit breaker overload protection action times for Product I and Product II meet the requirements after 20 years of service under good operating conditions, that it is 30% and 40% under normal operating conditions, and that it is 20% and 30% under severe operating conditions.
Based on the above assumptions, the annual degradation rate of LV circuit breakers under different operating conditions and different reliability levels is calculated ( β ); the calculation process is as follows:
p i = P i 0 μ d 0 * + 20 β 1 , i = 1 6
where μ d 0 * = 0.5. p 1 and p 2 , p 3 and p 4 , and p 5 and p 6 correspond to the probability that the overload protection action time of the two products in service for 20 years under good, general, and poor operating conditions is within the required range, pi = (0.40, 0.50, 0.30, 0.40, 0.20, 0.30).
Transform Equation (17) into a standard normal distribution:
Φ ( 0.025 μ β i * σ β i * ) Φ ( 0.025 μ β i * σ β i * ) = p i , i = 1 6
where μ β i * = 0 .
Utilize the properties of the normal distribution:
Φ ( 0.025 μ β i * σ β i * ) + Φ ( 0.025 μ β i * σ β i * ) = 1 , i = 1 6
We can obtain:
Φ ( 0.025 μ β i * σ β i * ) = 1 + p i 2 , i = 1 6
Through Equation (20), the variance in the degradation rate of the overload protection action time of LV circuit breakers under different operating conditions and different reliability levels can be obtained by using the standard normal distribution table.
(4) Through Equation (21), the probability values for different service states of LV circuit breaker overload protection at a certain moment are counted.
p i = P ( X ( t ) = i ) = n i n , i = 1 ~ 5
where n i is the number of circuit breakers that are in state i at moment t.
Then, each moment point is fitted to obtain the probability curve of each service state of overload protection for low-voltage circuit breakers.
After the above analysis, the overload protection action time degradation cloth parameters can be determined as shown in Table 1.

4.2. Simulation Results and Analysis

The Monte Carlo method was used to simulate the operation scenario of low-voltage circuit breaker overload protection, and the service state of low-voltage circuit breaker overload protection action characteristics was simulated and analyzed according to the degradation rate parameter and the distribution parameter at different reliability levels and under different operating conditions.
The transfer analysis of different service states of low-voltage circuit breaker overload protection action characteristics was carried out with class I products under good operating conditions as an example. The results are shown in Figure 8.
From the figure, it can be seen that the overload protection of low-voltage circuit breakers shifts between five states: a healthy state, a mildly degraded state, a heavily degraded state, a general fault state, and a severe fault state. In the absence of maintenance, with an increase in service time the number of circuit breakers in the same batch in the healthy state gradually decreases and the number of circuit breakers in the severe fault state continues to increase. In addition, the mild degradation, severe degradation, and general failure states are transition states; however, the laws presented are basically the same, all of which increase first, then decrease, and eventually transfer to the severe failure state.
Analyzing the transfer of the service states of class I products under three operating conditions, the results are shown in Figure 9.
From the figure, it can be seen that the service state transfer law of low-voltage circuit breaker overload protection action characteristics under different operating conditions is consistent. When comparing good operating conditions with poor operating conditions, the same level of reliability for the low-voltage circuit breaker overload protection in a healthy state of probability is higher and the transition to the probability of heavy failure is lower; the state transfer rate between the service state is also low and the general operating conditions of the circuit breaker service state is between the two. This is also consistent with the fact that, in practice, circuit breakers are more susceptible to damage under poorer operating conditions.
The transfer of the service state of the overload protection action characteristics of circuit breakers with different reliability levels during service is shown in Figure 10. From the figure, it can be seen that the service state transfer law of the overload protection action characteristics of low-voltage circuit breakers under different circuit breaker reliability levels is consistent. Under the same operating conditions, the higher the reliability level of the circuit breaker, the higher the probability of the circuit breaker being in a healthy state, the lower the probability of transferring to the fault state, and the state transfer rate between the service states is relatively low. In contrast, the lower the reliability level of the circuit breaker, the higher the probability of transferring to the fault state. This is also consistent with the phenomenon that better quality products are less likely to break down.
Through simulation analysis, it can be found that the reliability model of low-voltage circuit breaker overload protection based on the Markov process can simulate the change in its reliability during the service process, which can be used to formulate the maintenance strategy according to the actual service situation and provide a theoretical basis for improving the safe operation of the distribution grid system.

4.3. Analysis of the Effect of Periodic Maintenance on the Reliability of Circuit Breaker Overload Protection

Generally, the reliability of the power system is required to be 0.999 and above, i.e., the probability of the circuit breaker overload protection being in the normal state needs to be 0.999 or above. As shown in Figure 8, if overhaul is not taken into account, the circuit breakers with overload protection action times that do not meet the requirements will appear from the 29th month onwards, so regular inspection is required to guarantee the reliability and security of the power supply.
According to the state division method established in this paper, it is defined that the circuit breaker needs to be repaired when the safety margin is close to zero. Take class I products under good operating conditions as an example to analyze the probability of normal and faulty states at different inspection cycles, assuming that all the circuit breakers can be restored to the initial state after maintenance. It can be seen from Figure 8 that general faulty circuit breakers start to appear in the 29th month and serious faulty circuit breakers start to appear in the 35th month; therefore, it is chosen to carry out maintenance in the 28th month. It can be seen from Figure 11a that in an inspection cycle of 28 months, the circuit breakers need to be repaired. In a cycle of 28, the probability for the normal operating condition of the circuit breaker can be maintained at 0.999 and above. Keeping the reliability level of the circuit breaker unchanged, a simulation of the minimum inspection cycles under different operating environments is carried out; the results are shown in Table 2.
As can be seen from the table, under the guarantee of the same power supply reliability, the operating environment of the circuit breaker will affect its failure rate; to improve the reliability and safety of the power supply in worse the operating environments, the maintenance cycle should be shortened.
The current commonly used after-the-fact maintenance and planned maintenance strategies for circuit breakers have shortcomings such as high downtime losses and the tendency for over-maintenance.

5. Conclusions

In this paper, the following conclusions are obtained through the study of the reliability of circuit breaker overload protection.
(1) The reliability evaluation method for low-voltage circuit breaker overload protection considering the safety margin of action characteristics is proposed and the low-voltage circuit breaker overload protection is classified into five service states according to its overload protection characteristics, i.e., the healthy state, the mildly degraded state, the heavily degraded state, the general fault state, and the severe fault state, and the transfer between each state is Markovian.
(2) The degradation process model of the health state of low-voltage circuit breakers was established by using the Markov model to analyze the change rule for the service state of low-voltage circuit breakers with service time. The model is applicable to the analysis and assessment of circuit breakers with different reliability levels, which is of guiding significance for improving the safe operation of the distribution grid system.
(3) The overload protection reliability model based on linear degradation was constructed. The more severe the operating conditions, the higher the probability of transferring the LV circuit breaker overload protection to fault and the higher the state transfer rate. The higher the reliability level of the circuit breaker, the higher the probability of being in a healthy state and the lower the state transfer rate. It is proved that the service state division of an overload protection system using the safety margin method and the Markov state transfer model can accurately describe its actual service state, solve the reliability assessment problem of protection appliances, and provide reference for the development of maintenance strategies.

Author Contributions

Conceptualization, K.L. and X.P.; methodology, X.P.; software, B.H.; validation, K.L., X.P. and B.H.; formal analysis, K.L.; investigation, X.P.; resources, B.H.; data curation, X.P.; writing—original draft preparation, X.P.; writing—review and editing, X.P.; visualization, X.P.; supervision, K.L.; project administration, K.L.; funding acquisition, K.L. All authors have read and agreed to the published version of the manuscript.

Funding

This research was funded by the National Natural Science Foundation of China, grant number 51937004, and the plan of Hebei Provincial Science and Technology, grant number 21567605H.

Institutional Review Board Statement

Not applicable.

Informed Consent Statement

Not applicable.

Data Availability Statement

Data are contained within the article.

Conflicts of Interest

The authors declare no conflict of interest.

References

  1. Xu, Z. Fundamentals of Electrical Theory; Mechanical Industry Press: Beijing, China, 2014; pp. 1–3. [Google Scholar]
  2. Kim, K.; Joo, H.W.; Bae, C.Y.; Choi, J.; Kim, Y.G. 3D Simulation of Air Arc in the Molded Case Circuit Breaker. In Proceedings of the 2019 5th International Conference on Electric Power Equipment-Switching Technology (ICEPE-ST), Kitakyushu, Japan, 13–16 October 2019; pp. 239–242. [Google Scholar] [CrossRef]
  3. Kesim, M.; Yu, H.; Sun, Y.; Aindow, M.; Alpay, S. Corrosion, oxidation, erosion and performance of Ag/W-based circuit breaker contacts: A review. Corros. Sci. 2018, 135, 12–34. [Google Scholar] [CrossRef]
  4. Sun, S.; Zhang, W.; Wang, J.; Du, T.; Gao, H. Mechanical life prediction of low-voltage circuit breaker based on vibration detection during operation. Chin. J. Sci. Instrum. 2020, 41, 146–157. [Google Scholar] [CrossRef]
  5. He, Z.; Zhao, H. Electrical lifespan evaluation of miniature circuit breakers. Trans. China Electrotech. Soc. 2022, 37, 1031–1040. [Google Scholar] [CrossRef]
  6. Zhou, Y.; Hu, B.; Shao, C.; Huang, W.; Xie, K. Cascading failure analysis of power system considering current carrying capability degradation of aging lines. Electr. Power Autom. Equip. 2023, 43, 188–194. [Google Scholar] [CrossRef]
  7. Lu, J.; Li, K.; Du, T.; Ji, H. Reliability theory and test methods of moulded case circuit-breakers. Trans. China Electrotech. Soc. 2012, 27, 180–185. [Google Scholar] [CrossRef]
  8. Wang, J.; Yao, Z.; Zhao, C. A fault diagnosis method for power equipment based on spatiotemporal features of Infrared Images. Control Eng. China 2021, 28, 1683–1690. [Google Scholar] [CrossRef]
  9. Li, L. Equipment Multi-State System Degradation Assessment and Maintenance Optimization Based on Monitoring Data. Master’s Thesis, Southeast University, Nanjing, China, 2021. [Google Scholar] [CrossRef]
  10. Hou, X. Assessment of performance degradation of railway catenary based on IK-means and CHMM. Electr. Drive Locomot. 2021, 2, 140–145. [Google Scholar] [CrossRef]
  11. Li, K.; Hao, Y.; Zhao, C.; Dai, Y.; Guan, R. Service States and Reliability Analysis of Residual Current Device Based on Markov Process. Trans. China Electrotech. Soc. 2023, 38, 5061–5076. [Google Scholar] [CrossRef]
  12. Liu, Z.; Miao, S.; Li, L.; Wei, D.; Yao, K.; Fan, Z. Complementary controller of HVDC based on multi-state Markov model and inverse optimal theory. Electr. Power Autom. Equip. 2018, 38, 114–120. [Google Scholar] [CrossRef]
  13. Zhao, S.; Wang, B.; Hua, H.; Zhu, J. Reliability evaluation method of DC circuit breaker based on Markov model. Trans. China Electrotech. Soc. 2019, 34, 126–132. [Google Scholar] [CrossRef]
  14. Vaccaro, A.; Biadene, D.; Magnone, P. Remaining Useful Lifetime Prediction of Discrete Power Devices by means of Artificial Neural Networks. IEEE Open J. Power Electron. 2023, 1–9. [Google Scholar] [CrossRef]
  15. Hemdani, J.; Degaa, L.; Rizoug, N.; Chaari, A. State of Health Prediction of Lithium-Ion Battery Using Machine Learning Algorithms. In Proceedings of the 2023 9th International Conference on Control, Decision and Information Technologies (CoDIT), Rome, Italy, 3–6 July 2023; pp. 2729–2733. [Google Scholar] [CrossRef]
  16. Xu, J.; Wang, Y.; Xu, L. PHM-oriented sensor optimization selection based on multiobjective model for aircraft engines. IEEE Sens. J. 2015, 15, 4836–4844. [Google Scholar] [CrossRef]
  17. Zio, E. Some challenges and opportunities in reliability engineering. IEEE Trans. Reliab. 2016, 65, 1769–1782. [Google Scholar] [CrossRef]
  18. Wang, Z.; Cui, Y.; Shi, J. A framework of discrete-event simulation modeling for prognostics and health management (PHM) in airline industry. IEEE Syst. J. 2017, 11, 2227–2238. [Google Scholar] [CrossRef]
  19. Qi, B.; Park, H.S. Data-driven digital twin model for predicting grinding force. IOP Conf. Ser. Mater. Sci. Eng. 2020, 916, 6. [Google Scholar] [CrossRef]
  20. Farhat, M.H.; Chiementin, X.; Chaari, F.; Bolaers, F.; Haddar, M. Digital twin-driven machine learning: Ball bearings fault severity classification. Meas. Sci. Technol. 2021, 32, 044006. [Google Scholar] [CrossRef]
  21. Qin, Y.; Wu, X.; Luo, J. Data-model combined driven digital twin of life-cycle rolling bearing. IEEE Trans. Ind. Inform. 2022, 18, 1530–1540. [Google Scholar] [CrossRef]
  22. Che, C.; Wang, H.; Ni, X.; Lin, R.; Xiong, M. Residual Life Prediction of Aeroengine Based on 1D-CNN and Bi-LSTM. J. Mech. Eng. 2021, 57, 304–312. [Google Scholar] [CrossRef]
  23. Fu, Y.; Cao, H.; Gao, W.; Gao, W. Digital Twin Driven Remaining Useful Life Prediction for Aero-engine Turbine Discs. J. Mech. Eng. 2021, 57, 106–113. [Google Scholar] [CrossRef]
  24. Lin, X.; Zhang, G.; Hong, C. A study of fuzzy theory based comprehensive judgement on the interrupted electrical endurance of vacuum circuit breaker. Proc. CSEE 2000, 20, 4. [Google Scholar] [CrossRef]
  25. Wang, X.; Rong, M.; Wu, Y.; Liu, D. Method of quick fault diagnosis and new knowledge obtainment for high voltage circuit breaker expert system. Proc. CSEE 2007, 27, 5. [Google Scholar] [CrossRef]
  26. Wu, Z.; Wu, G.; Huang, H.; You, Y. A novel residual electrical endurance prediction method for low-voltage electromagnetic alternating current contactors. IEEE Trans. Compon. Packag. Manuf. Technol. 2015, 5, 465–473. [Google Scholar] [CrossRef]
  27. Cui, H.; Wu, Z.; Wu, G.; Xu, X.; You, Y.; Fang, Y. Convolutional neural networks for electrical endurance prediction of alternating current contactors. IEEE Trans. Compon. Packag. Manuf. Technol. 2019, 9, 1785–1793. [Google Scholar] [CrossRef]
  28. Chen, S.; Chen, Q.; Xia, Q. Steady-state security distance: Concept, model and meaning. Proc. CSEE 2015, 35, 600–608. [Google Scholar] [CrossRef]
  29. Lei, X.; Pan, S.; Guan, X.; Qu, Q. Transmission safety margin constrained unit commitment in power systems. Proc. CSEE 2014, 34, 5651–5658. [Google Scholar] [CrossRef]
  30. Sun, K.; Zhang, Q.; Wang, L.; Li, H.; Lv, M.; Hu, Z. Two-stage robust planning for microgrid considering security margin. Power Syst. Technol. 2020, 44, 4617–4626. [Google Scholar] [CrossRef]
  31. Zhou, Z.; Wang, X.; Du, D.; Li, Y.; Li, M. A coordination strategy between relay protection and stability control under overload conditions. Proc. CSEE 2013, 33, 146–153. [Google Scholar] [CrossRef]
  32. Hu, J. Study on thermal test stability for low voltage circuit breaker. Electr. Energy Manag. Technol. 2015, 17–20. [Google Scholar] [CrossRef]
  33. Wang, Z.; Li, J.; Chen, W.; Xiao, Z.; Zhang, X.; Xiao, H. Coordination and optimization method of line overload protection and control measures based on subsection iteration. Electr. Power Autom. Equip. 2021, 41, 114–121. [Google Scholar] [CrossRef]
  34. Fan, J.; Mao, A.; Liu, Y.; Wu, Z.; Wang, C. Analysis of the short time overload capability of the transmission section based on the load and ambient temperature curve. Power Syst. Prot. Control 2018, 46, 116–121. [Google Scholar] [CrossRef]
  35. Luo, Y.; Li, K.; Xiao, X.; Yi, C.; Li, B.; Li, X. Multi-Label Classification of power Quality Composite Disturbances Based on Markov Transfer Field and Resnet. Proc. CSEE 2023, 1–11. Available online: http://kns.cnki.net/kcms/detail/11.2107.TM.20230308.1022.017.html (accessed on 9 April 2023).
  36. Cui, H.; Xia, S.; Zhou, K.; Zhang, X.; Zhang, M.; Sun, Y. Reliability Prediction of 220 kV Circuit Breakers Based on Moffat Rest Hidden Markov Degradation Process. High Volt. Eng. 2021, 47, 2108–2116. [Google Scholar] [CrossRef]
  37. Feng, D.; Lin, S.; Zhang, A.; Sun, X.; Qin, N.; He, Z. Research on reliability prediction method for traction power supply equipment based on continuous time Markov degradation process. Proc. CSEE 2017, 37, 1937–1946. [Google Scholar] [CrossRef]
Figure 1. Composite heating thermal release structure. (1. Wire terminals. 2. Heating elements. 3. Hot bimetals. 4. Electromagnetic coils.).
Figure 1. Composite heating thermal release structure. (1. Wire terminals. 2. Heating elements. 3. Hot bimetals. 4. Electromagnetic coils.).
Applsci 13 12626 g001
Figure 2. Deformation of the bimetallic strip.
Figure 2. Deformation of the bimetallic strip.
Applsci 13 12626 g002
Figure 3. Protection characteristics and fail-safe characteristics.
Figure 3. Protection characteristics and fail-safe characteristics.
Applsci 13 12626 g003
Figure 4. Overload protection action time state change diagram.
Figure 4. Overload protection action time state change diagram.
Applsci 13 12626 g004
Figure 5. Circuit breaker action time change process.
Figure 5. Circuit breaker action time change process.
Applsci 13 12626 g005
Figure 6. Markov-process-based state transfer diagram for circuit breaker overload protection.
Figure 6. Markov-process-based state transfer diagram for circuit breaker overload protection.
Applsci 13 12626 g006
Figure 7. Simulation process of the reliability of circuit breaker overload protection based on linear degradation.
Figure 7. Simulation process of the reliability of circuit breaker overload protection based on linear degradation.
Applsci 13 12626 g007
Figure 8. Circuit breaker overload protection state transfer probability diagram.
Figure 8. Circuit breaker overload protection state transfer probability diagram.
Applsci 13 12626 g008
Figure 9. State transfer probability diagram under different operating conditions.
Figure 9. State transfer probability diagram under different operating conditions.
Applsci 13 12626 g009
Figure 10. State transfer probability diagram for different circuit breaker reliability levels.
Figure 10. State transfer probability diagram for different circuit breaker reliability levels.
Applsci 13 12626 g010
Figure 11. Minimum inspection frequency under different operating conditions. (a) Good operating conditions. (b) General operating conditions. (c) Severe operating conditions.
Figure 11. Minimum inspection frequency under different operating conditions. (a) Good operating conditions. (b) General operating conditions. (c) Severe operating conditions.
Applsci 13 12626 g011
Table 1. Overload protection action time degradation distribution parameters.
Table 1. Overload protection action time degradation distribution parameters.
Action Time
Parameter
Circuit Breaker Reliability Level and
Operating Conditions
Distribution
Parameters
Initial value tProduct I
Product II
t d 0 * ~ N ( 0.5 , 0.059 2 )
t d 0 * ~ N ( 0.5 , 0.027 2 )
Degradation rate β * Good operating conditionsProduct I β * ~ N ( 0 , 0.0481 2 )
Product II β * ~ N ( 0 , 0.3730 2 )
General operating conditionsProduct I β * ~ N ( 0 , 0.0641 2 )
Product II β * ~ N ( 0 , 0.0481 2 )
Severe operating conditionsProduct I β * ~ N ( 0 , 0.1000 2 )
Product II β * ~ N ( 0 , 0.0641 2 )
Table 2. Minimum inspection period.
Table 2. Minimum inspection period.
Operating ConditionsInspection Period/Month
Good30
General23
Severe15
Disclaimer/Publisher’s Note: The statements, opinions and data contained in all publications are solely those of the individual author(s) and contributor(s) and not of MDPI and/or the editor(s). MDPI and/or the editor(s) disclaim responsibility for any injury to people or property resulting from any ideas, methods, instructions or products referred to in the content.

Share and Cite

MDPI and ACS Style

Li, K.; Peng, X.; Hu, B. Service States and Reliability Analysis of Low-Voltage Circuit Breaker Overload Protection Considering the Safety Margin. Appl. Sci. 2023, 13, 12626. https://doi.org/10.3390/app132312626

AMA Style

Li K, Peng X, Hu B. Service States and Reliability Analysis of Low-Voltage Circuit Breaker Overload Protection Considering the Safety Margin. Applied Sciences. 2023; 13(23):12626. https://doi.org/10.3390/app132312626

Chicago/Turabian Style

Li, Kui, Xianfeng Peng, and Bokai Hu. 2023. "Service States and Reliability Analysis of Low-Voltage Circuit Breaker Overload Protection Considering the Safety Margin" Applied Sciences 13, no. 23: 12626. https://doi.org/10.3390/app132312626

APA Style

Li, K., Peng, X., & Hu, B. (2023). Service States and Reliability Analysis of Low-Voltage Circuit Breaker Overload Protection Considering the Safety Margin. Applied Sciences, 13(23), 12626. https://doi.org/10.3390/app132312626

Note that from the first issue of 2016, this journal uses article numbers instead of page numbers. See further details here.

Article Metrics

Back to TopTop