A Design Method and Application of Backfilling Hydraulic Supports in Reforming Top-Coal Caving Hydraulic Supports
Abstract
1. Introduction
2. Materials
3. Design Method of Replacing Top-Coal Caving Hydraulic Supports with Backfilling Hydraulic Supports
3.1. Design Process of Support Reconstruction
3.2. Stress Analysis of the Top-Coal Caving Hydraulic Support
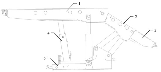
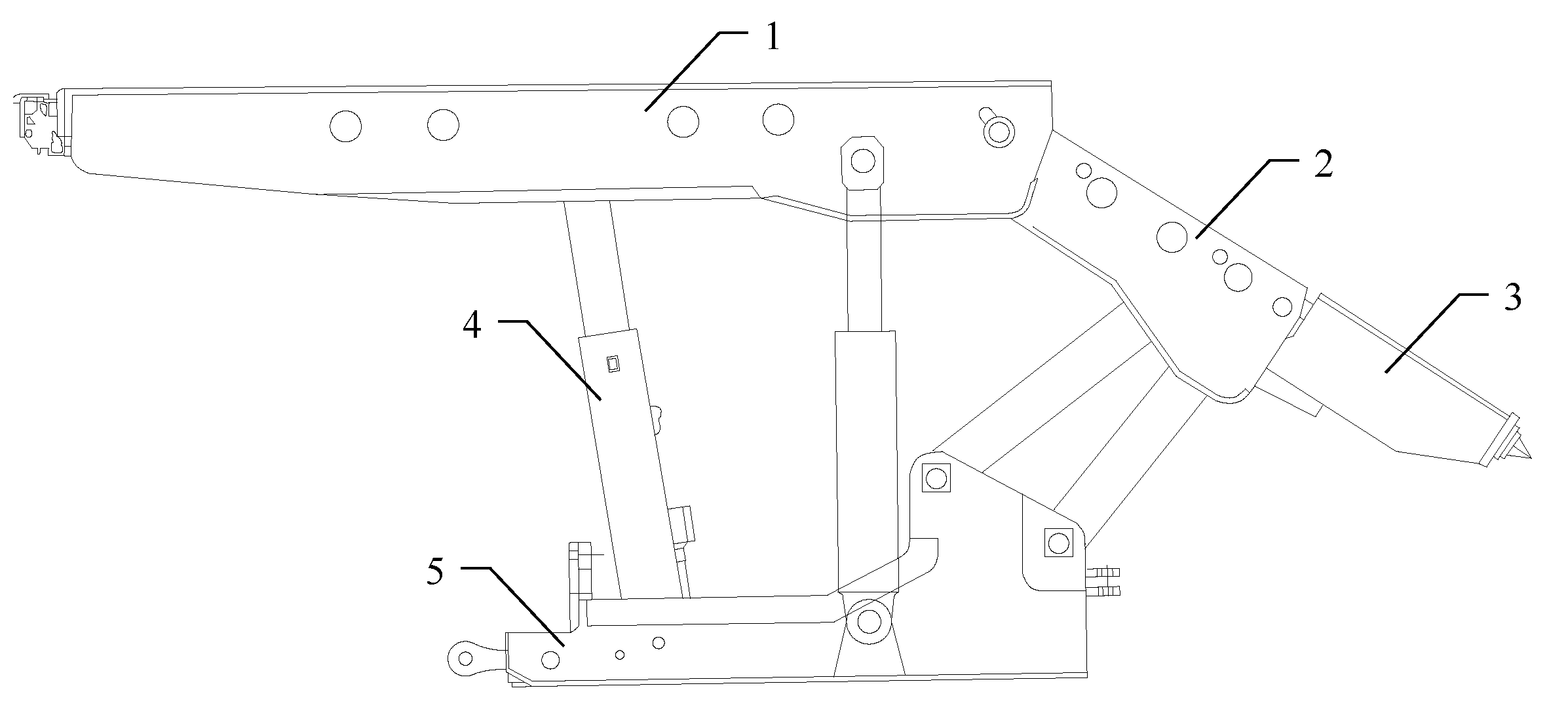
3.3. Basic Frame Parameters of the New Backfilling Hydraulic Support
3.4. Renovation and Optimization of Components
4. Mechanical Analysis and Strength Check of the Backfilling Hydraulic Support
4.1. Mechanical Analysis of the Backfilling Hydraulic Support
4.2. Strength Check of the Backfilling Hydraulic Support
5. Structural Analysis and Evaluation of the Backfilling Hydraulic Support
5.1. Structural Characteristics
5.2. Compaction Characteristics
5.3. Adaptability to Geological Conditions
5.4. Structural Interference Characteristics
6. Engineering Applications
7. Conclusions
- (1)
- The mechanical model of the top-coal caving hydraulic support and the backfilling hydraulic support was established to analyze its stress characteristics. The column load ratio under uniform load was 1:0.62:1.47. The stress of the rear column is the largest, followed by that of the front and middle columns. A numerical model was established using ABAQUS, and the simulated column load ratio was 1:0.67:1.64. The conclusions of theoretical analysis and numerical analysis verified the rationality of the support–structure reformation design.
- (2)
- Creo was used to build the skeleton model of the modified hydraulic support. The structural characteristics, compaction characteristics, geological adaptation characteristics, and structural interference characteristics of the new backfilling hydraulic support were analyzed using motion simulation. The suitable support interval for backfilling hydraulic support was consistent with the mining height range, verifying that the support performance after reconstruction meets the requirements.
- (3)
- The engineering application shows that the rock pressure at the working face supported by the backfilling hydraulic support is 47.5% lower than that at the collapsed working face. Additionally, the ramming force is just above 2.0 MPa, indicating that the support structure and performance meet the requirements. After the transformation, the utilization rate of the old parts exceeds 50%, which saves the manufacturing cost of the new backfilling hydraulic support and reduces the cost of coal mining per ton of filling and mining.
Author Contributions
Funding
Institutional Review Board Statement
Informed Consent Statement
Data Availability Statement
Acknowledgments
Conflicts of Interest
References
- Behera, S.K.; Mishra, D.P.; Singh, P.; Mishra, K.; Mandal, S.K.; Ghosh, C.N.; Kumar, R.; Mandal, P.K. Utilization of Mill Tailings, Fly Ash and Slag as Mine Paste Backfill Material: Review and Future Perspective. Constr. Build. Mater. 2021, 309, 125120. [Google Scholar] [CrossRef]
- Li, J.; Yilmaz, E.; Cao, S. Influence of Industrial Solid Waste as Filling Material on Mechanical and Microstructural Characteristics of Cementitious Backfills. Constr. Build. Mater. 2021, 299, 124288. [Google Scholar] [CrossRef]
- Ma, F.; Zhao, H.; Yuan, R.; Guo, J. Ground Movement Resulting from Underground Backfill Mining in a Nickel Mine (Gansu Province, China). Nat. Hazards 2015, 77, 1475–1490. [Google Scholar] [CrossRef]
- Huang, Y.; Wang, J.; Li, J.; Lu, M.; Guo, Y.; Wu, L.; Wang, Q. Ecological and Environmental Damage Assessment of Water Resources Protection Mining in the Mining Area of Western China. Ecol. Indic. 2022, 139, 108938. [Google Scholar] [CrossRef]
- Li, J.; Huang, Y.; Ouyang, S.; Guo, Y.; Gao, H.; Wu, L.; Shi, Y.; Zhu, L. Transparent Characterization and Quantitative Analysis of Broken Gangue’s 3D Fabric under the Bearing Compression. Int. J. Min. Sci. Technol. 2022, 32, 335–345. [Google Scholar] [CrossRef]
- Pomykała, R.; Kępys, W. The Properties of the Backfill Mixtures Based on Own Fine-Grained Waste. In Minefill 2020–2021, Proceedings of the 13th International Symposium on Mining with Backfill, Katowice, Poland, 25–28 May 2021; CRC Press-Balkema: Leiden, The Netherlands, 2021; pp. 102–107. [Google Scholar]
- Li, H.; Guo, G.; Zhai, S. Mining Scheme Design for Super-High Water Backfill Strip Mining under Buildings: A Chinese Case Study. Environ. Earth Sci. 2016, 75, 1017. [Google Scholar] [CrossRef]
- Niroshan, N.; Yin, L.; Sivakugan, N.; Veenstra, R.L. Relevance of SEM to Long-Term Mechanical Properties of Cemented Paste Backfill. Geotech. Geol. Eng. 2018, 36, 2171–2187. [Google Scholar] [CrossRef]
- Yilmaz, E.; Belem, T.; Benzaazoua, M. Effects of Curing and Stress Conditions on Hydromechanical, Geotechnical and Geochemical Properties of Cemented Paste Backfill. Eng. Geol. 2014, 168, 23–37. [Google Scholar] [CrossRef]
- Al-Moselly, Z.; Fall, M.; Haruna, S. Further Insight into the Strength Development of Cemented Paste Backfill Materials Containing Polycarboxylate Ether-Based Superplasticizer. J. Build. Eng. 2022, 47, 103859. [Google Scholar] [CrossRef]
- Sivakugan, N.; Veenstra, R.; Naguleswaran, N. Underground Mine Backfilling in Australia Using Paste Fills and Hydraulic Fills. Int. J. Geosynth. Ground Eng. 2015, 1, 18. [Google Scholar] [CrossRef]
- Yin, W.; Chen, Z.; Quan, K.; Mei, X. Strata Behavior at Fully-Mechanized Coal Mining and Solid Backfilling Face. SpringerPlus 2016, 5, 1611. [Google Scholar] [CrossRef] [PubMed]
- Yu, M.; Wu, M.; Yang, X.; Lou, R.; Wang, F.; Li, H.; Wang, L. Effect of Temperature on the Evolution and Distribution for Particle Size of Loose Broken Coal during the Uniaxial Confined Compression Process. Fuel 2022, 318, 123592. [Google Scholar] [CrossRef]
- Ermolovich, E.A.; Ivannikov, A.L.; Khayrutdinov, M.M.; Kongar-Syuryun, C.B.; Tyulyaeva, Y.S. Creation of a Nanomodified Backfill Based on the Waste from Enrichment of Water-Soluble Ores. Materials 2022, 15, 3689. [Google Scholar] [CrossRef] [PubMed]
- Khayrutdinov, A.M.; Kongar-Syuryun, C.B.; Kowalik, T.; Tyulyaeva, Y.S. Stress-Strain Behavior Control in Rock Mass Using Different-Strength Backfill. MIAB. Mining Inf. Anal. Bull. 2020, 10, 42–55. [Google Scholar] [CrossRef]
- Cavusoglu, I.; Yilmaz, E.; Yilmaz, A.O. Sodium Silicate Effect on Setting Properties, Strength Behavior and Microstructure of Cemented Coal Fly Ash Backfill. Powder Technol. 2021, 384, 17–28. [Google Scholar] [CrossRef]
- Cihangir, F.; Akyol, Y. Effect of Desliming of Tailings on the Fresh and Hardened Properties of Paste Backfill Made from Alkali-Activated Slag. Adv. Mater. Sci. Eng. 2020, 2020, 4536257. [Google Scholar] [CrossRef]
- Bywalski, C.; Drzazga, M.; Kaźmierowski, M.; Kamiński, M. Shear Behavior of Concrete Beams Reinforced with a New Type of Glass Fiber Reinforced Polymer Reinforcement: Experimental Study. Materials 2020, 13, 1159. [Google Scholar] [CrossRef]
- Behera, S.K.; Ghosh, C.N.; Mishra, D.P.; Singh, P.; Mishra, K.; Buragohain, J.; Mandal, P.K. Strength Development and Microstructural Investigation of Lead-Zinc Mill Tailings Based Paste Backfill with Fly Ash as Alternative Binder. Cem. Concr. Compos. 2020, 109, 103553. [Google Scholar] [CrossRef]
- Behera, S.K.; Mishra, D.P.; Ghosh, C.N.; Prashant; Mandal, P.K.; Singh, K.M.P.; Buragohain, J.; Singh, P.K. Strength and Micro-Structure Evolution of Compacted Soils Modified by Admixtures of Cement and Metakaolin. Appl. Clay Sci. 2016, 127–128, 44–51. [Google Scholar] [CrossRef]
- Panchal, S.; Deb, D.; Sreenivas, T. Mill Tailings Based Composites as Paste Backfill in Mines of U-Bearing Dolomitic Limestone Ore. J. Rock Mech. Geotech. Eng. 2018, 10, 310–322. [Google Scholar] [CrossRef]
- Li, J.; Huang, Y.; Chen, Z.; Zhang, J.; Jiang, H.; Zhang, Y. Characterizations of Macroscopic Deformation and Particle Crushing of Crushed Gangue Particle Material under Cyclic Loading: In Solid Backfilling Coal Mining. Powder Technol. 2019, 343, 159–169. [Google Scholar] [CrossRef]
- Deb, D.; Sreenivas, T.; Dey, G.K.; Panchal, S. Paste Backfill Technology: Essential Characteristics and Assessment of Its Application for Mill Rejects of Uranium Ores. Trans. Indian Inst. Met. 2017, 70, 487–495. [Google Scholar] [CrossRef]
- Libos, I.L.S.; Cui, L. Time- and Temperature-Dependence of Compressive and Tensile Behaviors of Polypropylene Fiber-Reinforced Cemented Paste Backfill. Front. Struct. Civ. Eng. 2021, 15, 1025–1037. [Google Scholar] [CrossRef]
- Chen, L.; Li, J.; Zhang, D.; Fan, G.; Zhang, W.; Guo, Y. Microscopic Fabric Evolution and Macroscopic Deformation Response of Gangue Solid Waste Filler Considering Block Shape under Different Confining Pressures. Sci. Rep. 2022, 12, 7388. [Google Scholar] [CrossRef] [PubMed]
- Zhang, Q.; Zhang, J.; Kang, T.; Sun, Q.; Li, W. Mining Pressure Monitoring and Analysis in Fully Mechanized Backfilling Coal Mining Face—A Case Study in Zhai Zhen Coal Mine. J. Cent. South Univ. 2015, 22, 1965–1972. [Google Scholar] [CrossRef]
- Zhang, Y.; Cao, J.; Jiang, L.; Liu, P.; Gui, X.; Yang, J. Simulation Research on Hydraulic Support Based Virtual Prototyping. In Proceedings of the 9th China-Russia Symposium Coal in the 21st Century: Mining, Intelligent Equipment and Environment Protection; Tan, Y., Chen, S., Eds.; Atlantis Press: Paris, France, 2018; Volume 176, pp. 173–179. [Google Scholar]
- Podkolzin, A.A. Improving the Quality of Hydraulic Powered Roof Support. Proc. Tula States Univ.-Sci. Earth 2016, 4, 215–221. [Google Scholar]
- Lu, J.; Wang, L.; Fang, Q.; Hu, J.; Liu, F.; Yang, W. Method of Structural Reliability Approximation Analysis Based on Neural Network for Structural Optimization of Hydraulic Support. In Proceedings of the 2015 Advanced Design Concepts and Practice (ADCP 2015), Hangzhou, China, 18–20 September 2015; Destech Publications, Inc.: Lancaster, UK, 2016; pp. 251–256. [Google Scholar]
- Yang, Y.; Zeng, Q. Impact-Slip Experiments and Systematic Study of Coal Gangue “Category” Recognition Technology Part I: Impact-Slip Experiments between Coal Gangue Mixture and Top Coal Caving Hydraulic Support and the Study of Coal Gangue “Category” Recognition Technology. Powder Technol. 2021, 392, 224–240. [Google Scholar] [CrossRef]
- Li, A.; Zheng, X.; Wang, W. Motion Simulation of Hydraulic Support Based on Unity 3D. In Proceedings of the First International Conference on Information Sciences, Machinery, Materials and Energy (ICISMME 2015), Chongqing, China, 11–13 April 2015; Ching, X., Dvorik, V., Eds.; Atlantis Press: Paris, France, 2015; Volume 126, pp. 623–626. [Google Scholar]
- Kunyu, X.; Tong, X.; Chengming, S.; Peng, Z.; Fei, M. Research Progress on Failure Analysis and Life Assessment of Key Components in Hydraulic Supports. China Surf. Eng. 2022, 35, 97–106. [Google Scholar] [CrossRef]
- Xie, J.; Wang, X.; Yang, Z.; Hao, S. Virtual Monitoring Method for Hydraulic Supports Based on Digital Twin Theory. Min. Technol. 2019, 128, 77–87. [Google Scholar] [CrossRef]
- Xie, J.; Wang, X.; Yang, Z.; Hao, S. Attitude-Aware Method for Hydraulic Support Groups in a Virtual Reality Environment. Proc. Inst. Mech. Eng. Part C J. Mech. Eng. Sci. 2019, 233, 4805–4818. [Google Scholar] [CrossRef]
- Bo, G. Stress analysis and kinematics simulation analysis of filling hydraulic support. Coal Chem. Ind. 2019, 42, 75–77+81. (In Chinese) [Google Scholar] [CrossRef]
- Qiang, Z.; Jixiong, Z.; Yang, T.; Feng, J.; Qiang, S. The theoretical research on basic characteristics of backfilling hydraulic support and its application. J. Min. Saf. Eng. 2014, 31, 845–851. (In Chinese) [Google Scholar] [CrossRef]
- Baojie, Y. Study on width optimization of gangue filling working face in Tangshan Mine. China Min. Mag. 2022, 31, 111–116. (In Chinese) [Google Scholar]
- Chengxiang, F. Research on surface subsidence in mining with solid filling under buildings in coal mine. Mine Surv. 2021, 49, 27–30. (In Chinese) [Google Scholar]

























| Objects | Parameters | Objects | Parameters | 
|---|---|---|---|
| Height (mm) | 1600~3200 | Initial support force (kN) | 5236 | 
| Width (mm) | 1420~1290 | Working resistance (kN) | 5600 | 
| Center distance (mm) | 1500 | Floor specific pressure (MPa) | 1.83 | 
| Project | Parameter | Project | Parameter | 
|---|---|---|---|
| Center distance | 1500 mm | Initial support | 2786 kN | 
| Height | 1600–3000 mm | Work resistance | 4800 kN | 
| Width | 1420–1590 mm | Support strength | 0.56 MPa | 
| Disclaimer/Publisher’s Note: The statements, opinions and data contained in all publications are solely those of the individual author(s) and contributor(s) and not of MDPI and/or the editor(s). MDPI and/or the editor(s) disclaim responsibility for any injury to people or property resulting from any ideas, methods, instructions or products referred to in the content. | 
© 2023 by the authors. Licensee MDPI, Basel, Switzerland. This article is an open access article distributed under the terms and conditions of the Creative Commons Attribution (CC BY) license (https://creativecommons.org/licenses/by/4.0/).
Share and Cite
Zhang, Q.; Shi, P.; Li, M.; Zong, T.; Song, W. A Design Method and Application of Backfilling Hydraulic Supports in Reforming Top-Coal Caving Hydraulic Supports. Appl. Sci. 2023, 13, 987. https://doi.org/10.3390/app13020987
Zhang Q, Shi P, Li M, Zong T, Song W. A Design Method and Application of Backfilling Hydraulic Supports in Reforming Top-Coal Caving Hydraulic Supports. Applied Sciences. 2023; 13(2):987. https://doi.org/10.3390/app13020987
Chicago/Turabian StyleZhang, Qiang, Peitao Shi, Meng Li, Tingcheng Zong, and Weijian Song. 2023. "A Design Method and Application of Backfilling Hydraulic Supports in Reforming Top-Coal Caving Hydraulic Supports" Applied Sciences 13, no. 2: 987. https://doi.org/10.3390/app13020987
APA StyleZhang, Q., Shi, P., Li, M., Zong, T., & Song, W. (2023). A Design Method and Application of Backfilling Hydraulic Supports in Reforming Top-Coal Caving Hydraulic Supports. Applied Sciences, 13(2), 987. https://doi.org/10.3390/app13020987
 
        




 
       