Experimental Study of the Fatigue Life of Off-Highway Steel Wheels Using the Rim Section Test Approach
Abstract
1. Introduction
- Comparison between rim sections fatigue test results and standard fatigue test results of specimens obtained from the base material, as received prior to the production process;
- Investigation of the residual stress state of both complete rim and rim section specimens;
- Hardness measurement of the rim section specimens to evaluate the influence of the local plastic deformation on the mechanical properties of the material.
2. Materials and Methods
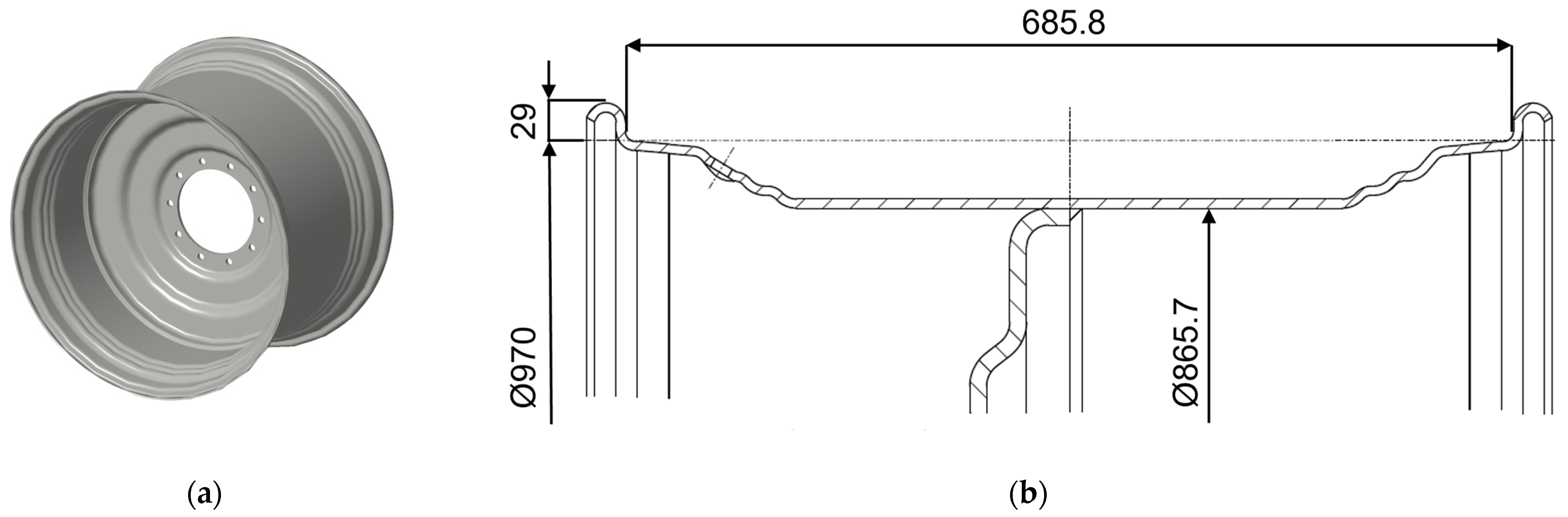
2.1. Wheel Geometry, Material Specifications, and Rim Production Process
- Rim band coiling;
- Flash butt welding;
- Flaring;
- Cold roll forming;
- Final expanding;
- Valve hole punching.
2.2. Description of Test Machines, Fatigue Tests Setup, and Specimen Geometry
2.2.1. Test Machine for Rim Section Fatigue Tests
- The hydraulic actuator, with a maximum load capacity of 100 kN;
- The Hydraulic Power Unit (HPU), allowing a maximum oil flow of 62.5 L/min at 207 bar pressure;
- The Controller, which allows a real-time closed-loop control of the system in load or displacement mode.
2.2.2. Geometry of the Specimens for Rim Section Fatigue Tests
2.2.3. Test Machine for Uniaxial Fatigue Tests
2.2.4. Geometry of the Specimens for Uniaxial Fatigue Tests
3. Results and Discussion
3.1. Fatigue Test Results of Rim Section Specimens
3.2. Comparison of the Fatigue Test Results between Rim Section Testing and Base Material Testing
3.3. Residual Stress Measurement
- The rim axial direction, named as x;
- The rim circumferential direction, named as y.
3.4. Surface Hardness Measurement
- Zone 1: at minimum 3 cm-distance from the radius, along the axial direction. Here the deformation is negligible. This zone is named as “flat”, henceforth;
- Zone 2: the radius under investigation, where plastic deformation is present.
4. Conclusions
- The rim section test approach was confirmed to be a valid approach which can be used in fatigue testing when standard dynamic radial tests on the complete wheel are not feasible. Customized specimen geometry was studied by FEA and specimens were subjected to bending fatigue tests. The target of creating a S-N curve for the component in the most critical area was achieved. Specimens from two different rims showed slightly different fatigue strength at 2 × 106 cycles. As a result, further investigations are planned to improve the knowledge about the influence of the production process parameters on the fatigue properties of this component;
- Bending test results of rim section specimens were compared to traction test results of hourglass specimens obtained from the base material. The comparison was made to consider the shortcomings that can be derived from the improper use of standard fatigue data from the technical literature. The results show a ratio between 1.36 and 1.5 between the fatigue strength of rim section specimens and the hourglass specimens from the base material. This is due not only to the different load condition but also to the effects of the production process on the final surface condition of the material. Therefore, the section test approach seems more appropriate to consider the local geometry of the component and its surface condition;
- The residual stress state of the component after the production process was investigated, both on the complete rim and on section specimens obtained from the same rim. The results show the presence of mainly compressive residual stresses along the axial direction for the complete rim. They should be beneficial for the fatigue strength of the component in service conditions. However, the compressive residual stresses were released after the manufacturing of the rim section specimens. Therefore, it seems that this aspect is not considered properly by the section test approach;
- Surface hardness was measured on four specimens to assess the effect of the local plastic deformation on the material properties. The results show a slight increase of the hardness in the radius, where plastic deformation occurs, leading to increased material strength in that area. This was confirmed by the fatigue test results of Section 3.1. Also, on average, the results are better for specimens from Rim 1, which, in fact, had better fatigue life results. More extensive hardness measurements are planned to investigate this aspect further;
- The section test approach, here investigated to compensate the shortcomings of standard fatigue testing for off-highway wheels, could also be tailored to different components subjected to fatigue in service.
Author Contributions
Funding
Institutional Review Board Statement
Informed Consent Statement
Data Availability Statement
Acknowledgments
Conflicts of Interest
References
- Solazzi, L. Wheel rims for industrial vehicles: Comparative experimental analyses. Int. J. Heavy Veh. Syst. 2011, 18, 214–225. [Google Scholar] [CrossRef]
- EUWA. Association of European Wheel Manufacturers. 2023. Available online: https://www.euwa.org (accessed on 8 November 2022).
- SAE International. Society of Automotive Engineers. 2023. Available online: https://www.sae.org (accessed on 8 November 2022).
- Solazzi, L.; Mazzoni, A.; Cima, M. Development of an innovative test machine for tyre, wheel and suspension systems for automotive and industrial vehicles. UPjeng 2023, 9, 102–120. [Google Scholar] [CrossRef]
- Kocabicak, U.; Firat, M. Numerical analysis of wheel cornering fatigue tests. Eng. Fail. Anal. 2001, 8, 339–354. [Google Scholar] [CrossRef]
- Grubisic, V.; Fischer, G. Automotive Wheels, Method and Procedure for Optimal Design and Testing; SAE Technical Paper 830135; SAE International: Warrendale, PA, USA, 1983. [Google Scholar] [CrossRef]
- Wheel Standards Committee. Biaxial Wheel Fatigue Test; SAE International: Warrendale, PA, USA, 2016. [Google Scholar] [CrossRef]
- Kinstler, J. The Science and Methodology of SAE Wheel Fatigue Test Specifications. SAE Trans. 2005, 114, 816–826. [Google Scholar]
- Firat, M.; Kozan, R.; Ozsoy, M.; Mete, O.H. Numerical modeling and simulation of wheel radial fatigue tests. Eng. Fail. Anal. 2009, 16, 1533–1541. [Google Scholar] [CrossRef]
- Cheng, L.; Nianzu, R.; Qingsong, Y.; Chao, C.; Cheng, T.; Zhengguo, L. Stress State Measurement and Result Analysis of Car Wheels. IOP Conf. Ser. Mater. Sci. Eng 2020, 784, 012021. [Google Scholar] [CrossRef]
- Topaç, M.M.; Ercan, S.; Kuralay, N.S. Fatigue life prediction of a heavy vehicle steel wheel under radial loads by using finite element analysis. Eng. Fail. Anal. 2012, 20, 67–79. [Google Scholar] [CrossRef]
- Loi, C.Y.; Choy, H.Y. Modelling and Fatigue Analysis of Automobile Wheel Rim. In Proceedings of the 2019 5th International Conference on Control, Automation and Robotics (ICCAR), Beijing, China, 19–22 April 2019; pp. 696–701. [Google Scholar] [CrossRef]
- Sonsino, C.M.; Breitenberger, M.; Krause, I.; Pötter, K.; Schröder, S.; Jürgens, K. Required Fatigue Strength (RFS) for evaluating of spectrum loaded components by the example of cast-aluminium passenger car wheels. Int. J. Fatigue 2021, 145, 105975. [Google Scholar] [CrossRef]
- Mazzoni, A.; Solazzi, L. Experimental field test on a multipiece steel wheel and influence of the material properties on its fatigue life evaluation. Eng. Fail. Anal. 2022, 135, 106106. [Google Scholar] [CrossRef]
- Cima, M.; Solazzi, L. Experimental and analytical study of random fatigue, in time and frequencies domain, on an industrial wheel. Eng. Fail. Anal. 2021, 120, 105029. [Google Scholar] [CrossRef]
- Marques, J.M.E.; Solazzi, L.; Benasciutti, D. Fatigue Analysis of Nonstationary Random Loadings Measured in an Industrial Vehicle Wheel: Uncertainty of Fatigue Damage. Metals 2022, 12, 616. [Google Scholar] [CrossRef]
- Das, B.; Paul, S.K.; Singh, A.; Arora, K.S.; Shome, M. The effect of thickness variation and pre-strain on the cornering fatigue life prediction of a DP600 steel wheel disc. Int. J. Fatigue 2020, 139, 105799. [Google Scholar] [CrossRef]
- McGrath, P.J. An Investigation of Residual Stresses Induced by Forming Processes on the Fatigue Resistance of Automotive Wheels. Ph.D. Thesis, University of Plymouth, Plymouth, UK, 2001. [Google Scholar]
- McGrath, P.J.; Hattingh, D.G.; James, M.N.; Els-Botes, A. Effects of Forming Process on Fatigue Performance of Wheel Centre Disc. In Proceedings of the ECF13: European Conference on Fracture: Fracture Mechanics: Applications and Challenges, San Sebastian, Spain, 6–9 September 2000. [Google Scholar]
- Shang, D.; Liu, X.; Shan, Y.; Jiang, E. Research on the stamping residual stress of steel wheel disc and its effect on the fatigue life of wheel. Int. J. Fatigue 2016, 93, 173–183. [Google Scholar] [CrossRef]
- Jiang, Q.; Zhao, Z.; Xu, Z.; Sun, J.; Chen, X.; Su, B.; Zhao, Z.; Jiang, W. Effect of Residual Stresses on Wheel Fatigue Life and Experimental Validation. Machines 2022, 10, 924. [Google Scholar] [CrossRef]
- Solazzi, L. Applied Research for Weight Reduction of an Industrial Trailer. FME Trans. 2012, 40, 57–62. [Google Scholar]
- Wei, D.C. Rim Section Fatigue Results of Aluminum and Steel Wheels. SAE Trans. 1982, 91, 1296–1304. [Google Scholar]
- ISO 377:2017; Steel and Steel Products—Location and Preparation of Samples and Test Pieces for Mechanical Testing. International Organization for Standardization (ISO): Geneva, Switzerland, 2017.
- ASTM E739-23; Standard Guide for Statistical Analysis of Linear or Linearized Stress-Life (S-N) and Strain-Life (ε-N) Fatigue Data. American Society for Testing and Materials (ASTM): West Conshohocken, PA, USA, 2023.
- Nakazawa, H.; Kodama, S. Statistical S-N testing method with 14 specimens: JSME standard method for determination of S-N curves. Stat. Res. Fatigue Fract. 1987, 2, 59–69. [Google Scholar]
- Palin-Luc, T.; Lasserre, S. An energy based criterion for high cycle multiaxial fatigue. Eur. J. Mech.-A/Solids 1998, 17, 237–251. [Google Scholar] [CrossRef]
- Withers, P.J.; Bhadeshia, H.K.D.H. Residual stress. Part 1—Measurement techniques. Mater. Sci. Technol. 2001, 17, 355–365. [Google Scholar] [CrossRef]
- Withers, P.J.; Bhadeshia, H.K.D.H. Residual stress. Part 2—Nature and origins. Mater. Sci. Technol. 2001, 17, 366–375. [Google Scholar] [CrossRef]
- Donzella, G.; Pola, A.; Solazzi, L.; Marconi, G. Effect of shot peening on carburized surfaces. Int. J. Mater. Prod. Technol. 2000, 15, 17–130. [Google Scholar] [CrossRef]
- Morrow, J.; Ross, A.S.; Sinclair, G.M. Relaxation of Residual Stresses due to Fatigue Loading; SAE International: Warrendale, PA, USA, 1960; p. 600008. [Google Scholar] [CrossRef]
- Zhuang, W.Z.; Halford, G.R. Investigation of residual stress relaxation under cyclic load. Int. J. Fatigue 2001, 23, 31–37. [Google Scholar] [CrossRef]
- Capello, E.; Davoli, P.; Filippini, M.; Foletti, S. Relaxation of residual stresses induced by turning and shot peening on steels. J. Strain Anal. Eng. Des. 2004, 39, 285–290. [Google Scholar] [CrossRef]
- McCLUNG, R.C. A literature survey on the stability and significance of residual stresses during fatigue. Fatigue Fract. Eng. Mater. Struct. 2007, 30, 173–205. [Google Scholar] [CrossRef]
- De Giorgi, M. Residual stress evolution in cold-rolled steels. Int. J. Fatigue 2011, 33, 507–512. [Google Scholar] [CrossRef]
- Dattoma, V.; De Giorgi, M.; Nobile, R. An experimental study on residual stress relaxation in low-cycle fatigue of Inconel 718Plus. Fatigue Fract. Eng. Mater. Struct. 2023, 46, 310–324. [Google Scholar] [CrossRef]
- Goswami, M.; Goyal, S.; Kumar, A.; Harmain, G.A.; Albert, S.K. Effect of Triaxial State of Stress on Tensile Behavior of Modified 9Cr-1Mo Steel. J. Mater. Eng. Perform. 2020, 29, 1579–1588. [Google Scholar] [CrossRef]
- ASTM A370-22; Standard Test Methods and Definitions for Mechanical Testing of Steel Products. American Society for Testing and Materials (ASTM): West Conshohocken, PA, USA, 2022.




















| C | Mn | P | S | Si | Al | Cu | Ni | Cr | N |
|---|---|---|---|---|---|---|---|---|---|
| 0.07 | 0.42 | 0.010 | 0.008 | 0.05 | 0.016 | 0.030 | 0.012 | 0.020 | 0.004 |
| Rm [MPa] | Rp0.2 [MPa] | A50 [%] | E [MPa] |
|---|---|---|---|
| 391 | 278 | 46.5 | 207,000 |
| Measurement Point | Stress Direction | Stress [MPa] Valve Hole Side (A) | Stress [MPa] Opposite Side (B) |
|---|---|---|---|
| Point 1 | Axial (x) | −38 ± 6 | −96 ± 16 |
| Circumferential (y) | 112 ± 11 | 87 ± 9 | |
| Point 2 | Axial (x) | −158 ± 12 | −31 ± 10 |
| Circumferential (y) | 15 ± 12 | 118 ± 12 | |
| Point 3 | Axial (x) | 48 ± 12 | 34 ± 8 |
| Circumferential (y) | 51 ± 8 | 95 ± 9 |
| Measurement Point | Stress Direction | Stress [MPa] Valve Hole Side (A) | Stress [MPa] Opposite Side (B) |
|---|---|---|---|
| Point 1 | Axial (x) | −8 ± 9 | −6 ± 13 |
| Circumferential (y) | 185 ± 13 | 157 ± 9 | |
| Point 2 | Axial (x) | 23 ± 14 | −1 ± 8 |
| Circumferential (y) | 162 ± 19 | 103 ± 17 | |
| Point 3 | Axial (x) | 40 ± 16 | 36 ± 5 |
| Circumferential (y) | 158 ± 22 | 154 ± 23 |
| Rim 1 | Rim 1 | Rim 2 | Rim 2 | |
|---|---|---|---|---|
| Zone | Specimen A | Specimen B | Specimen C | Specimen D |
| Flat | 71 | 69 | 66 | 69 |
| Radius | 73 | 74 | 69 | 71 |
| Rim 1 | Rim 1 | Rim 2 | Rim 2 | |
|---|---|---|---|---|
| Zone | Specimen A | Specimen B | Specimen C | Specimen D |
| Flat | 425 | 415 | 395 | 415 |
| Radius | 440 | 450 | 415 | 425 |
Disclaimer/Publisher’s Note: The statements, opinions and data contained in all publications are solely those of the individual author(s) and contributor(s) and not of MDPI and/or the editor(s). MDPI and/or the editor(s) disclaim responsibility for any injury to people or property resulting from any ideas, methods, instructions or products referred to in the content. |
© 2023 by the authors. Licensee MDPI, Basel, Switzerland. This article is an open access article distributed under the terms and conditions of the Creative Commons Attribution (CC BY) license (https://creativecommons.org/licenses/by/4.0/).
Share and Cite
Solazzi, L.; Mazzoni, A. Experimental Study of the Fatigue Life of Off-Highway Steel Wheels Using the Rim Section Test Approach. Appl. Sci. 2023, 13, 9119. https://doi.org/10.3390/app13169119
Solazzi L, Mazzoni A. Experimental Study of the Fatigue Life of Off-Highway Steel Wheels Using the Rim Section Test Approach. Applied Sciences. 2023; 13(16):9119. https://doi.org/10.3390/app13169119
Chicago/Turabian StyleSolazzi, Luigi, and Alberto Mazzoni. 2023. "Experimental Study of the Fatigue Life of Off-Highway Steel Wheels Using the Rim Section Test Approach" Applied Sciences 13, no. 16: 9119. https://doi.org/10.3390/app13169119
APA StyleSolazzi, L., & Mazzoni, A. (2023). Experimental Study of the Fatigue Life of Off-Highway Steel Wheels Using the Rim Section Test Approach. Applied Sciences, 13(16), 9119. https://doi.org/10.3390/app13169119

