Optimization of the Sowing Unit of a Piezoelectrical Sensor Chamber with the Use of Grain Motion Modeling by Means of the Discrete Element Method. Case Study: Rape Seed
Abstract
1. Introduction
2. Materials and Methods
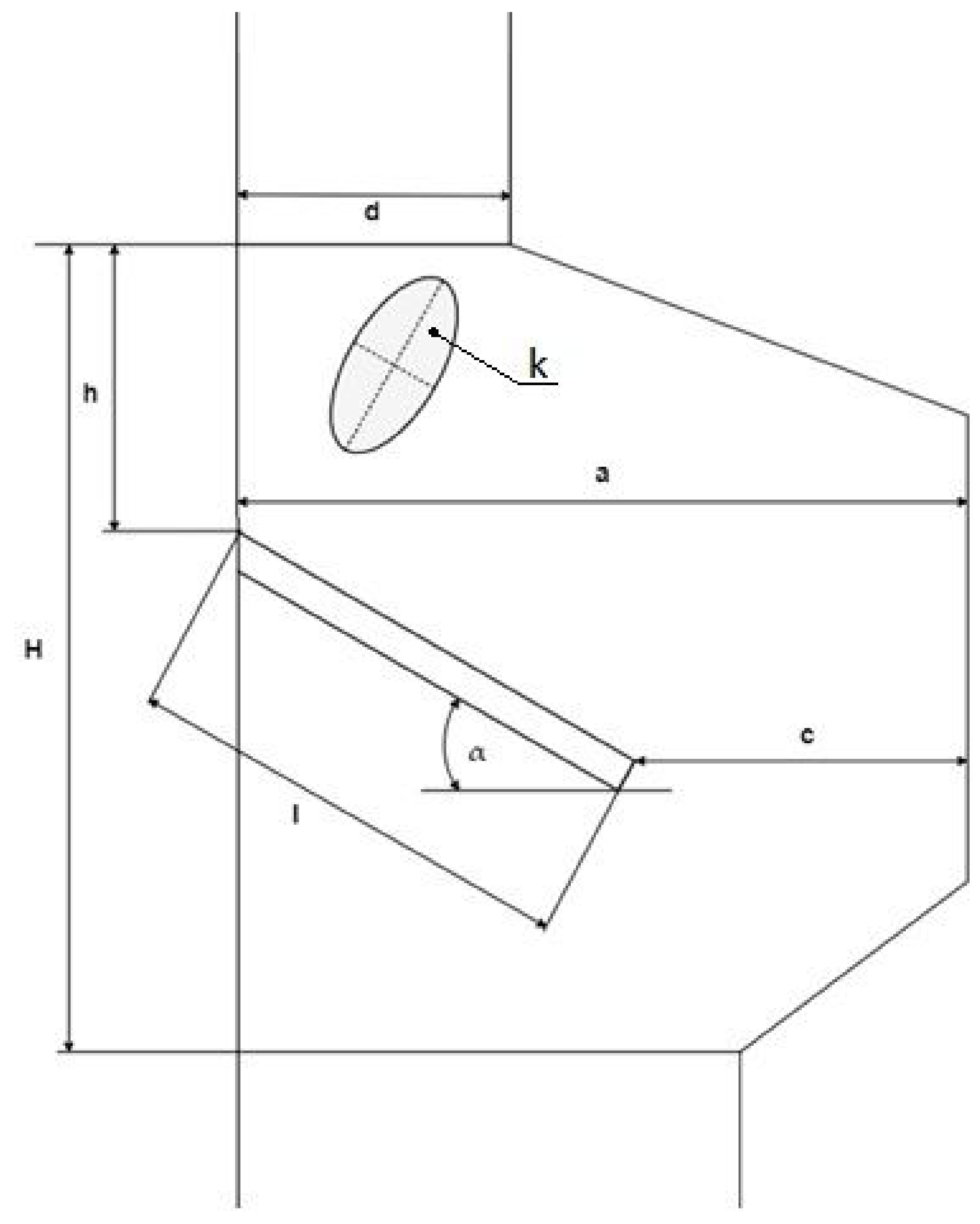
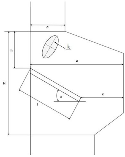
2.1. Model of Grain Motion in the System of a Piezoelectric Sensor
- Motion in the seed delivery tube,
- Motion after leaving the seed delivery tube until hitting against the seed drill surface,
- Impact with the sensor surface, with partial energy loss,
- Grain motion after collision with velocity vk, different (smaller due to impact) from its velocity before a collision with the sensor.
2.2. Experimental Tests
- seed dosing unit (rotational plate with 23 holes) powered by an electric motor with the use of a belt transmission with adjustable speed,
- Chronos 1.4. video camera
- screen with a scale in the form of graph paper,
- vertical-telescopic seed delivery tube (tube for seed drill S107, PMR Meprozet, Miedzyrzecz Podlaski, Poland,
- two led lamps with stabilizing systems, 400 W each,
- laboratory table.
2.3. Simulation Tests with the Use of the Finite Element Method

2.4. Analysis of Results
3. Results and Discussion
4. Conclusions
Author Contributions
Funding
Institutional Review Board Statement
Informed Consent Statement
Data Availability Statement
Conflicts of Interest
References
- Gursoy, S.; Ozaslan, C. Evaluating the performance of rotary and tine inter-row cultivators at different working speeds. J. Agric. Sci. Technol. 2021, 23, 1255–1267. Available online: https://jast.modares.ac.ir/article-23-49882-en.html (accessed on 27 December 2021).
- Hu, Y.; Wang, X.; He, J. American Society of Agricultural and Biological Engineers; ASABE: Reno, NV, USA, 2009; Volume 24, p. 97204. [Google Scholar] [CrossRef]
- Gierz, Ł.; Wiktorowski, J.; Koszela, K.; Przybył, K. Extendable Frame for Cultivation Equipment P. 432535, January 2020. (waiting to be published).
- Gierz, Ł.; Kęska, W.; Gierz, S.Z. Folding Beam PL219776, November 2014.
- Bulgakov, V.; Ivanovs, S.; Adamchuk, V.; Antoshchenkov, R. Investigations of the Dynamics of a Four-Element Machine-and-Tractor Aggregate. Acta Technol. Agric. 2019, 22, 146–151. [Google Scholar] [CrossRef]
- Wojciechowski, T.; Mazur, A.; Przybylak, A.; Piechowiak, J. Effect of Unitary Soil Tillage Energy on Soil Aggregate Structure and Erosion Vulnerability. J. Ecol. Eng. 2020, 21, 180–185. [Google Scholar] [CrossRef]
- Gaoming, X.; Ruiyin, H.; Xun, L.; Yijun, Z.; Long, S.; Tao, L. Design and Evaluation of a Half-Precision Sowing and Fertilizing Combined Machine. J. Comput. Theor. Nanosci. 2016, 13, 8081–8087. [Google Scholar] [CrossRef]
- Jin, X.-B.; Yu, X.-H.; Wang, X.-Y.; Bai, Y.-T.; Su, T.-L.; Kong, J.-L. Deep Learning Predictor for Sustainable Precision Agriculture Based on Internet of Things System. Sustainability 2020, 12, 1433. [Google Scholar] [CrossRef]
- Torky, M.; Hassanein, A.E. Integrating blockchain and the internet of things in precision agriculture: Analysis, opportunities, and challenges. Comput. Electron. Agric. 2020, 178, 105476. [Google Scholar] [CrossRef]
- Puri, V.; Nayyar, A.; Raja, L. Agriculture drones: A modern breakthrough in precision agriculture. J. Stat. Manag. Syst. 2017, 20, 507–518. [Google Scholar] [CrossRef]
- Peppes, N.; Daskalakis, E.; Alexakis, T.; Adamopoulou, E.; Demestichas, K. Performance of Machine Learning-Based Multi-Model Voting Ensemble Methods for Network Threat Detection in Agriculture 4.0. Sensors 2021, 21, 7475. [Google Scholar] [CrossRef]
- Ferrández-Pastor, F.J.; García-Chamizo, J.M.; Nieto-Hidalgo, M.; Pascual, J.M.M.; Mora-Martínez, J. Developing Ubiquitous Sensor Network Platform Using Internet of Things: Application in Precision Agriculture. Sensors 2016, 16, 1141. [Google Scholar] [CrossRef]
- New Possibilities with the SeedEye Sensor. Available online: https://www.vaderstad.com/pl/o-nas/aktualnoci-i-prasa/archiwum-wiadomoci/2015/international/nowe-moliwoci-z-sensorem-seedeye/ (accessed on 15 March 2017).
- The PRO-SEEDER Counter Photocell Seed Sensor. Available online: https://www.mcelettronica.it/en/product/pro-seeder-seed-counter-sensor/ (accessed on 30 November 2021).
- Wu, Y.; Li, X.; Mao, E.; Du, Y.; Yang, F. Design and development of monitoring device for corn grain cleaning loss based on piezoelectric effect. Comput. Electron. Agric. 2020, 179, 105793. [Google Scholar] [CrossRef]
- Gierz, L.; Sadej, M. Corrector for Grainy Material Distribution PL230492 (B1), November 2018.
- Zu Hoberge, S.M.; Hilleringmann, U.; Jochheim, C.; Liebich, M. Piezoelectric sensor array with evaluation electronic for counting grains in seed drills. In Proceedings of the IEEE Africon ’11, Victoria Falls, Zambia, 13–15 September 2011; p. 12358610. [Google Scholar] [CrossRef]
- Kęska, W.; Marcinkiewicz, J.; Gierz, Ł.; Staszak, Ż.; Selech, J.; Koszela, K. Simulation Verification of the Contact Parameter Influence on the Forces’ Course of Cereal Grain Impact against a Stiff Surface. Appl. Sci. 2021, 11, 466. [Google Scholar] [CrossRef]
- Zheng, Y.; Liu, Q. Review of techniques for the mass flow rate measurement of pneumatically conveyed solids. Measurement 2011, 44, 589–604. [Google Scholar] [CrossRef]
- Swisher, D.W.; Borgelt, S.C.; Sudduth, K.A. Optical Sensor for Granular Fertilizer Flow Rate Measurement. Trans. Am. Soc. Agric. Eng. 2002, 45, 881–888. [Google Scholar] [CrossRef]
- Okopnik, D.L.; Falate, R. Usage of the DFRobot RB-DFR-49 Infrared Sensor to detect maize seed passage on a conveyor belt. Comput. Electron. Agric. 2014, 102, 106–111. [Google Scholar] [CrossRef]
- Dabbaghi, A.; Massah, J.; Alizadeh, M. Effect of rotational speed and length of the fluted-roll seed metering device on the performance of pre-germinated paddy seeder unit. Int. J. Nat. Eng. Sci. 2010, 4, 7–11. [Google Scholar]
- Maleki, M.R.; Jafari, J.F.; Raufat, M.H.; Mouazen, A.M.; Baerdemaeker, J.D. Evaluation of Seed Distribution Uniformity of a Multi-flight Auger as a Grain Drill Metering Device. Biosyst. Eng. 2006, 94, 535–543. [Google Scholar] [CrossRef]
- Yu, H.; Ding, Y.; Liu, Z.; Fu, X.; Dou, X.; Yang, C. Development and Evaluation of a Calibrating System for the Application Rate Control of a Seed-Fertilizer Drill Machine with Fluted Rollers. Appl. Sci. 2019, 9, 5434. [Google Scholar] [CrossRef]
- Satvik, M.; Kusagur, G.; Arunkumar, T.C. Manjunath, Modelling of smart intelligent material with PZT & PVDF sensor/actuators to control the active vibrations of flexible aluminium mechanical cantilever beams using proportional integral derivative (PID) techniques. Mater. Today Proc. 2020, 37, 2075–2082. [Google Scholar] [CrossRef]
- Szczepaniak, J.; Pawłowski, T. Modern methods of agricultural machine designing and veryfication [Współczesna metodyka projektowania i weryfikacji konstrukcji maszyn rolniczych]. Agric. Eng. 2015, 14, 267–275. Available online: https://ir.ptir.org/artykuly/pl/74/IR(74)_1260_pl.pdf (accessed on 27 December 2021). (In Polish).
- Chodurski, M.; Dębski, H.; Samborski, S.; Teter, A. Numerical strength analysis of the load-bearing frame of a palletizing robot’s universal head. Eksploat. Maint. Reliab. 2015, 17, 374–378. [Google Scholar] [CrossRef]
- Jachimowicz, J.; Wawrzyniak, A. Zastosowanie MES w zagadnieniach kontaktu elementów maszyn. In Application of FEM in the Issues of Contact of Machine Elements; Prace Instytutu Podstaw Budowy Maszyn/Politechnika Warszawska: Warszawa, Poland, 1999; pp. 69–108. (In Polish) [Google Scholar]
- Gierz, Ł.; Warguła, Ł.; Kukla, M.; Koszela, K.; Zwiachel, T.S. Computer Aided Modeling of Wood Chips Transport by Means of a Belt Conveyor with Use of Discrete Element Method. Appl. Sci. 2020, 10, 9091. [Google Scholar] [CrossRef]
- Bautista, R.C.; Siebenmorgen, T.J. Evaluation of laboratory mills for milling small samples of rice. Appl. Eng. Agric. 2002, 18, 577–583. [Google Scholar] [CrossRef]
- Petingco, M.C.; Casada, M.E.; Maghirang, R.G.; Fasina, O.O.; Chen, Z.; Ambrose, R.P.K. Influence of Particle Shape and Contact Parameters on DEM-Simulated Bulk Density of Wheat. Trans. ASABE 2020, 63, 1657–1672. [Google Scholar] [CrossRef]
- Ren, B.; Zhong, W.; Jin, B.; Shao, Y.; Yuan, Z. Numerical Simulation on the Mixing Behavior of Corn-Shaped Particles in a Spouted Bed. Powder Technol. 2013, 234, 58–66. [Google Scholar] [CrossRef]
- Wojtkowski, M.; Pecen, J.; Horabik, J.; Molenda, M. Rapeseed Impact against a Flat Surface: Physical Testing and DEM Simulation with Two Contact Models. Powder Technol. 2010, 198, 61–68. [Google Scholar] [CrossRef]
- Mindlin, R.D.; Deresiewicz, H. Elastic Spheres in Contact under Varying Oblique Force. Trans. ASME J. Appl. Mech. 1953, 20, 327–344. [Google Scholar] [CrossRef]
- Luo, X.; Zhao, L.; Zhang, M.; Dong, H. DEM Study on the Effects of Pellet Characteristics on Particle Flow in Rectangular Hopper. Powder Technol. 2020, 373, 476–487. [Google Scholar] [CrossRef]
- Horabik, J.; Molenda, M. Parameters and Contact Models for DEM Simulations of Agricultural Granular Materials: A Review. Biosyst. Eng. 2016, 147, 206–225. [Google Scholar] [CrossRef]
- Horabik, J.; Beczek, M.; Mazur, R.; Parafiniuk, P.; Ryżak, M.; Molenda, M. Determination of the Restitution Coefficient of Seeds and Coefficients of Visco-Elastic Hertz Contact Models for DEM Simulations. Biosyst. Eng. 2017, 161, 106–119. [Google Scholar] [CrossRef]
- Li, B.; Liu, J.; Ma, H.-J. Analysis on the population collision process of seeder based on linear viscoelastic model. Open Cybern. Syst. J. 2015, 9, 1223–1227. [Google Scholar] [CrossRef][Green Version]
- Rusinek, R.; Horabik, J. Selected mechanical parameters of rape seeds. Agric. Eng. 2006, 6, 213–221. Available online: http://yadda.icm.edu.pl/yadda/element/bwmeta1.element.baztech-article-BAR0-0053-0024 (accessed on 27 December 2021).
- Makange, N.R.; Ji, C.; Nyalala, I.; Sunusi, I.I.; Opiyo, S. Prediction of precise subsoiling based on analytical method, discrete element simulation and experimental data from soil bin. Sci. Rep. 2021, 11, 11082. [Google Scholar] [CrossRef] [PubMed]
- Kat, C.-J.; Els, P.S. Validation metric based on relative error. Math. Comput. Model. Dyn. Syst. 2012, 18, 487–520. [Google Scholar] [CrossRef]
- Michałek, T. Method of assessing the reliability of numerical simulations of viscous and thermal flows. In Metoda Oceny Wiarygodności Symulacji Numerycznych Przepływów Lepkich i Termicznych; Doctoral dissertation; PAN: Warszawa, Poland, 2005. (In Polish) [Google Scholar]
- Kruszelnicka, W. Study of Selected Physical-Mechanical Properties of Corn Grains Important from the Point of View of Mechanical Processing Systems Designing. Materials 2021, 14, 1467. [Google Scholar] [CrossRef]
- Soyoye, B.O.; Ademosun, O.C.; Agbetoye, L.A.S. Determination of Some Physical and Mechanical Properties of Soybean and Maize in Relation to Planter Design. Agric. Eng. Int. CIGR J. 2018, 20, 81–89. [Google Scholar]
- Sandeep, C.S.; Luo, L.; Senetakis, K. Effect of Grain Size and Surface Roughness on the Normal Coefficient of Restitution of Single Grains. Materials 2020, 13, 814. [Google Scholar] [CrossRef]
- Liu, W.; Hu, J.; Zhao, X.; Pan, H.; Lakhiar, I.A.; Wang, W.; Zhao, J. Development and Experimental Analysis of a Seeding Quantity Sensor for the Precision Seeding of Small Seeds. Sensors 2019, 19, 5191. [Google Scholar] [CrossRef]
- Hajahmed, O.; Tola, E.; Kheiralla, A.F.; Algaadi, K. On-the-go assessment of seed metering unit performance using an opto-electrionic sensor. In Proceedings of the Annual Conference of Postgraduate Studies and Scientific Research, Khartoum, Sudan, 17–20 February 2012. [Google Scholar]
- Zhang, X.; Zhang, J.; Xie, S.; Liu, H. Seeder detection system of rapeseed based on infrared emitting diode. J. Agric. Mech. Res. 2012, 4, 156–159. [Google Scholar]
- Godec, D.; Cano, S.; Holzer, C.; Gonzalez-Gutierrez, J. Optimization of the 3D Printing Parameters for Tensile Properties of Specimens Produced by Fused Filament Fabrication of 17-4PH Stainless Steel. Materials 2020, 13, 774. [Google Scholar] [CrossRef]
- Gonzalez-Gutierrez, J.; Cano, S.; Schuschnigg, S.; Kukla, C.; Sapkota, J.; Holzer, C. Additive Manufacturing of Metallic and Ceramic Components by the Material Extrusion of Highly-Filled Polymers: A Review and Future Perspectives. Materials 2018, 11, 840. [Google Scholar] [CrossRef]












| Model | ![]() |
|---|---|
| Diameter [mm] | 2.2 |
| Mass of one thousand seeds [g] | 3.5 |
| Density [kg/m3] | 631 |
| Young’s modulus [MPa] | 700 |
| Poisson coefficient | 0.3 |
| Mass flow [kg/h] | 10 |
| Parameter | Particle-Particle | Particle-Surface |
|---|---|---|
| Restitution coefficient | 0.5 | 0.6 |
| Tangential friction coefficient | 0.6 | 0.8 |
| Dynamic friction coefficient | 0.2 | 0.2 |
| Type of Exit Hole | Factor | X | Y | X0 | Relative Error |
|---|---|---|---|---|---|
| Straight exit hole | Pearson Corr. | 0.755 | −0.786 | 0.752 | 0.867 |
| p-value | 0.245 | 0.214 | 0.248 | 0.133 | |
| Diagonal exit hole | Pearson Corr. | −0.701 | −0.958 * | 0.933 * | 0.058 |
| p-value | 0.299 | 0.042 | 0.067 | 0.942 |
| Type of Exit Hole | Factor | X | Y | X0 | Relative Error |
|---|---|---|---|---|---|
| Straigth exit hole | Pearson Corr. | 0.905 * | −0.873 | 0.685 | 1.000 * |
| p-value | 0.095 | 0.127 | 0.315 | - | |
| Diagonal exit hole | Pearson Corr. | −0.183 | −0.667 | −0.894 | 0.944 * |
| p-value | 0.817 | 0.333 | 0.106 | 0.056 |
Publisher’s Note: MDPI stays neutral with regard to jurisdictional claims in published maps and institutional affiliations. |
© 2022 by the authors. Licensee MDPI, Basel, Switzerland. This article is an open access article distributed under the terms and conditions of the Creative Commons Attribution (CC BY) license (https://creativecommons.org/licenses/by/4.0/).
Share and Cite
Gierz, Ł.; Kruszelnicka, W.; Robakowska, M.; Przybył, K.; Koszela, K.; Marciniak, A.; Zwiachel, T. Optimization of the Sowing Unit of a Piezoelectrical Sensor Chamber with the Use of Grain Motion Modeling by Means of the Discrete Element Method. Case Study: Rape Seed. Appl. Sci. 2022, 12, 1594. https://doi.org/10.3390/app12031594
Gierz Ł, Kruszelnicka W, Robakowska M, Przybył K, Koszela K, Marciniak A, Zwiachel T. Optimization of the Sowing Unit of a Piezoelectrical Sensor Chamber with the Use of Grain Motion Modeling by Means of the Discrete Element Method. Case Study: Rape Seed. Applied Sciences. 2022; 12(3):1594. https://doi.org/10.3390/app12031594
Chicago/Turabian StyleGierz, Łukasz, Weronika Kruszelnicka, Mariola Robakowska, Krzysztof Przybył, Krzysztof Koszela, Anna Marciniak, and Tomasz Zwiachel. 2022. "Optimization of the Sowing Unit of a Piezoelectrical Sensor Chamber with the Use of Grain Motion Modeling by Means of the Discrete Element Method. Case Study: Rape Seed" Applied Sciences 12, no. 3: 1594. https://doi.org/10.3390/app12031594
APA StyleGierz, Ł., Kruszelnicka, W., Robakowska, M., Przybył, K., Koszela, K., Marciniak, A., & Zwiachel, T. (2022). Optimization of the Sowing Unit of a Piezoelectrical Sensor Chamber with the Use of Grain Motion Modeling by Means of the Discrete Element Method. Case Study: Rape Seed. Applied Sciences, 12(3), 1594. https://doi.org/10.3390/app12031594


