Next Article in Journal
AT-CRF: A Chinese Reading Comprehension Algorithm Based on Attention Mechanism and Conditional Random Fields
Next Article in Special Issue
Energy Harvesting Methods for Transmission Lines: A Comprehensive Review
Previous Article in Journal
Optimization of Bituminous Road Surfacing Rehabilitations Based on Optimization of Road Asset Value
Previous Article in Special Issue
Fault Diagnosis Method of Intelligent Substation Protection System Based on Gradient Boosting Decision Tree
 
 
Font Type:
Arial Georgia Verdana
Font Size:
Aa Aa Aa
Line Spacing:
Column Width:
Background:
Article

Optimal Selection of the Diesel Generators Supplying a Ship Electric Power System

by
Panayiotis Michalopoulos
1,
George J. Tsekouras
2,
Fotios D. Kanellos
3,* and
John M. Prousalidis
1
1
School of Naval Architecture and Marine Engineering, National Technical University of Athens, Heroon Polytechniou 9, 15780 Athens, Greece
2
Department of Electrical and Electronics Engineering, University of West Attica, 250 Thivon Str., 12241 Athens, Greece
3
School of Electrical and Computer Engineering, Technical University of Crete, University Campus, Akrotiri, 73100 Chania, Crete, Greece
*
Author to whom correspondence should be addressed.
Appl. Sci. 2022, 12(20), 10463; https://doi.org/10.3390/app122010463
Submission received: 20 September 2022 / Revised: 11 October 2022 / Accepted: 13 October 2022 / Published: 17 October 2022
(This article belongs to the Special Issue Electric Power Applications)

Abstract

Featured Application

Evaluation of electric generation system during the ship design or selection process.

Abstract

It is very common for ships to have electric power systems comprised of generators of the same type. This uniformity allows for easier and lower-cost maintenance. The classic way to select these generators is primarily by power and secondarily by dimensions and acquisition cost. In this paper, a more comprehensive way to select them, using improved cost indicators, is proposed. These take into account many factors that have a significant impact in the life-cycle cost of the equipment. A realistic and detailed profile of the ship’s electric load spanning a full year of her operation is also developed to allow for a solution that is tailor-made to a specific case. The method used is highly iterative. All combinations of genset quantities and capacities are individually considered to populate a power plant, taking into account the existing redundancy requirements. For each of these and for every time interval in the load profile, the engine consumption is Lagrange-optimized to determine the most efficient combination to run the generators and the resulting cost. The operating cost throughout the year is thus derived. In this way, the method can lead to optimal results as large data sets regarding ship operation and her power system’s technical characteristics can be utilized. This intense calculation process is greatly accelerated using memorization techniques. The reliability cost of the current power plant is also considered along with other cost factors, such as flat annual cost, maintenance, and personnel. The acquisition and installation cost are also included, after being distributed in annuities for various durations and interest rates. The results provide valuable insight into the total cost from every aspect and present the optimum generator selection for minimal expenditure and maximum return of investment. This methodology may be used to enhance the current power-plant design processes and provide investors with more feasible alternatives, as it takes into consideration a multitude of technical and operational characteristics of the examined ship power system.

1. Introduction

The shipping industry is ever growing and today numbers more than 63,000 commercial ships worldwide. Each year, more than 2000 new ships are built in the world [1], while the global shipbuilding industry market is expected to exceed $195 billion by 2030 [2]. In this context, the cost related to building, acquiring and operating a ship is a major concern to investors, but also has a significant impact in the world economy.
One aspect of ship design is its electric power system. This is usually overshadowed by the propulsion plant and thus overlooked in the decision-making process. However, if properly examined, it can turn out to be a substantial financial concern, especially when the requirements for electric power are increased, such as in large container ships, or even more, as technology moves towards electric propulsion.
With this goal in mind, researchers have proposed many innovative hybrid multienergy plants [3] that include such renewable sources as photovoltaics [4,5], wind turbines [6], fuel cells [7], and batteries or supercapacitors for energy accumulation [8,9].
For classic power plants with diesel generator sets, the common and easiest way to operate them is by sharing the load proportionally among them and adding or removing generators to the grid when the load reaches certain thresholds. This simplistic management scheme allows for little efficiency improvement.
On the other hand, several techniques have been presented to achieve performance optimization and efficiency increase in a ship energy efficiency management plant (SEEMP) [10,11]. These involve sophisticated load management and distribution [12,13], smart grids and microgrids [10,14], multiagent systems [15,16], distributed power management [17] and other methodologies, even exotic ones using quantum computing [18]. According to a complicated but also efficient approach, the load distribution on the gensets is optimized according to their fuel consumption curves [19], leading to notable fuel savings.
However, little has been discussed on the selection process of the gensets. A classic ship power plant is typically designed using the following steps. First, the number of generators is determined, usually based on reservation or redundancy requirements. Afterwards, the nominal power of the generators is calculated so that the maximum total load and the maximum critical load can be adequately supplied according to the reservation and redundancy requirements. Finally, the manufacturer and the exact type of the generators is determined, based on financial criteria, usually purchase price and average fuel consumption. At this point, if the cost seems too high, the design process is restarted in a spiral fashion and all the parameters are redetermined until an acceptable outcome is eventually reached, as in Figure 1. This may be satisfactory, but optimality is not guaranteed. Furthermore, the whole process is mostly empirical and thus not efficient.
The goal of this paper is to present a new method that will definitely produce the optimum result in very little computation time and with little effort. It is noted that there is no best solution fitting all cases. On the contrary, each problem has unique requirements and constraints necessitating particular handling. To this end, the proposed method uses as inputs a detailed load profile of a real passenger ship based on real data, and all upcoming calculations are performed in this realistic context.
Additionally, the cost of gensets is much more than just their acquisition price and their average fuel consumption. Therefore, several parameters are also contemplated, among them the cost of installation, maintenance and payroll of the crew members assigned to it and detailed and optimized fuel and lubricating oil consumption. The reliability of the installation is also considered and the cost it entails. This way, the true life-cycle cost of the installation is estimated.
Furthermore, insight is provided allowing financiers to preview various interest rates and number of annuities combinations in order to select the most suitable return on investment (ROI) scheme.
In Section 2, the methodology followed is described in detail. In Section 3, the applied computational speed improvement technique is described. In Section 4, a representative case study and the results obtained are provided, while discussion on the presented work and results are given in Section 5.

2. Methodology

2.1. Overview

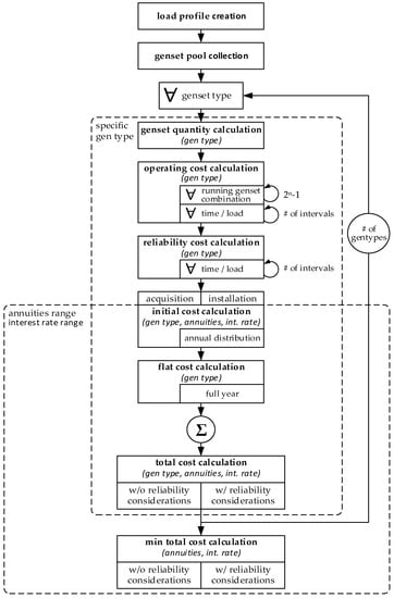
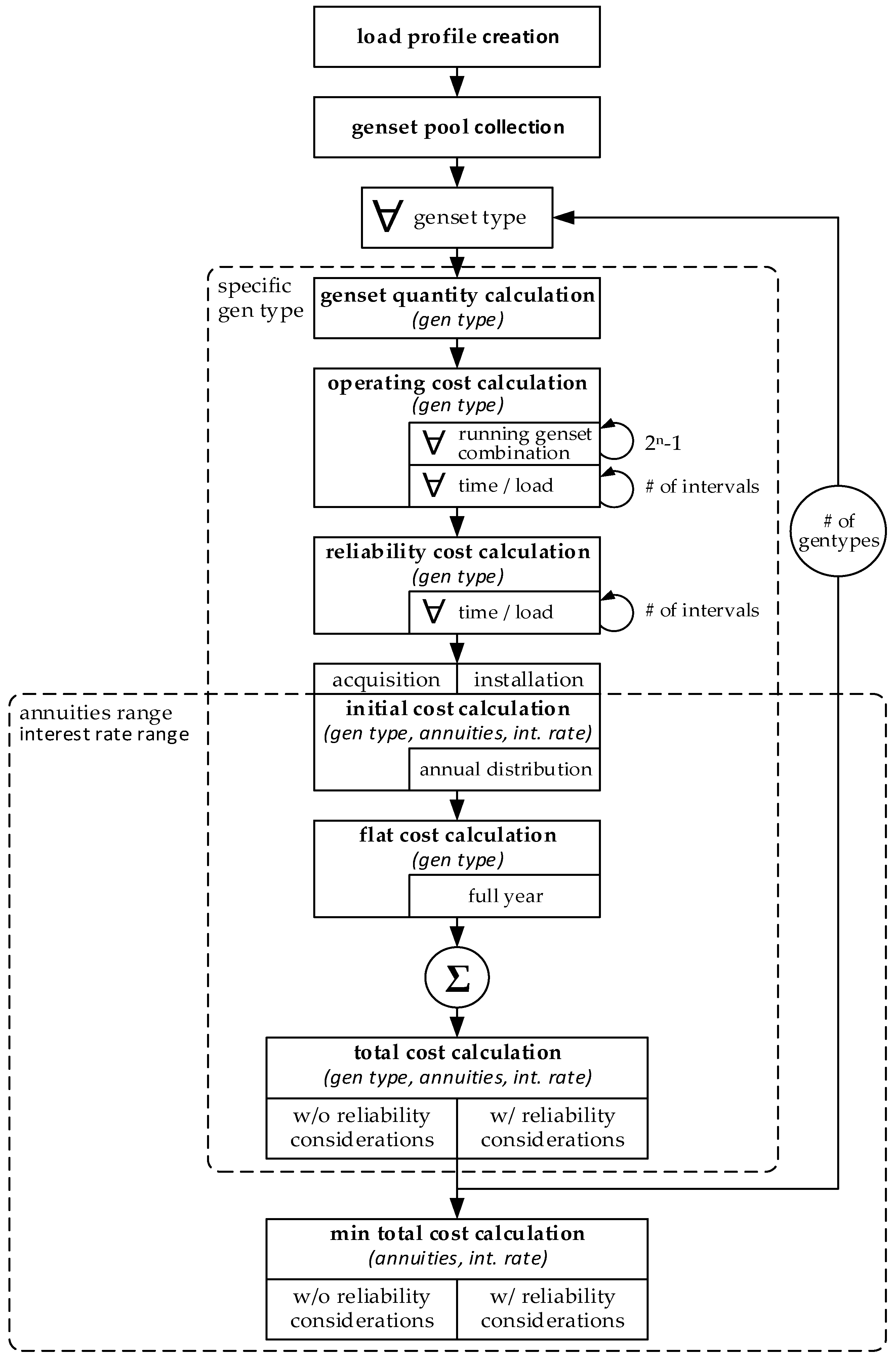
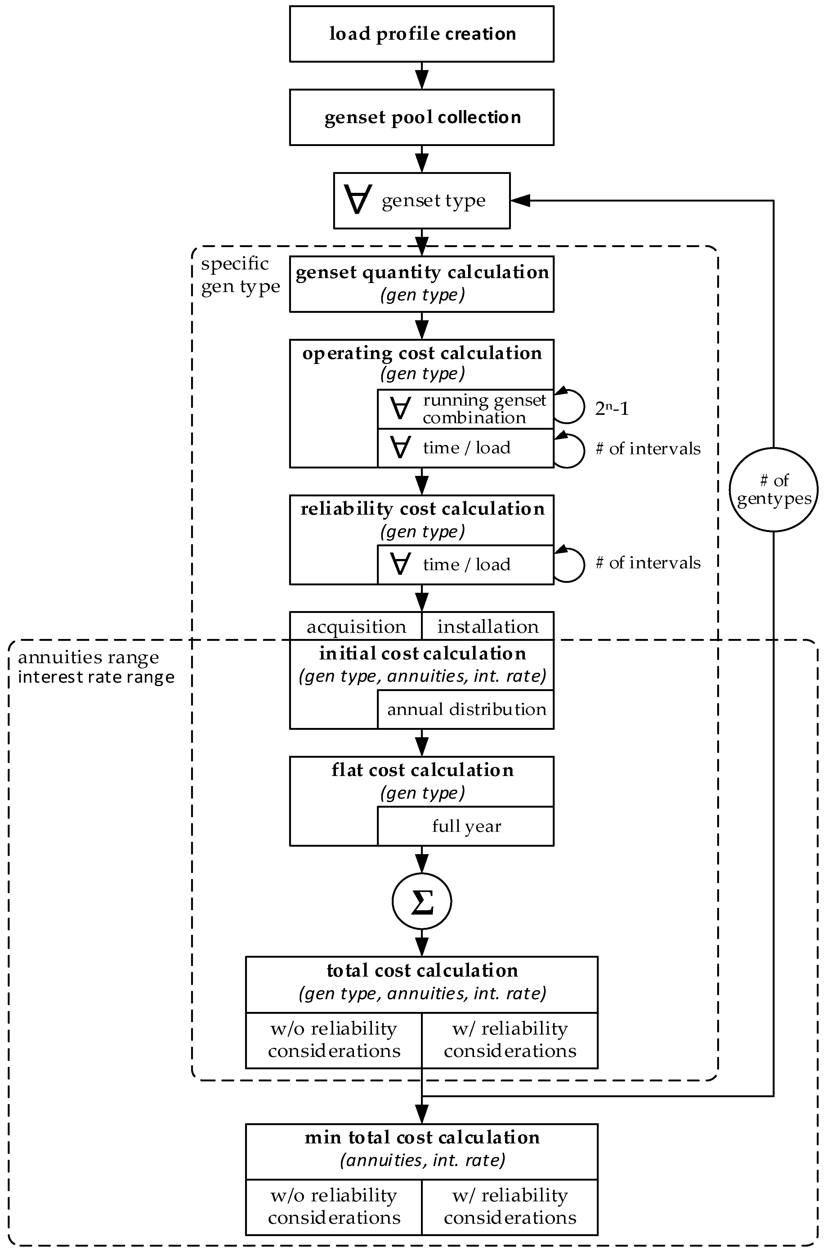
An auxiliary graphical overview of the calculation process is shown in Figure 2 and described in detail in the following:
Load profile creation:
Preliminarily, a detailed load profile of the ship is drafted to become the frame in which all calculations will be based upon. More details are provided in Section 2.2.
Genset pool:
A pool of diesel engine generators and their specifications is formed to combine and populate the ship’s power plant. More details are provided in Section 2.3.
Algorithm main loop:
A loop begins by selecting from the pool one genset type after the other.
Genset installed capacity:
Their installed capacity is determined so that they are sufficient to supply the maximum load of the ship, taking into account any redundancy requirements. More details are provided in Section 2.4. Note that all generators in the power plant are assumed to be of the same type. If their quantity is excessive (i.e., >18), the current generator type is rejected and the loop continues with the next iteration and type selection.
Operating cost estimation:
For every time interval throughout the load profile, the Lagrange optimization method is used to establish the genset combination that will supply this particular load with the smallest fuel and lubricating oil consumption. This produces the lowest operating cost and System Marginal Cost (SMC) for each time period. More details are provided in Section 2.5. All operating costs are summed to produce the total operating cost throughout the year for the particular genset type.
Reliability cost estimation:
The Capacity Outage Probability Table (COPT) of the selected power plant is estimated. For every time interval throughout the load profile, this is used to evaluate the expected loss of load energy (LOLE) separately for each type of load and load conditions of each time interval in the profile. Afterwards, these are summed up to produce the total LOLE for each load type throughout the year. More details are provided in Section 2.6.
For every time interval in the load profile, the above SMC and LOLE values are used to calculate the total cost of power loss, for the whole year, for the selected generator type.
Initial cost estimation:
The initial cost includes acquisition and installation of the genset and it is broken down to annuities for a range of years and for a range of interest rates. More details are provided in Section 2.7.
Total cost estimation:
The flat cost related for maintenance and payroll is estimated. Then, this is added to the aforementioned operating cost and initial cost to form the total annual cost. The reliability cost is also added separately, providing the total annual cost with reliability considerations. These are both calculated for the range of annuities and interest rates mentioned above and for the current generator type. More details are provided in Section 2.9. Afterwards, the loop continues with the next genset type selection.
Optimal genset selection:
After the loop completes and all genset types are evaluated, the least expensive is selected and the total annual cost of the plant with and without reliability considerations is displayed, for the given range of annuities and interest rates.
The whole process is illustrated below. Subsequently, each individual aspect is more thoroughly discussed.

2.2. Load Profile

The electric load of a ship varies greatly versus time and is very specific to her condition and performed operations. For example, the load of a ferry is much greater when she is underway filled with passengers than when she is at port with only a skeleton crew. Moreover, as the ship’s schedule is usually predetermined, a load profile can be drafted with sufficient accuracy.
On the other hand, the load requirements of each ship are very distinctive and vary greatly, not only among different types and sizes but also among similar ships with different operating schedules. For example, a ship will have a different load signature when she is mostly underway and has only brief port time than when she is on a daily short-cruise routine. Therefore, it makes sense for a generator selection process to be shaped around the specific load requirements of the ship. For the purposes of this study, as well as for further research, a complete profile of the electric load of a passenger ship has been created. It is based on actual data from a real ship and it spans the range of a full operational period with relatively high resolution.
A ship is a complex structure like a small autonomous mobile city, containing a large variety of equipment. These extend from propulsion and energy production to air-conditioning, galleys and other hotel facilities. As such, the electric load associated with each of them may be characterized as more or less significant. In general, the total load Pload(tj) for every time tj can be divided into K parts Ploadk(tj), first being the least and K-th being the most significant. In this paper, it is divided into inessential (Pload−1), essential (Pload−2), and critical parts (Pload−3).
P l o a d ( t j ) = k = 1 K P l o a d k ( t j )
Inessential load refers to equipment that may become unavailable for a long time without any significant effect on the ship’s operation, the performance of her crew or the living conditions of her passengers. This can be air-conditioning, hot water and lighting in living quarters, etc.
Essential load refers to equipment that when unavailable has a significant impact on the ship’s operation, the performance of her crew and the living conditions of her passengers. This can be ventilation and lighting in compartments with running machinery, transfer pumps, air compressors, etc.
Finally, critical load refers to equipment that when unavailable seriously affects the safety of the ship and all those onboard. This can be auxiliaries necessary for running the gensets, propulsion and navigation (when the ship is underway), firefighting, damage control, etc.

2.3. Generator Specifications

In order to provide applicable results for this process, more than 30 actual generator sets, from several manufacturers, were studied and used to determine the optimal one (Table 1). The specifications in Table 1 were collected or derived from their datasheets.
The most characteristic information of a generator is its nominal power Pnom. This is provided along with its minimum and maximum power Pmin and Pmax, respectively. These are the limits of the equipment outside which operation is not permitted.
Pmin < Pnom < Pmax
For the reliability calculations, the probability of a genset not being available, also known as the forced outage rate (FOR) [20], was used.
The fuel type, fuel consumption and lubricating oil consumption were used to estimate the operating cost of the engine, while its physical characteristics and its acquisition price were used to estimate the installation cost.
It is noted that engines have additional restrictions and costs in their operation e.g., minimum running time and a minimum time between shutting down and starting up. There is also a maximum power increase/decrease rate and a starting cost. This information can be considered in future work.

2.4. Power Requirements

This paper assumes that all generators used in a single power plant are of the same type. Therefore, the maximum load can be supplied by n* gensets of nominal power Pnom each, as shown in (3).
n * = max t j P l o a d ( t j ) P n o m
This number is adequate for the ship’s needs, if no redundancy is required, or if there is an extra emergency generator to take up all critical loads. However, if no extra emergency generator exists and the power plant is to withstand the failure of a single genset, then n* + 1 generators will be required. Similarly, if the whole compartment may fail, then 2·n* gensets are required in a different location. This is summarized in Table 2.

2.5. Operating Cost

The amount of fuel consumed by an engine is a function of its power output or load. As the power increases, so does the consumption versus time (see the fuel consumption curve in Figure 3). However, the consumption versus power and time (i.e., energy), also called specific consumption, reveals the existence of a point of optimal operation (see the corresponding specific fuel consumption curve in Figure 3).
The fuel consumption cost Ffuel may accurately be approximated by a second- or third-degree polynomial function (4) of the electric power Pm produced, with coefficients derived from its fuel consumption curve, or specific fuel consumption curve, provided by the manufacturer or actually measured.
Ffuel(Pm) = a + b·Pm + c·Pm 2 + d·Pm 3
In this paper, the approximation was calculated using a second-degree polynomial; therefore, Ffuel became:
Ffuel(Pm) = a + b·Pm + c·Pm 2
On the other hand, it is specified that the lubricating oil consumption may accurately be approximated as proportional to the electric power Pm produced.
Flub(Pm) = e·Pm
Therefore, the total operational cost became:
Foperation(Pm) = a + (b + ePm + c·Pm 2
It is common practice to share the load equally among the running generators. This is efficient when all generators are of the same type and have the exact same consumption curve. However, this is never reality, since even generators of the same type will have significant differences in their consumption curves, due to their running hours, maintenance history, mechanical ware, etc. These curves can be obtained by taking periodic measurements. It has been proven that taking into account these differences and distributing the load using optimization methods, allows for extra fuel savings [19].
The quantity n of the generators required has been established above. Assuming, for the sake of generality that each one is different, there are 2n − 1 possible combinations Bcombination of them running. For every one Aoperation−v of them and for a particular time period tj, the load requirements Pload(tj) were distributed in each running generator m producing power Pm(tj) with operating cost Foperation−m(Pm(tj)). This distribution was optimized using the Lagrange method [19,21], because of its suitability to solve optimization problems that are constrained with equalities and/or inequalities. As such, that the total operating cost Foperation−Aoperation-ν for this case became minimal (8) under the constraints (9) and (10).
F o p e r a t i o n A o p e r a t i o n v ( t j ) = min m A o p e r a t i o n v F o p e r a t i o n m P m ( t j )
P l o a d ( t j ) = m A o p e r a t i o n v P m ( t j )
m A o p e r a t i o n v : P min m P m ( t j ) P max m
The system marginal cost SMCoperation−v(tj) was also calculated:
S M C o p e r a t i o n v ( t j ) = F o p e r a t i o n m P m ( t j ) P m , m A o p e r a t i o n v
Out of all combinations Bcombination, the most efficient was selected, as in (12), and the total cost due to fuel and lubricating oil consumption throughout the year (i.e., NT time intervals) was calculated, as in (13).
F o p e r a t i o n t j = min v B c o m b i n a t i o n F o p e r a t i o n A o p e r a t i o n v t j
C o s t o p e r a t i o n = j = 1 N T F o p e r a t i o n t j · Δ t j
The whole process is illustrated in Figure 4.
If all the engines populating the power plant have identical behavior, the optimization process may be simplified using equal distribution. However, the algorithm uses optimization to address different duty cycles of the gensets and any future expansion of this work.

2.6. Reliability Cost

The reliability of a system is a factor of paramount importance. However, most of the time, industrial systems use rather simplistic and crude redundancy techniques to achieve the required reliability levels.
A more innovative and detailed way is using the COPT of the power plant. This is formulated, for NP amount of generator combinations each with power-outage probability pi, during an amount of NT time intervals each with duration Δti. From this, the expected Loss Of Load Power (LOLP) is derived. This is the amount of time the available power Pavailable_power_i is not sufficient to supply the ship’s load Pload(tj), thus leading to a power outage, expressed here using the step function u().
L O L P = j = 1 N T i = 1 N P p i · Δ t j · u P l o a d ( t j ) P a v a i l a b l e _ p o w e r i
Similarly, the expected LOLE is derived, showing the amount of active energy not supplied to the load for the same time period and is expressed here using the ramp function r().
L O L E = j = 1 N T i = 1 N P p i · Δ t j · r P l o a d ( t j ) P a v a i l a b l e _ p o w e r i
This is also equal to:
L O L E = j = 1 N T i = 1 N P p i · Δ t j · P l o a d ( t j ) P a v a i l a b l e _ p o w e r i · u P l o a d ( t j ) P a v a i l a b l e _ p o w e r i
Furthermore, the LOLE can be individually expressed for each load category as:
L O L E k = j = 1 N T i = 1 N P p i · Δ t j · r b = n k P l o a d b ( t j ) P a v a i l a b l e _ p o w e r i
One way to calculate the cost of LOLE is by assuming a constant cost per load category Costloss_energy−k, as seen in:
C o s t L O L E = k = 1 K L O L E k · C o s t l o s s _ e n e r g y k
A more innovative way is by assuming a cost proportional to the SMC calculated earlier:
C o s t L O L E = j = 1 N T k = 1 K L O L E k t j · S M C t j · F a c t o r _ C o s t l o s s _ e n e r g y k

2.7. Initial Cost

The first type of cost that comes to mind is the initial cost Finitial−total of the generators. This is usually limited to their purchase price Am, provided by the vendors.
However, when building a ship, there is an additional cost resulting from the space allocated for the generators and its impact on the ship’s size. This is estimated as a fraction of the total ship cost C, which in turn is approximated using semiempirical relations like the following, where a and b are constants and DWT is the DeadWeight Tonnage [22].
C = α·DWTb
A more detailed way to approach this is by considering the area Em and the volume Vm occupied by the generator and also its mass Μm, along with their associated unit costs CostArea, CostVolume and CostMass, respectively, as shown below:
F i n s t a l l a t i o n a r e a = m = 1 n E m · C o s t A r e a
F i n s t a l l a t i o n v o l u m e = m = 1 n V m · C o s t V o l u m e
F i n s t a l l a t i o n m a s s = m = 1 n M m · C o s t M a s s
Therefore, the total installation and initial costs become:
F i n s t a l l a t i o n t o t a l = m = 1 n E m · C o s t A r e a + V m · C o s t V o l u m e + M m · C o s t M a s s
F i n i t i a l t o t a l = m = 1 n A m + E m · C o s t A r e a + V m · C o s t V o l u m e + M m · C o s t M a s s
As the operating period of the ship is set to one year, all costs need to refer to this. In order for the initial cost to be projected to the total annual cost, the investment scheme must be examined. For an interest rate icap and a number of Tper annuities, the Capital Recovery Factor (CRF) [23] becomes:
C R F i c a p , T p e r = i c a p · 1 + i c a p T p e r 1 + i c a p T p e r 1
Therefore, the annual cost for the total recovery of the investment, or equivalent initial cost Finitial−eq, becomes:
F i n i t i a l e q i c a p , T p e r = F i n i t i a l t o t a l · C R F i c a p , T p e r

2.8. Flat Cost

No machinery may be left running unattended and without adequate maintenance. There is additional cost associated with this: the spare parts and the consumables used. This kind of work also requires specialized crew members, devoting a major portion of their time. As a consequence, their payroll was also included. This flat cost Fflat, has been statistically approximated as cost per calendar hour Costflat−m for the m-th generator and for a whole year became:
F f l a t = 8760 · m = 1 n C o s t f l a t m

2.9. Total Cost

Taking into account all the above, the equivalent annual cost of the electric power generating equipment is the following:
F t o t a l i c a p , T p e r = F i n i t i a l e q i c a p , T p e r + F f l a t + C o s t o p e r a t i o n
If reliability considerations are also taken into account, the equivalent annual cost becomes:
F t o t a l _ L O L E i c a p , T p e r = F i n i t i a l e q i c a p , T p e r + F f l a t + C o s t o p e r a t i o n + C o s t L O L E

3. Computational Speed Improvement

Performing the above calculations proved to be a very computationally intensive task, even for modern computers, requiring several hours to complete. The major cause of delay was the Lagrange optimization and its repetition for every combination of running gensets, as well as for every time interval in the load profile, as previously seen in Figure 4.
The classic method of proportional load distribution is trivial and thus much faster. However, it has none of the efficiency benefits provided by the otherwise-rigorous Lagrange optimization. Achieving improved generator efficiency and fuel savings outweighed the convenience and speed of the classic method. Moreover, it is a well-established and documented method [24], especially for load distribution among thermal engines [25,26].
Dynamic programming could also be used, but it seemed more complex and less efficient, as it is a multilayer method that would be better suited to solve time-dependent problems [27].
To alleviate the speed concern, the memorization technique, shown in Figure 5 and described next, was also applied.
If the load profile has a duration of m months and a resolution of s samples per hour, then it will contain q intervals, where:
q = m·30 × 24·s
Consequently, a profile of one year with a resolution of 30 min contains 365·24·2 = 17,520 intervals. On the other hand, the quantity n of generators populating the power plant, as determined in Section 2.4, can be quite high. Depending on the nominal power of a genset type and the redundancy and load requirements of a certain interval, the combinations of running generators can be as much as 2n − 1.
Therefore, for an average n and for g different genset types, the Lagrange optimization code is executed on average l times, where:
l ¯ = q · ( 2 n ¯ 1 ) · g
This amount can easily be in the order of several million, hence the large total execution time.
Then again, it is apparent that for the same generator type and the same total load, the optimization outcome is the same. If the calculation of the operating cost is the problem, then the Lagrange optimization section, with all its repetitions, is the subproblem. Due to the uniformity of the load profile, many load conditions are the same; therefore, an overlapping of subproblems exists. This is a strong indication that running time can be reduced [28].
According to the memorization technique, an empty matrix is created for storing all optimization (i.e., subproblem) results. Any time such a calculation is required, the code quickly checks the matrix for an existing solution. If one is found, meaning that this particular optimization was performed before, the results are retrieved and the detailed calculation is bypassed.
This approach achieved a computational time reduction of more than 300 times and the running time of the code was reduced from several hours to less than a minute.

4. Case Study

As a case study, the above method was applied to a real passenger ship. To populate her power plant and to come up with tangible results, an extended data base comprising the functional parameters from several real diesel generators was used. Of course, many different scenarios can also be tested and numerical data better, may easily be applied.

4.1. Load Profile

The ship performs the same routine every year. Its load profile was formed to span this time period with a resolution of 30 min. In detail, she completes an 8-hour cruise every weekday, as shown in Table 3.
Weekends are holidays and only maintenance takes place. The crew also has 4 weeks of holidays every year. The total electrical load is therefore drafted as in Figure 6.
As mentioned above, the total load is distinguished in critical, essential and inessential load. The critical load was measured and approximated as follows in Table 4.
Noncritical load was divided into essential and inessential, as follows in Table 5.
For reliability purposes, the cost of losing essential load was estimated at 100 times more that of losing inessential load. Similarly, the cost of losing critical load was estimated to be 100 times even higher, as shown below in Table 6.

4.2. Generator Data: Electrical

The generators examined [29,30,31,32,33,34,35,36,37] covered an area of nominal power from 30 to 2250 kW. The whole range, along with their respective allowable limits of minimum and maximum power, may be seen in Figure 7. A common FOR equal to 0.0113 was used.

4.3. Generator Data: Mechanical

The equipment runs on light fuel (i.e., marine diesel) with a cost of 0.40 €/kg. Its fuel consumption was approximated by a second-degree polynomial (with coefficients a, b and c) versus its power output, as seen in Figure 8.
The lubricating oil consumption cost was found to be proportional to the output power and was approximated in all cases as 0.006 €/kWh. The dimensions and the weight of the engines are shown in Figure 9.

4.4. Generator Data: Cost

The acquisition and the maintenance cost of each genset are shown in Figure 10.
The unit costs of installation due to area, volume and weight used were the following, as seen in Table 7.
The complete set of data can be found in Table A1 in the Appendix A.

4.5. Results

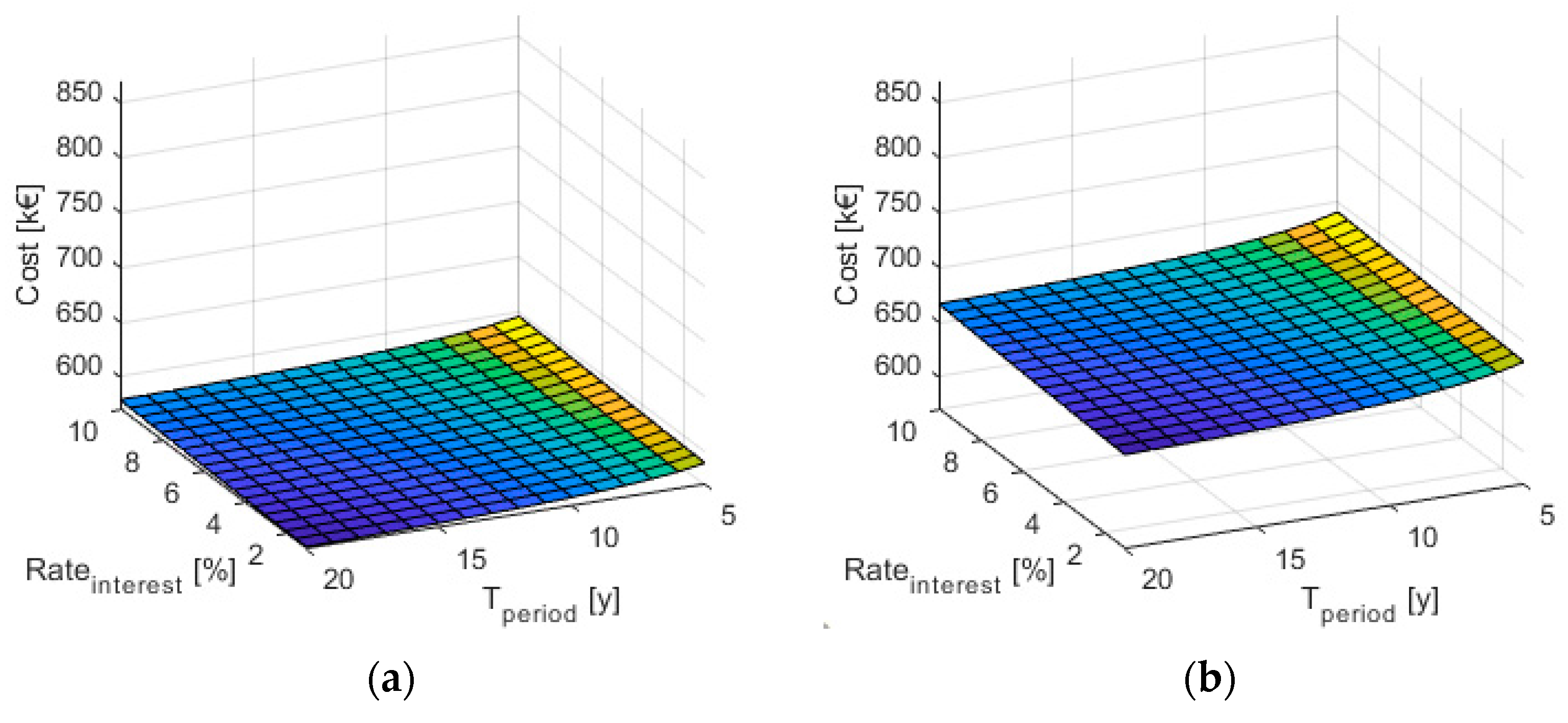
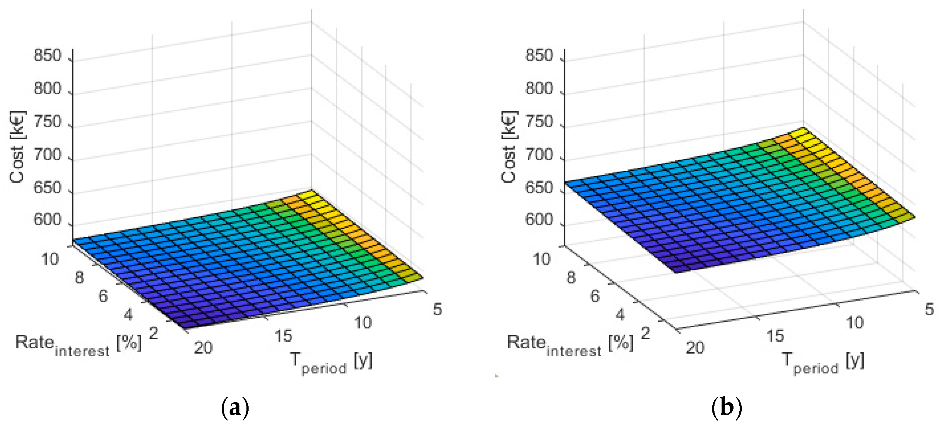
Assuming that no redundancy (n = n*) is required, the most efficient combination turned out to be one engine of 1500 kW nominal power when reliability was not considered. On the other hand, the most efficient combination turned out to be three engines of 500 kW nominal power each when reliability was considered, as seen in Figure 11.
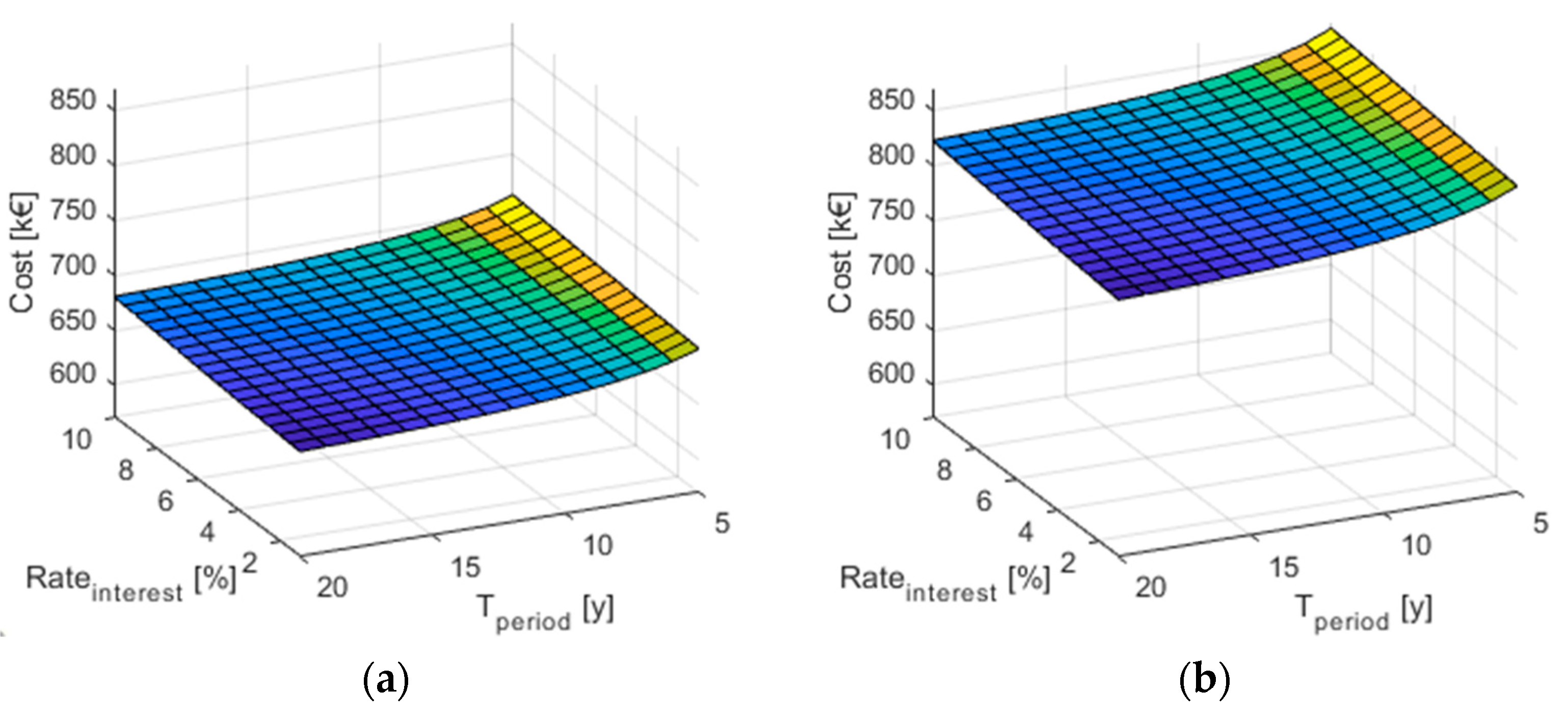
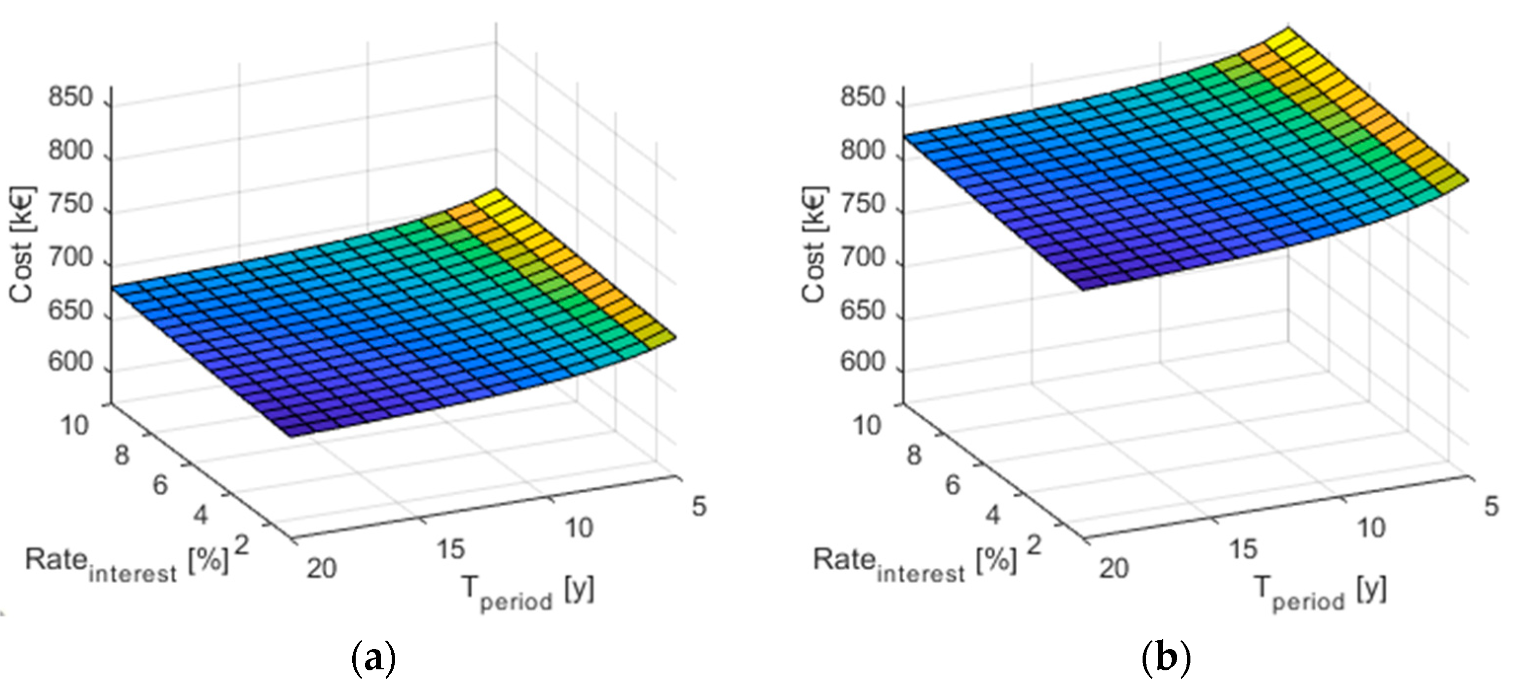
Assuming that redundancy of a whole power compartment (n = 2·n*) is required, the most efficient combination turned out to be two engines of 1500 kW nominal power each when reliability of the ship power system was not considered. On the other hand, the most efficient combination turned out to be four engines of 750 kW nominal power each when reliability of the ship power system was considered, as seen in Figure 12.
The results can be summarized as follows in Table 8.

5. Discussion

As observed in the examined designs, a ship with 1400 kW maximum load requirement can be sufficiently supplied by a single 1500 kW generator, assuming that no redundancy and reliability considerations exist.
When reliability begins to matter, one might expect a solution of two 750 kW engines. However, the proposed combination was three 500 kW engines. Although the total power supply capability remained the same, the larger number of engines is obviously more reliable.
Despite the fact that in the first case, the large engine ran most of the time at a load less than 30% of its nominal value, it was still more economical than the combination of the second case, which probably ran more efficiently per engine.
Next, when full redundancy became a requirement, as was expected, the scheme of the first case (without reliability) doubled, even though again only one generator was running at any certain time.
The same did not occur when both full redundancy and reliability were required, and the scheme of the second case was not doubled like before. Instead, four engines with 750 kW nominal power were selected as more efficient. This configuration is seen in many types of ships. Again, although the total power in both plants with full redundancy was the same, the cost of the reliable one was higher.

6. Conclusions

In this paper, a novel method was introduced to facilitate the selection process of the generators in a ship power plant. It uses many parameters related to all aspects of the life-cycle cost of the engines and to the actual operating routine of the ship; however, computational time is significantly low. This way, the designers can have a complete idea of the cost involved in their selection and its return on investment.
This method may be used for different operation scenarios simply by changing the numerical data. It can also be used for applications other than shipping, since industrial installations have similar needs. Even more exotic applications may also benefit from this, by calibrating the indicators used here, or simply adding new ones.
An idea for future work could be performing a sensitivity analysis to determine how much each the examined factors affect the outcome.
Another probably useful addition might be the consideration of the minimum running time, the minimum time between shutting down and starting up, the power-increase rate, and the starting cost.
Finally, it might prove advantageous to expand this method by testing combinations of different gensets and possible exploitation of renewable energy onboard. This way, ships with shaft generators and electric propulsion, but also terrestrial power factories, may be examined.

Author Contributions

Conceptualization, P.M., G.J.T., F.D.K. and J.M.P.; methodology, P.M. and G.J.T.; software, P.M. and G.J.T.; validation, P.M., G.J.T. and F.D.K.; formal analysis, P.M. and G.J.T.; investigation, P.M. and G.J.T.; resources, P.M., G.J.T., F.D.K. and J.M.P.; data curation, P.M. and G.J.T.; writing—original draft preparation, P.M.; writing—review and editing, P.M., G.J.T. and F.D.K.; supervision, J.M.P.; project administration, J.M.P. All authors have read and agreed to the published version of the manuscript.

Funding

This research received no external funding.

Institutional Review Board Statement

Not applicable.

Informed Consent Statement

Not applicable.

Data Availability Statement

Not applicable.

Conflicts of Interest

The authors declare no conflict of interest.

Appendix A

The diesel generator data used are shown in detail below.
Table A1. Genset data.
Table A1. Genset data.
#PnomFuel Consumption CoefficientsWeightDimensionsPriceFlat
Cost
abcLWH
[kW][kg/h][kg/kW h][kg/kW2 h][tn][m][m][m][k€][€/h]
130.02.36216.80280.00000.551.600.701.259.55.0
242.02.70859.17121.00780.551.600.701.2512.55.0
362.02.682313.1900−0.25200.641.800.701.3014.45.0
472.04.67708.90674.78720.661.800.701.3010.65.0
592.03.990415.16002.87230.802.000.701.4016.75.0
6105.03.448719.71601.25980.812.000.701.4013.25.0
7131.03.795124.95601.25980.842.040.711.4017.55.0
8141.04.015626.49301.76370.962.200.771.4015.45.0
9238.06.834339.63307.55871.052.300.801.4320.35.0
10370.011.055056.716015.62101.102.300.801.4822.27.5
112000.060.4700272.2400113.38001.112.340.801.4916.77.5
1230.02.36216.80280.00001.162.500.801.5524.17.5
1345.02.63779.98380.62991.182.500.801.5520.67.5
1465.03.280711.90501.25981.182.500.801.5526.77.5
1580.04.89749.83895.29111.432.570.871.5521.17.5
16110.03.511720.72301.25982.142.961.001.7227.37.5
17140.03.989326.37201.67972.182.961.001.7234.37.5
18160.04.472229.12603.02352.363.101.031.8331.87.5
19230.06.771337.92007.55872.673.501.102.1640.27.5
20275.07.913044.81709.44842.753.501.102.1652.67.5
21350.010.708053.163015.11702.863.501.102.1643.77.5
22400.011.574062.044016.37703.963.701.102.1451.77.5
23500.014.645074.957022.67604.794.111.542.2555.410.0
24600.018.661084.469031.49506.194.281.912.2864.410.0
25750.022.2040107.960037.79407.854.862.052.2878.210.0
261000.029.9200140.720052.91109.084.791.902.4590.810.0
271250.037.4790173.720068.02809.915.101.902.44102.710.0
281500.045.1950206.480083.146012.955.422.242.68113.910.0
291750.052.7530239.490098.263015.705.732.303.02124.610.0
302000.060.4700272.2400113.380015.705.732.303.02133.810.0
312250.068.0280305.2500128.500016.075.972.183.40134.910.0
Pmin = 15% Pnom, Pmax = 105% Pnom, FOR = 0.0113, fuel type = light fuel, lubricating oil consumption cost = 0.006 €/kWh.

References

  1. Shipping Fleet Statistics: 2021—GOV.UK. Available online: https://www.gov.uk/government/statistics/shipping-fleet-statistics-2021/shipping-fleet-statistics-2021--2 (accessed on 14 September 2022).
  2. Shipbuilding Market Size, Share, Report, Analysis, Growth—2030. Available online: https://www.alliedmarketresearch.com/shipbuilding-market-A08511 (accessed on 14 September 2022).
  3. Tsekouras, G.J.; Kanellos, F.D.; Prousalidis, J. Simplified Method for the Assessment of Ship Electric Power Systems Operation Cost Reduction from Energy Storage and Renewable Energy Sources Integration. IET Electr. Syst. Transp. 2015, 5, 61–69. [Google Scholar] [CrossRef]
  4. Tsekouras, G.J.; Kanellos, F.D. Optimal Operation of Ship Electrical Power System with Energy Storage System and Photovoltaics: Analysis and Application. WSEAS Trans. Power Syst. 2013, 8, 145–155. [Google Scholar]
  5. Sun, Y.; Yan, X.; Yuan, C.; Tang, X.; Malekian, R.; Guo, C.; Li, Z. The Application of Hybrid Photovoltaic System on the Ocean-Going Ship: Engineering Practice and Experimental Research. J. Mar. Eng. Technol. 2019, 18, 56–66. [Google Scholar] [CrossRef]
  6. Huang, X.; Sun, S. Application of Wind Power Generation Technology in Ships. In Proceedings of the 2022 IEEE Asia-Pacific Conference on Image Processing, Electronics and Computers, IPEC 2022, Dalian, China, 14–16 April 2022; pp. 1591–1593. [Google Scholar]
  7. Chen, X.; Guo, Y. Research on Energy Management Strategy of Fuel Cell-Battery Hybrid Power Ship. In Proceedings of the SPIE—The International Society for Optical Engineering, Guangzhou, China, 10–12 December 2021; Volume 12164. [Google Scholar]
  8. Chen, H.; Zhang, Z.; Guan, C.; Gao, H. Optimization of Sizing and Frequency Control in Battery/Supercapacitor Hybrid Energy Storage System for Fuel Cell Ship. Energy 2020, 197, 117285. [Google Scholar] [CrossRef]
  9. Jeong, B.; Jeon, H.; Kim, S.; Kim, J.; Zhou, P. Evaluation of the Lifecycle Environmental Benefits of Full Battery Powered Ships: Comparative Analysis of Marine Diesel and Electricity. J. Mar. Sci. Eng. 2020, 8, 580. [Google Scholar] [CrossRef]
  10. Kanellos, F.D.; Tsekouras, G.J.; Prousalidis, J. Onboard DC Grid Employing Smart Grid Technology: Challenges, State of the Art and Future Prospects. IET Electr. Syst. Transp. 2015, 5, 1–11. [Google Scholar] [CrossRef]
  11. Ballou, P.J. Ship Energy Efficiency Management Requires a Total Solution Approach. Mar. Technol. Soc. J. 2013, 47, 83–95. [Google Scholar] [CrossRef]
  12. Sudhoff, S.D. Currents of Change. IEEE Power Energy Mag. 2011, 9, 30–37. [Google Scholar] [CrossRef]
  13. Feng, X.; Zourntos, T.; Butler-Purry, K.L.; Mashayekh, S. Dynamic Load Management for NG IPS Ships. In Proceedings of the IEEE PES General Meeting, PES 2010, Minneapoli, MI, USA, 25–29 July 2010. [Google Scholar]
  14. Fang, S.; Xu, Y.; Wen, S.; Zhao, T.; Wang, H.; Liu, L. Data-Driven Robust Coordination of Generation and Demand-Side in Photovoltaic Integrated All-Electric Ship Microgrids. IEEE Trans. Power Syst. 2020, 35, 1783–1795. [Google Scholar] [CrossRef]
  15. Feng, X.; Butler-Purry, K.L.; Zourntos, T. Real-Time Electric Load Management for DC Zonal All-Electric Ship Power Systems. Electr. Power Syst. Res. 2018, 154, 503–514. [Google Scholar] [CrossRef]
  16. Zeng, Y.; Zhang, Q.; Liu, Y.; Zhuang, X.; Lv, X.; Wang, H. An Improved Distributed Secondary Control Strategy for Battery Storage System in DC Shipboard Microgrid. IEEE Trans. Ind. Appl. 2022, 58, 4062–4075. [Google Scholar] [CrossRef]
  17. Tang, D.; Wang, H. Energy Management Strategies for Hybrid Power Systems Considering Dynamic Characteristics of Power Sources. IEEE Access 2021, 9, 158796–158807. [Google Scholar] [CrossRef]
  18. Si, Y.; Wang, R.; Zhang, S.; Zhou, W.; Lin, A.; Zeng, G. Configuration Optimization and Energy Management of Hybrid Energy System for Marine Using Quantum Computing. Energy 2022, 253, 124131. [Google Scholar] [CrossRef]
  19. Michalopoulos, P.; Kanellos, F.D.; Tsekouras, G.J.; Prousalidis, J.M. A Method for Optimal Operation of Complex Ship Power Systems Employing Shaft Electric Machines. IEEE Trans. Transp. Electrif. 2016, 2, 547–557. [Google Scholar] [CrossRef]
  20. Nasioulas, E.C.; Tsekouras, G.J.; Kanellos, F.D. Bottom-up Reliability Analysis of a Base Load Diesel Engine Driven Electric Power Unit. WSEAS Trans. Power Syst. 2014, 9, 327–340. [Google Scholar]
  21. Bertsekas, D.P. Constrained Optimization and Lagrange Multiplier Methods, 1st ed.; Athena Scientific: Nashua, NH, USA, 1996; ISBN 978-1-886529-04-5. [Google Scholar]
  22. Bureau of Transport Economics. An Estimate of Operating Costs for Bulk, Ro-Ro and Container Ships; Australian Government Publishing Service: Canberra, Australia, 1982; ISBN 978-0-642-01774-1.
  23. Jäger, L. Handbook of Capital Recovery (CR) Factors; Books on Demand GmbH: Norderstedt, Germany, 2021; ISBN 978-3-7534-5672-0. [Google Scholar]
  24. Momoh, J.A. Electric Power System Applications of Optimization; Marcel Dekker Inc.: New York, NY, USA, 2001; ISBN 0-8247-9105-3. [Google Scholar]
  25. Saccomanno, F. Electric Power Systems: Analysis and Control, 1st ed.; Wiley-IEEE Press: Piscataway, NJ, USA; Hoboken, NJ, USA, 2003; ISBN 978-0-471-23439-5. [Google Scholar]
  26. Tsekouras, G.J.; Kanellos, F.D.; Tsirekis, C.D.; Mastorakis, N.E. Optimal operation of thermal electric power production system without transmission losses: An alternative solution using Artificial Neural Networks based on external penalty functions. In Proceedings of the 12th WSEAS International Conference on Artificial Intelligence, Knowledge Engineering and Databases (AIKED 2013), Cambridge, UK, 22–24 February 2013. [Google Scholar]
  27. Chow, G.C. Dynamic Economics: Optimization by the Lagrange Method; Oxford University Press: Oxford, UK, 2011; p. 248. ISBN 978-0-19-985503-2. [Google Scholar]
  28. Karumanchi, N. Algorithm Design Techniques: Recursion, Backtracking, Greedy, Divide and Conquer, and Dynamic Programming; CareerMonk Publications: Madinaguda, India, 2018; ISBN 978-81-932452-5-5. [Google Scholar]
  29. Approximate Diesel Generator Fuel Consumption Chart. Available online: https://www.generatorsource.com/Diesel_Fuel_Consumption.aspx (accessed on 14 September 2022).
  30. Argyriou SA Generator Sets—Industrial. Available online: https://www.argyriousa.com.gr/ell/product/ILEKTROPARAGOGA-ZEYGI-Viomixanika (accessed on 14 September 2022).
  31. Wartsila. LNG Shipping Solutions. Wartsila, 2017. Available online: https://cdn.wartsila.com/docs/default-source/oil-gas-documents/brochure-lng-shipping-solutions.pdf?sfvrsn=12 (accessed on 12 October 2022).
  32. Dual Fuel Engines. Available online: https://www.wartsila.com/marine/products/engines-and-generating-sets/dual-fuel-engines (accessed on 12 October 2022).
  33. Wartsila. Wärtsilä 50DF Product Guide. Wartsila, 2018. Available online: https://cdn.wartsila.com/docs/default-source/product-files/engines/df-engine/product-guide-o-e-w50df.pdf?sfvrsn=9 (accessed on 12 October 2022).
  34. MAN Diesel & Turbo, MAN L51/60DF; MAN Diesel & Turbo. Available online: https://mandieselturbo.com/docs/default-source/shopwaredocuments/man-51-60df0a0c6de48eda40e380a07ede431aa5bd.pdf?sfvrsn=1 (accessed on 12 October 2022).
  35. CIMAC. Guidelines for the Lubrication of Medium Speed Diesel Engines; CIMAC: Solihull, UK, 2008. [Google Scholar]
  36. GenSets Closed Type 1500 rpm. Available online: https://www.genitries.gr/product-category/gennitries-ilektroparagoga-zeygi/iz-kleistoy-typoy/ (accessed on 14 September 2022).
  37. Marine Generators. Available online: https://www.zenoro.com/marine-generators/ (accessed on 14 September 2022).
Figure 1. Typical genset selection process.
Figure 1. Typical genset selection process.
Applsci 12 10463 g001
Figure 2. Calculation process overview.
Figure 2. Calculation process overview.
Applsci 12 10463 g002
Figure 3. Fuel consumption curves.
Figure 3. Fuel consumption curves.
Applsci 12 10463 g003
Figure 4. Operating cost calculation process.
Figure 4. Operating cost calculation process.
Applsci 12 10463 g004
Figure 5. Speed improvement modification.
Figure 5. Speed improvement modification.
Applsci 12 10463 g005
Figure 6. Load profile of ship: (a) versus time; (b) load duration curve.
Figure 6. Load profile of ship: (a) versus time; (b) load duration curve.
Applsci 12 10463 g006
Figure 7. Power nominal, min, max.
Figure 7. Power nominal, min, max.
Applsci 12 10463 g007
Figure 8. Fuel consumption coefficients.
Figure 8. Fuel consumption coefficients.
Applsci 12 10463 g008
Figure 9. Dimensions and weight.
Figure 9. Dimensions and weight.
Applsci 12 10463 g009
Figure 10. Acquisition cost and maintenance cost.
Figure 10. Acquisition cost and maintenance cost.
Applsci 12 10463 g010
Figure 11. Minimum annual total cost for the best solution for power plant without redundancy: (a) without reliability considerations; (b) minimum annual total cost for the best solution with reliability considerations.
Figure 11. Minimum annual total cost for the best solution for power plant without redundancy: (a) without reliability considerations; (b) minimum annual total cost for the best solution with reliability considerations.
Applsci 12 10463 g011
Figure 12. Minimum annual total cost for the best solution for power plant with full redundancy: (a) without reliability considerations; (b) minimum annual total cost for the best solution with reliability considerations.
Figure 12. Minimum annual total cost for the best solution for power plant with full redundancy: (a) without reliability considerations; (b) minimum annual total cost for the best solution with reliability considerations.
Applsci 12 10463 g012
Table 1. Generator data collected.
Table 1. Generator data collected.
Specification
Electrical
Nominal power
Minimum power percentage
Maximum power percentage Pmax
Forced outage rate (FOR)
Mechanical
Fuel type
Fuel consumption curve
Lubricating oil consumption
Weight
Length
Width
Height
Cost
Acquisition cost
Maintenance cost
Table 2. Number of generators required.
Table 2. Number of generators required.
RedundancyGenerator Quantity n
none or emergency generatorn*
1 generatorn* + 1
full: 1 power compartmentn*
Table 3. Ship’s weekday routine.
Table 3. Ship’s weekday routine.
StatusDuration
at port8.5 h
preparation for departure1 h
underway8 h
preparation for arrival1 h
at port5.5 h
Total:24 h
Table 4. Critical load approximation.
Table 4. Critical load approximation.
StatusCritical Load
at port20 kW
preparation for departure100 kW
underway100 kW
preparation for arrival100 kW
Table 5. Essential and inessential load division.
Table 5. Essential and inessential load division.
StatusEssential LoadInessential Load
at port70%30%of noncritical
preparation for departure60%40%of noncritical
underway60%40%of noncritical
preparation for arrival60%40%of noncritical
Table 6. Relative reliability cost.
Table 6. Relative reliability cost.
Load TypeRelative Cost
inessential1
essential100
critical10,000
Table 7. Installation unit costs.
Table 7. Installation unit costs.
Installation Cost TypeUnit Cost
due to area0 €/m2
due to volume463 €/m3
due to weight0 €/kg
Table 8. Results summary.
Table 8. Results summary.
No RedundancyFull Redundancy
w/o Reliabilityw/ Reliabilityw/o Reliabilityw/Reliability
Selected power plant1 × 1500 kW3 × 500 kW2 × 1500 kW4 × 750 kW
duty cycle 1 engine100%64%100%70%
duty cycle 2 engines-33%0%30%
duty cycle 3 engines-3%-0%
duty cycle 4 engines---0%
min optimal annual cost
(20 annuities with 1% interest rate)
€572,000€656,000€666,000€804,000
max optimal annual cost
(5 annuities with 10% interest rate)
€596,000€691,000€713,000€865,000
Publisher’s Note: MDPI stays neutral with regard to jurisdictional claims in published maps and institutional affiliations.

Share and Cite

MDPI and ACS Style

Michalopoulos, P.; Tsekouras, G.J.; Kanellos, F.D.; Prousalidis, J.M. Optimal Selection of the Diesel Generators Supplying a Ship Electric Power System. Appl. Sci. 2022, 12, 10463. https://doi.org/10.3390/app122010463

AMA Style

Michalopoulos P, Tsekouras GJ, Kanellos FD, Prousalidis JM. Optimal Selection of the Diesel Generators Supplying a Ship Electric Power System. Applied Sciences. 2022; 12(20):10463. https://doi.org/10.3390/app122010463

Chicago/Turabian Style

Michalopoulos, Panayiotis, George J. Tsekouras, Fotios D. Kanellos, and John M. Prousalidis. 2022. "Optimal Selection of the Diesel Generators Supplying a Ship Electric Power System" Applied Sciences 12, no. 20: 10463. https://doi.org/10.3390/app122010463

APA Style

Michalopoulos, P., Tsekouras, G. J., Kanellos, F. D., & Prousalidis, J. M. (2022). Optimal Selection of the Diesel Generators Supplying a Ship Electric Power System. Applied Sciences, 12(20), 10463. https://doi.org/10.3390/app122010463

Note that from the first issue of 2016, this journal uses article numbers instead of page numbers. See further details here.

Article Metrics

Back to TopTop