Abstract
The possibility of using polymer concrete for metal cutting machine beds is analyzed. A comparison of the structures of the machine beds made of polymer concrete and cast iron is made. The frequency of the body of the machine beds made of polymer concrete and cast iron is determined. An analysis of the stress–strain state under static loads is carried out. To increase resistance to wear, it is proposed to spray polymer concrete frames are proposed by the gas–thermal method. The installation of thermal spraying for guide machine beds is given. The optimal parameters for spraying the guides of the machine beds made of polymer concrete are established calculated using the finite element method for the guide beds of metal cutting machine tools using polymer concrete with gaseous coating. The manufacture of the foundation bed from polymer concrete increases the vibration resistance of the machine by 1.4 times. At the same time, the metal consumption of metal cutting machines will decrease by 60%. To increase the wear resistance of the frame guides, it is proposed to use thermal spraying with certain modes typical for polymer concrete. The installation of thermal spraying for bed guides is given. Calculating using the finite element method for the guide beds of metal cutting machines showed that the use of polymer concrete with a wear-resistant coating is justified.
Keywords:
stress; rigidity; vibration; polymer concrete; cast iron; strength; guides; thermal spraying 1. Introduction
To date, the requirements for the performance and accuracy of machine tools are only increasing due to the need to manufacture increasingly accurate and high-quality products [1]. All this is because the performance of the machine depends on its individual elements, which are subjected to different loads during operation [2]. In this regard, the need for new special technologies and materials for the manufacture of machine tool elements has increased [3]. Such elements of the machine as the bed, base, and frames are subjected to the greatest load; these elements are made of cast iron and steel, but elements made of steel and cast iron do not meet the set requirements today since they have low vibration resistance and cannot provide dimensional stability for a long time. In this regard, it became necessary to use new materials in the load-bearing structures of machine tools, namely, in composite materials [4].
When designing and operating metal-cutting machine tools, in order to increase their quality, productivity and labor efficiency, it is necessary to consider the requirements for strength, rigidity and stability of the structure; all these indicators are ultimately reflected in the vibration of the entire structure as a whole.
In Europe, a mineral–polymer composite that consists of a stone base and synthetic resin as a binder has become widespread in the field of machine tool building. Polymer concrete differs from cement concrete in that a polymer is used in the presence of a binder [5].
In European and Asian machine tool industries, cast iron was mainly used as a material for the manufacture of machine tool frames [6]. It was much superior to copper and iron alloys in terms of vibration stability and rigidity. An alternative for these properties was only natural stone, but its fragility and the complexity of processing and pairing parts did not allow for the development of this direction. Consequently, all technological lines related to the production of cast iron have brought the process of manufacturing frames to perfection. All available types of this alloy have been researched and tested, and cast iron became the leader for the manufacture of beds due to the successful matching of two properties: price and ability to damp (suppress vibrations of machine mechanisms) with the proper volume and weight [7].
Polymer concrete is a current innovative substitute for ordinary concrete as a stronger and more durable alternative [8]. Synthetic binders and hardeners give polymer concrete increased resistance to frost, moisture and various chemical factors.
The resistance of polymer concrete depends on the choice of polymer binder and, consequently, the resistance of the fillers. The dense structure of polymer concrete provides high durability. The main disadvantage of using polymer concrete is its relatively low heat resistance [9].
The limiting temperature at which polymer concrete structures can be operated should not exceed 150–180 °C. Compared with cast iron, polymer concrete has less strength, but given that the basic parts of machine tools, such as beds, are calculated for rigidity and not for strength, this cannot entirely be attributed to the disadvantages of polymer concrete. Consequently, operational loads do not exceed 10% of the strength of cast iron [10].
From a technological point of view, composite materials make it possible to perform the high-precision casting of parts, which often does not require further mechanical and heat treatment, which makes it possible to significantly reduce the time for the production of large-sized parts with developed geometry. It has been established that in mass production, the period for manufacturing parts from composites by free casting and transferring them to a further stage of production is 3–10 days depending on the dimensions of the parts. The use of parts of the carrier system of the machine made of polymer concrete significantly increases its productivity, helps to reduce energy costs and reduce production time, and also improves the accuracy and cleanliness of the processing of manufactured products [11].
As a result of the analysis of the literature [7,8,9], it was found that the use of polymer concrete in the construction of machine tools, in comparison with cast iron, greatly increases the stability of the bearing capacity of the machines and, as a result, improves the accuracy of processing by 1.5–2 times. The large-scale introduction of polymer concrete in the production of high-precision and precision machine tools in the mid-80s of the 20th century was successfully carried out by the world’s leading machine tool manufacturers. High-precision machine tools of various types are still produced using polymer concrete in Germany, Switzerland and the USA and are in constant demand all over the world.
Thanks to the use of structural mineral–polymer composite materials (in particular, polymer concrete) as part of machine tools, process equipment and measuring systems, leading European, American and Japanese manufacturers have increased the competitiveness of their products and gained undeniable superiority in world markets [12].
Thus, there was a need to study and conduct additional experiments for the manufacture of load-bearing units of metal-cutting machines made of polymer concrete when applying appropriate loads. Additionally, to reduce adverse internal stresses and longitudinal deflection (deformation), it is proposed to study the method of applying thermal spraying to the surface of the frame guides. The purpose of this article is the analysis of the dynamic properties of identically shaped beds made using the traditional casting method and a new method of thermal spraying polymer concrete on the surface of the frame guides.
2. Materials and Methods
In the course of this research, the modal analysis of the frame bodies was considered. The first copy was made of gray cast iron, and the second one was made of polymer concrete with topological optimization of the machine geometry.
Figure 1 shows an isometric view of the part in question. This machine bed body made by Koluszki Foundry and Machinery (Koluszki, Poland) CU300 with dimensions of 300 mm × 300 mm × 2000 mm is made of gray cast iron. Casting technology imposes design limitations, consisting in the design of a cast element with the most uniform thickness of walls and ribs. The use of different thicknesses and variable cross sections of elements can lead to the occurrence of adverse effects during the casting or cooling of the casting, such as, for example, shrinkage cavities [13]. This is a significant technological limitation leading to the need to adapt the shape of the structural element to the requirements of the casting process [14].
Figure 1.
Isometric view of the frame.
Therefore, to increase the statistical and dynamic rigidity of the machine bed, it was proposed to use a special structure made of polymer concrete. The use of polymer concrete as a material for the machine bed is aimed at improving the dynamic properties [15] since the most favorable changes can be expected as a result of the use of a material with a better damping factor, the vibrations of which are much higher than that of cast iron. These properties also change in a positive direction as a result of an increase in the mass of the foundation bed.
To answer the question of the extent to which the use of polymer concrete will affect the change in the dynamic properties of the foundation bed, studies was conducted on the basis of selected 3D models of machine bodies. The studies were carried out using the analytical module Autodesk Inventor, the application of which is based on the finite element method [16,17,18].
In the course of the research, a theoretical analysis was carried out for the first twenty different forms of vibrations (F1 ÷ F20) and the natural frequencies of the foundation bed. The mechanical properties of both samples used in the analysis of materials are presented in Table 1 [19].
Table 1.
Mechanical properties of materials for beds [20].
A very important aspect in the analysis was the adequate imposition of boundary conditions [21]. One of them was the deprivation of degrees of freedom (fixing the body of the foundation bed). The housing on the left and right has mounting holes (marked in red) with which it is bolted, and it was on these holes that fixed bonds were imposed in accordance with Figure 2, which deprived all degrees of freedom of the body relative to the substrate, both for the cast-iron body and for the body made of polymer concrete.
Figure 2.
Body attachment points.
Another very important aspect in conducting this research was to correctly set up the finite element mesh [22]. Smaller grid parameters lead to a larger number of nodes and elements, and a larger number of elements would lead to distortion of the obtained data. Thus, the optimal number of elements was chosen, while the generation time was longer, but the results obtained by mesh compaction turned out to be more accurate.
When creating the computational model of the curbs, the standard procedure of generating a finite element mesh with increased density was used without losing the geometric shape of the analyzed structure. During the discretization process, second-order three-dimensional pyramidal elements were used. For a more accurate and valid distribution of internal stresses on the rails and the pedestal under the action of external forces, it is necessary to pay due attention to the quality of the superimposed finite element network. The density of the network in these parts is increased by 50% in relation to the main structure.
Figure 3 and Figure 4 show a finite element grid applied to cast iron and polymer concrete structures. The cast iron body was divided into 407,740 nodes and 231,853 elements, and the polymer concrete body—into 475,499 nodes and 277,603 elements.
Figure 3.
View of the finite element mesh for a cast iron body.
Figure 4.
View of the finite element mesh for the body of polymer concrete.
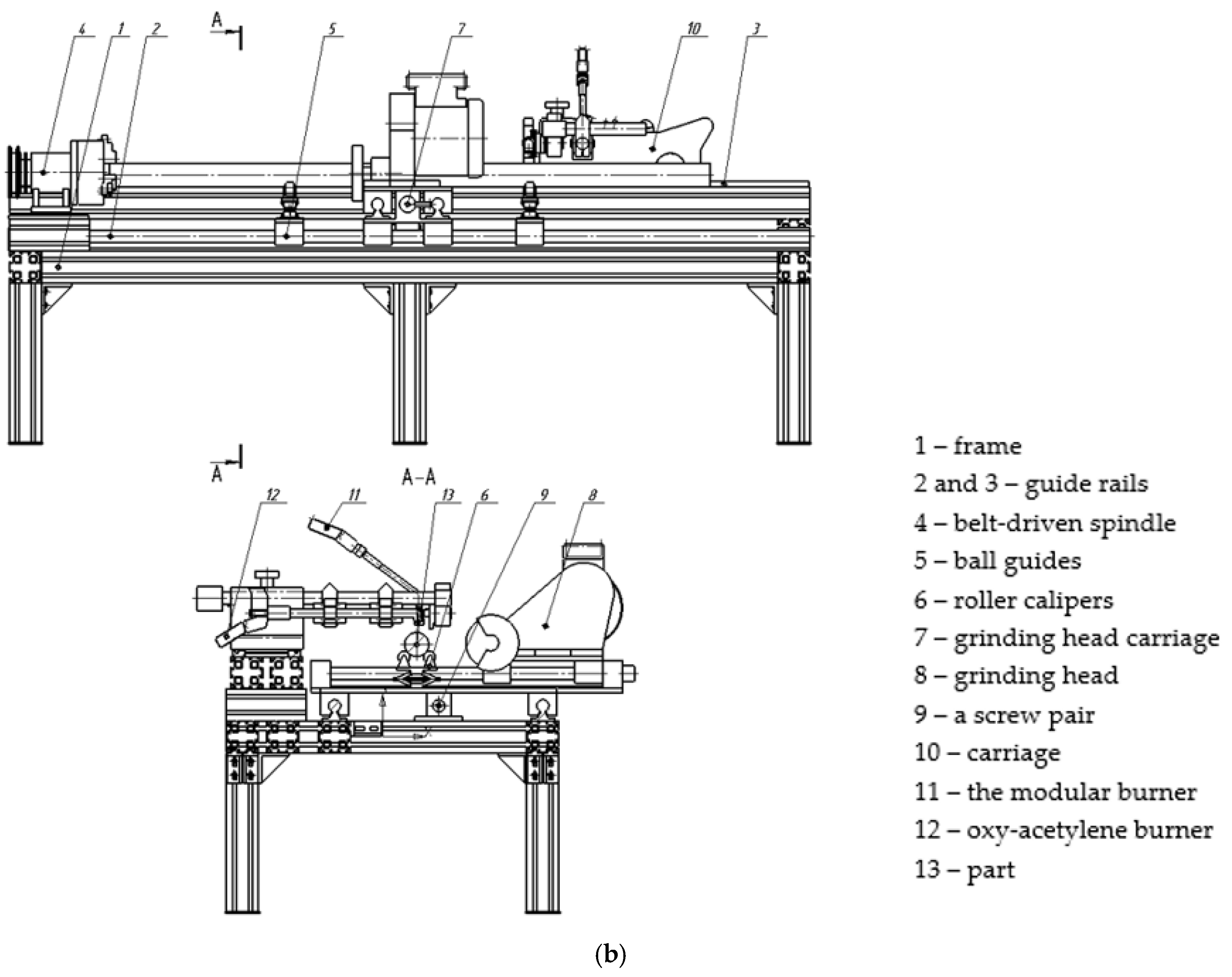
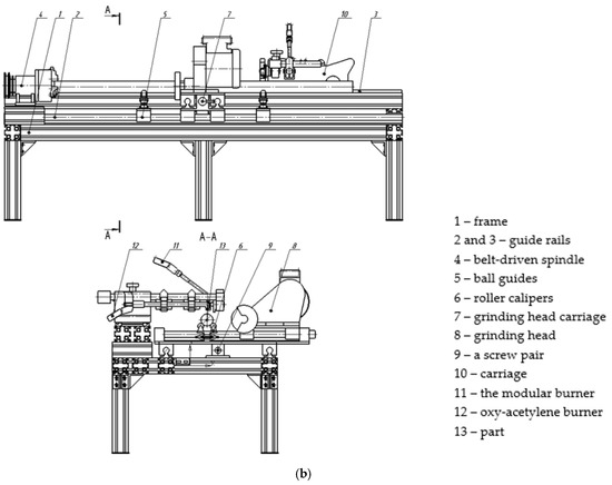
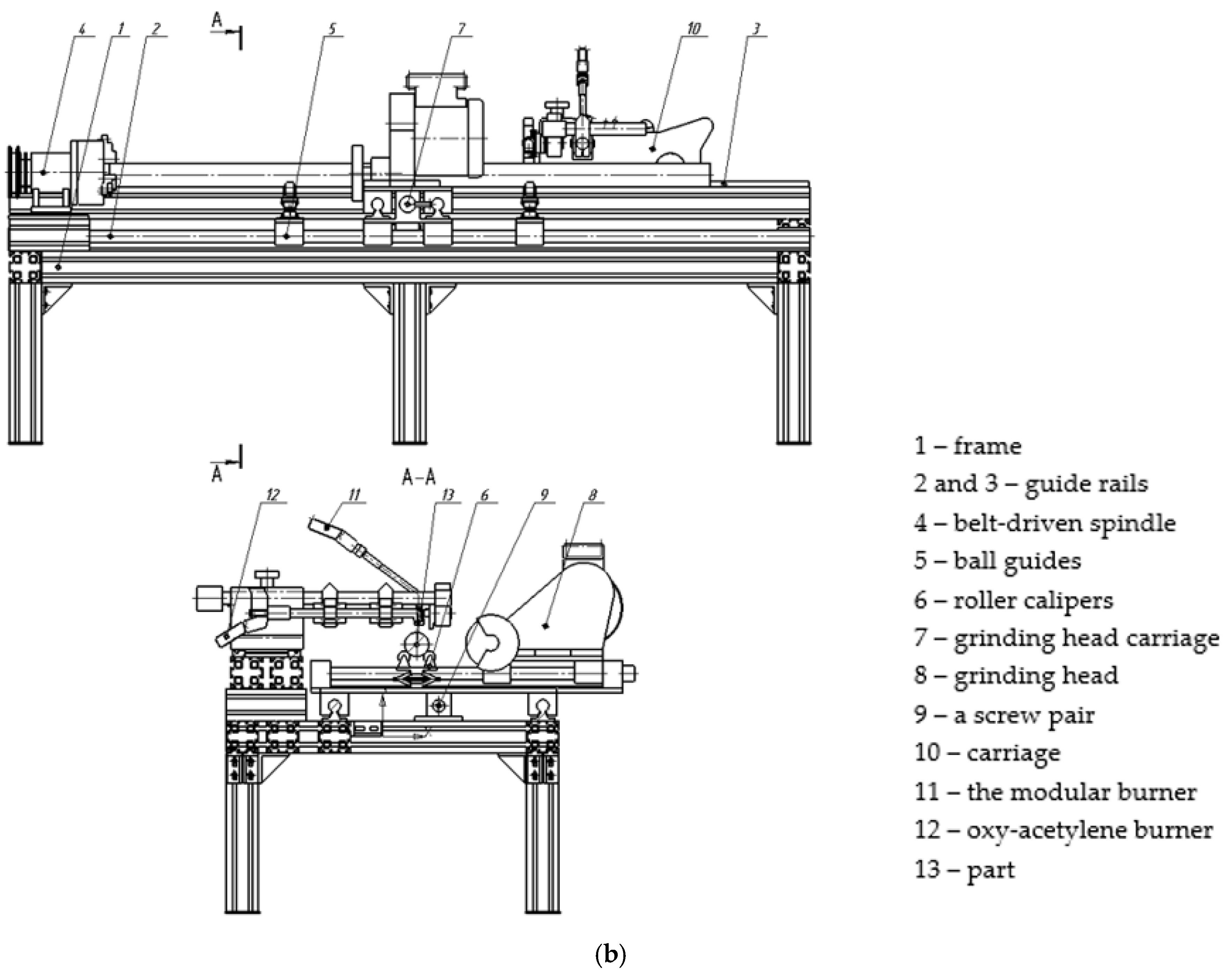
The essence of the process of modeling gas–thermal coatings consisted in the formation of a directed flow of dispersed particles of the sprayed material [23], which ensures their transfer to the surface of the frame generatrix and the formation of a special coating layer on the guides (Figure 5a) under the appropriate modes (Table 2). The gas-flame installation in Figure 5b consists of a frame 1 assembled from aluminum profiles, on which a belt-driven spindle 4 and guide rails 2 and 3 are installed as well as self-made carriage 7, which was also assembled from rails 2 and ball guides 5. The movement of the roller calipers 6 is ensured by sliding the guides 5, and it is also possible to move vertically to adjust to the desired size of the part. Depending on the length of the part, the required number of roller supports 6 is set.

Figure 5.
(a). Model of the installation of thermal spraying of guides of the frame made of polymer concrete. (b). Design of the flame spraying installation.
Table 2.
Parameters of the process of spraying the guides of the frame made of polymer concrete.
A grinding head 8 is installed on the carriage 7, the movement of the carriage is provided by a screw pair 9 connected to an electric drive.
A carriage 10 is installed on rails 2, to which a modular burner 11 and an oxy-acetylene burner 12 are attached. The burners are fastened by holders mounted on a rack with a counterweight. Part 13 is rotated by a belt-driven spindle 4, clamping is carried out by a three-jaw chuck. During installation, item 13 rests on a support roller caliper 6.
This installation (Figure 5b) works as follows. Part 13 is placed on roller calipers 6 and installed in a three-jaw belt drive chuck 4.
After part 13 has been installed and based, the process of flame spraying begins.
Belt drive 4 is started, rotating part 13 at the optimum speed. Next, modular burner 11 and oxy-acetylene burner 12 are activated, where the former sprays the semi-molten powder onto part 13, and the latter heats up the processing site and serves to simultaneously melt the sprayed material. In this case, carriage 7 moves at a certain speed for the complete spraying of part 13. The movement of carriage 7 comes from the end of the part.
After the end of the spraying process, carriage 7 is taken aside, and the resulting coating of part 13 is ground using grinding head 7. To ensure uniform coating thickness, dimensional accuracy and surface finish.
Part 13 is removed from the three-jaw belt drive chuck 4 and calipers 6. Then the next part 13 is again placed on roller calipers 6 and installed in the belt drive chuck 4, and the process is repeated.
Literature analysis has shown that at present there are no analogues of the proposed idea of thermal spraying of special coatings on guide machine beds made of polymer concrete.
Having the results of studies obtained earlier [24], and also taking into account the geometry of the design of the guides, for the selected powder alloys, the optimal parameters of the spraying process were established in accordance with Table 2.
3. Results and Discussion
3.1. Determination of the Stress-Strain State of the Machine Beds
After determining all the necessary settings, a simulation was carried out. The results of the analysis are presented in Table 3. The vibration modes were designated F1 ÷ F20.
Table 3.
Results of modal analysis.
As can be seen in Table 3, there was an increase in the free frequencies of natural vibrations for the body made of polymer concrete for the forms analyzed. To visualize the process, Figure 6, Figure 7 and Figure 8 show the corresponding forms of free vibrations of both bodies, as well as their frequencies, from which it can be concluded that the polymer concrete body has an increase in the dynamic rigidity of the structure, since there was an increase in the frequency of free vibrations. The worst options for the modal analysis are considered to be the first five modes. The average increase in the natural frequency of the model made of polymer material is 4.2% higher than that of the model made of cast iron. When calculating the modal analysis of the structure, critical places (gradient from green to red), which can transmit vibration load during machine operation. Places that are not affected by the load are highlighted in blue.
Figure 6.
Cast iron body frequency—1080 Hz (F12).
Figure 7.
Frequency of the polymer concrete body—1336 Hz (F16).
Figure 8.
Frequency of the polymer concrete hull—1503 Hz (F17).
Additional static studies were carried out to determine the increase in the rigidity of the body of the foundation bed. Each of the hulls was loaded with a force of 500 N along each of the three axes, as shown in Figure 9. The same support method was used, as well as the same finite element mesh parameters. The state of stresses and deformations of the frame under the action of static force was subjected to analysis.
Figure 9.
Load applied to the body.
Based on the models obtained (Figure 10, Figure 11, Figure 12 and Figure 13), it can be concluded that for the body made of polymer concrete, both stress and displacement were significantly less than for the structure made of traditional cast iron. For the cast iron body, the stress was 22.52 MPa and the displacement was 5 µm, while for the polymer concrete structure, the stress was 4.26 MPa and the deformation was 3 µm under the same loading conditions. Thus, it can be concluded that there was an increase in the static rigidity of the entire structure.
Figure 10.
Stress cast iron body.
Figure 11.
Stress of the body made of polymer concrete.
Figure 12.
Moving the cast iron body.
Figure 13.
Moving the body made of polymer concrete.
3.2. Determination of the Stress-Strain State of the Machine Beds with Thermal Spraying Coatings
Additionally in the course of the ongoing research, a comparative modeling of the behavior of two samples of the frames was carried out: One was made entirely of polymer concrete, and thermal spraying was applied to the surface of the other (on the guides). It was necessary to analyze the resulting internal stresses, which later lead to fatigue wear, as well as the deflection of the foundation bed.
Process prototyping showed that in static analysis under the influence of superimposed forces (cutting and gravity), the internal stresses (Figure 14), as well as the longitudinal deflection (Figure 15) for the bed model made with sprayed guides are less than for the model without spraying (Figure 16 and Figure 17). Accordingly, uneven wear along the length and resulting deformations in models with the application of special coatings will be less than in samples made without coatings.
Figure 14.
Internal stresses in a foundation bed made of polymer concrete with gas-thermal spraying of guides under static load.
Figure 15.
Longitudinal deflection in a foundation bed made of polymer concrete with thermal spraying of guides under static load.
Figure 16.
Internal stresses in a frame made of polymer concrete without thermal spraying of guides when applying a static load.
Figure 17.
Longitudinal deflection in a frame made of polymer concrete without thermal spraying of guides under static load.
4. Conclusions
During theoretical studies, the finite element method was used to analyze two hulls made of cast iron and polymer concrete.
In the course of the research, the expediency of using polymer concrete as a material for the manufacture of metal-cutting machine beds was confirmed since the dynamic properties of the material are superior to those obtained when using cast iron in the machine beds. Analysis showed that under the same conditions, the design of the body of the metal cutting machine bed made of polymer material has greater rigidity and greater resistance to vibrations.
The average increase in natural frequency of a model made of polymer concrete was 4.2% higher than that of a model made of cast iron. For a polymer concrete body, both stress and displacement were significantly less than for a conventional cast iron structure. For the cast iron housing, the stress was 22.52 MPa. The displacement of the cast-iron body was 5 microns. The stress of the hybrid design was 4.26 MPa. The deformation of the hybrid design is 3 µm under the same loading conditions. From the results, it can be seen that the increase in the static rigidity of the entire structure.
Manufacturing the machine bed from polymer concrete increases vibration resistance by 1.4 times. At the same time, the metal consumption of machine tools will decrease by 60%. In order to reduce unfavorable internal stresses and longitudinal deflection (deformation), a study was conducted of the method of applying thermal spraying on the surface of the guides of a frame made of polymer concrete. For the frame model made of polymer concrete with thermally sprayed guides, the internal stress was 9.8 MPa and the displacement was 0.5 mm, while for the structure made of polymer concrete without spraying, the total stress was 12.5 MPa, and the deformation was 0.65 mm under the same loads.
In this case, we can conclude that there was an increase in the strength characteristics of the polymer concrete using thermal spraying of the guides.
It is also worth noting that in the future, it is planned to study the application of this method in practice in order to study the flock sensitivity and wear of the guides of a metal-cutting machine.
Author Contributions
Conceptualization, supervision, G.Z.; methodology, T.N. and O.Z.; formal analysis, O.Z. and Ł.G; investigation, K.A. and T.N.; writing—original draft preparation, G.Z., T.N., O.Z. and Ł.G; writing—review and editing, A.B., V.Y., Ł.G. and T.N.; project administration, T.N.; funding acquisition, K.A. and T.N. All authors have read and agreed to the published version of the manuscript.
Funding
The article was prepared as part of the implementation of grant funding for projects by the Science Committee of the Ministry of Education and Science of the Republic of Kazakhstan IRN project No. AP08856371.
Institutional Review Board Statement
Not applicable.
Informed Consent Statement
Not applicable.
Data Availability Statement
This research is published for the first time. Full research data will be published in the research report, “Development of a resource-saving technologies for repairing long rods of hydraulic cylinders of large-sized special equipment for industrial use with the possibility of restoring local damage at the place of its operation”, grant No. AP08856371, on the web portal of the National Center for State scientific and technical expertise of the Republic of Kazakhstan (https://is.ncste.kz) in December 2022.
Conflicts of Interest
The authors declare no conflict of interest.
References
- Wu, S.; Dong, Z.; Qi, F.; Fan, Z. Prediction of the Comprehensive Error Field in the Machining Space of the Five-Axis Machine Tool Based on the “S”-Shaped Specimen Family. Machines 2022, 10, 408. [Google Scholar] [CrossRef]
- Romanowicz, P.J.; Smolarski, D.; Kozień, M.S. Using the Effect of Compression Stress in Fatigue Analysis of the Roller Bearing for Bimodal Stress Histories. Materials 2022, 15, 196. [Google Scholar] [CrossRef]
- Landau-Taylor, B.; Dixon-Luinenburg, O. Machine Tools: A Case Study In Advanced Manufacturing Industrial Economics. BISMARCK 2020, 2, 1–18. [Google Scholar]
- Möhring, H.C.; Brecher, C.; Abele, E.; Fleischer, J.; Bleicher, F. Materials in machine tool structures. CIRP Ann. Manuf. Technol. 2015, 64, 725–748. [Google Scholar] [CrossRef]
- Bedi, R.; Chandra, R.; Singh, S.P. Mechanical Properties of Polymer Concrete. J. Compos. 2013, 2013, 948745. [Google Scholar] [CrossRef]
- Kakusha, V.; Kornev, O.; Kovalev, M.; Litvinov, E. GFRP reinforced foundation slab design for 15 storey residential building. In Proceedings of the 2nd International Workshop on Durability and Sustainability of Concrete Structures, Moscow, Russia, 6–7 June 2018; pp. 1–8. [Google Scholar]
- Golovin, S.A. On the damping capacity of cast irons. Phys. Met. Metallogr. 2012, 113, 716–720. [Google Scholar] [CrossRef]
- Varlamov, A.A. The study features of the behavior of the polymer concrete. Bull. Sci. Educ. North-West Russ. 2018, 4, 16–23. [Google Scholar]
- Mastalygina, E.E.; Ovchinnikova, V.A.; Chukhlanov, V.Y. Light heat-resistant polymer concretes based on oligooxyhydridesilmethylensiloxysilane and hollow spherical fillers. Mag. Civ. Eng. 2019, 90, 37–46. [Google Scholar]
- Pareek, A.; Gupta, T.; Sharma, R.K. Performance of polymer modified bitumen for flexible pavements. Int. J. Struct. Civil Eng. Res. 2012, 1, 77–86. [Google Scholar]
- Salah, T.; Hussain, S.G.; Ialazzawy, W. Machine Tools Foundation Static and Free vibration analyses. WSEAS Trans. Appl. Theor. Mech. 2012, 7, 93–105. [Google Scholar]
- Bedi, R.; Chandra, R.; Singh, S.P. Reviewing some properties of polymer concrete. Indian Concr. J. 2014, 88, 47–68. [Google Scholar]
- Diószegi, A.; Elmquist, L.; Orlenius, J.; Dugic, I. Defect Formation of Gray Iron Casting. Int. J. Met. 2009, 3, 49–58. [Google Scholar] [CrossRef]
- Sahu, S.; Nadeem Bhat, M.; Kumar, A.; Pratik, A. Effect of Section Thickness On The Microstructure And Hardness Of Gray Cast Iron (A Simulation Study). Int. J. Eng. Res. Technol. (IJERT) 2014, 3, 35–40. [Google Scholar]
- Cortes, G. Castillo Comparison between the dynamical properties of polymer concrete and grey cast iron. Mater. Des. 2007, 28, 1461–1466. [Google Scholar] [CrossRef]
- Qiao, L.; Zhu, J.; Wan, Y.; Cui, C.; Zhang, G. Finite element-based machine learning approach for optimization of process parameters to produce silicon carbide ceramic complex parts. Ceram. Int. 2022, 48, 17400–17411. [Google Scholar] [CrossRef]
- Kehl, G.; Blank, D.; Höger-Riedel, C. Finite Element Analysis as a response to frequently asked questions of machine tool mechanical design-engineers. MATEC Web Conf. 2017, 104, 01001. [Google Scholar] [CrossRef]
- Liu, W.K.; Li, S.; Park, H.S. Eighty Years of the Finite Element Method: Birth, Evolution, and Future. Arch. Comput. Methods Eng. 2022, 29, 4431–4453. [Google Scholar] [CrossRef]
- Efrati, R.; Givoli, D. Hybrid 3D-plane finite element modeling for elastodynamics. Finite Elem. Anal. Des. 2022, 210, 103812. [Google Scholar] [CrossRef]
- Properties of Commonly Used Polymers. Available online: https://www.notesandsketches.co.uk/Polymer_properties.html (accessed on 10 October 2022).
- Wai, C.M.; Rivai, A.; Bapokutty, O. Modelling optimization involving different types of elements in finite element analysis. IOP Conf. Ser. Mater. Sci. Eng. 2013, 50, 012036. [Google Scholar] [CrossRef]
- Massing, A.; Larson, M.G.; Logg, A. Efficient implementation of finite element methods on non-matching andoverlapping meshes in 3D. SIAM J. Sci. Comput. 2013, 35, C23–C47. [Google Scholar] [CrossRef][Green Version]
- Zhetessova, G.; Zharkevich, O.; Pleshakova Ye Yurchenko, V.; Platonova Ye Buzauova, T. Building mathematical model for gas-thermal process of coating evaporation. Metalurgija 2016, 55, 63–66. [Google Scholar]
- Škamat, J.; Černašėjus, O.; Zhetessova, G.; Nikonova, T.; Zharkevich, O.; Višniakov, N. Effect of laser processing parameters on microstructure, hardness and tribology of NiCrCoFeCBSi/WC coatings. Materials 2021, 14, 6034. [Google Scholar] [CrossRef] [PubMed]
Publisher’s Note: MDPI stays neutral with regard to jurisdictional claims in published maps and institutional affiliations. |
© 2022 by the authors. Licensee MDPI, Basel, Switzerland. This article is an open access article distributed under the terms and conditions of the Creative Commons Attribution (CC BY) license (https://creativecommons.org/licenses/by/4.0/).