Next Article in Journal
Enhancing Food Ingredient Named-Entity Recognition with Recurrent Network-Based Ensemble (RNE) Model
Previous Article in Journal
Balance Control of a Configurable Inverted Pendulum on an Omni-Directional Wheeled Mobile Robot
 
 
Font Type:
Arial Georgia Verdana
Font Size:
Aa Aa Aa
Line Spacing:
Column Width:
Background:
Article

Control of Physical Processes in an Extrusion Line Polymer Sleeves Production

1
Department of Technological Equipment, Mechanical Engineering and Standardization, Abylkas Saginov Karaganda Technical University, Karaganda 100027, Kazakhstan
2
Institute of Machine Design, Faculty of Mechanical Engineering, Poznan University of Technology, 60-965 Poznan, Poland
3
Department of Mineral Deposit’s Development, Abylkas Saginov Karaganda Technical University, Karaganda 100027, Kazakhstan
4
Department of Automated Manufacturing Processes, Abylkas Saginov Karaganda Technical University, Karaganda 100027, Kazakhstan
*
Authors to whom correspondence should be addressed.
Appl. Sci. 2022, 12(20), 10309; https://doi.org/10.3390/app122010309
Submission received: 16 August 2022 / Revised: 4 October 2022 / Accepted: 6 October 2022 / Published: 13 October 2022
(This article belongs to the Section Robotics and Automation)

Abstract

This article describes the operation principle of an extrusion line for producing a polypropylene film for sleeves. The advantages and disadvantages of the technological and structural nature for an extrusion line are presented, as well as the stages of polymer sleeves with the calculation of technological parameters and a description of the main purpose of each stage. The film quality is described, such as the turbidity, coefficient of friction, glossiness, and breaking strength. The dependence of the milkiness on the average cooling temperature of the extruder head is defined. The glossiness dependence is calculated on the cooling temperature of the extruder head. The dependence of the friction coefficient on the cooling temperature of the extruder head was established. The influence of the crystallization line height on the glossiness of the film is defined. The influence of the crystallization line height on the milkiness is shown. The dependence of fluctuations in the average thickness (thickness difference) of the film on the thickness of the forming slot is found. The dependence of fluctuations in the average thickness (thickness difference) of the film and degree of inflation of the sleeve is discovered. The relationship between the quality parameter of the film and technological parameters of its production process has been determined. An automated system for temperature control has been developed in the production of polyethylene film by installing a temperature sensor with feedback.

1. Introduction

The main task of grain producers is to reduce costs and losses to a minimum, as make well as profitable sales [1,2,3]. The prices for the services of transport companies, as well as the prices of elevators for the drying, cleaning, and storage of grain significantly increase the cost of the final product (up to 50% of the cost of grain), making it less profitable to sell [4]. Farms are forced to store grain in currents [5] and open areas that are not suitable for long-term storage, thus leading to a loss of quality and, as a consequence, losses. Since the late 1990s, to solve the existing problem, farmers began to use polyethylene sleeves to store dry grain. The birthplace of grain storage technology is Argentina [6].
This technology is also actively used in Canada, Australia, some other countries of the American continent, South Africa, France, Spain, etc. [7,8,9]. In the Commonwealth of Independent States (CIS) countries, this technology has been used for several years, since it does not require large investments and can reduce storage costs by at least three times.
The efficiency of grain storage depends on several parameters, the most important of which is keeping the microclimate [10,11] in hermetically sealed bags. This achievement is ensured by the total integrity of the sleeve materials, consisting of high-density, three-layer polyethylene. The white outer layer of the sleeve contains titanium dioxide, which reflects the sun’s rays and prevents the temperature inside the sleeve from dropping down [12].
Two black layers on the inside protect the product from the penetration of sunlight. All three layers are inseparable; each of the layers is made of different polymers with different additives and stabilizers. The sleeve material must provide increased strength, absolute tightness, and elasticity [13].
It should be emphasized, once again, that maintaining the microclimate in hermetically sealed bags is responsible for the effectiveness of this technology [14]. Therefore, the basic task of cereal producers is to ensure the general integrity and adequate strength of the materials from which accumulation sleeves are made [15].
From the analysis, it was found that most of the defects in the polypropylene film of the agricultural sleeves for grain arise during their drawing, that is, during the extrusion process [16,17,18].
A distinctive feature of these defects is that they cannot be eliminated during the production process (irreparable defects) [18], that is, they have to stop the entire extrusion line and change it [19].
In the extrusion industry, there is an increasing tendency to combine various control devices under the control of one common device that exercises full control and management of all mechanisms of the extrusion line. It should be noted that a plurality of extruder control stages can be implemented in a hierarchical relationship. The most common devices combine temperature control in different areas [20]. Most often, the task of such systems is to maintain the specified melt parameters by controlling the heating of the first two or three zones, which are closest to the zone where the polymer melts. The change in temperature in such zones is carried out automatically by the cascade control system. However, in this way, it is possible to carry out an adjustment at a rather low velocity, since the response of the zones of the working volume to changes in temperature parameters is very slow. Pressure control systems are also often found to rely on a smooth change in screw velocity, in order to maintain a constant pressure of the polymer melt [21].
New types of extruders are often equipped with a microprocessor system that allows simultaneous control and management of the temperature and pressure of the melt, as well as the thickness and width of the extrudate and other extrusion parameters [22]. Some control systems can be combined into general production management. For example, they allow, in addition to controlling the extruder, for the control of the systems that prepare the material for loading into the extruder, the parallel extruder during coextrusion, the drive and temperature of the gear pump, the system to control the strength and cutting the edges of the extrudate, and many other parameters [23].
When analyzing the literature, it becomes clear that truly complete control of the extrusion process is not achieved in practice [24,25].
In order for systems to be called a system of truly total control, it must exercise control in the following way: the controlled process must be considered a system of many variables, the relationship of which is fully known and taken into account in the control system. However, most microprocessor control systems that control the parameters of the extrudate polymer melt are more similar to a set of uncoupled feedbacks, each of which controls only one parameter. Thus, such a device is a simple combination of several regulators in one package, without changing their essence. Such regulators may provide a lower cost, but do not improve the adequacy of the controlled circuit.
There are two fundamentally different methods for controlling actuators: the pulse and smooth adjustment methods.
The work cycle in the pulse method is as follows. If the extruder temperature is below the set level, the heaters operate at full capacity; as soon as the temperature exceeds the threshold, the heaters are turned off completely.
However, with this type of control, a serious problem arises, in the form of a thermal delay, which is the time difference between the moment the signal is sent to the heater to turn on and heat flow reaches the thermometer (a similar situation occurs when the heaters are turned off).
As a result of this method of regulation, the temperature will fluctuate around the desired value, and the amplitude and frequency of the oscillations will be determined by the delay time of a particular apparatus. In addition, there is a problem with electrical noise and uneven temperature in the extrudate, which can cause high-frequency switching in the circuit when the temperature is close to the set temperature.
The disadvantages of the feedback of the type described above stem from its stepping, that is, due to the fact that two modes of operation of the heater are possible: fully on or completely off. At the same time, in most cases, to maintain the set temperature, the heaters must not operate at full capacity. Thus, the use of pulse control will inevitably lead to the occurrence of temperature pulsations. Therefore, a circuit is needed that automatically smoothly adjusts the power supplied to the heater; then, it will be possible to eliminate pulsations.
To build a truly complete control system, it is necessary to build a dynamic model of the process. In this case, the adequacy of control will directly depend on the accuracy of the constructed model. However, building such a model, in practice, is a very difficult task. Therefore, in this work, attention was paid to the most important parameter of the extrusion process, which affects the quality of the resulting melt and sleeve as a whole. Controlling the temperature of the barrel and forming tool (die) of the extruder is necessary to ensure the consistency of the viscosity of the polymer. Deviations in the viscosity of the material can lead to deterioration of its properties, the occurrence of unacceptable loads on the screw and extruder drive.
Thus, it is necessary to fully analyze the operation of the extrusion line, identify the “weak points” of production, and provide recommendations and specific technical solutions for troubleshooting, as well as for obtaining sleeves with higher-quality indicators.
The novelty of the research lies in the development of an automated system that is able to control the temperature regime in the production of polyethylene film by installing a temperature sensor with feedback, which ensures the quality of the film.

2. Materials and Methods

2.1. The Polypropylene Film Defects

In order to analyze the quality of the polypropylene film, the most common defects that occur during its manufacture at the production site under the conditions of Altyn Arna Holding LLP in Karaganda were identified, which were conditionally divided into 3 groups. The most common defects are shown in Figure 1, Figure 2, Figure 3, Figure 4, Figure 5 and Figure 6. The defects were determined visually and using a magnifying glass.
  • In appearance:
    Longitudinal stripes, risks (Figure 1);
    Foreign particles (Figure 2);
    Dark spots (Figure 3);
    Mat canvas surface;
    The dull surface of the canvas (Figure 4);
    Sticking of the film sleeve (Figure 5);
    Folds in the canvas (Figure 6);
    Gel-like bubbles;
    Defects on the canvas of the ‘fisheye’ type sleeve;
    Transverse stripes on the sheet surface;
    Canvas warping;
    Tooth;
    Variation in the thickness of the polymer sleeve.
  • By size:
    The thickness of the sleeve is greater (or less) than specified by the requirements;
    Variance of thickness in the transverse or longitudinal direction;
    Film sleeve asymmetry;
    Larger local bulge during winding;
    Uneven width or thickness, inconstancy of diameter;
    Incorrect width of the polyethylene sleeve.
  • According to mechanical and physical indicators:
    Not enough mechanical strength;
    Tearing (crack) of the inflated sleeve at the defect site.
Longitudinal stripes, scratches (due to defects on the working surface of the forming tool), and contamination from film burns form. Foreign inclusions occur due to sleeve jerk and dirty raw materials. Gel bubbles may appear as a result of poor homogenization of the melt and rupture of the filter meshes. Contaminated or damp raw materials can cause a ‘fisheye’ defect.
The average thickness of the half-length sleeve is greater (or less) than the specified value, which is a consequence of the noncorrespondence of the melt extrusion, product removal rates, and inaccurate calibration of the forming gap. The leakage of the air supply system in the sleeve affects the instability of the inflation of the sleeve and uneven width or thickness of the polymer sleeve. The asymmetry of the swollen sleeve may appear, due to the adhesion of oxidized materials or impurities to the walls of the forming channels. A low mechanical strength is found, as a result of the inhomogeneous mixing of the melt and unregulated temperature conditions.
Manufacturing defects have been established to arise, as a result of the operation of the equipment and affect the quality of the film.
Film manufacturing defects include:
The accumulation on the surface of the film;
Unstable yield after extruder starts;
Decreased line performance due to insufficient sleeve cooling;
Wabble.
Film manufacturing defects occur due to temperature mismatch, instability of the extruder barrel or head, clogging of the screens, and uneven roll velocity.
Variation in the thickness of the polymer sleeve is the most painful point in the industry, as it affects the maintenance of a certain humidity and temperature, while storing grain in polyethylene sleeves.

2.2. Working Principle of the Extrusion Line to Produce a Polypropylene Film

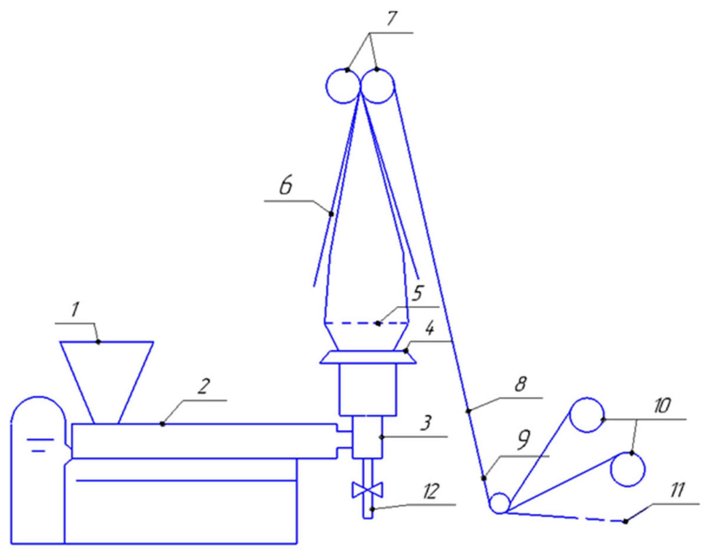
The operation of the extrusion line (Labtech Engineering Company Ltd (Thailand), LF-600/LCP models) for the production of polyethylene sleeves, installed under the conditions of “Holding AltynArna” LLP (Karaganda City, Kazakhstan) is considered. Figure 7 shows the technological diagram of the extrusion line.
The principle of operation is as follows. The dried granules are fed by pneumatic transport into hopper 7 of the extruder. Under the action of gravity, the granules move downward and fill the interturn space of the screw in zone I. The rotating screw moves the polymer along the barrel into extruder 2, which forms the annular angle head 3. The rotating screw moves the polymer along with the barrel in zones II-III and into the annular head. In the head, the melt is cut by a mandrel and, upon leaving, has the shape of a barrel. To give it dimensional stability, the extrudate is cooled from the outside by air coming from the slot of the hollow ring 4. The moment of solidification of the melt (for crystallizing polymer is crystallization) is fixed by the appearance of a characteristic cloud point of the sleeve, the so-called crystallization line 5. Up to this line, the extruded sleeve is stretched along its length by the pulling rolls 7 and blown out by the air inside the sleeve along the diameter. To start inflating the sleeve, there is a special air channel 12 in the head mandrel, which is connected to the blower. Air is fed into the sleeve periodically as it diffuses through the film and leaks through leaks in the film layers between the pinch rolls. Stretched in two or in one direction, the film after the crystallization line continues to be cooled by ambient air, and then gradually folds folding cheeks, diverging at a certain angle 6. The movement of the film and its drawing is carried out by a rubberized pair of rolls tightly pressed to film 7. Then, the sleeve is in folded view and can either be cut on the sides with knives 9 and wound into two bobbins 10 in a single layer or not cut and wound in a double layer on one bobbin. The two cut edges 11 are processed in a granulator and prepared to the primary polymer material.
Figure 8 shows that the most critical technological unit in the extrusion unit is the angular angle head. In the production of sleeves films at AltynArna Holding LLP, extrusion plants are used to eliminate the pulsation of the melt, with the ratio L/D = 20–25, with D from 20 to 90 mm. The films are obtained after stretching and blowing, with a thickness of 10 to 300 µm and thickness variation of ± 10%.
The temperature of the forming tool usually only affects the surface quality of the film, as the material is in the forming die for a relatively short period of time.
It is observed that a noticeable change in extruder performance is observed only when the change in heating power occurs in the loading zone. With changes in heating power in areas close to the end of the screw, the productivity changes within the accuracy of the measurement, i.e., controlling the temperature of the polymer melt in areas near the end of the extruder screw has no effect on the performance [26].
Furthermore, it is noted that, in the stationary mode of operation of the extruder, a linear dependence of the change in the temperature of the polymer melt ΔTp on the change in the heating power ΔPi, supplied to the i-zone of the extruder barrel, is observed. When the effect of the input power on heating is stronger, closer to the end of the screw is the considered zone of the extruder barrel [21].
Temperature control of the polymer melt in extruder presses is carried out by stabilizing the temperature in the heating zones of the extruder with temperature control of the last zone of the extruder barrel [27,28].
To build a system for automatic control of the temperature of the polymer melt at the outlet of the dosing zone of the extruder, it is necessary, in one way or another, to find an adequate dynamic model of the control object. In the overwhelming majority of cases, the method of experimentally obtaining the transient characteristics of the control object with their subsequent identification is used. In particular, the object of regulation, the output of which is the temperature of the polymer melt and input is the power of the heating elements, is described as a first-order aperiodic link. The parameters of the first-order aperiodic link are the transmission coefficient and time constant. They are determined by the transient response taken experimentally.
The control object is considered and described as a control object with lumped parameters. The existing dependence of the controlled variable, temperature of the polymer melt, and spatial coordinates (primarily on the longitudinal coordinate of the screw) is ignored.
The dynamic behavior of the extruder is largely determined by its temperature control system. Therefore, it is important to understand the basic characteristics of various temperature control systems. Most of these systems have feedback; that is, the measured values are sent to the control unit, which, on that basis, issues signals to the actuators.

2.3. Deformation Process

In the manufacture of polypropylene sleeves, the main technological operations are to blow, draw, and cooling of the sleeve blank [16]. The influence of technological parameters on the quality of the process is necessary. The tubular extrusion rod, leaving under low pressure, at a certain velocity, Vex, is subjected to air cooling through channel 4 (Figure 8), and it is stretched along the length by pulling rolls, inflated across the width by air supplied to the inside of the sleeve. Therefore, the sleeve must have the maximum deformation capacity, which is achieved by using a melt with a lower melt flow rate.
The deformation process occurs between the die and solidification line, and the cooling continues until the film is compressed by the pulling rollers [29]. Thus, up to the crystallization line, there is:
  • Swelling (increase in thickness) of the extrudate relative to the size of the annular gap of the die;
  • Stretching and/or blowing of the tubular blank;
  • Cooling of the melt;
  • Crystallization (to crystallize polymers).
Elastic swelling of the extrudate occurs as a result of the highly elastic deformation accumulated in the polymer melt. The highly elastic deformation of the melt is formed when it passes through the head-forming channels, and its value is greater the higher the shear stress [30].
Stretching and inflation of the sleeves lead to a thinning of the workpiece and orientation of the chains in the film (hardening) [31]. Stretch can be quantified by the stretch ratio ev:
e v = V f i l V e x
where V f i l —film velocity after the pulling rolls equal to the linear velocity of rotation of the pulling rolls.
V e x —extrude exit velocity.
Accordingly, the degree of inflation einf is determined as follows:
e i n f = D s l d g
where Dsl—swollen sleeve diameter.
dg—is the diameter of the sleeve emerging from the head annular gap.
Film thickness dfil can be calculated by the formula:
d f i l = d e x ( e i n f · e v )
where d e x —extrudate thickness (neglecting melt swelling, we can assume d e x = d g ( d g is a head annular gap thickness)).
The total amount of deformation of the extrusion tubular billet is estimated as:
e o v e r a l l = d e x d f i l = e i n f · e v
Having previously calculated the productivity of the extruder Q = 0.68D2,5 (D—is the diameter of the screw) [31], you can calculate the velocity Vex:
V e x = Q ( ρ d e x d g )
where d e x · d g —cross-sectional area of tubular billet—melt.
ρ is melt density.
In practice, we often have values of einf from 2.5 to 3.5 and ev from 1.5 to 3.0.
Large values of einf and ev lead to a decrease in the stability of the sleeve dimensions, a noticeable manifestation of the defects in the design of the equipment and uniformity of cooling. With an increase in einf and ev, the orientation of macromolecules increases, which leads to an increase in the mechanical characteristics of the product. By changing the ratio einf/ev, it is possible to obtain films with an oriented, equal strength or given strength in the longitudinal and transverse directions.

2.4. Cooling Process

Particular attention should be paid to the cooling operation. Sleeve cooling is a common process for transferring heat from a hot surface to the environment [32]. To calculate the cooling time, usual formulas are used, which can be used to determine the height of the crystallization line and level of location of the pull rolls. The latter is especially important, since a film, for example, made of low-density polyethylene cannot have a temperature higher than 50–60 °C by the time it enters the nip between the pinch rolls. Taking into account the compression force of the sleeve at higher temperatures, the sleeve will stick together. Most of the stretching in the longitudinal direction is performed closer to the forming part of the head, and the blowing is performed closer to the crystallization line. By changing the drawing velocity, the temperature and intensity of the cooling of the sleeve, shape of the sleeve and, consequently, properties of the film, it is possible to obtain the sleeve of the following shapes (Figure 9).
The shape shown in Figure 9a corresponds to the high location of the crystallization line H, leading to inadequate cooling of the deformable sleeve. The film is first stretched in length and then in width. This is accompanied by a partial reorientation of macromolecules.
The shape shown in Figure 9b corresponds to the normal value of H at a good cooling rate. Longitudinal and transverse, draw, and blow orientations occur almost simultaneously. The film has the same strength and thickness.
The shape in Figure 9c corresponds to intense sharp cooling of the sleeve, and line H is small. The film has a predominantly transverse orientation; for some types of polymers, a decrease in the degree of crystallinity occurs.
The shape shown in Figure 9d corresponds to the uneven blowing of the film with cooling air around the perimeter. The film has different thicknesses, and the sleeve is asymmetric.
For most films, depending on their thickness, the value of the crystallization line height ranges from 0.3 to 2 m. The thicker the film (and, accordingly, the extrusion billet), the greater the crystallization line height, and vice versa.
Therefore, the main requirement for extrusion dies, as a responsible technological link of the entire line, is the constant resistance to melting in the channels of the forming tool and, consequently, the constant extrudate throughout the perimeter of the forming hole [33]. The accuracy of adjusting the gap of the forming part of the head further determines the size of the difference in the thickness of the films.
The design of the head should provide full alignment of the melt flow along the perimeter of the slot. The slot gap is adjusted using micro screws.
Cooling and crystallization of the polymer sleeve are necessary to control the rate of orientation and crystallization up to the crystallization line [34], as well as above it, to cool the solid film to temperatures at which the web will not be damaged and stick together, passing between the fold cheeks and further into the gap between the pull rolls. The cooling time of the film limits the velocity of its selection, i.e., the productivity of the extruder. Additional fans, blowers, cooled air, etc., can be used to increase the intensity of cooling with the same dimensions of the installation [35] and building.

3. Results

3.1. Proportional Temperature Control Device

The proportional control device allows for the smooth adjustment of the power supplied to the heater (from 0 to 100%). The temperature range at which the power changes from 0 to 100% is called the proportional area, and it is expressed as a percentage of the operating range of the device. Usually, the desired temperature value lies in the middle of the proportionality region, although, sometimes, on its upper border. For example, if the device has an operating range of 500 °C, then a proportional band would represent a 25 °C gap. Figure 10 shows the transfer function of a proportional feedback controller.
This type of controller is called a closed-loop controller because the control signal it produces decreases with increasing temperature. In this case, if the temperature exceeds the upper limit value T2, then the heaters are completely switched off. Otherwise, the heaters turn on at full power. The proportional band width can be adjusted, according to the desired extruder operation. At the same time, a decrease in its width leads to a steeper form of the dependence of the heater power on the temperature. In the opposite case (when the width is set to zero), the proportional controller starts to work as a simple switching controller, and all the benefits of proportionality are lost.
The block diagram of the proportional controller is shown in Figure 11.
The output signal (supplied to the heater) is described by the equation:
V = K 1 e
when the desired temperature value is set in the middle of the proportional region, the power supplied to the heaters at a zero value, if signal e is equal to 50%.
In real conditions, such a situation rarely occurs when, in order to maintain the set temperature, it is necessary to turn on the heater at exactly half the power. Therefore, the temperature will start to rise or fall, adjusting the power level supplied to the heater, until an equilibrium is established that maintains some discrepancy between the set and actual temperature, called the operating deviation. The operating deviation can be reduced by narrowing the proportional band; however, if the proportional band is too narrow, instability may occur. Figure 12 shows a graph of the extruder’s output to the temperature regime, when using a proportional temperature controller.

3.2. The Advantages and Disadvantages of the Extrusion Line

The film for the sleeves produced under the conditions of AltynArna Holding LLP.
This line operates on the principle of film production with the sleeve upward. After analyzing the operation of a particular extrusion line, several advantages and disadvantages of both technological and structural nature were identified:
  • Upward retraction of the sleeve saves production space;
  • The sleeve is evenly cooled throughout the perimeter and height;
  • The thickness of the resulting film can be increased several times (if necessary), since the sleeve is accepted (held) by the pulling rollers, without breaking or breaking;
  • Turning the melt flow by 90° in the head slightly increases the cost of manufacturing the tooling.

3.3. The Main Technological Parameters Affecting the Quality of the Polypropylene Film

The main technological parameters that have a significant effect on the quality of the polypropylene film (appearance) are the quality of raw materials (values of the melt flow rate, molecular weight distribution), extrusion temperature (at the head) (Te), screw rotation, frequency (N), etc.
On the basis of the experiments carried out, we can say that varying parameters, such as the height of the crystallization line (H), degree of elongation ev, and degree of inflation (einf) have a direct effect on the physical and mechanical properties of the finished sleeve.
Figure 13, Figure 14, Figure 15, Figure 16 and Figure 17 show the influence of the parameters Te and N on some characteristics of the film, provided that other technological parameters of the process are constant. An increase in gloss and decrease in the coefficient of friction of films with increasing Te allow us to say that, in this case, the elastic turbulence of the melt decreases, and the relaxation processes take place more fully.
With an increase in Te, macro defects (longitudinal stripes, local thickenings, defects of the “fish eye”, “gel” type, etc.) decrease, and the supramolecular structure, as determined by the temperature and time of crystallization, changes. With increasing Te, as well as an increase in the melt flow rate, the optical properties of the films are improved. Therefore, to obtain both smooth and shiny films, increasing the value of the Te parameter or decreasing the value of the N parameter is recommended. For these purposes, it is better to use a polymer with the minimum permissible molecular weight.
A change in film cooling modes significantly affects its optical properties and is reflected in such a complex characteristic as the height of the crystallization line H in Figure 12. The higher the H, the longer the time the melt cools. When the fact that there is a uniaxial or biaxial drawing of the film at the same time is taken into account, the structure of the product undergoes significant changes.
Therefore, with an increase in the parameter H in Figure 13, due to a decrease in the blowing intensity of the workpiece, or an increase in the screw rotation frequency N or extrusion temperature Te, the turbidity of the film increases. This is because as the crystallization time of the polymer increases, and the formation of larger supramolecular formations occurs, i.e., the structural inhomogeneities of the films increase. The film gloss is also reduced if the H parameter is in the range of 200 to 300 mm or more.
If the parameters einf and ev are constant and parameter H increases, the strength practically does not change; however, the elastic modulus increases slightly, indicating a slight increase in the degree of crystallinity. The most significant effect on the strength properties of the films is exerted by the values of the parameters ep and eσ (Figure 18).
For example, with an increase in the degree of elongation ev, due to an increase in macromolecule orientation, the tensile strength σst increases significantly. With a simultaneous increase in the parameters einf and ev, the strength of the films increases in both directions. With an increase in the parameter σst, the tensile elongation of the samples decreases slightly. The increase in the parameter σst upon blowing or stretching in films is relatively small, since, in the molten state, the proportion of highly elastic deformation is small, due to the intense relaxation processes of the oriented macromolecules.
Furthermore, it was found that an essential characteristic of the quality of the film is its thickness variation. There is no universal dependence of the influence of certain technology parameters on the thickness variation because the uniformity of cooling, type of machine, quality of the slotted ring head, accuracy of the gap control, homogeneity of the melt, etc., have a significant effect. However, some general patterns can be distinguished.
Figure 19 and Figure 20 show how the difference in the thickness D of polyethylene films changes, depending on the width of the hole in the head dg and degree of inflation of the sleeve einf. The following conclusions can be drawn from this figure:
  • With a very small or too large gap dg, the value of the difference in thickness D is greater than with the optimal gap dg.
  • The parameter D increases with increasing film drawing. This is due to the fact that, the larger the einf and ev of the melt (Figure 16), the more they affect the thickness variation of the extruded sleeve and its inhomogeneity of the temperature, just as at work [24]. Areas with less thickness or higher temperature are thinned to a greater extent than adjacent areas that are thicker or less heated.
As can be seen from the graphs, the orientation of the films has a great influence on the geometric stability at elevated temperatures. The higher the orientation (and strength), the greater the shrinkage of the films. This property can be useful for the specially prepared shrink films used to package various items.

4. Conclusions

Thus, by analyzing the above, the following conclusions can be drawn. The main technological requirements that ensure the quality of the film are as follows:
  • Sufficient drive power to ensure a steady continuous supply of material to the die nip.
  • The need for stable maintenance of a given velocity of the drive, thus minimizing pressure fluctuations in the forming nip of the head.
  • Sufficient length of screws and barrel, thus ensuring high-quality plasticization of the material.
  • Variations in parameters, such as the height of the crystallization line, degree of elongation, degree of blow-up, and cooling temperature of the extruder head, have a direct effect on the physical and mechanical properties of the sleeve (glossiness, milkiness, tensile strength, and variation of thickness).
  • Further research will be to create a dynamic control system for the most important parameters, such as the measuring electricity consumption, screw speed, extrudate thickness, and extrudate surface quality.

Author Contributions

Conceptualization, T.N. and M.B.; methodology, T.N., M.B., L.D. and A.S.; formal analysis, O.Z., L.D., A.S. and Ł.G.; investigation, T.N., E.K. and E.D.; writing—original draft preparation, T.N., Ł.G. and O.Z.; writing—review and editing, O.Z., Ł.G, M.B. and T.N.; supervision, T.N.; project administration, T.N.; funding acquisition, M.B. and T.N. All authors have read and agreed to the published version of the manuscript.

Funding

This research is funded by the Science Committee of the Ministry of Education and Science of the Republic of Kazakhstan (grant No. AP08052553).

Institutional Review Board Statement

Not applicable.

Informed Consent Statement

Not applicable.

Data Availability Statement

Not applicable.

Conflicts of Interest

The authors declare no conflict of interest.

References

  1. Lapinskaitė, I.; Kuckailytė, J. The impact of supply chain cost on the price of the final product. Bus. Manag. Educ. 2014, 12, 109–126. [Google Scholar] [CrossRef]
  2. Hawkins, L.K.; Windham, G.L.; Williams, W.P. Effect of different postharvest drying temperatures on Aspergillus flavus survival and aflatoxin content in five maize hybrids. J. Food Prot. 2005, 68, 1521–1524. [Google Scholar] [CrossRef] [PubMed]
  3. Horoszkiewicz-Janka, J.; Korbas, M.; Mrówczyński, M. Metodyka integrowanej ochrony pszenicy ozimej i jarej dla producentów. In Methodology of Integrated Protection of Winter Wheat and Spring for Producers; Wydawnictwo IOR: Poznan, Poland, 2013. (In Polish) [Google Scholar]
  4. Markevich, L.A.; Gorshkova, N.V.; Koshkarev, I.A.; Kusmartseva, Y.V.; Grigorenko, I.V. Financial aspect of grain elevator functioning in modern Russia. In Proceedings of the SCTCMG 2021 International Scientific Conference “Social and Cultural Transformations in the Context of Modern Globalism”, Grozny, Russia, 19–21 May 2021. [Google Scholar] [CrossRef]
  5. Perez-Garcia, O.A.; Carreira, X.C.; Carral, E.; Fernandez, M.E.; Mariño, R.A. Evaluation of traditional grain store buildings (hórreos) in Galicia (NW Spain): Analysis of outdoor/indoor temperature and humidity relationships. Span. J. Agric. Res. 2010, 8, 925–935. [Google Scholar] [CrossRef]
  6. Bhardwaj, S. Grain storage structures for FARMERS. Pop. Kheti 2014, 2, 202–205. [Google Scholar] [CrossRef]
  7. Baributsa, D.; Njoroge, A.W. The use and profitability of hermetic technologies for grain storage among smallholder farmers in eastern Kenya. J. Stored Prod. Res. 2020, 87, 101618. [Google Scholar] [CrossRef]
  8. Tefera, T.; Kanampiu, F.; De Groote, H.; Hellin, J.; Mugo, S.; Kimenju, S.; Beyene, Y.; Boddupalli, P.M.; Shiferaw, B.; Banziger, M. The metal silo: An effective grain storage technology for reducing post-harvest insect and pathogen losses in maize while improving smallholder farmers’ food security in developing countries. Crop Prot. 2011, 30, 240–245. [Google Scholar] [CrossRef]
  9. Caddick, L. Review of grain harvest bag technology under Australian conditions. Outlooks Pest. Manag. 2007, 18, 148–150. [Google Scholar] [CrossRef]
  10. Gierz, Ł.; Przybył, K.; Koszela, K.; Duda, A.; Ostrowicz, W. The use of image analysis to detect seed contamination—A case study of triticale. Sensors 2021, 21, 151. [Google Scholar] [CrossRef]
  11. Bradna, J.; Šimon, J.; Hájek, D.; Vejchar, D. The impact of weather conditions on microclimate in storage facilities. Agron. Res. 2018, 16, 1580–1589. [Google Scholar] [CrossRef]
  12. Michael, D.; Orzolek, A. Guide to the Manufacture, Performance, and Potential of Plastics in Agriculture; Elsevier: Amsterdam, The Netherlands, 2017; p. 244. [Google Scholar]
  13. McKeen, L.W. Film Properties of Plastics and Elastomers; Elsevier: Amsterdam, The Netherlands, 2017; p. 522. [Google Scholar]
  14. Hopmann, C.; Michaeli, W. Extrusion Dies for Plastics and Rubber; Elsevier: Amsterdam, The Netherlands, 2017; p. 451. [Google Scholar]
  15. Pinchuk, L.; Goldade, V. Smart Materials in Materials Science. J. Sib. Fed. Univ. Eng. Technol. 2013, 7, 805–817. [Google Scholar]
  16. Cantor, K. Blown Film Extrusion: An Introduction; Hanser Publishers: Munich, Germany, 2006; p. 158. [Google Scholar]
  17. Liang, H.; Lukyanov, V.; Cohen, S.; Shapiro, D.; Adler, U.; Silverman, D.; Tanny, J. Microclimate in naturally ventilated tunnel greenhouses: Effects of passive heating and greenhouse cover. Int. Symp. New Technol. Manag. Greenh. GreenSys 2015, 1170, 269–276. [Google Scholar] [CrossRef]
  18. Nikonova, T.; Zharkevich, O.; Dandybaev, E.; Baimuldin, M.; Daich, L.; Sichkarenko, A.; Kotov, E. Developing a measuring system for monitoring the thickness of the 6 m wide HDPE/LDPE polymer geomembrane with its continuous flow using automation equipment. Appl. Sci. 2021, 11, 10045. [Google Scholar] [CrossRef]
  19. Bicerano, J. Prediction of Polymer Properties; Marcel Dekker, Inc.: New York, NY, USA, 1996; p. 528. [Google Scholar]
  20. Abdel-Bary, E.M. Handbook of Plastic Films; Smithers Rapra Publishing: Shrewsbury, UK, 2003; p. 404. [Google Scholar]
  21. Giles, H.F., Jr.; Wagner, J.R., Jr. Extrusion: The Definitive Processing Guide and Handbook; Elsevier: Amsterdam, The Netherlands, 2013; p. 636. [Google Scholar]
  22. Morris, B.A. The Science and Technology of Flexible Packaging; William Andrew: New York, NY, USA, 2016; p. 744. [Google Scholar]
  23. Goff, J.; Whelan, T. The Dynisco Extrusion Processors Handbook, 2nd ed.; Dynisco Inc.: Franklin, MA, USA, 2000; p. 287. [Google Scholar]
  24. McKeen, L. The Effect of Long Term Thermal Exposure on Plastics and Elastomers; Elsevier: Amsterdam, The Netherlands, 2021; p. 344. [Google Scholar]
  25. Lafleur, P.G. Bruno Vergnes Polymer Extrusion (Materials Science), 1st ed.; Wiley-ISTE: New York, NY, USA, 2014; p. 352. [Google Scholar]
  26. Abeykoon, C.; Kelly, A.; Vera-Sorroche, J.; Brown, E.C.; Coates, P.; Deng, J.; Li, K.; Harkin-Jones, E.; Price, M. Process efficiency in polymer extrusion: Correlation between the energy demand and melt thermal stability. Appl. Energy 2014, 135, 560–571. [Google Scholar] [CrossRef]
  27. Abeykoon, C.; Martin, P.J.; Li, K.; Kelly, A.L. Dynamic modelling of die melt temperature profile in polymer extrusion: Effects of process settings, screw geometry and material. Appl. Math. Model. 2014, 38, 1224–1236. [Google Scholar] [CrossRef]
  28. Serdeczny, M.P.; Comminal, R.; Pedersen, D.B.; Spangenberg, J. Experimental and analytical study of the polymer melt flow through the hot-end in material extrusion additive manufacturing. Addit. Manuf. 2020, 32, 123–131. [Google Scholar] [CrossRef]
  29. Hosseini, H.; Aseyev, V.; Berdyshev, B.V.; Borisov, A.A. Rheological modeling of polymeric melts in extruders upon two-dimensional shear flow. Int. Polym. Process. J. Polym. Process. Soc. 2016, 31, 51–56. [Google Scholar] [CrossRef]
  30. Chistyakova, T.B.; Polosin, A.N. Methods and technologies for the synthesis of mathematical models of extrusion processes in flexible production of polymer materials. Bull. Saratov State Tech. Univ. 2011, 4, 170–180. [Google Scholar]
  31. Le, T.-T. Analysis of elastic deformation of amorphous polyethylene in uniaxial tensile test by using molecular dynamics simulation. Comput. Methods Mater. Sci. 2020, 20, 38–44. [Google Scholar] [CrossRef]
  32. Vlachopoulos, J.; Polychronopoulos, N.D.; Tanifuji, S.; Müller, P.J. Chapter 4: Flat film and sheet dies. In Design of Extrusion Forming Tools; Smithers Rapra Publishing: Shrewsbury, UK, 2012; pp. 113–140. [Google Scholar]
  33. Koh-Hei, N. On the Orientation-Induced Crystallization of Polymers. Polymers 2016, 8, 229. [Google Scholar] [CrossRef]
  34. Xu, Y.; Li, F.; Asgari, A. Prediction and optimization of heating and cooling loads in a residential building based on multi-layer perceptron neural network and different optimization algorithms. Energy 2022, 240, 122692. [Google Scholar] [CrossRef]
  35. Su, J.; Cai, H.; Ye, X.; Zhou, X.; Yang, J.; Wang, D.; Ni, J.; Li, J.; Zhang, J. Efficient Perovskite Solar Cells Prepared by Hot Air Blowing to Ultrasonic Spraying in Ambient Air. ACS Appl. Mater. Interfaces 2019, 11, 10689–10696. [Google Scholar] [CrossRef] [PubMed]
Figure 1. Longitudinal stripes.
Figure 1. Longitudinal stripes.
Applsci 12 10309 g001
Figure 2. Foreign inclusions on the sleeve.
Figure 2. Foreign inclusions on the sleeve.
Applsci 12 10309 g002
Figure 3. Dark spots.
Figure 3. Dark spots.
Applsci 12 10309 g003
Figure 4. Matte canvas surface on sleeve.
Figure 4. Matte canvas surface on sleeve.
Applsci 12 10309 g004
Figure 5. Sticking of the film sleeve.
Figure 5. Sticking of the film sleeve.
Applsci 12 10309 g005
Figure 6. Folds in the canvas.
Figure 6. Folds in the canvas.
Applsci 12 10309 g006
Figure 7. Technological diagram of an extrusion line for producing polypropylene film for sleeves: 1—bunker; 2—extruder; 3—annular angular head; 4—hollow ring for air cooling of the film sleeve; 5—crystallization line with height H; 6—folding cheeks; 7—pressure pulling rolls; 8—film; 9—knives for trimming edges; 10—winding device; 11—edges cut from the film; 12—branch pipe for supplying compressed air for inflation of the sleeve.
Figure 7. Technological diagram of an extrusion line for producing polypropylene film for sleeves: 1—bunker; 2—extruder; 3—annular angular head; 4—hollow ring for air cooling of the film sleeve; 5—crystallization line with height H; 6—folding cheeks; 7—pressure pulling rolls; 8—film; 9—knives for trimming edges; 10—winding device; 11—edges cut from the film; 12—branch pipe for supplying compressed air for inflation of the sleeve.
Applsci 12 10309 g007
Figure 8. Diagram of an angular angle head: 1—adjustable head jaws; 2—mandrel; 3—holder; 4—channel for air supply for sleeve inflation.
Figure 8. Diagram of an angular angle head: 1—adjustable head jaws; 2—mandrel; 3—holder; 4—channel for air supply for sleeve inflation.
Applsci 12 10309 g008
Figure 9. Forms of tubular film, depending on the height of the crystallization line: (a) high crystallization sleeve, (b) normal crystallization sleeve, (c) low crystallization sleeve, (d) asymmetric crystallization sleeve.
Figure 9. Forms of tubular film, depending on the height of the crystallization line: (a) high crystallization sleeve, (b) normal crystallization sleeve, (c) low crystallization sleeve, (d) asymmetric crystallization sleeve.
Applsci 12 10309 g009
Figure 10. Transfer function of proportional control.
Figure 10. Transfer function of proportional control.
Applsci 12 10309 g010
Figure 11. P—regulator.
Figure 11. P—regulator.
Applsci 12 10309 g011
Figure 12. Effect of proportional band shift.
Figure 12. Effect of proportional band shift.
Applsci 12 10309 g012
Figure 13. Dependence of milkiness (M) on the average cooling temperature of the extruder head.
Figure 13. Dependence of milkiness (M) on the average cooling temperature of the extruder head.
Applsci 12 10309 g013
Figure 14. Dependence of glossiness (G) on the cooling temperature of the extruder head.
Figure 14. Dependence of glossiness (G) on the cooling temperature of the extruder head.
Applsci 12 10309 g014
Figure 15. Dependence of the friction coefficient on the cooling temperature of the extruder head.
Figure 15. Dependence of the friction coefficient on the cooling temperature of the extruder head.
Applsci 12 10309 g015
Figure 16. Influence of the crystallization line height value on the glossiness of the film.
Figure 16. Influence of the crystallization line height value on the glossiness of the film.
Applsci 12 10309 g016
Figure 17. Influence of the crystallization line height on the milkness.
Figure 17. Influence of the crystallization line height on the milkness.
Applsci 12 10309 g017
Figure 18. Dependence of tensile strength on the degree of film stretch.
Figure 18. Dependence of tensile strength on the degree of film stretch.
Applsci 12 10309 g018
Figure 19. Dependence of fluctuations in the average thickness (thickness difference) of the film on the thickness of the forming slot.
Figure 19. Dependence of fluctuations in the average thickness (thickness difference) of the film on the thickness of the forming slot.
Applsci 12 10309 g019
Figure 20. Dependence of fluctuations in the average thickness (thickness difference) of the film and degree of inflation of the sleeve.
Figure 20. Dependence of fluctuations in the average thickness (thickness difference) of the film and degree of inflation of the sleeve.
Applsci 12 10309 g020
Publisher’s Note: MDPI stays neutral with regard to jurisdictional claims in published maps and institutional affiliations.

Share and Cite

MDPI and ACS Style

Nikonova, T.; Gierz, Ł.; Zharkevich, O.; Dandybaev, E.; Baimuldin, M.; Daich, L.; Sichkarenko, A.; Kotov, E. Control of Physical Processes in an Extrusion Line Polymer Sleeves Production. Appl. Sci. 2022, 12, 10309. https://doi.org/10.3390/app122010309

AMA Style

Nikonova T, Gierz Ł, Zharkevich O, Dandybaev E, Baimuldin M, Daich L, Sichkarenko A, Kotov E. Control of Physical Processes in an Extrusion Line Polymer Sleeves Production. Applied Sciences. 2022; 12(20):10309. https://doi.org/10.3390/app122010309

Chicago/Turabian Style

Nikonova, Tatyana, Łukasz Gierz, Olga Zharkevich, Essim Dandybaev, Murat Baimuldin, Leonid Daich, Andrey Sichkarenko, and Evgeniy Kotov. 2022. "Control of Physical Processes in an Extrusion Line Polymer Sleeves Production" Applied Sciences 12, no. 20: 10309. https://doi.org/10.3390/app122010309

APA Style

Nikonova, T., Gierz, Ł., Zharkevich, O., Dandybaev, E., Baimuldin, M., Daich, L., Sichkarenko, A., & Kotov, E. (2022). Control of Physical Processes in an Extrusion Line Polymer Sleeves Production. Applied Sciences, 12(20), 10309. https://doi.org/10.3390/app122010309

Note that from the first issue of 2016, this journal uses article numbers instead of page numbers. See further details here.

Article Metrics

Back to TopTop