Multiobjective Optimization Design for a MR Damper Based on EBFNN and MOPSO
Abstract
:1. Introduction
2. Magnetorheological Damper
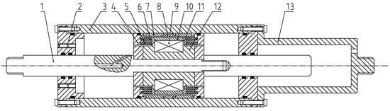
2.1. Configuration of MR Damper
2.2. Mathematical Model of the MR Damper
3. Electromagnetic Field Simulation of the Designed MR Damper
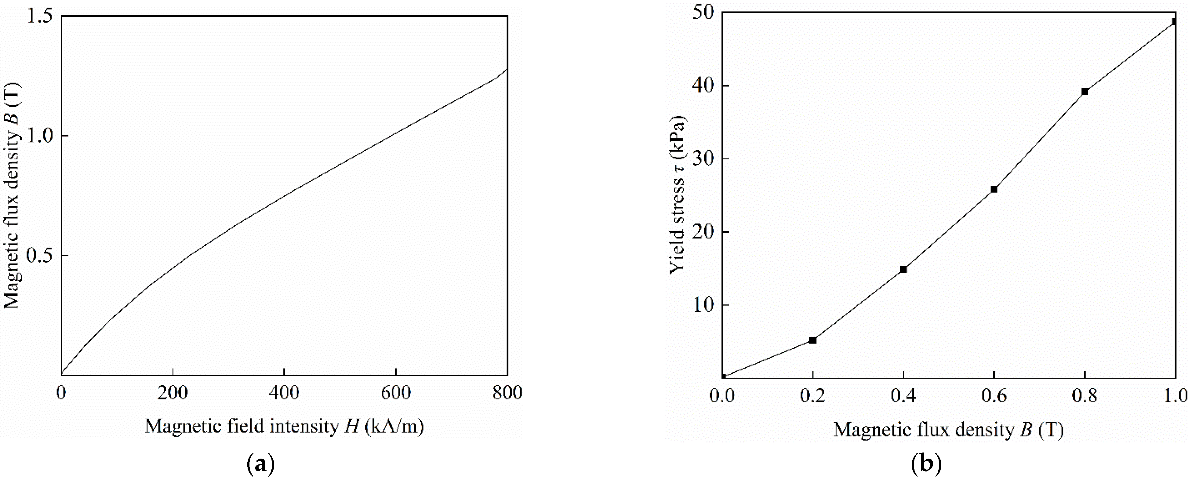
3.1. Material Properties
3.2. Finite Element Analysis (FEA) Setup
4. Optimization Design
4.1. Process of Multiobject Optimization
4.2. Design of Experiments (DoE)
4.3. Prediction Model
4.4. Optimization Design Based on MOPSO
4.5. Analysis of Optimization Results
5. Test performance of the Optimal MR Damper
5.1. Test Rig Setup
5.2. Experimental Analysis of Damping Performance
6. Conclusions
Author Contributions
Funding
Institutional Review Board Statement
Informed Consent Statement
Conflicts of Interest
References
- Kikuchi, T.; Noma, J.; Akaiwa, S.; Ueshima, Y. Response time of magnetorheological fluid-based haptic device. J. Intell. Mater. Syst. Struct. 2016, 27, 859–865. [Google Scholar]
- Hua, D.Z.; Liu, X.H.; Li, Z.Q.; Fracz, P.; Hnydiuk-Stefan, A.; Li, Z. A review on structural configurations of magnetorheological fluid based devices reported in 2018–2020. Front. Mater. 2021, 8, 640102. [Google Scholar]
- Krauze, P.; Kasprzyk, J.; Rzepecki, J. Experimental attenuation and evaluation of whole body vibration for an off-road vehicle with magnetorheological dampers. J. Low Freq. Noise Vib. Act. Control 2019, 38, 852–870. [Google Scholar]
- Yang, J.; Ning, D.; Sun, S.S.; Zheng, J.; Lu, H.; Nakano, M.; Zhang, S.; Du, H.; Li, W.H. A semi-active suspension using a magnetorheological damper with nonlinear negative-stiffness component. Mech. Syst. Signal Process. 2021, 147, 107071. [Google Scholar]
- Caterino, N.; Spizzuoco, M.; Piccolo, V.; Magliulo, G. A semi-active control technique through mr fluid dampers for seismic protection of single-story rc precast buildings. Materials 2022, 15, 759. [Google Scholar]
- Yu, Y.; Royel, S.; Li, Y.C.; Li, J.C.; Yousefi, A.M.; Gu, X.Y.; Li, S.Q.; Li, H. Dynamic modelling and control of shear-mode rotational mr damper for mitigating hazard vibration of building structures. Smart Mater. Struct. 2020, 29, 114006. [Google Scholar]
- Oba, T.; Kadone, H.; Hassan, M.; Suzuki, K. Robotic ankle-foot orthosis with a variable viscosity link using mr fluid. Ieee-Asme Trans. Mechatron. 2019, 24, 495–504. [Google Scholar]
- Liu, G.Y.; Gao, F.; Wang, D.H.; Liao, W.H. Medical applications of magnetorheological fluid: A systematic review. Smart Mater. Struct. 2022, 31, 043002. [Google Scholar]
- Huina, H.; Zhen, J.; XuHui, L.; XingYan, Y.; Zhijuan, D.; Bin, X.; Meiling, P. Multi-objective optimal design and performance of magnetorheological damper. Mater. Werkst. 2021, 52, 540–547. [Google Scholar]
- Patel, D.M.; Upadhyay, R.V.; Bhatt, D.V. Design and optimization of shear mode mr damper using grg and gra methods: Experimental validation. Sādhanā 2021, 46, 217. [Google Scholar]
- Jiang, M.; Rui, X.; Yang, F.; Zhu, W.; Zhang, Y. Multi-objective optimization design for a magnetorheological damper. J. Intell. Mater. Syst. Struct. 2021, 33, 33–45. [Google Scholar]
- Gurubasavaraju, T.M.; Kumar, H.; Arun, M. Evaluation of optimal parameters of mr fluids for damper application using particle swarm and response surface optimisation. J. Braz. Soc. Mech. Sci. Eng. 2017, 39, 3683–3694. [Google Scholar]
- Nie, S.L.; Xin, D.K.; Ji, H.; Yin, F.L. Optimization and performance analysis of magnetorheological fluid damper considering different piston configurations. J. Intell. Mater. Syst. Struct. 2019, 30, 764–777. [Google Scholar]
- Marathe, A.P.; Khot, S.M.; Nagler, J. Development of low-cost optimal magneto-rheological damper for automotive application. J. Vib. Eng. Technol. 2022. [Google Scholar] [CrossRef]
- Saleh, M.; Sedaghati, R.; Bhat, R. Design optimization of a bi-fold mr energy absorber subjected to impact loading for skid landing gear applications. Smart Mater. Struct. 2019, 28, 035031. [Google Scholar]
- Dong, Z.; Feng, Z.; Chen, Y.; Yu, K.; Zhang, G. Design and multiobjective optimization of magnetorheological damper considering the consistency of magnetic flux density. Shock Vib. 2020, 2020, 7050356. [Google Scholar]
- Xu, F.H.; Dong, D.W.; Huang, Y.; Zhang, R.; Song, S.Z.; Zheng, D. A comprehensive optimal design method for magnetorheological dampers utilized in dmu power package. Proc. Inst. Mech. Eng. Part L-J. Mater. Des. Appl. 2022, 236, 533–547. [Google Scholar]
- Liu, G.; Gao, F.; Liao, W.H. Shape optimization of magnetorheological damper piston based on parametric curve for damping force augmentation. Smart Mater. Struct. 2021, 31, 015027. [Google Scholar]
- Naserimojarad, M.M.; Moallem, M.; Arzanpour, S. A comprehensive approach for optimal design of magnetorheological dampers. J. Intell. Mater. Syst. Struct. 2018, 29, 3648–3655. [Google Scholar]
- Nanthakumar, A.J.D.; Jancirani, J. Design optimization of magnetorheological damper geometry using response surface method for achieving maximum yield stress. J. Mech. Sci. Technol. 2019, 33, 4319–4329. [Google Scholar]
- Olivier, M.; Sohn, J.W. Design and geometric parameter optimization of hybrid magnetorheological fluid damper. J. Mech. Sci. Technol. 2020, 34, 2953–2960. [Google Scholar]
- Nguyen, Q.H.; Choi, S.B. Optimal design of mr shock absorber and application to vehicle suspension. Smart Mater. Struct. 2009, 18, 035012. [Google Scholar]
- Wei, L.; Lv, H.; Yang, K.; Ma, W.; Wang, J.; Zhang, W. A comprehensive study on the optimal design of magnetorheological dampers for improved damping capacity and dynamical adjustability. Actuators 2021, 10, 64. [Google Scholar]
- Zhang, L.M.; Lin, P.F. Multi-objective optimization for limiting tunnel-induced damages considering uncertainties. Reliab. Eng. Syst. Saf. 2021, 216, 107945. [Google Scholar]
- Xu, L.; Bi, K.; Gao, J.-F.; Xu, Y.; Zhang, C. Analysis on parameter optimization of dampers of long-span double-tower cable-stayed bridges. Struct. Infrastruct. Eng. 2019, 16, 1286–1301. [Google Scholar]
- Mousavi, S.H.; Sayyaadi, H. Optimization and testing of a new prototype hybrid MR brake with arc form surface as a prosthetic knee. IEEE ASME Trans. Mechatron. 2018, 23, 1204–1214. [Google Scholar]
- Nasir, A.N.K.; Azwan, A.R.A.; Ashraf, A.M.; Falfazli, M.J.M. A multi-objective Spiral Dynamic algorithm and its application for PD design. In Proceedings of the 2017 IEEE 8th Control and System Graduate Research Colloquium (ICSGRC), Shah Alam, Malaysia, 4–5 August 2017. [Google Scholar]
- Zhang, X.W.; Liu, H.; Tu, L.P. A modified particle swarm optimization for multimodal multi-objective optimization. Eng. Appl. Artif. Intell. 2020, 95, 103905. [Google Scholar]
- Gao, F.; Liu, Y.N.; Liao, W.-H. Optimal design of a magnetorheological damper used in smart prosthetic knees. Smart Mater. Struct. 2017, 26, 035034. [Google Scholar]
- Deng, Z.X.; Yang, Q.H.; Zhao, S.; Wei, H.B. Multi-objective optimization of magneto-rheological mount structure based on vehicle vibration control. J. Intell. Mater. Syst. Struct. 2021, 32, 1155–1166. [Google Scholar]
- Liu, L.; Xu, Y.; Zhou, F.; Hu, G.; Yu, L. Performance analysis of magnetorheological damper with folded resistance gaps and bending magnetic circuit. Actuators 2022, 11, 165. [Google Scholar]
- Hu, G.; Wu, L.; Deng, Y.; Yu, L.; Luo, B. Damping performance analysis of magnetorheological damper based on multiphysics coupling. Actuators 2021, 10, 176. [Google Scholar]
























| Parameter | Symbol | Value/mm |
|---|---|---|
| Inner radius of piston rod | ro | 7 |
| External radius of piston rod | re | 10 |
| External radius of core | rc | 13 |
| Radius of piston | rp | 31 |
| Inner radius of inner gap | ri | 19 |
| Length of first outer gap | L1 | 8 |
| Length of second outer gap | L2 | 7 |
| Thickness of gap | g | 1 |
| Length of nonmagnetic ring | ta | 13 |
| Thickness of nonmagnetic disk | tb | 3 |
| Thickness of ring | tc | 3 |
| Thickness of sleeve | td | 3 |
| Height of exciting coil | Hc | 11 |
| Design Variable/mm | Lower Limit | Upper Limit | Initial |
|---|---|---|---|
| First shear effective length L1 | 4 | 12 | 8 |
| Second shear effective length L2 | 4 | 12 | 7 |
| Nonmagnetic length ta | 2 | 19 | 13 |
| Ring thickness tc | 3 | 6 | 3 |
| RMSE | R2 | |||
|---|---|---|---|---|
| F | D | F | D | |
| Quadratic RSM | 0.02193 | 0.03441 | 0.99317 | 0.98101 |
| Orthogonal Polynomial Model | 0.01733 | 0.02701 | 0.99574 | 0.9883 |
| Kriging Model | 0.08491 | 0.08033 | 0.89771 | 0.89649 |
| Radial Basis Function Model | 0.01524 | 0.0223 | 0.9967 | 0.99202 |
| Elliptical Basis Function Model | 0.01253 | 0.01997 | 0.99777 | 0.9936 |
| Design Variable/mm | Initial Value | Optimal Value |
|---|---|---|
| First shear effective length L1 | 8 | 7 |
| Second shear effective length L2 | 7 | 9 |
| Nonmagnetic length ta | 13 | 6 |
Publisher’s Note: MDPI stays neutral with regard to jurisdictional claims in published maps and institutional affiliations. |
© 2022 by the authors. Licensee MDPI, Basel, Switzerland. This article is an open access article distributed under the terms and conditions of the Creative Commons Attribution (CC BY) license (https://creativecommons.org/licenses/by/4.0/).
Share and Cite
Liu, L.; Xu, Y.; Zhou, F.; Hu, G.; Yu, L.; He, C. Multiobjective Optimization Design for a MR Damper Based on EBFNN and MOPSO. Appl. Sci. 2022, 12, 8584. https://doi.org/10.3390/app12178584
Liu L, Xu Y, Zhou F, Hu G, Yu L, He C. Multiobjective Optimization Design for a MR Damper Based on EBFNN and MOPSO. Applied Sciences. 2022; 12(17):8584. https://doi.org/10.3390/app12178584
Chicago/Turabian StyleLiu, Leping, Yinan Xu, Feng Zhou, Guoliang Hu, Lifan Yu, and Chang He. 2022. "Multiobjective Optimization Design for a MR Damper Based on EBFNN and MOPSO" Applied Sciences 12, no. 17: 8584. https://doi.org/10.3390/app12178584
APA StyleLiu, L., Xu, Y., Zhou, F., Hu, G., Yu, L., & He, C. (2022). Multiobjective Optimization Design for a MR Damper Based on EBFNN and MOPSO. Applied Sciences, 12(17), 8584. https://doi.org/10.3390/app12178584

