Characteristics of Acoustic Emission Caused by Intermittent Fatigue of Rock Salt
Abstract
:1. Introduction
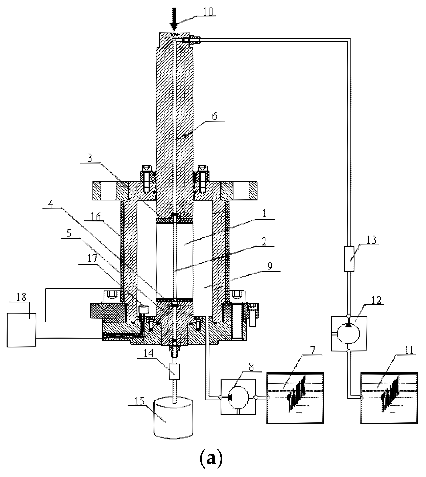
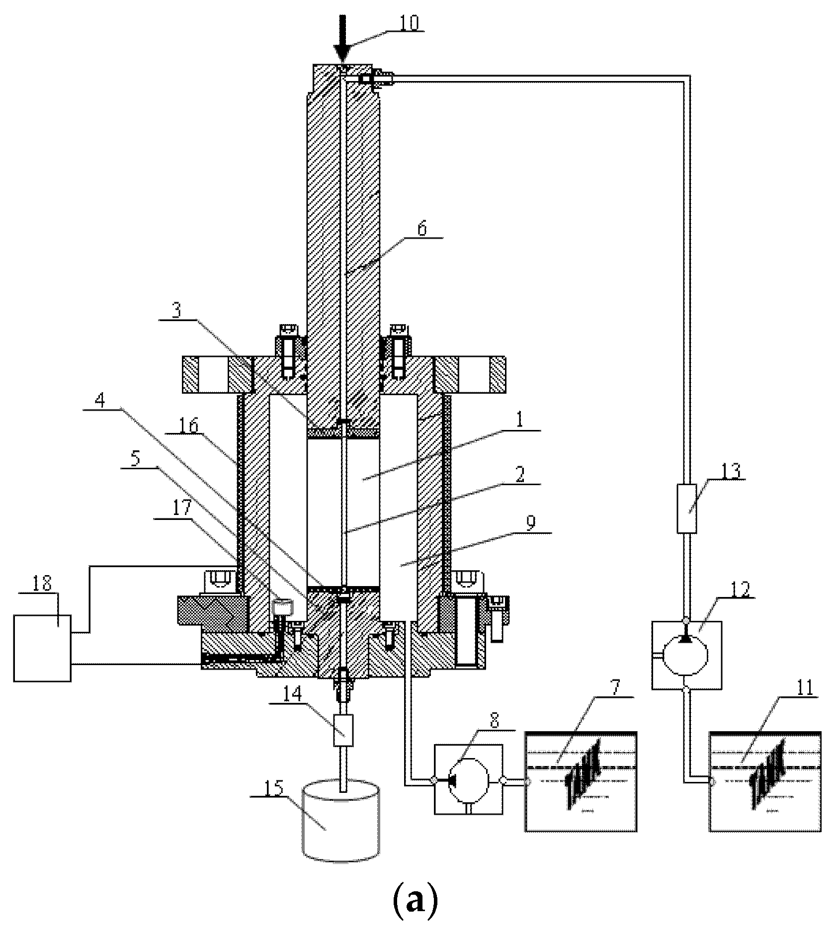
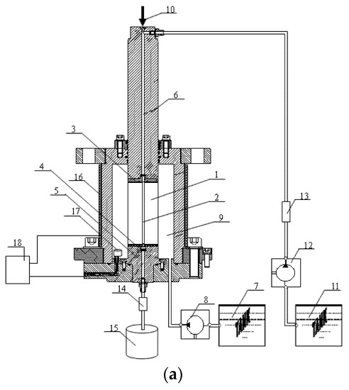
2. Experimental Apparatus and Samples
3. Methodology
4. Results and Discussion
4.1. Characteristics of Residual Deformation
4.2. General Features of Acoustic Emission
4.3. Influence of Time Intervals
4.4. Intermittent Fatigue Life Model for Rock Salt Based on Damage
5. Conclusions
- (1)
- The count method of fatigue circles, named ‘β-α’, was proposed, which makes research of time intervals during fatigue in one same sample possible. Insertion of time interval separates the original continuous development tendency of residual strain, and the residual strain in circles following an interval (α circles) is generally larger than that in circles before the intervals (β circles).
- (2)
- Insertion of a time interval into the fatigue process significantly accelerates the accumulation of residual strain produced by fatigue activity and reduces the fatigue life of the salt. The longer the interval, the faster the residual deformation accumulates and the shorter the fatigue life of the salt.
- (3)
- α circles obviously produce a greater number of acoustic emission counts than β circles. Acoustic emission activity becomes more active in α circles during intervals of no stress, and the longer the interval, the more obvious this phenomenon is.
- (4)
- The residual stress urges the inverse movement of dislocation during intervals, which is beneficial to the regression of dislocation and the generation of new glide plane. The reverse softening caused by the Bauschinger effect makes the inner structure of salt more unconsolidated, which accelerates the accumulation of plastic deformation.
- (5)
- A qualitative relationship between the accumulated damage variable and the time interval is established, and an acceleration effect conclusion of time interval is obtained. A prediction model of salt’s fatigue life is proposed on the basis of time interval.
- (6)
- The phenomenon of AE activity demonstrates that residual stress leads to internal structural adjustment of rock salt on a mesoscopic scale during the interval when no stress is applied. Reverse softening caused by the Bauschinger effect accelerates the accumulation of plastic deformation. A relationship between fatigue life and the length of the time interval with no stress is established on the basis of AE variables, and the mechanism of the time interval on fatigue activity is explained.
- (7)
- Our observation holds for time intervals extending in duration to 900 s; for longer time periods, the fatigue life of the salt increases slightly.
Author Contributions
Funding
Institutional Review Board Statement
Informed Consent Statement
Conflicts of Interest
References
- Hunsche, U. Fracture experiments on cubic rock salt samples. In Proceedings of the First International Mechanical Behavior of Salt Conference, State College, PA, USA, 9–11 November 1981; pp. 169–179. [Google Scholar]
- Spiers, C.J.; Peach, C.J.; Brzesowsky, R.H.; Schutjens, P.M.; Liezenberg, J.L.; Zwart, H.J. Long term rheological and transport properties of dry and wet salt rocks. In Nuclear Science and Technology; Final Report; Commission of the European Communities: Utrecht, The Netherlands, 1988. [Google Scholar]
- Chan, K.S.; Bodner, S.R.; Fossum, A.F.; Munson, D.E. A damage mechanics treatment of creep failure in rock salt. Int. J. Damage Mech. 1997, 6, 121–152. [Google Scholar] [CrossRef]
- Chan, K.S.; Bodner, S.R.; Munson, D.E. Recovery and healing of damage in WIPP salt. Int. J. Damage Mech. 1998, 7, 143–166. [Google Scholar] [CrossRef]
- Spiers, C.J.; Peach, C.J.; Koelemeijer, P.J. Surface diffusivity of cleaved NaCl crystals as a function of humidity: Impedance spectroscopy measurements and implications for crack healing in rock salt. J. Geophys. Res. 2012, 117, B1201–B1205. [Google Scholar]
- Takeuchi, S.; Argon, A.S. Steady-state creep of single-phase crystalline matter at high temperature. J. Mater. Sci. 1976, 11, 1542–1566. [Google Scholar] [CrossRef]
- Fuenkajorn, K.; Phueakphum, D. Laboratory assessment of healing of fractures in rock salt. Bull. Eng. Geol. Environ. 2011, 70, 665–672. [Google Scholar] [CrossRef]
- Stormont, J.C.; Daemen, J.J.K. Laboratory study of gas permeability changes in rock salt during deformation. Int. J. Rock Mech. Min. Sci. Geomech. Abstr. 1992, 29, 325–342. [Google Scholar] [CrossRef]
- Alkan, H.; Cinar, Y.; Pusch, G. Rock salt dilatancy boundary from combined acoustic emission and triaxial compression tests. Int. J. Rock Mech. Min. 2007, 44, 108–119. [Google Scholar] [CrossRef]
- VeziroAlu, T.N.; Sahin, S. 21st Century’s energy: Hydrogen energy system. Energy Convers. Manag. 2008, 49, 1820. [Google Scholar] [CrossRef]
- Ozarslan, A. Large-scale hydrogen energy storage in salt caverns. Int. J. Hydrogen Energy 2012, 37, 14265. [Google Scholar] [CrossRef]
- Goodman, R.E. Subaudible noise during compression of rocks. Geol. Soc. Am. Bull. 1963, 74, 487–490. [Google Scholar] [CrossRef]
- Antonaci, P.; Bocca, P.; Masera, D. Fatigue crack propagation monitoring by Acoustic Emission signal analysis. Eng. Fract. Mech. 2012, 81, 26–32. [Google Scholar] [CrossRef]
- Wang, J.; Zhang, Q.; Song, Z.; Liu, X.; Wang, X.; Zhang, Y. Microstructural variations and damage evolvement of salt rock under cyclic loading. Int. J. Rock Mech. Min. 2022, 152, 105078. [Google Scholar] [CrossRef]
- Li, Z.; Tian, H.; Niu, Y.; Wang, E.; Zhang, X.; He, S.; Wang, F.; Zheng, A. Study on the acoustic and thermal response characteristics of coal samples with various prefabricated crack angles during loaded failure under uniaxial compression. J. Appl. Geophys. 2022, 200, 104618. [Google Scholar] [CrossRef]
- Čtvrtlík, R.; Čech, J.; Tomáštík, J.; Václavek, L.; Haušild, P. Plastic instabilities explored via acoustic emission during spherical nanoindentation. Mater. Sci. Eng. A 2022, 841, 143019. [Google Scholar] [CrossRef]
- Loukidis, A.; Triantis, D.; Stavrakas, I.; Pasiou, E.D.; Kourkoulis, S.K. Detecting Criticality by Exploring the Acoustic Activity in Terms of the “Natural-Time” Concept. Appl. Sci. 2021, 12, 231. [Google Scholar] [CrossRef]
- Maji, V.; Murton, J.B. Experimental Observations and Statistical Modeling of Crack Propagation Dynamics in Limestone by Acoustic Emission Analysis during Freezing and Thawing. J. Geophys. Res. Earth Surf. 2021, 126, e2021JF006127. [Google Scholar] [CrossRef]
- Dimos, T.; Ilias, S.; Ermioni, D.P.; Stavros, K.K. Assessing the acoustic activity in marble specimens under stepwise compressive loading. Mater. Des. Process. Commun. 2020, 2, e100. [Google Scholar]
- Md, N.N.; Abdullah, S.; Mat, S.S.N. On the need to determine the acoustic emission trend for reinforced concrete beam fatigue damage. Int. J. Fatigue 2021, 152, 106421. [Google Scholar]
- Bagde, M.N.; Petroš, V. Fatigue properties of intact sandstone samples subjected to dynamic uniaxial cyclical loading. Int. J. Rock Mech. Min. 2005, 42, 237–250. [Google Scholar] [CrossRef]
- Ovid’Ko, I.A.; Skiba, N.V. Enhanced dislocation emission from grain boundaries in nanocrystalline materials. Scr. Mater. 2012, 67, 13. [Google Scholar] [CrossRef]
- Bobylev, S.V.; Ovid’Ko, I.A. Transformations of faceted grain boundaries in high-Tc superconductors. Phys. Rev. B 2003, 67, 132506. [Google Scholar] [CrossRef]
- Berhardt, E.; Stead, D.; Stimpson, B. Quantifying progressive pre-peak brittle fracture damage in rock during uniaxial compression. Int. J. Rock Mech. Min. 1999, 36, 361–380. [Google Scholar] [CrossRef]
- Eberhardt, E.; Stead, D.; Stimpson, B.; Read, R.S. Identifying crack initiation and propagation thresholds in brittle rock. Can. Geotech. J. 1998, 35, 222–233. [Google Scholar] [CrossRef]
- Bassett, G.A.; Menter, J.W.; Pashley, D.W. Moire Patterns on Electron Micrographs, and their Application to the Study of Dislocations in Metals. Proc. R. Soc. London. Ser. A Math. Phys. Sci. 1958, 246, 345–368. [Google Scholar]
- Elder, K.R.; Grant, M. Modeling elastic and plastic deformations in nonequilibrium processing using phase field crystals. Phys. Rev. E Stat. Nonlin. Soft Matter. Phys. 2004, 70, 51605. [Google Scholar] [CrossRef] [Green Version]
- Irani, N.; Remmers, J.J.C.; Deshpande, V.S. Finite strain discrete dislocation plasticity in a total Lagrangian setting. J. Mech. Phys. Solids 2015, 83, 160–178. [Google Scholar] [CrossRef]
- Read, W.T.; Frank, F.C. Multiplication Processes for Slow Moving Dislocations. Phys. Rev. 1950, 79, 722–723. [Google Scholar]
- Cottrell, A.H. Dislocations and the Mechanical Properties of Crystals. Nature 1956, 178, 1090–1092. [Google Scholar] [CrossRef] [Green Version]
- Sethna, J.P.; Dahmen, K.A.; Myers, C.R. Crackling noise. Nature 2001, 410, 242–250. [Google Scholar] [CrossRef] [Green Version]
- Bauschinger; Belk, W.; Bomches, F.; Dyce Cay, W.; Cay, W.; Colson, C.; Dyke, T.; Gostling, W.; Heintzel, C.; Higgin, G.; et al. CORRESPONDENCE. PORTLAND CEMENT. In Minutes of the Proceedings of the Institution of Civil Engineers; Thomas Telford-ICE Virtual Library: London, UK, 1880; Volume 62. [Google Scholar]
- Kachanov, M.L. A microcrack model of rock inelasticity part I: Frictional sliding on microcracks. Mech. Mater. 1982, 1, 19–27. [Google Scholar] [CrossRef]
- Lavrov, A. Kaiser effect observation in brittle rock cyclically loaded with different loading rates. Mech. Mater. 2001, 33, 669–677. [Google Scholar] [CrossRef]
- Lavrov, A.; Vervoort, A.; Wevers, M.; Napier, J.A.L. Experimental and numerical study of the Kaiser effect in cyclic Brazilian tests with disk rotation. Int. J. Rock Mech. Min. 2002, 39, 287–302. [Google Scholar] [CrossRef] [Green Version]
- Lavrov, A. The Kaiser effect in rocks: Principles and stress estimation techniques. Int. J. Rock Mech. Min. 2003, 40, 151–171. [Google Scholar] [CrossRef]
- Mazars, J. A description of micro- and macroscale damage of concrete structures. Eng. Fract. Mech. 1986, 25, 729–737. [Google Scholar] [CrossRef]
- Desai, C.S.; Woo, L. Damage model and implementation in nonlinear dynamic problems. Comput. Mech. 1993, 11, 189–206. [Google Scholar]
- Desai, C.S.; Sherif, S.A. Mechanics of Materials and Interfaces: The Disturbed State Concept. Appl. Mech. Rev. 2001, 54, B57. [Google Scholar] [CrossRef]
- Katti, D.R.; Desai, C.S. Modeling and testing of cohesive soil using disturbed-state concept. J. Eng. Mech. 1995, 121, 648–658. [Google Scholar] [CrossRef]
- Shao, C.; Desai, C.S. Implementation of DSC model and application for analysis of field pile tests under cyclic loading. Int. J. Numer. Anal. Met. 2000, 24, 601–624. [Google Scholar] [CrossRef]
- Liu, M.D.; Carter, J.P.; Desai, C.S.; Xu, K.J. Analysis of the compression of structured soils using the disturbed state concept. Int. J. Numer. Anal. Met. 2000, 24, 723–735. [Google Scholar] [CrossRef]




















| Interval Duration (s) | C/y = aebx + C | Average Fatigue Life | ||
|---|---|---|---|---|
| Ceven/‰ | Codd/‰ | (Codd − Ceven)/‰ | ||
| 0 (classic fatigue) | 0.48 | 0.49 | 0.01 | 88 |
| 5 | 0.8 | 1.04 | 0.24 | 52 |
| 10 | 0.87 | 0.99 | 0.12 | 54 |
| 30 | 1.29 | 2.05 | 0.76 | 27 |
| 60 | 2.05 | 2.56 | 0.51 | 18 |
| 120 | 1.97 | 2.90 | 0.93 | 13 |
| 600 | 2.37 | 3.59 | 1.22 | 7 |
| 900 | 4.41 | 4.50 | 1.09 | 4 |
| 1200 | 2.48 | 3.23 | 0.75 | 10 |
Publisher’s Note: MDPI stays neutral with regard to jurisdictional claims in published maps and institutional affiliations. |
© 2022 by the authors. Licensee MDPI, Basel, Switzerland. This article is an open access article distributed under the terms and conditions of the Creative Commons Attribution (CC BY) license (https://creativecommons.org/licenses/by/4.0/).
Share and Cite
Cui, Y.; Liu, C.; Qiao, N.; Qi, S.; Chen, X.; Zhu, P.; Feng, Y. Characteristics of Acoustic Emission Caused by Intermittent Fatigue of Rock Salt. Appl. Sci. 2022, 12, 5528. https://doi.org/10.3390/app12115528
Cui Y, Liu C, Qiao N, Qi S, Chen X, Zhu P, Feng Y. Characteristics of Acoustic Emission Caused by Intermittent Fatigue of Rock Salt. Applied Sciences. 2022; 12(11):5528. https://doi.org/10.3390/app12115528
Chicago/Turabian StyleCui, Yao, Changjun Liu, Nan Qiao, Siyu Qi, Xuanyi Chen, Pengyu Zhu, and Yongneng Feng. 2022. "Characteristics of Acoustic Emission Caused by Intermittent Fatigue of Rock Salt" Applied Sciences 12, no. 11: 5528. https://doi.org/10.3390/app12115528
APA StyleCui, Y., Liu, C., Qiao, N., Qi, S., Chen, X., Zhu, P., & Feng, Y. (2022). Characteristics of Acoustic Emission Caused by Intermittent Fatigue of Rock Salt. Applied Sciences, 12(11), 5528. https://doi.org/10.3390/app12115528

