An Experimental Investigation of Turbulence Features Induced by Typical Artificial M-Shaped Unit Reefs
Abstract
1. Introduction
2. Experimental Setup
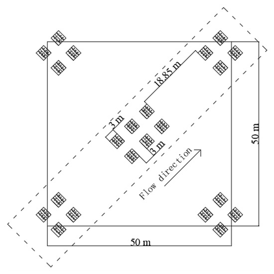
2.1. Experimental Model
2.2. Experimental Design
2.3. Hydraulic Conditions
3. Methods
3.1. Quantification of Turbulence Velocity
3.2. Quantification of Turbulence Intensity
3.3. Estimation of Reynolds Shear Stress
4. Results and Discussion
4.1. Characteristics of Turbulence Intensity Distribution along the Flow Direction
4.2. Characteristics of Turbulence Intensity along the Entire Flow Depth
- A and B are the sections not entering the reef area (Type I);
- G, H, I, and M are the front sections of the reef groups (Type II);
- C, J, K, and N are the sections between the two reef monocases (Type III);
- D, E, F, L, O, and P are the rear sections of the reef groups (Type IV).
4.3. Characterisation of Maximum Turbulence Intensity
5. Conclusions
- The low turbulence area is typically located in front of the unit reef, and in this region, only at the sea bottom the turbulence intensity is relatively high;
- The general turbulence area is located within the upwelling area;
- The more intense turbulence area is located between the two monocases, and this area is strongly characterized by effects induced by the eddy currents;
- The mixed turbulence area is located at the back of the reef group, and it is not directly affected by reef.
Author Contributions
Funding
Institutional Review Board Statement
Informed Consent Statement
Data Availability Statement
Conflicts of Interest
References
- Laxe, F.G.; Bermúdez, F.M.; Palmero, F.M.; Novo-Corti, I. Governance of the fishery industry: A new global context. Ocean Coast. Manag. 2018, 153, 33–45. [Google Scholar] [CrossRef]
- Halpern, B.S.; Frazier, M.; Potapenko, J.; Casey, K.S.; Koenig, K.; Longo, C.; Lowndes, J.S.; Rockwood, R.C.; Selig, E.R.; Selkoe, K.A.; et al. Spatial and temporal changes in cumulative human impacts on the world’s ocean. Nat. Commun. 2015, 6, 7. [Google Scholar] [CrossRef] [PubMed]
- Nilsson, J.A.; Fulton, E.A.; Johnson, C.R.; Haward, M. How to sustain fisheries: Expert knowledge from 34 nations. Water 2019, 11, 213. [Google Scholar] [CrossRef]
- Barbeaux, S.J.; Holsman, K.; Zador, S. Marine heatwave stress test of ecosystem-based fisheries management in the gulf of Alaska Pacific cod fishery. Front. Mar. Sci. 2020. [Google Scholar] [CrossRef]
- Carlson, A.K.; Taylor, W.W.; Rubenstein, D.I.; Levin, S.A.; Liu, J. Global marine fishing accross space and time. Sustainability 2020, 12, 4714. [Google Scholar] [CrossRef]
- Chandrapavan, A.; Caputi, N.; Kangas, M.I. The decline and recovery of a crab population from an extreme marine heatwave and a changing climate. Front. Mar. Sci. 2019. [Google Scholar] [CrossRef]
- Townhill, B.L.; Radford, Z.; Pecl, G.; van Putten, I.; Pinnegar, J.K.; Hyder, K. Marine recreational fishing and the implications of climate change. Fish Fish. 2019. [Google Scholar] [CrossRef]
- Wang, G.; Wan, R.; Wang, X.X.; Zhao, F.F.; Lan, X.Z.; Cheng, H.; Theng, W.Y.; Guan, Q.L. Study on the influence of cut-opening ratio, cut-opening shape, and cut-opening number on the flow field of a cubic artificial reef. Ocean Eng. 2018, 162, 341–352. [Google Scholar] [CrossRef]
- Svane, I.; Petersen, J.K. On the problems of epibioses, fouling and artificial reefs, a review. Mar. Ecol. Pubbl. Stn. Zool. Napoli 2001, 22, 169–188. [Google Scholar] [CrossRef]
- Lima, J.S.; Zalmon, I.R.; Love, M. Overview and trends of ecological and socioeconomic research on artificial reefs. Mar. Environ. Res. 2019, 145, 81–96. [Google Scholar] [CrossRef]
- Layman, C.A.; Allgeier, J.E. An ecosystem ecology perspective on artificial reef production. J. Appl. Ecol. 2020. [Google Scholar] [CrossRef]
- Chen, P.; Kang, C.K.; Yu, J.L. Marine life and coastal restoration by utilizing steel slag to create sea forest on sandy coast of southwest Taiwan. Oceans 2019. [Google Scholar] [CrossRef]
- Sreekanth, G.B.; Lekshmi, N.M.; Singh, N.P. Can artificial reefs really enhance the inshore fishery resources along Indian coast? A critical review. Proc. Natl. Acad. Sci. India Sec. B Biol. Sci. 2019, 89, 13–25. [Google Scholar] [CrossRef]
- Maslov, D.; Johnson, J.; Pereira, E.; Duarte, D.; Miranda, T.; Lima, M.; Cruz, F.; Valente, I.; Pinheiro, M. Experimental testing and CFD modelling for prototype design of innovative artificial reef structures. Oceans 2019. [Google Scholar] [CrossRef]
- Brown-Peterson, N.J.; Leaf, R.T.; Leontiou, A.J. Importance of depth and artificial structure on female Red Snapper reproductive parameters. Trans. Am. Fish. Soc. 2020. [Google Scholar] [CrossRef]
- Liu, T.L.; Su, D.T. Numerical analysis of the influence of reef arangements on artificial reef flow fields. Ocean Eng. 2013, 74, 81–89. [Google Scholar] [CrossRef]
- Lan, C.H.; Chen, C.C.; Hsui, C.Y. An approach to design spatial configuration of artificial reef ecosystem. Ecol. Eng. 2004, 22, 217–226. [Google Scholar] [CrossRef]
- Haro, A.; Castro-Santos, T.; Noreika, J.; Odeh, M. Swimming performance of upstream migrant fishes in open-channel flow: A new approach to predicting passage through velocity barriers. Can. J. Fish. Aquat. Sci. 2004, 61, 1590–1601. [Google Scholar] [CrossRef]
- Schmitter-Soto, J.J.; Herrera-Pavón, R.L. Changes in the Fish Community of a Western Caribbean Estuary after the Expansion of an Artificial Channel to the Sea. Water 2019, 11, 2582. [Google Scholar] [CrossRef]
- Yoon, H.-S.; Kim, D.; Na, W.-B. Estimation of effective usable and burial volumes of artificial reefs and the prediction of cost-effective management. Ocean Coast. Manag. 2016, 120, 135–147. [Google Scholar] [CrossRef]
- Collins, K.J.; Jensen, A.C.; Lockwood, A.P.M. Fishery enhancement reef building exercise. Chem. Ecol. 1990, 4, 179–187. [Google Scholar] [CrossRef]
- Godoy, E.A.S.; Almeida, T.C.M.; Zalmon, I.R. Fish assemblages and environmental variables on an artificial reef north of Rio de Janeiro, Brazil. ICES J. Mar. Sci. 2002, 59, S138–S143. [Google Scholar] [CrossRef][Green Version]
- Santos, M.N.; Monteiro, C.C. The Olhão artificial reef system (south Portugal): Fish assemblages and fishing yield. Fish. Res. 1997, 30, 33–41. [Google Scholar] [CrossRef]
- Glarou, M.; Zrust, M.; Svendsen, J.C. Using artificial-reef knowledge to enhance the ecological function of offshore wind turbine foundations: Implications for fish abundance and diversity. J. Mar. Sci. Eng. 2020, 8, 332. [Google Scholar] [CrossRef]
- Ngoc Le, Q.T.; Jung, S.; Na, W.B. Wake region estimates of artificial reefs in Vietnam: Effects of tropical seawater temperatures and seasonal water flow variation. Sustainability 2020, 12, 6191. [Google Scholar] [CrossRef]
- Marshak, A.R.; Cebrian, J.; Heck, K.L., Jr.; Hightower, C.L.; Kroetz, A.M.; Macy, A.; Madsen, S.; Spearman, T.; Sanchez-Lizaso, J.L. Spatiotemporal Dynamics of mediterranean shallow coastal fish communities along a gradient of marine protection. Water 2020, 12, 1537. [Google Scholar] [CrossRef]
- Crabbe, M.J.C. Coral ecosystem resilience, conservation and management on the reefs of Jamaica in the Face of Anthropogenic Activities and Climate Change. Diversity 2010, 2, 881–896. [Google Scholar] [CrossRef]
- Androulakis, D.N.; Dounas, C.G.; Banks, A.C.; Magoulas, A.N.; Margaris, D.P. An assessment of computational fluid dynamics as a tool to aid the design of the HCMR-artificial-reefs TM diving oasis in the underwater biotechnological park of Crete. Sustainability 2020, 12, 4847. [Google Scholar] [CrossRef]
- Kim, D.; Woo, J.; Na, W.B. Intensively stacked placement models of artificial reef sets characterized by wake and upwelling regions. Mar. Technol. Soc. J. 2017, 51, 60–70. [Google Scholar] [CrossRef]
- Li, J.; Zheng, Y.X.; Gong, P.H.; Guan, C.T. Numerical simulation and PIV experimental study of the effect of flow fields around tube artificial reefs. Ocean Eng. 2017, 134, 96–104. [Google Scholar]
- Liu, Y.; Guan, C.T.; Zhao, Y.P.; Cui, Y.; Dong, G.H. Numerical simulation and PIV study of unsteady flow around hollow cube artificial reef with free water surface. Eng. Appl. Comput. Fluid Mech. 2012, 6, 527–540. [Google Scholar] [CrossRef]
- Shao, S. Incompressible SPH flow model for wave interactions with porous media. Coast. Eng. 2010, 57, 304–316. [Google Scholar] [CrossRef]
- Kazemi, E.; Tait, S.; Shao, S. SPH-based numerical treatment of the interfacial interaction of flow with porous media. Int. J. Numer. Methods Fluids 2020, 92, 219–245. [Google Scholar] [CrossRef]
- Kazemi, E.; Koll, K.; Tait, S.; Shao, S. SPH modelling of turbulent open channel flow over and within natural gravel beds with rough interfacial boundaries. Adv. Water Res. 2020, 140, 103557. [Google Scholar] [CrossRef]
- Zheng, X.; Shao, S.; Khayyer, A.; Duan, W.; Ma, Q.; Liao, K. Corrected first-order derivative ISPH in water wave simulations. Coast. Eng. 2017, 59. [Google Scholar] [CrossRef]
- Rubinato, M.; Heyworth, J.; Hart, J. Protecting coastlines from flooding in a changing climate: A preliminary experimental study to investigate a sustainable approach. Water 2020, 12, 2471. [Google Scholar] [CrossRef]
- Wu, S.; Rubinato, M.; Gui, Q. SPH Simulation of interior and exterior flow field characteristics of porous media. Water 2020, 12, 918. [Google Scholar] [CrossRef]
- Zhang, Y.; Rubinato, M.; Kazemi, E.; Pu, J.H.; Huang, Y.; Lin, P. Numerical and experimental analysis of shallow turbulent flows over complex roughness beds. Int. J. Comput. Fluid Dyn. 2019. [Google Scholar] [CrossRef]
- Pecseli, H.L.; Trulsen, J.K.; Stiansen, J.E.; Sundby, S.; Fossum, P. Feeding of plankton in turbulent oceans and lakes. Limnol. Oceanogr. 2019, 64, 1034–1046. [Google Scholar] [CrossRef]
- Davis, K.A.; Pawlak, G.; Monismith, S.G. Turbulence and coral reefs. Annu. Rev. Mar. Sci. 2021, 13. [Google Scholar] [CrossRef] [PubMed]
- Philippe Cury, C.R. Optimal environmental window and pelagic fish recruitment success in upwelling areas. Canjfishaquat 1989, 46, 1. [Google Scholar]
- Mackenzie, B.R.; Miller, T.J.; Cyr, S.; Leggett, W.C. Evidence for a dome-shaped relationship between turbulence and larval fish ingestion rates. Limnol. Oceanogr. 1994, 39, 1790–1799. [Google Scholar] [CrossRef]
- Thomas, F.I.M.; Atkinson, M.J. Ammonium uptake by coral reefs: Effects of water velocity and surface roughness on mass transfer. Limnol. Oceanogr. 1997, 42, 81–88. [Google Scholar] [CrossRef]
- Sebens, K.P.; Helmuth, B.; Carrington, E.; Agius, B. Effects of water flow on growth and energetics of the scleractinian coral Agaricia tenuifolia in Belize. Coral Reefs 2003, 22, 35–47. [Google Scholar] [CrossRef]
- Monismith, S.G.; Davis, K.A.; Shellenbarger, G.G.; Hench, J.L.; Nidzieko, N.J.; Santoro, A.E.; Reidenbach, M.A.; Rosman, J.H.; Holtzman, R.; Martens, C.S.; et al. Flow effects on benthic grazing on phytoplankton by a Caribbean reef. Limnol. Oceanogr. 2010, 55, 1881–1892. [Google Scholar] [CrossRef]
- McClanahan, T.R.; Maina, J.; Moothien-Pillay, R.; Baker, A.C. Effects of geography, taxa, water flow, and temperature variation on coral bleaching intensity in Mauritius. Mar. Ecol. Prog. Ser. 2005, 298, 131–142. [Google Scholar] [CrossRef]
- Nakamura, T.; van Woesik, R.; Yamasaki, H. Photoinhibition of photosynthesis is reduced by water flow in the reef-building coral Acropora digitifera. Mar. Ecol. Prog. Ser. 2005, 301, 109–118. [Google Scholar] [CrossRef]
- Pomeroy, A.W.M.; Lowe, R.J.; Van Dongeren, A.R.; Ghisalberti, M.; Bodde, W.; Roelvink, D. Spectral wave-driven sediment transport across a fringing reef. Coast. Eng. 2015, 98, 78–94. [Google Scholar] [CrossRef]
- Reidenbach, M.A.; Koseff, J.R.; Koehl, M.A.R. Hydrodynamic forces on larvae affect their settlement on coral reefs in turbulent, wave-driven flow. Limnol. Oceanogr. 2009, 54, 318–330. [Google Scholar] [CrossRef]
- Fuchs, H.L.; Hunter, E.J.; Schmitt, E.L.; Guazzo, R.A. Active downward propulsion by oyster larvae in turbulence. J. Exp. Biol. 2013, 216, 1458–1469. [Google Scholar] [CrossRef]
- Chatelain, M.; Guizien, K. Modelling coupled turbulence—Dissolved oxygen dynamics near the sediment-water interface under wind waves and sea swell. Water Res. 2010, 44, 1361–1372. [Google Scholar] [CrossRef] [PubMed]
- Li, Y.P.; Wei, J.; Gao, X.M.; Chen, D.; Weng, S.L.; Du, W.; Wang, W.C.; Wang, J.W.; Tang, C.Y.; Zhang, S.S. Turbulent bursting and sediment resuspension in hyper-eutrophic Lake Taihu, China. J. Hydraul. 2018, 565, 581–588. [Google Scholar] [CrossRef]
- Li, H.; Yang, G.; Ma, J.; Wei, Y.; He, Q. The role of turbulence in internal phosphorus release: Turbulence intensity matters. Environ. Pollut. 2019, 252, 84–93. [Google Scholar] [CrossRef]
- Tanaka, M. Changes in vertical distribution of zooplankton under wind-induced turbulence: A 36-year record. Fluids 2019, 4, 195. [Google Scholar] [CrossRef]
- Leathers, K.W.; Michaelis, B.T.; Reidenbach, M.A. Interpreting the spatial-temporal structure of turbulent chemical plumes utilized in odor tracking by lobsters. Fluids 2020, 5, 82. [Google Scholar] [CrossRef]
- Oliveira, D.; Granhag, L. Matching forces applied in underwater hull cleaning with adhesion strength of marine organisms. J. Mar. Sci. Eng. 2016, 4, 66. [Google Scholar] [CrossRef]
- Reynolds, A.M. Passive particles Lévy walk through turbulence mirroring the diving patterns of marine predators. J. Phys. Commun. 2018, 2, 085003. [Google Scholar] [CrossRef]
- Martínez, R.A.; Calbet, A.; Saiz, E. Effects of small-scale turbulence on growth and grazing of marine microzooplankton. Aquat. Sci. 2018, 80, 2. [Google Scholar] [CrossRef]
- Perez-Santos, I.; Castro, L.; Ross, L.; Niklitschek, E.; Mayorga, N.; Cubillos, L.; Gutierrez, M.; Escalona, E.; Castillo, M.; Alegria, N.; et al. Turbulence and hypoxia contribute to dense biological scattering layers in a Patagonian fjord system. Ocean Sci. 2018, 14, 1185–1206. [Google Scholar] [CrossRef]
- Horppila, J.; Härkönen, L.; Hellén, N.; Estlander, S.; Pekcan-Hekim, Z.; Ojala, A. Rotifer communities under variable predation-turbulence combinations. Hydrobiologia 2019, 828, 339–351. [Google Scholar] [CrossRef]
- Zhou, X.; Zhao, X.; Zhang, S.; Lin, J. Marine Ranching Construction and Management in East China Sea: Programs for Sustainable Fishery and Aquaculture. Water 2019, 11, 1237. [Google Scholar] [CrossRef]
- Michalec, F.G.; Fouxon, I.; Souissi, S.; Holzner, M. Zooplankton can actively adjust their motility to turbulent flow. Proc. Natl. Acad. Sci. USA 2017, 114, E11199–E11207. [Google Scholar] [CrossRef]
- Amoudry, L.O.; Souza, A.J. Impact of sediment-induced stratification and turbulence closures on sediment transport and morphological modelling. Cont. Shelf. Res. 2011, 31, 912–928. [Google Scholar] [CrossRef][Green Version]
- Wan Mohtar, W. Enhanced understanding on incipient sedimentmotion and sediment suspension through oscillating-grid turbulence experiments. J. Zhejiang Univ. Sci. A 2017, 18, 882–894. [Google Scholar] [CrossRef]
- Scarano, F. Tomographic PIV: Principles and practice. Meas. Sci. Technol. 2013, 24, 28. [Google Scholar] [CrossRef]
- Christensen, K.T.; Scarano, F. Uncertainty quantification in particle image velocimetry. Meas. Sci. Technol. 2015, 26, 070201. [Google Scholar] [CrossRef][Green Version]
- Markus, R.; Jurgen, K.; Wereley, S.T.; Willert, C.E. Particle image velocimetry: A practical guide. Exp. Fluid Mech. 2017, 255, 160–162. [Google Scholar]
- Rojas, S.; Rubinato, M.; Nichols, A.; Shucksmith, J. Cost effective measuring technique to simultaneously quantify 2D velocity fields and depth-averaged solute concentrations in shallow water flows. J. Flow Meas. Instrum. 2018, 64, 213–223. [Google Scholar] [CrossRef]
- Martins, R.; Rubinato, M.; Kesserwani, G.; Leandro, J.; Djordjevic, S.; Shucksmith, J. On the characteristics of velocity fields on the vicinity of manhole inlet grates during flood events. Water Resour. Res. 2018, 54, 6408–6422. [Google Scholar] [CrossRef]
- Rubinato, M.; Seungsoo, L.; Martins, R.; Shucksmith, J. Surface to sewer flow exchange through circular inlets during urban flood conditions. J. Hydroinform. 2018, 20, 564–576. [Google Scholar] [CrossRef]
- Shucksmith, J.; Rubinato, M.; Martins, R.; Kesserwani, G.; Leandro, J.; Djordjevic, S. Understanding pollutant transport in urban floodwater for health impact assessment using a physical scale model. In Proceedings of the 11th International Conference on Urban Drainage Modelling, Palermo, Italy, 23–26 September 2018. [Google Scholar]
- Rubinato, M.; Martins, R.; Kesserwani, G.; Leandro, J.; Djordjevic, S.; Shucksmith, J. Experimental investigation of the influence of manhole grates on drainage flows in urban flooding conditions. In Proceedings of the 14th IWA/IAHR International Conference on Urban Drainage, Prague, Czech Republic, 10–15 September 2017. [Google Scholar]
- Song, T.X. Research on Stirring Flow Field and Dynamic Concentration Measurement of Low Concentration Pulp Fiber Suspension Based on PIV. Master’s Thesis, South China University of Technology, Guangzhou, China, 2017. [Google Scholar]
- Cui, Y.; Guan, C.T.; Wan, R.; Li, J.; Huang, B. Numerical simulation on influence of disposal space on effects of flow field around artificial reefs. Trans. Oceanol. Limnol. 2011, 22, 59–65, (In Chinese with English abstract). [Google Scholar]
- Czechowska, K.; Feldens, P.; Tuya, F.; Cosme de Esteban, M.; Espino, F.; Haroun, R.; Schönke, M.; Otero-Ferrer, F. Testing side-scan sonar and multibeam echosounder to study black coral gardens: A case study from Macaronesia. Remote Sens. 2020, 12, 3244. [Google Scholar] [CrossRef]














| Experimental Group (Test Case) | L (mm) | u0 (mm) | Fr |
|---|---|---|---|
| 0 (1–5) | \ | 0.085–0.257 | 0.05–0.15 |
| 1 (1–5) | 283 | 0.085–0.257 | 0.05–0.15 |
| 2 (1–5) | 377 | 0.085–0.257 | 0.05–0.15 |
| 3 (1–5) | 471 | 0.085–0.257 | 0.05–0.15 |
| Test ID | Average Longitudinal Turbulence | Average Vertical Turbulence |
|---|---|---|
| 0-5 | 0.075 | 0.046 |
| 1-5 | 0.117 | 0.086 |
| 2-5 | 0.110 | 0.073 |
| 3-5 | 0.118 | 0.084 |
Publisher’s Note: MDPI stays neutral with regard to jurisdictional claims in published maps and institutional affiliations. |
© 2021 by the authors. Licensee MDPI, Basel, Switzerland. This article is an open access article distributed under the terms and conditions of the Creative Commons Attribution (CC BY) license (http://creativecommons.org/licenses/by/4.0/).
Share and Cite
Shu, A.; Qin, J.; Rubinato, M.; Sun, T.; Wang, M.; Wang, S.; Wang, L.; Zhu, J.; Zhu, F. An Experimental Investigation of Turbulence Features Induced by Typical Artificial M-Shaped Unit Reefs. Appl. Sci. 2021, 11, 1393. https://doi.org/10.3390/app11041393
Shu A, Qin J, Rubinato M, Sun T, Wang M, Wang S, Wang L, Zhu J, Zhu F. An Experimental Investigation of Turbulence Features Induced by Typical Artificial M-Shaped Unit Reefs. Applied Sciences. 2021; 11(4):1393. https://doi.org/10.3390/app11041393
Chicago/Turabian StyleShu, Anping, Jiping Qin, Matteo Rubinato, Tao Sun, Mengyao Wang, Shu Wang, Le Wang, Jiapin Zhu, and Fuyang Zhu. 2021. "An Experimental Investigation of Turbulence Features Induced by Typical Artificial M-Shaped Unit Reefs" Applied Sciences 11, no. 4: 1393. https://doi.org/10.3390/app11041393
APA StyleShu, A., Qin, J., Rubinato, M., Sun, T., Wang, M., Wang, S., Wang, L., Zhu, J., & Zhu, F. (2021). An Experimental Investigation of Turbulence Features Induced by Typical Artificial M-Shaped Unit Reefs. Applied Sciences, 11(4), 1393. https://doi.org/10.3390/app11041393

