The Analysis of the Applications of Crop Seed Tape Sowing Technology and Equipment: A Review
Abstract
1. Introduction
2. Study on Agronomic Condition of Seed Tape Planting
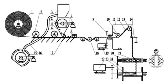
3. Research on Key Technology and Equipment for Seed Tape Manufacture
3.1. Materials Used for Seed Tape
3.2. Key Technology of Seed Tape Manufacture
3.2.1. The Seed Wrapping Technology and Equipment
3.2.2. The Seed Metering Technology in Seed Tape Manufacture
4. Research on Key Technologies and Equipment of Seed Tape Laying
4.1. Guiding of Seed Tape
4.2. Walking Mode of Seed Tape Planter
4.3. Soil Covering Device of Seed Tape Planter
5. Discussions and Prospection of Seed Tape Sowing
5.1. Fundamental Issues in Seed Tape Sowing That Still Need Further Discussion
5.1.1. Economic Factors
5.1.2. The Interaction of Soil-Machinery
- (1)
- Strengthening basic theoretical research on soil-mechanical interaction.
- (2)
- Optimize the structure of the rope seeding machine, such as ditching, guide rope and other links.
- (3)
- Before laying the seed tape, install the earth breaking device and the rope seeding machine for the composite operation.
5.1.3. Crop-Seed Tape-Soil Coupling Interaction
5.1.4. Intelligent Issues of Seed Tape Equipment
- (1)
- Precise control of seed hill distance in seed tape manufacture.
- (2)
- An unmanned seed tape planter based on the GNSS system.
- (3)
- Seed tape intelligent synchronous release and disconnection system.
- (4)
- Sowing depth control and monitoring system.
5.2. Development Prospection Trend of Seed Rope Sowing Technology
- (1)
- The intelligent high precision and high-speed seed tape manufacturing equipment. Agricultural production is gradually developing towards factorization, such as the SEDOS and Nippon company. Farmers who sow with seed tape could buy seeds from the factory, and the factory needs to provide farmers with seed tape reels on time. Therefore, the working efficiency of the seed tape manufacture will be greatly improved in the future.
- (2)
- The emergence of large intelligent integrated seed tape planter of “land preparation-seeding rope system-seeding”. It would include the soil preparation system, seed tape production system, seed tape laying system, autopilot system, the GNSS system and some other intelligent control system. The soil preparation system directly ploughs the soil into the most suitable conditions. Then the seeds are formed into the seed tape reel in the integrated seed tape planter and lay down into the soil. Integrated seed tape planter integrates the seed tape making and laying which reduces the manpower input in the process of making the seed tape.
- (3)
- Development of small and medium-sized mobile (manpower) walk-behind planters. For farmers with small areas of arable land, small and medium-sized mobile walk-behind planters will be popular. This type of rope planter has the advantages of good manoeuvrability, flexibility in and out of small fields, easy transportation, and low cost.
- (4)
- Seed tape planting technology can be used for agricultural landscape planting. With the improvement of people’s living quality, the agricultural landscape is more and more sought after by people, such as rice field painting and lawn painting. Most paddy fields are planted by hand, which makes them expensive to produce. If the seed tape seeding technique is used for paddy field painting seeding, the corresponding seeds can be wrapped into the seed tape in seed tape manufacture. As Huang et al. proposed, the seed tape mixed weaving of rapeseed and wheat seeds could realize landscape planting in the field [73].
- (5)
- Seed tape planting technology can be used for transplanting crops. Usually, we use the seed tape technology for crop cultivation is to pull the seeds into the seed tape, and then lay down the seed tape by the laying device which belongs to crop direct seeding. Many crops such as rice and rape are mainly produced by transplanting. Transplanting with seed tape begins by germinating the seed in the seed tape. When the seedlings grow to a certain extent, the seed tape with the seedlings is laid down in the groove by special transplanting equipment. It is consistent with the idea of seed zone transplanting proposed by Ahm [103].
6. Conclusions
Author Contributions
Funding
Institutional Review Board Statement
Informed Consent Statement
Data Availability Statement
Conflicts of Interest
References
- Gómez De Barreda, D.; Pardo, G.; Osca, J.M.; Catala-Forner, M.; Consola, S.; Garnica, I.; López-Martínez, N.; Palmerín, J.A.; Osuna, M.D. An Overview of Rice Cultivation in Spain and the Management of Herbicide-Resistant Weeds. Agronomy 2021, 11, 1095. [Google Scholar] [CrossRef]
- Farooq, M.; Siddique, K.H.; Rehman, H.; Aziz, T.; Lee, D.; Wahid, A. Rice direct seeding: Experiences, challenges and opportunities. Soil Tillage Res. 2011, 111, 87–98. [Google Scholar] [CrossRef]
- Pandey, S.; Velasco, L. Economics of Direct Seeding in Asia: Patterns of Adoption and Research Priorities. In Direct Seeding: Research Issues & Opportunities International Workshop on Direct Seeding in Asia Rice Systems: Strategic Research Issues & Opportunities; International Rice Research Institute: Los Baños, Philippines, 2002; pp. 3–14. [Google Scholar]
- Cloete, S. Precision planting technology: Designed to maximise farm ouput. Farmer’s Weekly, 12 August 2019; 50–51. [Google Scholar]
- Chancellor, W.J. Seed Tape System for Precision Selection and Planting of Small Vegetable Seeds. Trans. ASAE 1969, 12, 876–879. [Google Scholar] [CrossRef]
- Li, C. Research on development of seed tape technology. J. Xiaogan Univ. 2008, 28, 91–94. [Google Scholar]
- Valentina, N.; Ionel, O.; Ion, S.; Alexandru, S. The speed influence working on sowed accuracy and precision seeding. Ann. Univ. Craiova-Agric. Mont. Cadas. Ser. 2021, 50, 408–411. [Google Scholar]
- Willan, N.M. Seed Tape. U.S. Patent 1143980, 22 July 1915. [Google Scholar]
- Obara, H.; Ono, K.; Takahashi, K. Labor-saving techniques on seeding and thinning of vegetables by use of seed tape. Agric. Hortic. 1973, 69–73. [Google Scholar]
- Redenbaugh, K.; Fujii, J.; Slade, D.; Viss, P.; Kossler, M. Artificial seeds—Encapsulated somatic embryos. In High-Tech and Micropropagation I; Springer: Berlin/Heidelberg, Germany, 1991; pp. 395–416. [Google Scholar]
- Fan, Z.; Gao, K.; Mi, X. Preliminary study on carrier tape sowing method of maize seeds. J. Shanxi Agric. Univ. 1995, 15, 241–243. (In Chinese) [Google Scholar]
- Nobuta, M.; Ogaya, O.; Yamada, M. Studies on the Direct Sowing Culture System of Seed Tape. Jpn. J. F. W. Res. 1968, 1968, 40–44. [Google Scholar] [CrossRef]
- Lin, J.; Shao, Y.; Li, H.; Wang, R.; Feng, L.; Yang, G. Discussion on precision planting technology of vegetable seeds. Sci. Technol. Tianjin Agric. For. 2020, 33–34. (In Chinese) [Google Scholar]
- Tang, X.; Sun, Z.; Zhao, P. SYS-A Type Seed Tape Braiding Machine and Seed Tape. Farm Prod. Process. 2016, 63–64. [Google Scholar] [CrossRef]
- Feng, L. Facility green radish seed tape seeding mechanization technology and equipment analysis. Agric. Eng. Technol. 2020, 40, 46–48. (In Chinese) [Google Scholar]
- Wu, J.; Li, X.; Tu, Y.; Zhang, Y.; Ren, P. Mechanized cultivation technology of Chinese herbal medicine windbreak planting rope sowing. Agric. Eng. Technol. 2019, 39, 73–74. (In Chinese) [Google Scholar]
- Ren, W.; Li, X. Experimental Study on the Yield for the Technology of Rice Direct Sowing with Seed Rope. J. Agric. Mech. Res. 2006, 162–166. [Google Scholar] [CrossRef]
- Ren, W.; Li, X.; Cui, H.; Liu, W. Effect of the technique of rice direct sowing with seeds twisted in paper rope on rice yield character. J. Shenyang Agric. Univ. 2005, 36, 265–270. [Google Scholar]
- Fischer, A.C. Seed Tape. U.S. Patent 2281927, 6 January 1937. [Google Scholar]
- Wetzel, M.; Batson, W.E. Influence of Polyethylene Oxide Seed Tape on Growth of Rhizoctonia solani and Pythium aphanidermatum and on Damping-off of Tomato. Phytopathology 1980, 70, 558–559. [Google Scholar] [CrossRef]
- Nakajima, Y.; Morita, T.; Kataoka, K.; Fudano, T.; Kawase, K. The trial of leaf and root crops cultivation using paper mulch combined with seed tape. Hortic. Res. 2003, 2, 293–296. [Google Scholar] [CrossRef][Green Version]
- Ramarao, V.; Thomison, P.R.; Gabriel, C.K.; Bennett, M.A.; Grassbaugh, E.M.; Kleinhenz, M.D.; Shearer, S.A.; Pitla, S.K. Seed Tape Effects on Corn Emergence under Greenhouse Conditions. Crop. Manag. 2014, 13, 2014–2051. [Google Scholar]
- Ogawa, O. Direct Seeding of Rice by Seed Tape. Jpn. Agric. Res. Quart. 1970, 5, 12–15. [Google Scholar]
- Han, B.; Liang, L.; Meng, F.; Ge, Y.; Zhang, S. Research on the Factors Affecting Seeding Quality of Seed Nursery Strip for Rice. J. Agric. Mech. Res. 2015, 170–173, (In Chinese with English abstract). [Google Scholar] [CrossRef]
- Cui, H.; Ren, W.; Dai, L. Effect of fertilizer and herbicides in seed tape on rice growth characteristics. J. Shenyang Agric. Univ. 2011, 42, 335–339. [Google Scholar]
- Sato, H.; Sato, J.; Saito, T. Direct sowing method by using seed tape for Eustoma retarding culture in sand dune area. Bull. Hortic. Res. Yamagata Prefect. Jpn. 2003, 63–76. [Google Scholar]
- Cui, H. Development and Experimental Study on Rice Seed Tape Twisting Machine. Ph.D. Thesis, Shenyang Agricultural University, Shenyang, Liaoning, China, 2012. [Google Scholar]
- Zhu, L.; Tang, X.; Lu, C.; Shen, A.; Wang, S. Effects of root restriction on growth, fruit quality and nutrient element contents of Vinifera. South China Fruits 2004, 33, 80–82, (In Chinese with English abstract). [Google Scholar]
- Wang, C.; Sun, L.; Leng, P.; Xu, X.; Cui, M.; Liu, S. Root zone temperature, plant growth and fruit quality of watermelon affected by nonwoven-fabric-root-restrict ion-cultivation. J. China Agric. Univ. 2011, 16, 81–86, (In Chinese with English abstract). [Google Scholar]
- Zhang, B. Design and Experimental Study of a Small Roped Type Rice Direct Seeding Machine. Ph.D. Thesis, Shenyang Agricultural University, Shenyang, Liaoning, China, 2018. [Google Scholar]
- Craig, B.M. Seed-Tape Manufacture. U.S. Patent 3511016A, 12 May 1970. [Google Scholar]
- Yan, C.; He, W.; Turner, N. Plastic-film mulch In Chinese agriculture: Importance and problems. World Agric. 2014, 4, 32–36. [Google Scholar]
- Yan, C.; He, W.; Xue, Y.; Liu, E.; Liu, Q. Application of biodegradable plastic film to reduce plastic film residual pollution in Chinese agriculture. Chin. J. Biotechnol. 2016, 32, 748–760, (In Chinese with English abstract). [Google Scholar]
- Liu, E.; Zhang, L.; Dong, W.; Yan, C. Biodegradable plastic mulch films in agriculture: Feasibility and challenges. Environ. Res. Lett. 2021, 16, 11004. [Google Scholar] [CrossRef]
- Tertyshnaya, Y.; Zakharov, M.; Ivanitskikh, A.; Popov, A. Impact of environmental agents on non-woven polylactide/natural rubber agrofiber. E3S Web Conf. 2021, 285, 7034. [Google Scholar] [CrossRef]
- Serrano, D.P.; Aguado, J.; Escola, J.M.; Garagorri, E.; Rodrı, X.; Guez, J.M.; Morselli, L.; Palazzi, G.; Orsi, R. Feedstock recycling of agriculture plastic film wastes by catalytic cracking. Appl. Catal. B 2004, 49, 257–265. [Google Scholar] [CrossRef]
- Šerá, J.; Stloukal, P.; Jančová, P.; Verney, V.; Pekařová, S.; Koutný, M. Accelerated Biodegradation of Agriculture Film Based on Aromatic–Aliphatic Copolyester in Soil under Mesophilic Conditions. J. Agric. Food Chem. 2016, 64, 5653–5661. [Google Scholar] [CrossRef]
- Zhang, J.; Ma, J.; Guo, X. Fiber materials for the production of seed tapes. Beijing Tex. J. 2003, 16–18. [Google Scholar]
- Fambri, L.; Pegoretti, A.; Mazzurana, M.; Migliaresi, C. Biodegradable fibres. J. Mater. Sci. Mater. Med. 1994, 5, 679–683. [Google Scholar] [CrossRef]
- Hao, N.; Xiong, C.; Zhang, Y. The Utility Model Relates to a Water-Soluble Seed Tape for Seedling Raising. CN Patent Application No. 211090565U, 28 July 2020. [Google Scholar]
- Millington, S.M. Research for Alternative Material and Its Effect on Seed Germination in Seed Tapes Products. Master’s Thesis, The University of the West of England, Bristol, UK, 2018. [Google Scholar]
- Denia, F.S.; Heny, A. Effectivity of Seed Tape of Pandan leaves Sea (Pandanus tectorius) against the vigor of Pakcoy and Caisim. J. Agric. Sci. 2019, 17, 52–62. [Google Scholar]
- Katayama, T.; Tanaka, K.; Murakami, T.; Uno, K. Compression moulding of jute fabric reinforced thermoplastic composites based on PLA non-woven fabric. High Perform. Struct. Mater. III 2006, 85, 159–167. [Google Scholar]
- Garcia-Garcia, D.; Carbonell-Verdu, A.; Arrieta, M.P.; López-Martínez, J.; Samper, M.D. Improvement of PLA film ductility by plasticization with epoxidized karanja oil. Polym. Degrad. Stab. 2020, 179, 109259. [Google Scholar] [CrossRef]
- Gautreau, M.; Kervoelen, A.; Barteau, G.; Delattre, F.; Colinart, T.; Pierre, F.; Hauguel, M.; Le Moigne, N.; Guillon, F.; Bourmaud, A.; et al. Fibre Individualisation and Mechanical Properties of a Flax-PLA Non-Woven Composite Following Physical Pre-Treatments. Coatings 2021, 11, 846. [Google Scholar] [CrossRef]
- Benjamen, S. Seed Tape. U.S. Patent 20110271888A1, 10 November 2011. [Google Scholar]
- Masakazu, N. Seed Tape for Seeding. U.S. Patent 3623266, 30 November 1971. [Google Scholar]
- Ahm, P.H.; Carsten, A. Machine for Bedding out Seed or Plant Tapes. U.S. Patent 20070137871A1, 21 June 2007. [Google Scholar]
- Gray, E.E.; Gray, D.E. Machine for Forming Seed Tape. U.S. Patent 1160278, 16 November 1915. [Google Scholar]
- Carlton, D.; Tobin, J.R. Seed-Tape Manufacturing Machine. U.S. Patent 3772849, 20 November 1973. [Google Scholar]
- Henrik, A.P. A Germinating Unit as Well as a Seed Tape Including Several of Such Germinating Units Successively Arranged. WO Patent Application No. WO/2007/065436A1, 14 June 2007. [Google Scholar]
- Niklas, W.; Annaberg, B. Seed Tape, Seed Tape System and Greening or Planting System. U.S. Patent 2016/0249522A1, 1 September 2016. [Google Scholar]
- Ahm, P.H. Germinating Unit as Well as a Seed Tape Including Several of Such Germinating Units Successively Arranged. U.S. Patent 20090173001A1, 9 July 2009. [Google Scholar]
- Foster, R.G. Seed Tape Dispenser. U.S. Patent 3752303, 14 August 1973. [Google Scholar]
- Johnson, C.W. Method of and Appartus for Making Seed Tape. U.S. Patent 3846956, 12 November 1974. [Google Scholar]
- Xu, L.; Zhao, X.; Lu, X.; Li, Y.; Li, S.; He, S. A Production Method and Device for Maize Oriented Seed Tape. CN Patent Application No. 103609227A, 5 March 2014. [Google Scholar]
- Scholl. The Invention Relates to a Method and Device for Making Sowing Belt. DE Patent Application No. 19503971A1, 14 August 1996. [Google Scholar]
- Zhang, T.; Ren, W.; Ma, Y.; Wang, C. Parameter analysis on twisting rope machine of rice seed rope twisting machine. J. Agric. Mech. Res. 2006, 12, 78–79. [Google Scholar]
- Ren, W.T.; Li, X.; Zhang, Y. Development and experiment on a rice seed rope twisting machine. J. Agric. Mech. Res. 2005, 169–172. [Google Scholar]
- Zhou, J.; Ji, C. Development of machine for producing precision seeding rope with paper for rice direct sowing. Trans. Chin. Soc. Agric. Eng. 2009, 25, 79–83. [Google Scholar]
- Zhou, J.; Ji, C. Machine for Producing Rice Seed Rope and Field Experiment. J. China Agric. Univ. 2009, 14, 98–102. [Google Scholar]
- Hu, Y. Developing of Direct Sowing Straw Machine with Seeds. Master’s Thesis, Hunan Agricurtual University, Changsha, Hunan, China, 2009. [Google Scholar]
- Wang, J.; Shang, S. Development of plot precision planter based on seed tape planting method. Trans. CSAE 2012, 28, 65–71. [Google Scholar]
- Zhang, Y. Developing of the New Twisting Rope Mechanism of the Rice Seed Rope Twisting Machine. Agric. Sci. Technol. Equip. 2011, 52–53. [Google Scholar] [CrossRef]
- Cui, H.; Ren, W.T. In Proceedings of the 2nd International Conference on Applied Robotics for the Power Industry (CARPI), Zurich, Switzerland, 11–13 September 2012.
- Cui, H.; Ren, W. Performance test of rice seed tape twisting mechanism. Int. Agric. Eng. J. 2012, 21, 59–64. [Google Scholar]
- Cui, H.; Ren, W.; Zhang, B.; Yang, Y.; Dai, L.; Xiang, Q. Design and implementation of automatic control system for rice seed tape winding units. In Computer and Computing Technologies in Agriculture IV—4th IFIP TC 12 Conference, CCTA 2010, Nanchang, China, 22–25 October 2010; Springer: New York, NY, USA, 2010; pp. 428–436. [Google Scholar]
- Tian, J. Research on the Design of Rice of the Seed Rope Twisting Machine. Agric. Sci. Technol. Equip. 2015, 43–44. [Google Scholar] [CrossRef]
- Xu, H.; Wang, N. Seed Paper Tape Seeding Method. CN Patent Application No. 103548452A, 5 February 2014. [Google Scholar]
- Shi, Y. Electrical Controller of Seed-Rope Weaving Machine. CN Patent Application No. 203206158U, 18 September 2013. [Google Scholar]
- Li, X.; Wang, J.; Zhao, S.; Zhang, F.; Duan, Y.; Liu, Z. Design and Experimental Research on the Seed Tape Knitting Machine. J Agric. Mech. Res. 2018, 174–178. [Google Scholar]
- Luo, Z.; Liu, H.; Dong, J.; Xu, M.; Zhang, W. Design of leakage safety detector in laboratory and its application in seed tape knitting machine. J. Tianj. Agric. Univ. 2021, 28, 45–48. [Google Scholar]
- Huang, X.; Lan, C.; Ma, L.; Zhu, H.; Zhao, Z. Development of landscape seed tape mixed weaving machine for rape and wheat. Trans. CSAE 2021, 37, 9–18. [Google Scholar]
- Craig, B.M. Feeding, Propelling and Tensioning System for Tape in a Seed-Tape Manufacturing Machine. U.S. Patent 3555774, 19 July 1971. [Google Scholar]
- Deppermann, K.L.; Frey, T.; McNabnay, M.; Forinash, B.J.; Badino, C.L. Systems and Method for Selection of Seed and Placement on Seed Tape. U.S. Patent 20130192134A1, 1 August 2013. [Google Scholar]
- Xing, H.; Zang, Y.; Wang, M.Z.; Luo, W.X.; Zhang, H.M.; Ma, X.Y.; Fang, Y.L. Design and Experimental Analysis of a Stirring Device for a Pneumatic Precision Rice Seed Metering Device. Trans. ASABE 2020, 63, 799–808. [Google Scholar] [CrossRef]
- Han, D. Improvement Design and Experimental Study on Key Parts of Rice Rope Twisting Machine. Master’s Thesis, Shenyang Agricultural University, Shenyang, China, 2016. [Google Scholar]
- Bai, H.; Shuai, L.; Wang, D.; Wang, G.; Teng, L. Design of Seeding System for Rice Seed Rope Twisting Machine. In Proceedings of the ASABE 2017 Annual International Meeting, Spokane, WA, USA, 16–19 July 2017. [Google Scholar]
- Xing, H.; Wang, Z.; Luo, X.; He, S.; Zang, Y. Mechanism modeling and experimental analysis of seed throwing with rice pneumatic seed metering device with adjustable seeding rate. Comput. Electron. Agric. 2020, 178, 105697. [Google Scholar] [CrossRef]
- Peng, L.; Peng, J.; Meng, P. Design of Control System with Stepper Motor Driving Seed-metering Device Based on PLC. J. Agric. Mech. Res. 2020, 42, 183–188, (In Chinese with English abstract). [Google Scholar]
- Ahm, P.H. Machine for Producing Seed Tapes. WO Patent Application No. 01/84908, 15 November 2001. [Google Scholar]
- Zhang, Y. Study on Development Principle and Testing for Seed Rope Direct Sowing Machine of Rice. Master’s Thesis, Shenyang Agricultural University, Shenyang, Liaoning, China, 2006. (In Chinese with English abstract). [Google Scholar]
- Zhang, B.; Song, Y.; Wu, L.; Xin, M.; Ren, W. Design and dynamic response analysis of rope laying system of roped type rice direct seeding machine. Int. Agric. Eng. J. 2017, 26, 120–129. [Google Scholar]
- Lv, X. Design and Study on Rice Rope Direct Seeding Machine. Ph.D. Thesis, Shenyang Agricultural University, Shenyang, China, 2008. [Google Scholar]
- Lv, X.; Lv, X.; Wentao, R. Experimental Study on Working Performance of Rice Rope Direct Seeding Machine. Agric. Sci. China 2010, 9, 275–279. [Google Scholar]
- Lv, X.; Lv, X.; Ren, W. Finite Element Modeling and Modal Analysis on Suspension Equipment of Rice Rope Direct Seeding Machine. In Proceedings of the International Conference on Intelligent Computation Technology & Automation, Shenzhen, China, 15 April 2011; IEEE: Piscataway, NJ, USA; pp. 81–85. [Google Scholar]
- Liu, D.; Dong, H.; Zhang, B.; You, J.; Yu, X. Design of Seed Rope Guiding Opener Based on DEM. In Proceedings of the International Conference on Mechanical Automation and Computer Engineering, MACE 2020—Mechanical Automation, Computer Technology, Xi’an, Virtual, China, 28–30 October 2020; IOP science: Bristol, UK; pp. 117–122. [Google Scholar]
- Ren, W.; Song, Y.; Xin, M.; Wu, L.; Cui, H. Crop Seed Rope Direct Seeder. CN Patent Application No. 103858566A, 18 June 2014. [Google Scholar]
- Sanford, P.T. Seed Tape Planter. U.S. Patent 1292082, 21 January 1919. [Google Scholar]
- Motohashi, Y.; Yuri, S. Seed Tape Laying Machine. JP Patent Application No. 2012235727A, 6 December 2012. [Google Scholar]
- Zhang, B.; Xin, M.; Song, Y.; Wu, L.; Ren, W. Design of a manually operated rice seed rope planter. Int. Agric. Eng. J. 2017, 26, 104–111. [Google Scholar]
- Lv, P. Design and Study on Walking Rice Rope Direct Seeding Machine. Master’s Thesis, Shenyang Agricultural University, Shenyang, China, 2017. [Google Scholar]
- Deppermann, K.L.; Forinash, B.J.; Frey, T.; Mcnabnay, M. Seed Tape Planter. U.S. Patent 2013152836(A1), 19 June 2013. [Google Scholar]
- Curtis, G.J.; Griffin, C.C. Method and Apparatus for Seed Tape Plating. U.S. Patent 4092936, 6 June 1978. [Google Scholar]
- Lv, X.L.; Lv, X.R.; Ma, R.C. Design of a Rice Rope Laying Machine for Direct Sowing. Eng. Trans. 2017, 65, 447–460. [Google Scholar]
- Dou, L. Garlic Seed Tape Sower. CN Patent Application No. 104782283, 22 July 2015. [Google Scholar]
- Tadashi, O. Laying of Seed Tape and Device for Laying Seed Tape. JP Patent Application No. 2000041420A, 15 February 2000. [Google Scholar]
- Tadashi, O. Seed Tape-Laying Device for Paddy Rice. JP Patent Application No. 2002238313A, 27 August 2002. [Google Scholar]
- Lerink, P.; Wondergen, J. Device for Planting Seed(ling) Tape. WO Patent Application No. WO/2005/072508, 11 August 2005. [Google Scholar]
- Lv, X.; Cheng, X.P.; Lv, X. Design and study of soil cover depth testing system of rope direct seeding machine. Acta Agric. Univ. Jiangxiensis 2010, 32, 383–387, (In Chinese with English abstract). [Google Scholar]
- Ren, W.; Han, S.; Shi, P.; Liu, C.; Lv, C.; Hu, Y. Study on the Effects of Soil Covering Thickness on Working Parameter of Rice Rope Direct Seeding Machine. J. Agric. Mech. Res. 2013, 167–169. [Google Scholar]
- Song, Q. Experiment on seed tape sowing technology. Xinjiang Agric. Mech. 2003, 19. (In Chinese) [Google Scholar] [CrossRef]
- Ahm, P.H. A Seed Tape Including Successively Arranged Germinating Units as Well as a Method of Germinating Said tape. WO Patent Application No. 2004028237A1, 14 September 2011. [Google Scholar]












| Task | Seed Species | Treatment Method | Specific Results | Ref |
|---|---|---|---|---|
| Effect of perforated in seed tape on the emergence of seedlings | Lettuce | Heavy perforated in seed tape | Average germination: 87% | Chancellor (1969) [5] |
| Unperforated soluble paper | (1) field trial average germination: 78% (2) laboratory average germination: 90% | |||
| Polyox tape on the growth of tomato | Tomato | thiram-treated seed in polyox tape | reductions of 53.7 and 49.9% in mycelial growth of R. solani and P. aphanidermatum | Wetzel and Batson (1980) [20] |
| Germination study of seed tape planting | Komatsuna (Brassica Campestris L.) | Plant with paper mulch and seed tape | Germination rate: more than 90% | Nakajima (2003) [21] |
| radishes and carrot | Germination rate: more than 80% | |||
| Yield of rice by seed tape | Rice | Direct seeding with seed tape in paddy fields | The yield of rice: 58.1–59.2 kg/hm2 which is 14~16 kg more than ordinary direct seeding | Ogava (1970) [23] |
| Yield of rice by seed tape | Rice | Direct seeding with seed tape in dry fields | The yield of rice: 8241.8 kg/hm2 | Ren and Li et al. (2005, 2006) [17,18] |
| Direct seeding with seed tape in paddy fields | The yield of rice: 8322.0 kg/hm2 | |||
| Effects of glue used in seed band production on rice growth | Rice | Sticky rice glue | Germination rate: 98.7% | Han et al. (2015) [24] |
| PVA chemical glue | Germination rate: 95.4% | |||
| The influence of herbicide and fertilizer in seed tape to the crops | Rice | Fertilizer + seeds | Increase the seedling height by 19.8% | Cui et al. (2011) [25] |
| Herbicide + seeds | Inhibit if the herbicide was too close to the seeds | |||
| Effect of seed tape on corn growth | Corn | Corn sowing with seed tape in sandy field | No significant difference with common sowing | Sato et al. (2003) [26] |
| Effect of hill distance on rice growth | Rice | 25~35 mm | qualified rate: 84.4% | Cui (2012) [27] |
| leakage rate: 3.85% |
| Task | Material | Method | Results | Ref |
|---|---|---|---|---|
| To develop the environmentally friendly biodegradable composites | PLA non-woven fabric | Non-woven stacking method | The sample reached about 115 MPa in bending strength | Katayama et al. (2006) [43] |
| To improve the ductility of PLA film | PLA | Adding epoxidize Karanja oil (EKO) to PLA | Showed an optimal balance between the improvement of the fragility of the material and improving the elongation with 5 wt% | Garcia-Garcia et al. (2020) [44] |
| To apply free-of-chemicals pre-treatments to maximise the environmental benefit of flax technical fibres | Flax-PLA non-woven fibre | Ultrasound and gamma ray irradiation | The hygroscopic behaviour: decreased; Stress at break for the case of ultrasound pre-treatment: increased | Gautreau (2021) [45] |
| To investigate the influence of environmental factors such as water and UV irradiation on degradation of PLA/NR fibre. | The polymer solutions for electrospinning | Differential scanning calorimetry + UV irradiation | (1) The addition of NR to the PLA matrix leads to a slight increase in the melting temperature; (2) After 100 h of UV exposure melting and crystallization temperature decreased | Tertyshnaya (2021) [35] |
Publisher’s Note: MDPI stays neutral with regard to jurisdictional claims in published maps and institutional affiliations. |
© 2021 by the authors. Licensee MDPI, Basel, Switzerland. This article is an open access article distributed under the terms and conditions of the Creative Commons Attribution (CC BY) license (https://creativecommons.org/licenses/by/4.0/).
Share and Cite
Zhang, B.; Liu, D.; Xi, X.; Zhang, Y.; Chen, C.; Qu, J.; Dong, H.; Zhang, R. The Analysis of the Applications of Crop Seed Tape Sowing Technology and Equipment: A Review. Appl. Sci. 2021, 11, 11228. https://doi.org/10.3390/app112311228
Zhang B, Liu D, Xi X, Zhang Y, Chen C, Qu J, Dong H, Zhang R. The Analysis of the Applications of Crop Seed Tape Sowing Technology and Equipment: A Review. Applied Sciences. 2021; 11(23):11228. https://doi.org/10.3390/app112311228
Chicago/Turabian StyleZhang, Baofeng, Dan Liu, Xiaobo Xi, Yifu Zhang, Chao Chen, Jiwei Qu, Hao Dong, and Ruihong Zhang. 2021. "The Analysis of the Applications of Crop Seed Tape Sowing Technology and Equipment: A Review" Applied Sciences 11, no. 23: 11228. https://doi.org/10.3390/app112311228
APA StyleZhang, B., Liu, D., Xi, X., Zhang, Y., Chen, C., Qu, J., Dong, H., & Zhang, R. (2021). The Analysis of the Applications of Crop Seed Tape Sowing Technology and Equipment: A Review. Applied Sciences, 11(23), 11228. https://doi.org/10.3390/app112311228

