Digitalization in Open-Pit Mining: A New Approach in Monitoring and Control of Rock Fragmentation
Abstract
1. Introduction
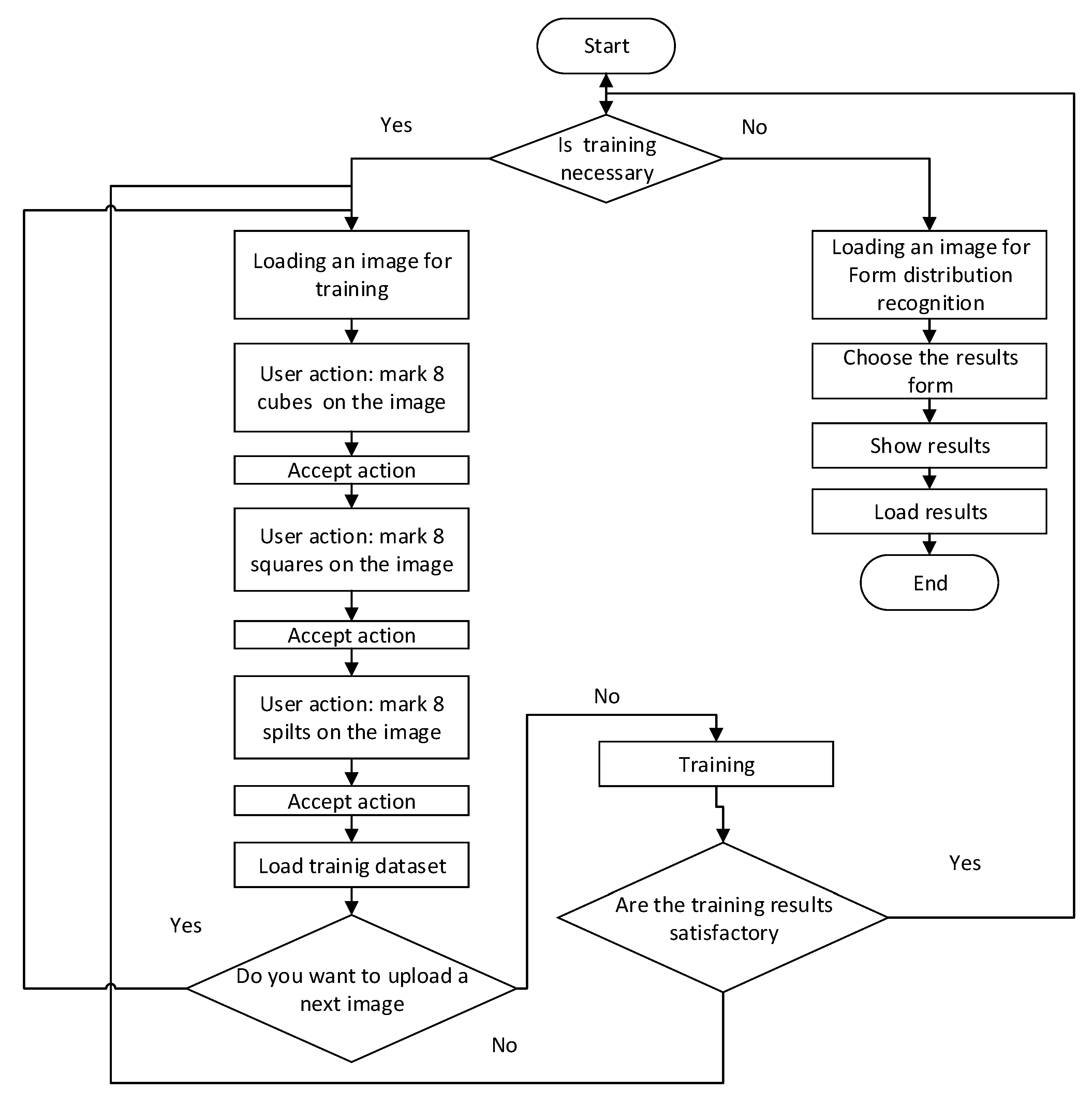
2. Materials and Methods
- (1).
- When evaluating the grading composition, the parameter of the lump form and its distribution should be taken into account in addition to the average lump size, etc. This will significantly increase the information component of the technological processes;
- (2).
- Analytical algorithms linking the parameters of rock fragmentation and technological processes and equipment should be developed for each technological operation separately, as well as to analyze and implement interrelationships with subsequent and previous stages.
3. Experiments
4. Results and Discussion
- -
- The use of information-analytical systems at mining enterprises is not new, they are widely used and certainly bring additional profits and increase economic efficiency. However, the relationships to be analyzed, as well as the mutual influence of changes in some parameters throughout the various stages of mining production are not fully defined. Regarding the process of rock fragmentation, mining enterprises usually equilibrate the parameter of the average lump size: determine it at one or more stages and conduct optimization measures to change this parameter [36,37]. The authors of this work made an assumption and tried to prove it. This assumption says that in addition to the parameter of the average lump size or the distribution of grading, it is necessary to take into account the parameter of the lump form. The results showed that even a rough assessment of the form (the division was carried out only on three varieties) can provide an opportunity to optimize technological processes. For example, changing the parameters of drilling and blasting, trying to obtain a certain size of the average piece, you can obtain a lot of spilt-shaped material. This form, firstly, is a substandard material of granite production; secondly, it fills the dump trucks transporting rock mass from the quarry to the factory in a special way, it passes through the crusher sieve (the smaller side) and the larger side will give the increased load on operation of mechanisms, etc. In other words, the form of lumps affects the parameter of bulk density, and the parameter of bulk density is very important for many processes of mining production [38,39].
- -
- The authors saw a certain ratio in the aggregate form of cube together with square and spilt. At the stage of the geological measurement of the material, their ratio was 50 to 50; at the same time, after blasting, the ratio became 20 to 80, and after the fourth stage, the ratio again approached 50 to 50. This might indicate that during blasting, the destruction is not along the boundaries of the mineral grains, but along the inner section of the grains, or the boundaries of the mineral grains are not completely destroyed (which is more likely). There is a pre-destruction effect, where the weakened bonds between mineral grains are destroyed in the subsequent stages of mining, which means that the resulting material has a special internal energy. This energy can be leveled out in different ways in subsequent stages. If we concentrate only on the average lump size, then, for example, the yield of fines at the blasting stage will be normal, and at the stage of crushing and screening, it will exceed the norm.
- -
- The experiment conducted in the present paper is labor-intensive and very costly; therefore, the form was evaluated and a simplified division of forms into three classes was made. In reality, these classes may be much more, and therefore, the data for obtaining relationships and interdependencies should also increase. In the authors’ opinion, the existing software complexes for determining the size of pieces in the analysis of grading formation should be finalized with a module for identifying the form. This will reduce the implementation and development resources. For this purpose, the authors developed an algorithm, which was implemented in the software and tested on experimental data. The authors want to emphasize the importance of using the learning method of the algorithm with reinforcement and using a human in the first stages to train the program. The algorithm developed by the authors was tested based on photographs of a mountain range, the pieces’ form was determined during the experiment (manual enumeration of the pieces). The convergence was 80%, which is a good result. This fact showed the workability and feasibility of the assumptions made. However, according to the authors, the development of such a module is an additional scientific work and requires more detailed elaboration and more experimental data.
5. Conclusions
Author Contributions
Funding
Institutional Review Board Statement
Informed Consent Statement
Conflicts of Interest
References
- Litvinenko, V.S. Digital Economy as a Factor in the Technological Development of the Mineral Sector. Nat. Resour. Res. 2020, 29, 1521–1541. [Google Scholar] [CrossRef]
- Wenjing, L.; Jin, L. Artificial Intelligence and Emerging Digital Technologies in the Energy Sector. Appl. Energy 2021, 303, 117615. [Google Scholar] [CrossRef]
- Svetlana, V.; Razmanova, O.; Andrukhova, V. Oilfield service companies as part of economy digitalization: Assessment of the prospects for innovative development. J. Min. Inst. 2020, 244, 482–492. [Google Scholar] [CrossRef]
- Corejova, T.; Chinoracky, R. Assessing the Potential for Digital Transformation. Sustainability 2021, 13, 11040. [Google Scholar] [CrossRef]
- Vasilyeva, N.V.; Boikov, A.V.; Erokhina, O.O.; Trifonov, A.Y. Automated digitization of radial charts. J. Min. Inst. 2021, 247, 82–87. [Google Scholar] [CrossRef]
- Nikolaeva, N.V.; Aleksandrova, T.N.; Chanturiya, E.L.; Afanasova, A. Mineral and Technological Features of Magnetite-Hematite Ores and Their Influence on the Choice of Processing Technology. ACS Omega 2021, 6, 9077–9085. [Google Scholar] [CrossRef] [PubMed]
- Li, H.; Li, D.; Zhang, W.; Li, H.; Wang, S.; Wang, H.; Xu, X.; Li, Z. Numerical Damping Calibration Study of Particle Element Method-Based Dynamic Relaxation Approach for Modeling Longwall Top-Coal Caving. Energies 2021, 14, 2348. [Google Scholar] [CrossRef]
- Matas, G.; Lantada, N.; Corominas, J.; Gili, J.; Ruiz-Carulla, R.; Prades, A. Simulation of Full-Scale Rockfall Tests with a Fragmentation Model. Geosciences 2020, 10, 168. [Google Scholar] [CrossRef]
- Lyana, K.N.; Hareyani, Z.; Shah, A.K.; Hazizan, M.M. Effect of Geological Condition on Degree of Fragmentation in a Simpang Pulai Marble Quarry. Procedia Chem. 2016, 19, 694–701. [Google Scholar] [CrossRef][Green Version]
- Xue, Y.; Zhou, J.; Liu, C.; Shadabfar, M.; Zhang, J. Rock fragmentation induced by a TBM disc-cutter considering the effects of joints: A numerical simulation by DEM. Comput. Geotech. 2021, 136, 104230. [Google Scholar] [CrossRef]
- Zhang, F.; Peng, J.; Qiu, Z.; Chen, Q.; Li, Y.; Liu, J. Rock-like brittle material fragmentation under coupled static stress and spherical charge explosion. Eng. Geol. 2017, 220, 266–273. [Google Scholar] [CrossRef]
- Hu, W.; Yin, Z.-Y.; Scaringi, G.; Dano, C.; Hicher, P.-Y. Relating fragmentation, plastic work and critical state in crushable rock clasts. Eng. Geol. 2018, 246, 326–336. [Google Scholar] [CrossRef]
- Meng, F.; Wong, L.N.Y.; Zhou, H. Rock Brittleness Indices and Their Applications to Different Fields of Rock Engineering: A Review. J. Rock Mech. Geotech. Eng. 2021, 13, 221–247. [Google Scholar] [CrossRef]
- Ouchterlony, F.; Sanchidrián, J.A. A review of development of better prediction equations for blast fragmentation. J. Rock Mech. Geotech. Eng. 2019, 11, 1094–1109. [Google Scholar] [CrossRef]
- Bamford, T.; Medinac, F.; Esmaeili, K. Continuous Monitoring and Improvement of the Blasting Process in Open Pit Mines Using Unmanned Aerial Vehicle Techniques. Remote Sens. 2020, 12, 2801. [Google Scholar] [CrossRef]
- Iakovleva, E.V.; Belova, M.V.; Popov, A.L. Mining and Environmental Monitoring at Open-Pit Mineral Deposits. J. Ecol. Eng. 2019, 20, 172–178. [Google Scholar] [CrossRef]
- Shabalov, M.Y.; Zhukovskiy, Y.L.; Buldysko, A.D.; Gil, B.; Starshaia, V.V. The influence of technological changes in energy efficiency on the infrastructure deterioration in the energy sector. Energy Rep. 2021, 7, 2664–2680. [Google Scholar] [CrossRef]
- Barykin, S.E.; Borisoglebskaya, L.N.; Provotorov, V.V.; Kapustina, I.V.; Sergeev, S.M.; De La Poza Plaza, E.; Saychenko, L. Sustainability of Management Decisions in a Digital Logistics Network. Sustainability 2021, 13, 9289. [Google Scholar] [CrossRef]
- Kondrasheva, N.K.; Kireeva, E.V.; Zyryanova, O.V. Development of new compositions for dust control in the mining and mineral transportation industry. J. Min. Inst. 2021, 248, 272–280. [Google Scholar] [CrossRef]
- Yastrebova, K.N.; Moldovan, D.; Chernobay, V. Moldovan Influence of the Nature of the Outflow of Explosion Products from Blast Holes and Boreholes on the Efficiency of Rock Destruction. E3S Web Conf. 2020, 174, 01017. [Google Scholar] [CrossRef]
- Singh, P.K.; Roy, M.P.; Paswan, R.K.; Sarim, M.D.; Kumar, S.; Jha, R.R. Rock fragmentation control in opencast blasting. J. Rock Mech. Geotech. Eng. 2016, 8, 225–237. [Google Scholar] [CrossRef]
- Singh, B.K.; Mondal, D.; Shahid, M.; Saxena, A.; Roy, P.N.S. Application of Digital Image Analysis for Monitoring the Behavior of Factors that Control the Rock Fragmentation in Opencast Bench Blasting: A Case Study Conducted Over Four Opencast Coal Mines of the Talcher Coalfields, India. J. Sustain. Min. 2019, 18, 247–256. [Google Scholar] [CrossRef]
- Ylitalo, R.M.; Zhang, Z.-X.; Bergström, P. Effect of detonator position on rock fragmentation: Full-scale field tests at Kevitsa open pit mine. Int. J. Rock Mech. Min. Sci. 2021, 147, 104918. [Google Scholar] [CrossRef]
- Zhang, Z.-X.; Qiao, Y.; Chi, L.Y.; De-Feng Hou, D.-F. Experimental study of rock fragmentation under different stemming conditions in model blasting. Int. J. Rock Mech. Min. Sci. 2021, 143, 104797. [Google Scholar] [CrossRef]
- Afanasev, P.I.; Makhmudov, K.F. Assessment of the Parameters of a Shock Wave on the Wall of an Explosion Cavity with the Refraction of a Detonation Wave of Emulsion Explosives. Appl. Sci. 2021, 11, 3976. [Google Scholar] [CrossRef]
- Alenichev, I.A.; Rakhmanov, R.A. Empirical regularities investigation of rock mass discharge by explosion on the free surface of a pit bench. J. Min. Inst. 2021, 249, 334–341. [Google Scholar] [CrossRef]
- Djordjevic, N. Image based modeling of rock fragmentation. Miner. Eng. 2013, 46–47, 68–75. [Google Scholar] [CrossRef]
- Chen, J.; Huang, H.; Cohn, A.C.; Zhang, D.; Zhou, M. Machine learning-based classification of rock discontinuity trace: SMOTE oversampling integrated with GBT ensemble learning. Int. J. Min. Sci. Technol. 2021. [Google Scholar] [CrossRef]
- Bamford, T.; Esmaeili, K.; Schoellig, A.P. A deep learning approach for rock fragmentation analysis. Int. J. Rock Mech. Min. Sci. 2021, 145, 104839. [Google Scholar] [CrossRef]
- Babaeian, M.; Ataei, M.; Sereshki, F.; Sotoudeh, F.; Mohammadi, S. A new framework for evaluation of rock fragmentation in open pit mines. J. Rock Mech. Geotech. Eng. 2019, 11, 325–336. [Google Scholar] [CrossRef]
- Tao, J.; Yang, X.-G.; Li, H.-T.; Zhou, J.-W.; Qi, S.-C.; Lu, G.-D. Numerical investigation of blast-induced rock fragmentation. Comput. Geotech. 2020, 128, 103846. [Google Scholar] [CrossRef]
- Zheng, X.; Nguyen, H.; Bui, X.-N. Exploring the relation between production factors, ore grades, and life of mine for forecasting mining capital cost through a novel cascade forward neural network-based salp swarm optimization model. Resour. Policy 2021, 74, 102300. [Google Scholar] [CrossRef]
- Abbaspour, H.; Drebenstedt, C.; Badroddin, M.; Maghaminik, A. Optimized design of drilling and blasting operations in open pit mines under technical and economic uncertainties by system dynamic modelling. Int. J. Min. Sci. Technol. 2018, 28, 839–848. [Google Scholar] [CrossRef]
- Wang, Y.; Tu, W.; Li, H. Fragmentation calculation method for blast muck piles in open-pit copper mines based on three-dimensional laser point cloud data. Int. J. Appl. Earth Obs. Geoinf. 2021, 100, 102338. [Google Scholar] [CrossRef]
- Kulatilake, P.H.S.W.; Qiong, W.; Hudaverdi, T.; Kuzu, C. Mean particle size prediction in rock blast fragmentation using neural networks. Eng. Geol. 2010, 114, 298–311. [Google Scholar] [CrossRef]
- Aleksandrova, T.; Nikolaeva, N.; Afanasova, A.; Romashev, A.; Kuznetsov, V. Selective Disintegration Justification Based on the Mineralogical and Technological Features of the Polymetallic Ores. Minerals 2021, 11, 851. [Google Scholar] [CrossRef]
- Gorelova, I.; Dmitrieva, D.; Dedova, M.; Savastano, M. Antecedents and consequences of digital entrepreneurial ecosystems in the interaction process with smart city development. Adm. Sci. 2021, 11, 94. [Google Scholar] [CrossRef]
- Zhukovskiy, Y.L.; Batueva, D.E.; Buldysko, A.D.; Gil, B.; Starshaia, V.V. Fossil Energy in the Framework of Sustainable Development: Analysis of Prospects and Development of Forecast Scenarios. Energies 2021, 14, 5268. [Google Scholar] [CrossRef]
- Filatova, I.; Nikolaichuk, L.; Zakaev, D.; Ilin, I. Public-Private Partnership as a Tool of Sustainable Development in the Oil-Refining Sector: Russian Case. Sustainability 2021, 13, 5153. [Google Scholar] [CrossRef]















Publisher’s Note: MDPI stays neutral with regard to jurisdictional claims in published maps and institutional affiliations. |
© 2021 by the authors. Licensee MDPI, Basel, Switzerland. This article is an open access article distributed under the terms and conditions of the Creative Commons Attribution (CC BY) license (https://creativecommons.org/licenses/by/4.0/).
Share and Cite
Koteleva, N.; Khokhlov, S.; Frenkel, I. Digitalization in Open-Pit Mining: A New Approach in Monitoring and Control of Rock Fragmentation. Appl. Sci. 2021, 11, 10848. https://doi.org/10.3390/app112210848
Koteleva N, Khokhlov S, Frenkel I. Digitalization in Open-Pit Mining: A New Approach in Monitoring and Control of Rock Fragmentation. Applied Sciences. 2021; 11(22):10848. https://doi.org/10.3390/app112210848
Chicago/Turabian StyleKoteleva, Natalia, Sergei Khokhlov, and Ilia Frenkel. 2021. "Digitalization in Open-Pit Mining: A New Approach in Monitoring and Control of Rock Fragmentation" Applied Sciences 11, no. 22: 10848. https://doi.org/10.3390/app112210848
APA StyleKoteleva, N., Khokhlov, S., & Frenkel, I. (2021). Digitalization in Open-Pit Mining: A New Approach in Monitoring and Control of Rock Fragmentation. Applied Sciences, 11(22), 10848. https://doi.org/10.3390/app112210848

