Study on Pricing Mechanism of Cooling, Heating, and Electricity Considering Demand Response in the Stage of Park Integrated Energy System Planning
Abstract
1. Introduction
1.1. State of the Art
1.2. Contents and Contribution of This Paper
2. Several Assumptions
- The daily energy demand is divided into two segments, namely, the peak segment and the valley segment, according to the energy demand characteristics of the PIES
- The amount of peak load transfer represents the energy demand transferred from the peak segment to the valley segment
- The PIES considers cooling storage to produce cooling with the lowest cost
- The cooling and heating required by the consumers originate only from the PIES.
3. P-M Model
3.1. C-P Sub-Model
3.1.1. Construction of C-P Sub-Model
3.1.2. Algorithm of C-P Sub-Model
3.2. S-P Sub-Model
3.2.1. Construction of S-P Sub-Model
3.2.2. Price Pattern and Demand Function
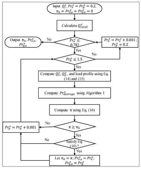
3.2.3. Algorithm of S-P Sub-Model
4. Numerical Study
4.1. Essential Information and Preliminary Calculation
4.2. Results and Discussion
5. Conclusions
Author Contributions
Funding
Conflicts of Interest
Nomenclature
| Abbreviation | |||
| PIES | park integrated energy system | DR | demand response |
| ESS | energy storage system | EV | electric vehicle |
| BESS | battery energy storage system | PV | photovoltaic power generation |
| T&D grid | transmission and distribution grid | CHP | combined heating and power |
| TR | transfer ratio | RDR | reactive demand response |
| COP | coefficient of performance | P-M | pricing mechanism |
| C-P | cost price | S-P | selling price |
| Subscripts | |||
| t | time interval | i | ith cooling equipment |
| j | jth heating equipment | k | kth power generation device |
| eq | equation | s | iteration step |
| τ | time in the whole year | v | the valley |
| p | the peak | pg | the large power grid |
| Superscripts | |||
| c | cooling | h | heating |
| e | electricity | e, s | electricity selling price |
| Variables | |||
| Pr | price | fval | total cost |
| Q | the output of equipment /load | IV | initial investment |
| a | uniform annual value coefficient | M | maintenance cost |
| A | coefficient matrix | b | linear matrix |
| c(Q) | nonlinear constraint | lb | lower bound matrix |
| ub | upper bound matrix | Q0 | initial matrix |
| p′ | annual profit rate | ||
| Greek symbols | |||
| η | energy efficiency | σ | control index |
| α, β, γ | preference parameters | π | maximum benefit of PIES |
References
- Roldán-Blay, C.; Escrivá-Escrivá, G.; Roldán-Porta, C. Improving the benefits of demand response participation in facilities with distributed energy resources. Energy 2019, 169, 710–718. [Google Scholar] [CrossRef]
- Reihani, E.; Motalleb, M.; Ghorbani, R.; Saad Saoud, L. Load peak shaving and power smoothing of a distribution grid with high renewable energy penetration. Renew. Energy 2016, 86, 1372–1379. [Google Scholar] [CrossRef]
- Shirazi, E.; Jadid, S. Cost reduction and peak shaving through domestic load shifting and DERs. Energy 2017, 124, 146–159. [Google Scholar] [CrossRef]
- Uddin, M.; Romlie, M.F.; Abdullah, M.F.; Abd Halim, S.; Abu Bakar, A.H.; Chia Kwang, T. A review on peak load shaving strategies. Renew. Sustain. Energy Rev. 2018, 82, 3323–3332. [Google Scholar] [CrossRef]
- Teo, K.T.K.; Hui Hwang, G.; Bih Lii, C.; Sook Kwan, T.; Min Keng, T. Modelling and optimisation of stand alone power generation at rural area. In Proceedings of the 2013 IEEE International Conference on Consumer Electronics-China, Shenzhen, China, 11–13 April 2013; pp. 51–56. [Google Scholar]
- Locatelli, G.; Palerma, E.; Mancini, M. Assessing the economics of large Energy Storage Plants with an optimisation methodology. Energy 2015, 83, 15–28. [Google Scholar] [CrossRef]
- Oudalov, A.; Cherkaoui, R.; Beguin, A. Sizing and Optimal Operation of Battery Energy Storage System for Peak Shaving Application. In Proceedings of the 2007 IEEE Lausanne Power Tech, Lausanne, Switzerland, 1–5 July 2007; pp. 621–625. [Google Scholar]
- Telaretti, E.; Dusonchet, L. Battery storage systems for peak load shaving applications: Part 2: Economic feasibility and sensitivity analysis. In Proceedings of the 2016 IEEE 16th International Conference on Environment and Electrical Engineering (EEEIC), Florence, Italy, 7–10 June 2016; pp. 1–6. [Google Scholar]
- Asgharian, H.; Baniasadi, E. Experimental and numerical analyses of a cooling energy storage system using spherical capsules. Appl. Therm. Eng. 2019, 149, 909–923. [Google Scholar] [CrossRef]
- Mortaz, E.; Valenzuela, J. Optimizing the size of a V2G parking deck in a microgrid. Int. J. Electr. Power Energy Syst. 2018, 97, 28–39. [Google Scholar] [CrossRef]
- Siano, P. Demand response and smart grids-A survey. Renew. Sustain. Energy Rev. 2014, 30, 461–478. [Google Scholar] [CrossRef]
- Li, B.; Roche, R.; Paire, D.; Miraoui, A. A price decision approach for multiple multi-energy-supply microgrids considering demand response. Energy 2019, 167, 117–135. [Google Scholar] [CrossRef]
- Tushar, W.; Chai, B.; Yuen, C.; Smith, D.B.; Wood, K.L.; Yang, Z.; Poor, H.V. Three-Party Energy Management With Distributed Energy Resources in Smart Grid. IEEE Trans. Ind. Electron. 2015, 62, 2487–2498. [Google Scholar] [CrossRef]
- Pavlidou, F.; Koltsidas, G. Game theory for routing modeling in communication networks-A survey. J. Commun. Netw. 2008, 10, 268–286. [Google Scholar] [CrossRef]
- Nguyen, D.T.; Nguyen, H.T.; Le, L.B. Dynamic Pricing Design for Demand Response Integration in Power Distribution Networks. IEEE Trans. Power Syst. 2016, 31, 3457–3472. [Google Scholar] [CrossRef]
- Golmohamadi, H.; Keypour, R.; Bak-Jensen, B.; Radhakrishna Pillai, J. Optimization of household energy consumption towards day-ahead retail electricity price in home energy management systems. Sustain. Cities Soc. 2019, 47, 101468. [Google Scholar] [CrossRef]
- Wang, D.; Hu, Q.E.; Jia, H.; Hou, K.; Du, W.; Chen, N.; Wang, X.; Fan, M. Integrated demand response in district electricity-heating network considering double auction retail energy market based on demand-side energy stations. Appl. Energy 2019, 248, 656–678. [Google Scholar] [CrossRef]
- Wang, J.; Yang, W.; Du, P.; Niu, T. Outlier-robust hybrid electricity price forecasting model for electricity market management. J. Clean. Prod. 2020, 249, 119318. [Google Scholar] [CrossRef]
- Zhang, J.; Tan, Z.; Wei, Y. An adaptive hybrid model for short term electricity price forecasting. Appl. Energy 2020, 258, 114087. [Google Scholar] [CrossRef]
- Bruno Bernal, J.C.M.; de Gracia, F.P. Impact of fossil fuel prices on electricity prices in Mexico. J. Econ. Stud. 2019, 46, 356–371. [Google Scholar]
- Peng, X.; Tao, X. Cooperative game of electricity retailers in China’s spot electricity market. Energy 2018, 145, 152–170. [Google Scholar] [CrossRef]
- Ma, T.; Wu, J.; Hao, L.; Lee, W.-J.; Yan, H.; Li, D. The optimal structure planning and energy management strategies of smart multi energy systems. Energy 2018, 160, 122–141. [Google Scholar] [CrossRef]
- Guo, L.; Liu, W.; Cai, J.; Hong, B.; Wang, C. A two-stage optimal planning and design method for combined cooling, heat and power microgrid system. Energy Convers. Manag. 2013, 74, 433–445. [Google Scholar] [CrossRef]
- Liu, Z.; Yu, H.; Liu, R. A novel energy supply and demand matching model in park integrated energy system. Energy 2019, 176, 1007–1019. [Google Scholar] [CrossRef]
- Lee, J.; Kim, D.R.; Lee, K.-S. Optimum hub height of a wind turbine for maximizing annual net profit. Energy Convers. Manag. 2015, 100, 90–96. [Google Scholar] [CrossRef]
- Kicsiny, R. New delay differential equation models for heating systems with pipes. Int. J. Heat Mass Transf. 2014, 79, 807–815. [Google Scholar] [CrossRef]
- McKenna, E.; Thomson, M. Photovoltaic metering configurations, feed-in tariffs and the variable effective electricity prices that result. IET Renew. Power Gener. 2013, 7, 235–245. [Google Scholar] [CrossRef]
- Srivastava, A.; Van Passel, S.; Laes, E. Assessing the success of electricity demand response programs: A meta-analysis. Energy Res. Soc. Sci. 2018, 40, 110–117. [Google Scholar] [CrossRef]
- Frondel, M. Empirical assessment of energy-price policies: The case for cross-price elasticities. Energy Policy 2004, 32, 989–1000. [Google Scholar] [CrossRef]
- Dijkstra, P.T. Price leadership and unequal market sharing: Collusion in experimental markets. Int. J. Ind. Organ. 2015, 43, 80–97. [Google Scholar] [CrossRef]
- Bartusch, C.; Wallin, F.; Odlare, M.; Vassileva, I.; Wester, L. Introducing a demand-based electricity distribution tariff in the residential sector: Demand response and customer perception. Energy Policy 2011, 39, 5008–5025. [Google Scholar] [CrossRef]
- Gyamfi, S.; Krumdieck, S.; Urmee, T. Residential peak electricity demand response-Highlights of some behavioural issues. Renew. Sustain. Energy Rev. 2013, 25, 71–77. [Google Scholar] [CrossRef]
- Yan, X.; Ozturk, Y.; Hu, Z.; Song, Y. A review on price-driven residential demand response. Renew. Sustain. Energy Rev. 2018, 96, 411–419. [Google Scholar] [CrossRef]
- Yousefi, S.; Moghaddam, M.P.; Majd, V.J. Optimal real time pricing in an agent-based retail market using a comprehensive demand response model. Energy 2011, 36, 5716–5727. [Google Scholar] [CrossRef]
- Tushar, W.; Saad, W.; Poor, H.V.; Smith, D.B. Economics of Electric Vehicle Charging: A Game Theoretic Approach. IEEE Trans. Smart Grid 2012, 3, 1767–1778. [Google Scholar] [CrossRef]














| Number | 1 | 2 | 3 | 4 | 5 | 6 |
|---|---|---|---|---|---|---|
| TR/% | −5 | 0 | 5 | 10 | 12.5 | 15 |
| Maximum load/kW | 35,673 | 33,974 | 32,275 | 30,577 | 29,727 | 28,878 |
| Number | 7 | 8 | 9 | 10 | 11 | 12 |
| TR/% | 17.5 | 20 | 21.5 | 25 | 27.5 | 30 |
| Maximum load/kW | 28,028 | 27,353 | 28,813 | 32,221 | 34,655 | 37,089 |
© 2020 by the authors. Licensee MDPI, Basel, Switzerland. This article is an open access article distributed under the terms and conditions of the Creative Commons Attribution (CC BY) license (http://creativecommons.org/licenses/by/4.0/).
Share and Cite
Yu, H.; Liu, Z.; Li, C.; Liu, R. Study on Pricing Mechanism of Cooling, Heating, and Electricity Considering Demand Response in the Stage of Park Integrated Energy System Planning. Appl. Sci. 2020, 10, 1565. https://doi.org/10.3390/app10051565
Yu H, Liu Z, Li C, Liu R. Study on Pricing Mechanism of Cooling, Heating, and Electricity Considering Demand Response in the Stage of Park Integrated Energy System Planning. Applied Sciences. 2020; 10(5):1565. https://doi.org/10.3390/app10051565
Chicago/Turabian StyleYu, Hang, Zhiyuan Liu, Chaoen Li, and Rui Liu. 2020. "Study on Pricing Mechanism of Cooling, Heating, and Electricity Considering Demand Response in the Stage of Park Integrated Energy System Planning" Applied Sciences 10, no. 5: 1565. https://doi.org/10.3390/app10051565
APA StyleYu, H., Liu, Z., Li, C., & Liu, R. (2020). Study on Pricing Mechanism of Cooling, Heating, and Electricity Considering Demand Response in the Stage of Park Integrated Energy System Planning. Applied Sciences, 10(5), 1565. https://doi.org/10.3390/app10051565

