Effect of Demand Side Management on the Operation of PV-Integrated Distribution Systems
Abstract
1. Introduction
2. Demand Side Management
2.1. General Overview of DSM Techniques
2.2. Implementation of CVR Algorithm
2.3. Implementation of DLC Algorithm
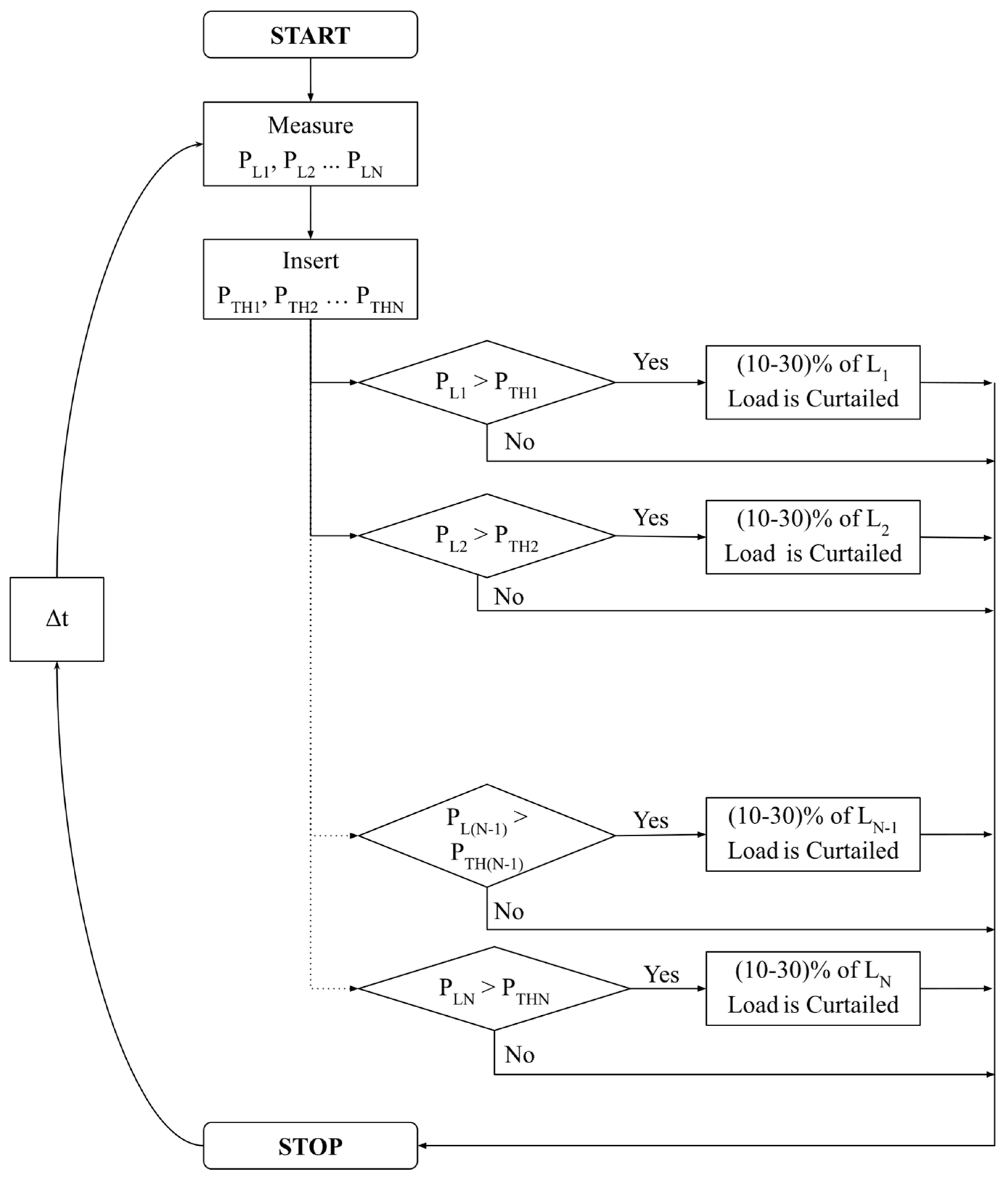
2.4. Implementation of the Proposed Algorithm
2.5. Requirements of Demand Side Management
3. Results and Discussion
- Case I: Base case (without DG, CVR and DLC)
- Case II: with DG, without CVR and DLC
- Case III: with CVR, without DG and DLC
- Case IV: with DLC, without DG and CVR
- Case V: with DG and CVR, without DLC
- Case VI: with DG and DLC, without CVR
- Case VII: with CVR and DLC, without DG
- Case VIII: with DG, CVR and DLC.
3.1. Case I: Base Case
3.2. Case II: With DG, without CVR and DLC
3.3. Case III: With CVR, without DG and DLC
3.4. Case IV: With DLC, without DG and CVR
3.5. Case V: With CVR and DG, without DLC
3.6. Case VI: With DLC and DG, without CVR
3.7. Case VII: With CVR and DLC, without DG
3.8. Case VIII: With DG, CVR and DLC
3.9. Comparison
4. Conclusions
Author Contributions
Funding
Acknowledgments
Conflicts of Interest
References
- Sa’ed, J.A.; Favuzza, S.; Massaro, F.; Musca, R.; Zizzo, G.; Cagnano, A.; De Tuglie, E. Effects of Demand Side Management on the Operation of an Isolated LV Microgrids. In Proceedings of the IEEE/EEEIC 2019, Genova, Italy, 11–14 June 2019; pp. 1–6. [Google Scholar]
- Sa’ed, J.A.; Amer, M.; Bodair, A.; Baransi, A.; Favuzza, S.; Zizzo, G. Effect of integrating photovoltaic systems on electrical network losses considering load variation. In Proceedings of the IEEE/EEEIC 2018, Palermo, Italy, 12–15 June 2018; pp. 1–6. [Google Scholar]
- Sa’ed, J.A.; Awad, A.; Favuzza, S.; Massaro, F.; Zizzo, G. A Framework to Determine Maximum Capacity of Interconnecting DGs in Distribution Networks. In Proceedings of the IEEE/CPE-POWERENG 2018, Doha, Qatar, 10–12 April 2018; pp. 1–6. [Google Scholar]
- Sa’ed, J.A.; Jubran, M.K.; Favuzza, S.; Ippolito, M.G.; Massaro, F. Reassessment of voltage stability for distribution networks in presence of DG. In Proceedings of the IEEE/EEEIC 2016, Florence, Italy, 7–10 June 2016; pp. 1–5. [Google Scholar]
- Motan, N.; Abu-Khaizaran, M.; Quraan, M. Photovoltaic Array Modelling and Boost-Converter Controller-Design for a 6kW Grid Connected Photovoltaic System—DC Stage. In Proceedings of the IEEE/EEEIC 2018, Palermo, Italy, 12–15 June 2018; pp. 1–6. [Google Scholar]
- Sa’ed, J.A.; Favuzza, S.; Ippolito, M.G.; Massaro, F. Integration Issues of Distributed Generators Considering Faults in Electrical Distribution Networks. In Proceedings of the IEEE/Energy Conference 2014, Cavtat, Croatia, 13–16 May 2014; pp. 1062–1068. [Google Scholar]
- Sa’ed, J.A.; Favuzza, S.; Ippolito, M.G.; Massaro, F. An Investigation of Protection Devices Coordination Effects on Distributed Generators Capacity in Radial Distribution Systems. In Proceedings of the IEEE/ICCEP 2013, Alghero, Italy, 11–13 June 2013; pp. 686–692. [Google Scholar]
- Madani, V.; Das, R.; Aminifar, F.; McDonald, J.; Venkata, S.S.; Novosel, D.; Bose, A.; Shahidehpour, M. Distribution Automation Strategies Challenges and Opportunities in a Changing Landscape. IEEE Trans. Smart Grid 2015, 6, 2157–2165. [Google Scholar] [CrossRef]
- Favuzza, S.; Galioto, G.; Ippolito, M.; Massaro, F.; Milazzo, F.; Pecoraro, G.; Sanseverino, E.R.; Telaretti, E. Real-time pricing for aggregates energy resources in the Italian energy market. Energy 2015, 87, 251–258. [Google Scholar] [CrossRef]
- Meyabadi, A.F.; Deihimi, M. A review of demand-side management: Reconsidering theoretical framework. Renew. Sustain. Energy Rev. 2017, 80, 367–379. [Google Scholar] [CrossRef]
- Sarker, E.; Halder, P.; Seyedmahmoudian, M.; Jamei, E.; Horan, B.; Mekhilef, S.; Stojcevski, A. Progress on the demand side management in smart grid and optimization approaches. Int. J. Energy Res. 2020, 1–29. [Google Scholar] [CrossRef]
- Lu, X.; Zhou, K.; Zhang, X.; Yang, S. A systematic review of supply and demand side optimal load scheduling in a smart grid environment. J. Clean. Prod. 2018, 203, 757–768. [Google Scholar] [CrossRef]
- Silva, B.N.; Khan, M.; Han, K. Futuristic Sustainable Energy Management in Smart Environments: A Review of Peak Load Shaving and Demand Response Strategies, Challenges, and Opportunities. Sustainability 2020, 12, 5561. [Google Scholar] [CrossRef]
- Jabir, H.J.; Teh, J.; Ishak, D.; Abunima, H. Impacts of Demand-Side Management on Electrical Power Systems: A Review. Energies 2018, 11, 1050. [Google Scholar] [CrossRef]
- Logenthiran, T.; Srinivasan, D.; Shun, T.Z. Demand Side Management in Smart Grid Using Heuristic Optimization. IEEE Trans. Smart Grid 2012, 3, 1244–1252. [Google Scholar] [CrossRef]
- Yang, P.; Chavali, P.; Gilboa, E.; Nehorai, A. Parallel Load Schedule Optimization with Renewable Distributed Generators in Smart Grids. IEEE Trans. Smart Grid 2013, 4, 1431–1441. [Google Scholar] [CrossRef]
- Wu, Z.; Tazvinga, H.; Xia, X. Demand side management of photovoltaic-battery hybrid system. Appl. Energy 2015, 148, 294–304. [Google Scholar] [CrossRef]
- Palma-Behnke, R.; Benavides, C.; Aranda, E.; Llanos, J.; Sáez, D. Energy management system for a renewable based microgrid with a demand side management mechanism. In Proceedings of the IEEE Symposium on Computational Intelligence Applications in Smart Grid 2011, Paris, France, 11–15 April 2011; pp. 1–8. [Google Scholar]
- Fan, W.; Liu, N.; Zhang, J. An Event-Triggered Online Energy Management Algorithm of Smart Home: Lyapunov Optimization Approach. Energies 2016, 9, 381. [Google Scholar] [CrossRef]
- Solanki, B.V.; Raghurajan, A.; Bhattacharya, K.; Canizares, C.A. Including smart loads for optimal demand response in integrated energy management systems for isolated microgrids. IEEE Trans. Smart Grid. 2017, 8, 1739–1748. [Google Scholar] [CrossRef]
- Nguyen, H.K.; Bin, S.J.; Han, Z. Distributed Demand Side Management with Energy Storage in Smart Grid. IEEE Trans. Parallel Distrib. Syst. 2015, 26, 3346–3357. [Google Scholar] [CrossRef]
- Amrollahi, M.H.; Bathaee, S.M.T. Techno-economic optimization of hybrid photovoltaic/wind generation together with energy storage system in a stand-alone micro-grid subjected to demand response. Appl. Energy 2017, 202, 66–77. [Google Scholar] [CrossRef]
- Mohsenian-Rad, A.-H.; Wong, V.W.S.; Jatskevich, J.; Schober, R.; Leon-Garcia, A. Autonomous Demand-Side Management Based on Game-Theoretic Energy Consumption Scheduling for the Future Smart Grid. IEEE Trans. Smart Grid 2010, 1, 320–331. [Google Scholar] [CrossRef]
- Bharathi, C.; Rekha, D.; Vijayakumar, V. Genetic Algorithm Based Demand Side Management for Smart Grid. Wirel. Pers. Commun. 2017, 93, 481–502. [Google Scholar] [CrossRef]
- Macedo, M.N.Q.; Galo, J.J.M.; de Almeida, L.A.L.; Lima, A.D.C. Demand side management using artificial neural networks in a smart grid environment. Renew. Sustain. Energy Rev. 2015, 41, 128–133. [Google Scholar] [CrossRef]
- Mahmood, A.; Ullah, M.N.; Razzaq, S.; Basit, A.; Mustafa, U.; Naeem, M.; Javaid, N. A New Scheme for Demand Side Management in Future Smart Grid Networks. Procedia Comput. Sci. 2014, 32, 477–484. [Google Scholar] [CrossRef]
- López, M.A.; de la Torre, S.; Martín, S.; Aguado, J.A. Demand-side management in smart grid operation considering electric vehicles load shifting and vehicle-to-grid support. Int. J. Electr. Power Energy Syst. 2015, 64, 689–698. [Google Scholar] [CrossRef]
- Samadi, P.; Mohsenian-Rad, H.; Schober, R.; Wong, V.W.S. Advanced Demand Side Management for the Future Smart Grid Using Mechanism Design. IEEE Trans. Smart Grid 2012, 3, 1170–1180. [Google Scholar] [CrossRef]
- Zhu, Z.; Tang, J.; Lambotharan, S.; Chin, W.H.; Fan, Z. An Integer Linear Programming Based Optimization for Home Demand-side Management in Smart Grid. In Proceedings of the IEEE PES conference on Innovative Smart Grid Technologies, Washington, DC, USA, 16–20 January 2012; pp. 1–5. [Google Scholar]
- Mohsenian-Rad, A.; Wong, V.W.S.; Jatskevich, J.; Schober, R. Optimal and autonomous incentive-based energy consumption scheduling algorithm for smart grid. In Proceedings of the IEEE PES conference on Innovative Smart Grid Technologies, Gothenburg, Sweden, 19–21 January 2010; pp. 1–6. [Google Scholar]
- Klaić, Z.; Fekete, K.; Šljivac, D. Demand side load management in the distribution system with photovoltaic generation. Tech. Gazette. 2015, 22, 989–995. [Google Scholar]
- Monyeia, C.G.; Adewumia, A.O. Demand Side Management potentials for mitigating energy poverty in South Africa. Energy Policy 2017, 111, 298–311. [Google Scholar] [CrossRef]
- Bhattarai, B.P.; Bak-Jensen, B.; Mahat, P.; Pillai, J.R.; Maier, M. Hierarchical control architecture for demand response in smart grids. In Proceedings of the 2013 IEEE PES APPEEC, Kowloon, China, 8–11 December 2013; pp. 1–6. [Google Scholar]
- Beal, J.; Berliner, J.; Hunter, K. Fast precise distributed control for energy demand management. In Proceedings of the sixth IEEE international conference on self-adaptive and self-organizing systems, Lyon, France, 10–14 September 2012; pp. 187–192. [Google Scholar]
- Schneider, K.P.; Fuller, J.C.; Tuffner, F.K.; Singh, R. Evaluation of Conservation Voltage Reduction (CVR) on a National Level; Tech. Report; Pacific Northwest National Laboratory PNNL-19596: Richland, MO, USA, 2010.
- Lefebvre, S.; Gaba, G.; Ba, A.O.; Asber, D.; Ricard, A.; Perreault, C.; Chartrand, D. Measuring the efficiency of voltage reduction at Hydro-Qubec distribution. In Proceedings of the 2008 IEEE Power and Energy Society General Meeting—Conversion and Delivery of Electrical Energy in the 21st Century, Pittsburgh, PA, USA, 20–24 July 2008; pp. 1–7. [Google Scholar]
- Sandraz, J.P.A.; Macwan, R.; Diaz-Aguilo, M.; McClelland, J.; De Leon, F.; Czarkowski, D.; Comack, C. Energy and Economic Impacts of the Application of CVR in Heavily Meshed Secondary Distribution Networks. IEEE Trans. Power Deliv. 2014, 29, 1692–1700. [Google Scholar] [CrossRef]
- Wilson, T.L. Measurement and verifications of distribution voltage optimization results for the IEEE Power & Energy Society. In Proceedings of the IEEE PES General Meeting, Providence, RI, USA, 25–29 July 2010; pp. 1–9. [Google Scholar]
- Chen, P.-C.; Salcedo, R.; Zhu, Q.; De Leon, F.; Czarkowski, D.; Jiang, Z.-P.; Spitsa, V.; Zabar, Z.; Uosef, R.E. Analysis of Voltage Profile Problems Due to the Penetration of Distributed Generation in Low-Voltage Secondary Distribution Networks. IEEE Trans. Power Deliv. 2012, 27, 2020–2028. [Google Scholar] [CrossRef]
- Bag, B.; Thakur, T. A Utility Initiative based Method for Demand Side Management and Loss Reduction in a Radial Distribution Network Containing Voltage Regulated Loads. In Proceedings of the 2016 ICEPES, Bhopal, India, 14–16 December 2016; pp. 52–57. [Google Scholar]
- Diaz-Aguilo, M.; Sandraz, J.; Macwan, R.; De Leon, F.; Czarkowski, D.; Comack, C.; Wang, D. Field-Validated Load Model for the Analysis of CVR in Distribution Secondary Networks: Energy Conservation. IEEE Trans. Power Deliv. 2013, 28, 2428–2436. [Google Scholar] [CrossRef]
- Gellings, C.W.; Parmenter, K.E. Demand-Side Management. In Energy Management and Conservation Handbook; Kreith, F., Goswami, D.Y., Eds.; CRC Press: Boca Raton, FL, USA, 2008; pp. 1–20. [Google Scholar]
- Gellings, C.W. The Smart Grid: Enabling Energy Efficiency and Demand Response; The Fairmont Press: Lilburn, Georgia, 2009; pp. 138–141. [Google Scholar]
- Hu, Z.; Han, X.; Wen, Q. Integrated Resource Strategic Planning and Power Demand-Side Management; Springer: Berlin, Germany, 2013; pp. 63–133. [Google Scholar]
- Medina, J.; Muller, N.; Roytelman, I. Demand Response and Distribution Grid Operations: Opportunities and Challenges. IEEE Trans. Smart Grid 2010, 1, 193–198. [Google Scholar] [CrossRef]
- Palensky, P.; Dietrich, D. Demand Side Management: Demand Response, Intelligent Energy Systems, and Smart Loads. IEEE Trans. Ind. Inform. 2011, 7, 381–388. [Google Scholar] [CrossRef]
- Alagoz, B.B.; Kaygusuz, A. A user-mode distributed energy management architecture for smart grid applications. Energy 2012, 44, 167–177. [Google Scholar] [CrossRef]
- Aghaei, J.; Alizadeh, M.-I. Demand response in smart electricity grids equipped with renewable energy sources: A review. Renew. Sustain. Energy Rev. 2013, 18, 64–72. [Google Scholar] [CrossRef]
- ANSI C84. Electric Power Systems and Equipment Voltage Ratings; NEMA: Arlington, VA, USA, 2011. [Google Scholar]
- EN 50160. Voltage Characteristics of Electricity Supplied by Public Electricity Networks; CENELEC: Brussels, Belgium, 2010. [Google Scholar]
- IEEE Std 1250-2018. IEEE Guide for Identifying and Improving Voltage Quality in Power Systems; IEEE: New York, NY, USA, 2018. [Google Scholar]
- Christie, R. Power Systems Test Case Archive. Available online: http://labs.ece.uw.edu/pstca/ (accessed on 10 August 2020).
- Bokhari, A.; Alkan, A.; Dogan, R.; Diaz-Aguilo, M.; De Leon, F.; Czarkowski, D.; Zabar, Z.; Birenbaum, L.; Noel, A.; Uosef, R.E. Experimental Determination of the ZIP Coefficients for Modern Residential, Commercial, and Industrial Loads. IEEE Trans. Power Deliv. 2014, 29, 1372–1381. [Google Scholar] [CrossRef]
- Sa’Ed, J.A.; Amer, M.; Bodair, A.; Baransi, A.; Favuzza, S.; Zizzo, G. A Simplified Analytical Approach for Optimal Planning of Distributed Generation in Electrical Distribution Networks. Appl. Sci. 2019, 9, 5446. [Google Scholar] [CrossRef]



















| Reference | Method/Technique | Outcome |
|---|---|---|
| [15] | Heuristic-based load shifting technique | Reduced of peak-to-average ratio and minimized the energy cost |
| [16] | Parallel autonomous optimization scheme with DR framework | Reduced of peak-to-average ratio and minimized the energy cost |
| [17] | DR program with model predictive control method | Minimized the electricity bill on the customer side |
| [18] | DSM mechanism along with artificial neural network | Minimized the operation cost |
| [19] | Load scheduling method based on online event-triggered energy management algorithm | Reduced the electricity bill as well as ensured the user comfort level |
| [20] | DR scheme | Achieved an optimal power generation and peak load dispatch |
| [21] | Load scheduling with game theory algorithm | Reduced peak load as well as energy payment for the consumers |
| [22] | DR method with mixed-integer linear programming | Reduced perational cost and peak load |
| [23] | Autonomous and distributed DSM scheme | Reduced of peak-to-average ratio and minimized the energy cost |
| [24] | Load shifting technique using genetic algorithm | Reduced of peak-to-average ratio |
| Bus/Load (#) | Active Power without CVR (kW) | Active Power with CVR (kW) | Active Power Reduction (kW) | Reduction Percentage (%) |
|---|---|---|---|---|
| 10 | 1606 | 1556.3 | 49.7 | 3.09 |
| B12 | 3105 | 3042.3 | 62.7 | 2.02 |
| B14 | 1713.3 | 1651.7 | 61.6 | 3.60 |
| B15 | 2264.1 | 2169.2 | 94.9 | 4.19 |
| B16 | 968.08 | 936.29 | 31.79 | 3.28 |
| B17 | 2488.3 | 2393.2 | 95.1 | 3.82 |
| B18 | 882.03 | 834.02 | 48.01 | 5.44 |
| B19 | 2617.7 | 2467.3 | 150.4 | 5.75 |
| B20 | 606.83 | 575.37 | 31.46 | 5.18 |
| B21 | 4831.5 | 4600.9 | 230.6 | 4.77 |
| B23 | 881.73 | 832.41 | 49.32 | 5.59 |
| B24 | 2395.1 | 2241.4 | 153.7 | 6.42 |
| B26 | 958.49 | 865.54 | 92.95 | 9.70 |
| B29 | 657.45 | 596.35 | 61.1 | 9.29 |
| B30 | 2897 | 2580.5 | 316.5 | 10.93 |
| Bus/Load (#) | Reactive Power without CVR (kvar) | Reactive Power with CVR (kvar) | Reactive Power Reduction (kvar) | Reduction Percentage (%) |
|---|---|---|---|---|
| B10 | 576.19 | 533.64 | 42.55 | 7.38 |
| B12 | 2179.3 | 2006 | 173.3 | 7.95 |
| B14 | 453.79 | 423.95 | 29.84 | 6.58 |
| B15 | 704.23 | 656.91 | 47.32 | 6.72 |
| B16 | 514.20 | 478.55 | 35.65 | 6.93 |
| B17 | 1651.4 | 1533.5 | 117.9 | 7.14 |
| B18 | 250.1 | 233.15 | 16.95 | 6.78 |
| B19 | 942.5 | 879.4 | 63.1 | 6.69 |
| B20 | 195.62 | 182.06 | 13.56 | 6.93 |
| B21 | 3152.6 | 2930.5 | 222.1 | 7.04 |
| B23 | 443.42 | 414.5 | 28.92 | 6.52 |
| B24 | 1844 | 1719 | 125 | 6.78 |
| B26 | 607.67 | 566.42 | 41.25 | 6.79 |
| B29 | 238.29 | 222.92 | 15.37 | 6.45 |
| B30 | 494.28 | 460.45 | 33.83 | 6.84 |
| Bus/Load (#) | Active Power without DLC (kW) | Active Power with DLC (kW) | Active Power Reduction (kW) | Reduction Percentage (%) |
|---|---|---|---|---|
| B10 | 1608.8 | 1399.8 | 209 | 12.99 |
| B12 | 3110 | 2567.3 | 542.7 | 17.45 |
| B14 | 1716.4 | 1392 | 324.4 | 18.90 |
| B15 | 2268.1 | 1778.1 | 490 | 21.60 |
| B16 | 969.8 | 793.1 | 176.7 | 18.22 |
| B17 | 2492.8 | 2081.2 | 411.6 | 16.51 |
| B18 | 883.5 | 715.2 | 168.3 | 19.05 |
| B19 | 2622.4 | 2129.4 | 493 | 18.80 |
| B20 | 607.9 | 349.7 | 258.2 | 42.47 |
| B21 | 4840.0 | 3921.5 | 918.5 | 18.98 |
| B23 | 883.2 | 722.8 | 160.4 | 18.16 |
| B24 | 2399.3 | 2068.6 | 330.7 | 13.78 |
| B26 | 960.1 | 778.7 | 181.4 | 18.89 |
| B29 | 658.6 | 596.4 | 62.2 | 9.44 |
| B30 | 2902 | 2526.3 | 375.7 | 12.95 |
| Bus/Load (#) | Active Power without CVR (kW) | Active Power with CVR (kW) | Active Power Reduction (kW) | Reduction Percentage (%) |
|---|---|---|---|---|
| B10 | 1575.26 | 1529.45 | 45.81 | 2.91 |
| B12 | 3045.20 | 2986.37 | 58.84 | 1.93 |
| B14 | 1680.33 | 1621.11 | 59.22 | 3.52 |
| B15 | 2220.57 | 2129.64 | 90.92 | 4.09 |
| B16 | 949.52 | 919.79 | 29.73 | 3.13 |
| B17 | 2440.70 | 2351.56 | 89.14 | 3.65 |
| B18 | 865.09 | 819.12 | 45.96 | 5.31 |
| B19 | 2567.25 | 2423.37 | 143.88 | 5.60 |
| B20 | 595.21 | 565.20 | 30.01 | 5.04 |
| B21 | 4740.29 | 4527.46 | 212.83 | 4.49 |
| B23 | 864.75 | 817.46 | 47.29 | 5.47 |
| B24 | 2348.58 | 2202.52 | 146.07 | 6.22 |
| B26 | 938.99 | 849.48 | 89.51 | 9.53 |
| B29 | 644.03 | 584.85 | 59.18 | 9.19 |
| B30 | 2836.90 | 2530.71 | 306.19 | 10.79 |
| Bus/Load (#) | Reactive Power without CVR (kvar) | Reactive Power with CVR (kvar) | Reactive Power Reduction (kvar) | Reduction Percentage (%) |
|---|---|---|---|---|
| B10 | 565.87 | 524.27 | 41.60 | 7.35 |
| B12 | 2140.27 | 1970.78 | 169.48 | 7.92 |
| B14 | 445.01 | 416.64 | 28.37 | 6.38 |
| B15 | 690.87 | 645.84 | 45.03 | 6.52 |
| B16 | 504.66 | 470.71 | 33.95 | 6.73 |
| B17 | 1621.38 | 1508.95 | 112.43 | 6.93 |
| B18 | 245.84 | 229.24 | 16.60 | 6.75 |
| B19 | 926.61 | 863.70 | 62.91 | 6.79 |
| B20 | 192.35 | 178.83 | 13.52 | 7.03 |
| B21 | 3105.30 | 2879.55 | 225.76 | 7.27 |
| B23 | 435.85 | 407.03 | 28.83 | 6.61 |
| B24 | 1813.27 | 1689.12 | 124.15 | 6.85 |
| B26 | 596.78 | 555.86 | 40.92 | 6.86 |
| B29 | 233.88 | 218.60 | 15.28 | 6.53 |
| B30 | 485.11 | 451.51 | 33.59 | 6.92 |
| Bus/Load (#) | Active Power without DLC (kW) | Active Power with DLC (kW) | Active Power Reduction (kW) | Reduction Percentage (%) |
|---|---|---|---|---|
| B10 | 1575.830 | 1371.041 | 204.789 | 12.996 |
| B12 | 3046.189 | 2512.851 | 533.339 | 17.508 |
| B14 | 1675.009 | 1362.938 | 312.071 | 18.631 |
| B15 | 2221.300 | 1740.686 | 480.614 | 21.637 |
| B16 | 949.839 | 776.606 | 173.232 | 18.238 |
| B17 | 2441.559 | 2037.465 | 404.094 | 16.551 |
| B18 | 865.408 | 700.286 | 165.122 | 19.080 |
| B19 | 2559.463 | 2084.608 | 474.855 | 18.553 |
| B20 | 593.335 | 341.764 | 251.571 | 42.400 |
| B21 | 4741.635 | 3837.373 | 904.262 | 19.071 |
| B23 | 865.102 | 707.661 | 157.441 | 18.199 |
| B24 | 2350.062 | 2025.118 | 324.945 | 13.827 |
| B26 | 940.306 | 761.270 | 179.035 | 19.040 |
| B29 | 644.918 | 584.113 | 60.805 | 9.428 |
| B30 | 2841.717 | 2473.491 | 368.225 | 12.958 |
| Bus/Load (#) | Active Power without DSM (kW) | Active Power with 24-h DSM (kW) | Active Power with Periods of DSM (kW) | Reduced Active Power with 24-h DSM (kW) | Reduced Active Power with Periods of DSM (kW) | Reduction with 24-h DSM (%) | Reduction with Periods of DSM (%) |
|---|---|---|---|---|---|---|---|
| B10 | 1608.8 | 1409.5 | 1430.5 | 199.3 | 178.3 | 12.39 | 11.08 |
| B12 | 3110.0 | 2612.2 | 2746.3 | 497.8 | 363.7 | 16.01 | 11.69 |
| B14 | 1716.4 | 1425.0 | 1577.5 | 291.4 | 138.9 | 16.98 | 8.09 |
| B15 | 2268.1 | 1777.9 | 2096.3 | 490.2 | 171.8 | 21.61 | 7.57 |
| B16 | 969.80 | 805.71 | 880.88 | 164.09 | 88.92 | 16.92 | 9.17 |
| B17 | 2492.8 | 2068.6 | 2194.3 | 424.2 | 298.5 | 17.02 | 11.97 |
| B18 | 883.50 | 709.00 | 794.40 | 174.5 | 89.1 | 19.75 | 10.08 |
| B19 | 2622.4 | 2157.7 | 2346.6 | 464.7 | 275.8 | 17.72 | 10.52 |
| B20 | 0607.9 | 405.50 | 555.60 | 202.4 | 52.3 | 33.29 | 8.60 |
| B21 | 4840.0 | 3891.1 | 4409.2 | 948.9 | 430.8 | 19.61 | 8.90 |
| B23 | 0883.2 | 721.80 | 774.40 | 161.4 | 108.8 | 18.27 | 12.32 |
| B24 | 2399.3 | 1995.9 | 2067.4 | 403.4 | 331.9 | 16.81 | 13.83 |
| B26 | 960.10 | 750.60 | 797.50 | 209.5 | 162.6 | 21.82 | 16.94 |
| B29 | 658.60 | 590.80 | 573.10 | 67.8 | 85.5 | 10.29 | 12.98 |
| B30 | 2902.0 | 2478.8 | 2435.5 | 423.2 | 466.5 | 14.58 | 16.08 |
| Bus/Load (#) | Reactive Power without DSM (kvar) | Reactive Power with 24-h DSM (kvar) | Reactive Power with Periods of DSM (kvar) | Reduced Reactive Power with 24-h DSM (kvar) | Reduced Reactive Power with Periods of DSM (kvar) | Reduction with 24-h DSM (%) | Reduction with Periods of DSM (%) |
|---|---|---|---|---|---|---|---|
| B10 | 577.90 | 479.30 | 480.30 | 98.6 | 97.6 | 17.06 | 16.89 |
| B12 | 2188.7 | 1718.6 | 1763.2 | 470.1 | 425.5 | 21.48 | 19.44 |
| B14 | 455.00 | 363.00 | 399.90 | 92 | 55.1 | 20.22 | 12.11 |
| B15 | 0706.1 | 538.80 | 632.00 | 167.3 | 74.1 | 23.69 | 10.49 |
| B16 | 0515.6 | 408.70 | 442.50 | 106.9 | 73.1 | 20.73 | 14.18 |
| B17 | 1656.3 | 1324.0 | 1395.0 | 332.3 | 261.3 | 20.06 | 15.78 |
| B18 | 250.80 | 198.30 | 222.30 | 52.5 | 28.5 | 20.93 | 11.36 |
| B19 | 945.20 | 769.0 | 836.10 | 176.2 | 109.1 | 18.64 | 11.54 |
| B20 | 196.10 | 128.30 | 175.90 | 67.8 | 20.2 | 34.57 | 10.30 |
| B21 | 3161.9 | 2480.2 | 2810.5 | 681.7 | 351.4 | 21.56 | 11.11 |
| B23 | 444.60 | 359.40 | 385.40 | 85.2 | 59.2 | 19.16 | 13.32 |
| B24 | 1849.4 | 1530.9 | 1584.9 | 318.5 | 264.5 | 17.22 | 14.30 |
| B26 | 609.50 | 490.40 | 522.10 | 119.1 | 87.4 | 19.54 | 14.34 |
| B29 | 239.00 | 220.60 | 214.30 | 18.4 | 24.7 | 7.70 | 10.33 |
| B30 | 495.80 | 441.80 | 434.90 | 54 | 60.9 | 10.89 | 12.28 |
| Bus/Load (#) | Active Power without DSM (MW) | Active Power with 24-h DSM (MW) | Active Power with Periods of DSM (MW) | Reduced Active Power with 24-h DSM (MW) | Reduced Active Power with Periods of DSM (MW) | Reduction with 24-h DSM (%) | Reduction with Periods of DSM (%) |
|---|---|---|---|---|---|---|---|
| B10 | 1.5758 | 1.3823 | 1.4005 | 0.194 | 0.175 | 12.279 | 11.125 |
| B12 | 3.0462 | 2.5599 | 2.6902 | 0.486 | 0.356 | 15.964 | 11.687 |
| B14 | 1.6809 | 1.3946 | 1.5472 | 0.286 | 0.134 | 17.033 | 7.954 |
| B15 | 2.2213 | 1.7413 | 2.0565 | 0.480 | 0.165 | 21.609 | 7.419 |
| B16 | 0.9498 | 0.7857 | 0.865 | 0.164 | 0.085 | 17.277 | 8.928 |
| B17 | 2.4415 | 2.025 | 2.1355 | 0.417 | 0.306 | 17.059 | 12.533 |
| B18 | 0.8653 | 0.6949 | 0.7799 | 0.170 | 0.085 | 19.693 | 9.869 |
| B19 | 2.5684 | 2.1137 | 2.3037 | 0.455 | 0.265 | 17.704 | 10.306 |
| B20 | 0.5954 | 0.3979 | 0.546 | 0.198 | 0.049 | 33.171 | 8.297 |
| B21 | 4.7416 | 3.8306 | 4.3406 | 0.911 | 0.401 | 19.213 | 8.457 |
| B23 | 0.865 | 0.7137 | 0.7594 | 0.151 | 0.106 | 17.491 | 12.208 |
| B24 | 2.35 | 1.9603 | 2.031 | 0.390 | 0.319 | 16.583 | 13.574 |
| B26 | 0.9403 | 0.7356 | 0.7819 | 0.205 | 0.158 | 21.770 | 16.846 |
| B29 | 0.6449 | 0.5787 | 0.5612 | 0.066 | 0.084 | 10.265 | 12.979 |
| B30 | 2.8417 | 2.4277 | 2.3847 | 0.414 | 0.457 | 14.569 | 16.082 |
| Bus/Load (#) | Reactive Power without DSM (Mvar) | Reactive Power with 24-h DSM (Mvar) | Reactive Power with Periods of DSM (Mvar) | Reduced Reactive Power with 24-h DSM (Mvar) | Reduced Reactive Power with Periods of DSM (Mvar) | Reduction with 24-h DSM (%) | Reduction with Periods of DSM (%) |
|---|---|---|---|---|---|---|---|
| B10 | 0.5673 | 0.4711 | 0.469 | 0.096 | 0.098 | 16.958 | 17.328 |
| B12 | 2.1454 | 1.6873 | 1.7283 | 0.458 | 0.417 | 21.353 | 19.442 |
| B14 | 0.446 | 0.3558 | 0.3895 | 0.090 | 0.057 | 20.224 | 12.668 |
| B15 | 0.6925 | 0.5276 | 0.6192 | 0.165 | 0.073 | 23.812 | 10.585 |
| B16 | 0.5059 | 0.4 | 0.4325 | 0.106 | 0.073 | 20.933 | 14.509 |
| B17 | 1.6256 | 1.2944 | 1.3466 | 0.331 | 0.279 | 20.374 | 17.163 |
| B18 | 0.246 | 0.1947 | 0.2182 | 0.051 | 0.028 | 20.854 | 11.301 |
| B19 | 0.9274 | 0.7544 | 0.8208 | 0.173 | 0.107 | 18.654 | 11.495 |
| B20 | 0.1925 | 0.126 | 0.1729 | 0.067 | 0.020 | 34.545 | 10.182 |
| B21 | 3.1084 | 2.4387 | 2.7589 | 0.670 | 0.350 | 21.545 | 11.244 |
| B23 | 0.4362 | 0.3559 | 0.378 | 0.080 | 0.058 | 18.409 | 13.343 |
| B24 | 1.8151 | 1.5059 | 1.5571 | 0.309 | 0.258 | 17.035 | 14.214 |
| B26 | 0.5974 | 0.4815 | 0.5119 | 0.116 | 0.086 | 19.401 | 14.312 |
| B29 | 0.2341 | 0.2164 | 0.2099 | 0.018 | 0.024 | 7.561 | 10.337 |
| B30 | 0.4856 | 0.4334 | 0.4258 | 0.052 | 0.060 | 10.750 | 12.315 |
| Case (#) | Total Load Energy (kWh) | Total Loss Energy (kWh) | Saved Load Energy (kWh) | Saved Loss Energy (kWh) | Percentage Energy Saved (%) | |||||
|---|---|---|---|---|---|---|---|---|---|---|
| I | 2,114,588 | 20,640 | -- | -- | -- | |||||
| II | 2,115,098 | 19,617 | +510 | −1023 | 0.02403 | |||||
| III | 2,021,824 | 21,143 | −92764 | +503 | 4.3209 | |||||
| IV | 2,008,866 | 19,207 | −105,722 | −1433 | 5.01843 | |||||
| V | 2,025,271 | 20,095 | −89,317 | −545 | 4.20854 | |||||
| VI | 2,045,045 | 18,210 | −69,543 | −2430 | 3.37074 | |||||
| Periods | 24-h | Periods | 24-h | Periods | 24-h | Periods | 24-h | Periods | 24-h | |
| VII | 1,983,706 | 1,918,415 | 20,698 | 19,190 | −130,882 | −196,173 | +58 | −1450 | 6.12693 | 9.25536 |
| VIII | 1,987,246 | 1,921,084 | 19,664 | 18,346 | −127,342 | −193,504 | −976 | −2294 | 6.00957 | 9.16989 |
Publisher’s Note: MDPI stays neutral with regard to jurisdictional claims in published maps and institutional affiliations. |
© 2020 by the authors. Licensee MDPI, Basel, Switzerland. This article is an open access article distributed under the terms and conditions of the Creative Commons Attribution (CC BY) license (http://creativecommons.org/licenses/by/4.0/).
Share and Cite
Sa’ed, J.A.; Wari, Z.; Abughazaleh, F.; Dawud, J.; Favuzza, S.; Zizzo, G. Effect of Demand Side Management on the Operation of PV-Integrated Distribution Systems. Appl. Sci. 2020, 10, 7551. https://doi.org/10.3390/app10217551
Sa’ed JA, Wari Z, Abughazaleh F, Dawud J, Favuzza S, Zizzo G. Effect of Demand Side Management on the Operation of PV-Integrated Distribution Systems. Applied Sciences. 2020; 10(21):7551. https://doi.org/10.3390/app10217551
Chicago/Turabian StyleSa’ed, Jaser A., Zakariya Wari, Fadi Abughazaleh, Jafar Dawud, Salvatore Favuzza, and Gaetano Zizzo. 2020. "Effect of Demand Side Management on the Operation of PV-Integrated Distribution Systems" Applied Sciences 10, no. 21: 7551. https://doi.org/10.3390/app10217551
APA StyleSa’ed, J. A., Wari, Z., Abughazaleh, F., Dawud, J., Favuzza, S., & Zizzo, G. (2020). Effect of Demand Side Management on the Operation of PV-Integrated Distribution Systems. Applied Sciences, 10(21), 7551. https://doi.org/10.3390/app10217551

