Assessment of the Vulnerability to Agricultural Nitrate in Two Highly Diversified Environmental Settings
Abstract
1. Introduction
2. Study Areas
2.1. Site A, the Lete River Catchment
2.2. Site B, Eastern Sector of Campania Plain
3. Materials and Methods
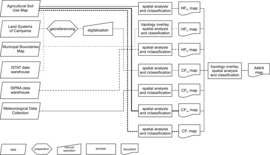
3.1. The ANHI Method
3.2. The GIS Elaboration
4. Results
4.1. ANHI Assessment in the Lete River
4.2. ANHI Assessment in the North-East Sector of the Campania Plain
5. Discussions
6. Conclusions
Supplementary Materials
Author Contributions
Funding
Conflicts of Interest
References
- Razandi, Y.; Pourghasemi, H.R.; Neisani, N.S.; Rahma, O. Application of analytical hierarchy process, frequency ratio, and certainty factor models for groundwater potential mapping using GIS. Earth Sci. Inform. 2015, 8, 867–883. [Google Scholar] [CrossRef]
- Chenini, I.; Zguibi, A.; Kouzana, L. Hydrogeological investigations and groundwater vulnerability assessment and mapping for groundwater resource protection and management: State of the art and a case study. Afr. Earth Sci. 2015, 109, 11–26. [Google Scholar] [CrossRef]
- Townsend, A.R.; Howarth, R.W.; Bazzaz, F.A.; Booth, M.S.; Cleveland, C.C.; Collinge, S.K.; Dobson, A.P.; Epstein, P.R.; Holland, E.A.; Keeney, D.R.; et al. Human health effects of a changing global nitrogen cycle. Front. Ecol. Environ. 2003, 1, 240–246. [Google Scholar] [CrossRef]
- Rufino, F.; Busico, G.; Cuoco, E.; Darrah, T.H.; Tedesco, D. Evaluating the suitability of urban groundwater resources for drinking water and irrigation purposes: An integrated approach in the Agro-Aversano area of southern Italy. Environ. Monit. Assess. 2019, 191, 768. [Google Scholar] [CrossRef]
- Li, Y.; Zhang, Z.; Fei, Y.; Chen, H.; Qian, Y.; Dun, Y. Investigation of quality and pollution characteristics of groundwater in the Hutuo river alluvial plain, North China plain. Environ. Earth Sci. 2016, 75, 581. [Google Scholar] [CrossRef]
- Busico, G.; Kazakis, N.; Cuoco, E.; Colombani, N.; Tedesco, D.; Voudouris, K.; Mastrocicco, M. A novel hybrid method of specific vulnerability to anthropogenic pollution using multivariate statistical and regression analyses. Water Res. 2020, 171, 115386. [Google Scholar] [CrossRef]
- Bui, D.T.; Khosravi, K.; Karimi, M.; Busico, G.; Khozani, Z.S.; Nguyen, H.; Mastrocicco, M.; Tedesco, D.; Cuoco, E.; Kazakis, N. Enhancing nitrate and strontium concentration prediction in groundwater by using new data mining algorithm. Sci. Total Environ. 2020, 715, 136836. [Google Scholar] [CrossRef]
- Mastrocicco, M.; Colombani, N.; Palpacelli, S.; Castaldelli, G. Large tank experiment on nitrate fate and transport: The role of permeability distribution. Environ. Earth Sci. 2011, 63, 903–914. [Google Scholar] [CrossRef]
- Menció, A.; Boy, M.; Mas-Pla, J. Analysis of vulnerability factors that control nitrate occurrence in natural springs (Osona Region, NE Spain). Sci. Total Environ. 2011, 409, 3049–3058. [Google Scholar] [CrossRef]
- Busico, G.; Cuoco, E.; Sirna, M.; Mastrocicco, M.; Tedesco, D. Aquifer vulnerability and potential risk assessment: Application to an intensely cultivated and densely populated area in Southern Italy. Arab. J. Geosci. 2017, 10, 222. [Google Scholar] [CrossRef]
- Busico, G.; Kazakis, N.; Colombani, N.; Mastrocicco, M.; Voudouris, K.; Tedesco, D. A modified SINTACS method for groundwater vulnerability and pollution risk assessment in highly anthropized regions based on NO3− and SO42− concentrations. Sci. Total Environ. 2017, 609, 1512–1523. [Google Scholar] [CrossRef]
- Puig, R.; Soler, A.; Widory, D.; Mas-Pla, J.; Domènech, C.; Otero, N. Characterizing sources and natural attenuation of nitrate contamination in the Baix Ter aquifer system (NE Spain) using a multi-isotope approach. Sci. Total Environ. 2017, 580, 518–532. [Google Scholar] [CrossRef]
- Kazakis, N.; Matiatos, I.; Ntona, M.M.; Bannenberg, M.; Kalaitzidou, K.; Kaprara, E.; Mitrakas, M.; Ioannidou, A.; Vergemezis, G.; Voudouris, K. Origin, implications and management strategies for nitrate pollution in surface and ground waters of Anthemountas basin based on a δ15N-NO3− and δ18O-NO3− isotope approach. Sci. Total Environ. 2020, 724, 138211. [Google Scholar] [CrossRef]
- Sutton, M.A.; Howard, C.M.; Erisman, J.W.; Billen, G.; Bleeker, A.; Grennfelt, P.; van Grisven, H.; Grizzetti, B. The European Nitrogen Assessment: Sources, Effects and Policy Perspectives; Cambridge University Press: Cambridge, UK, 2011. [Google Scholar]
- European Commission. Report from the Commission to the Council and the European Parliament on Implementation of Council Directive 91/676/EEC Concerning the Protection of Waters against Pollution Caused by Nitrates from Agricultural Sources Based on Member State Reports for the Period 2004–2007; European Commission: Brussels, Belgium, 2011. [Google Scholar]
- Leonard, R.A.; Knisel, W.G.; Still, D.A. Gleams: Groundwater loading effects of agricultural management systems. Trans. Am. Soc. Agric. Eng. 1987, 30, 1403–1418. [Google Scholar] [CrossRef]
- Harbaugh, A.W.; Banta, E.R.; Hill, M.C.; McDonald, M.G. The US Geological Survey Modular Ground-Water Model-User Guide to Modularization Concepts and the Ground-Water Flow Process; Open-file Report 00-92; Geological Survey (U.S.): Reston, VA, USA, 2000.
- Podlasek, A.; Bujakowski, F.; Koda, E. The spread of nitrogen compounds in an active groundwater exchange zone within a valuable natural ecosystem. Ecol. Eng. 2020, 146, 105746. [Google Scholar] [CrossRef]
- Busico, G.; Cuoco, E.; Kazakis, N.; Colombani, N.; Mastrocicco, M.; Tedesco, D.; Voudouris, K. Multivariate statistical analysis to characterize/discriminate between anthropogenic and geogenic trace elements occurrence in the Campania Plain, Southern Italy. Environ. Pollut. 2018, 234, 260–269. [Google Scholar] [CrossRef] [PubMed]
- Zhang, Y.; Xu, M.; Li, X.; Qi, J.; Zhang, Q.; Guo, J.; Yu, L.; Zhao, R. Hydrochemical characteristics and multivariate statistical analysis of natural water system: A case study in Kangding County, Southwestern China. Water 2018, 10, 80. [Google Scholar] [CrossRef]
- Ahmad, T.; Gupta, G.; Sharma, A.; Kaur, B.; Alsahli, A.A.; Ahmad, P. Multivariate Statistical Approach to Study Spatiotemporal Variations in Water Quality of a Himalayan Urban Fresh Water Lake. Water 2020, 12, 2365. [Google Scholar] [CrossRef]
- Machiwal, D.; Cloutier, V.; Güler, C.; Kazakis, N. A review of GIS-integrated statistical techniques for groundwater quality evaluation and protection. Environ. Earth Sci. 2018, 77, 681. [Google Scholar] [CrossRef]
- Kazakis, N.; Voudouris, K. Groundwater vulnerability and pollution risk assessment of porous aquifers to nitrate: Modifying the drastic method using quantitative parameters. J. Hydrol. 2015, 525, 13–25. [Google Scholar] [CrossRef]
- Huan, H.; Jinsheng, W.; Yanguo, T. Assessment and validation of groundwater vulnerability to nitrate based on a modified DRASTIC model: A case study in Jilin City of northeast China. Sci. Total Environ. 2012, 440, 14–23. [Google Scholar] [CrossRef] [PubMed]
- D.Lgs 18 agosto 2000, No. 258. Disposizioni correttive ed integrative del decreto legislativo 11 maggio 1999, No. 152, in materia di tutela delle acque dall’inquinamento, a norma dell’articolo 1, comma 4, della legge 24 aprile 1998, No. 128. Available online: https://www.camera.it/parlam/leggi/deleghe/testi/00258dl.htm (accessed on 21 August 2020).
- Padovani, L.; Trevisan, M. I Nitrati di Origine Agricola Nelle Acque Sotterranee. Quaderni di Tecniche di Protezione Ambientale 75. Pitagora Editrice 2002, 15, 103. [Google Scholar]
- Capri, E.; Padovani, L.; Trevisan, M. La Previsione della Contaminazione Delle Acque Sotterranee da Prodotti Fitosanitari; Pitagora: Bologna, Italy, 1999. [Google Scholar]
- Busico, G.; Mastrocicco, M.; Cuoco, E.; Sirna, M.; Tedesco, D. Protection from natural and anthropogenic sources: A new rating methodology to delineate “Nitrate Vulnerable Zones”. Environ. Earth Sci. 2019, 78, 104. [Google Scholar] [CrossRef]
- Ducci, D. An Easy-to-Use Method for Assessing Nitrate Contamination Susceptibility in Groundwater. Geofluids 2018, 2018, 1371825. [Google Scholar] [CrossRef]
- Arauzo, M. Vulnerability of groundwater resources to nitrate pollution: A simple and effective procedure for delimiting Nitrate Vulnerable Zones. Sci. Total Environ. 2017, 575, 799–812. [Google Scholar] [CrossRef]
- Matzeu, A.; Secci, R.; Uras, G. Methodological approach to assessment of groundwater contamination risk in an agricultural area. Agric. Water Manag. 2017, 84, 46–58. [Google Scholar] [CrossRef]
- Pisciotta, A.; Cusimano, G.; Favara, R. Groundwater nitrate risk assessment using intrinsic vulnerability methods: A comparative study of environmental impact by intensive farming in the Mediterranean region of Sicily, Italy. J. Geochem. Explor. 2015, 156, 89–100. [Google Scholar] [CrossRef]
- Corniello, A.; Ducci, D. Groundwater chemistry and contamination in the Volturno River Plain (Southern Italy). In Groundwater and Ecosystems: Lisbon 2007: Abstract Book: XXXV IAH Congress, International Association of Hydrogeologists, Proceedings of the XXXV IAH Congress “Groundwater and Ecosystems”, Lisbon, Portugal, 17–21 September 2007; Ribeiro, L., Chambel, A., Condesso de Melo, M.T., Eds.; International Association of Hydrogeologists: Lisbon, Portugal, 2007. [Google Scholar]
- Del Prete, S.; De Riso, R.; Santo, A. Primo contributo sui sinkholes di origine naturale in Campania. In Atti del Convegno Stato dell’arte Sullo Studio dei Fenomeni di Sinkhole e Ruolo Delle Amministrazioni Statali e Locali nel Governo del Territorio; APAT: Roma, Italy, 2004; pp. 361–376. [Google Scholar]
- Corniello, A.; Ducci, D.; Guarino, P.M. I rilievi carbonatici del Matese Occidentale e la Piana di Venafro: Idrogeologia e idrogeochimica. Boll. Soc. Geol. Ital. 1999, 118, 523–535. [Google Scholar]
- Corniello, A. Considerazioni idrogeologiche su talune acque minerali e termominerali della provincia di Caserta. Mem. Soc. Geol. Ital. 1988, 41, 1053–1063. [Google Scholar]
- Ietto, A. Assetto strutturale e ricostruzione paleogeografica del Matese occidentale (Appennino meridionale). Soc. Nat. Napoli 1970, 78, 441–471. [Google Scholar]
- Carta Dell’utilizzazione Agricola Dei Suoli Della Campania in Scala 1:50.000; Napoli, SESIRCA—Settore Sperimentazione Informazione ricerca e Consulenza in Agricoltura della Regione Campania. 2004. Available online: https://sit2.regione.campania.it/content/carta-utilizzazione-agricola-dei-suoli (accessed on 21 August 2020).
- Di Gennaro, A. I Sistemi di Terre Della Campania; S.EL.CA: Firenze, Italy, 2008. [Google Scholar]
- FAO. World Reference Base for Soil Resources; World Soil Resources Report 84; Food and Agriculture Organization of the United Nations: Rome, Italy, 1998. [Google Scholar]
- Di Girolamo, P. Piroclastiti stratificate riferibili al II periodo flegreo nella pianura campana tra il Volturno e Napoli. Per. Mineral. 1968, 37, 341–371. [Google Scholar]
- Putignano, M.L.; Ruberti, D.; Tescione, M.; Vigliotti, M. Evoluzione recente di un territorio di pianura a forte sviluppo urbano: La Piana Campana nell’area di Caserta. Boll. Soc. Geol. Ital. 2007, 126, 11–24. [Google Scholar]
- Ruberti, D.; Vigliotti, M.; Marzaioli, R.; Pacifico, A.; Ermice, A. Stratigraphic architecture and anthropic impacts on subsoil to assess the intrinsic potential vulnerability of groundwater: The northeastern Campania Plain case study, southern Italy. Environ. Earth Sci. 2014, 71, 319–339. [Google Scholar] [CrossRef]
- Ruberti, D.; Vigliotti, M.; Rolandi, R.; Di Lascio, M. Effect of palaeomorphology on facies distribution of the Campania Ignimbrite in the northern Campania Plain, southern Italy. In Vesuvious, Campi Flegrei and Campanian Volcanism; De Vivo, B., Belkin, H.E., Rolandi, G., Eds.; Elsevier: Amsterdam, The Netherlands, 2019; Chapter 9; pp. 207–229. ISBN 9780128164549. [Google Scholar] [CrossRef]
- Aprile, F.; Sbrana, A.; Toccaceli, R.M. Il ruolo dei depositi piroclastici nell’analisi cronostratigrafica dei terreni quaternari del sottosuolo della Piana Campana (Italia meridionale). Il Quaternario 2004, 17, 547–554. [Google Scholar]
- Corniello, A.; Ducci, D.; Musmarra, D. Lo Stato delle Conoscenze Acquisite sulle Acque Sotterranee del Bacino Nord—Occidentale Propedeutico alla Redazione del Piano di Tutela Delle Acque; S.EL.CA: Firenze, Italy, 2004. [Google Scholar]
- Celico, P.; Civita, M.; Cornelio, A. Idrogeologia del margine nord-orientale della Conca Campana (Massicci dei Tifatini e del M. Maggiore). Mem. Note Ist. Geol. Appl. UNIV. Napoli. 1977, 13, 1–29. [Google Scholar]
- Mastrocicco, M.; Busico, G.; Colombani, N. Deciphering Interannual Temperature Variations in Springs of the Campania Region (Italy). Water 2019, 11, 288. [Google Scholar] [CrossRef]
- Capri, E.; Civita, M.; Corniello, A.; Cusimano, G.M.; De Maio, M.; Ducci, D.; Fait, G.; Fiorucci, A.; Hauser, S.; Pisciotta, A.; et al. Assessment of nitrate contamination risk: The Italian experience. J. Geochem. Explor. 2009, 102, 71–86. [Google Scholar] [CrossRef]
- Wongsanit, J.; Teartisup, P.; Kerdsueb, P.; Tharnpoophasiam, P.; Worakhunpiset, S. Contamination of nitrate in groundwater and its potential human health: A case study of lower Mae Klong river basin, Thailand. Environ. Sci. Pollut. Res. 2015, 22, 11504–11512. [Google Scholar] [CrossRef]
- Ascott, M.J.; Gooddy, D.C.; Wang, L.; Stuart, M.E.; Lewis, M.A.; Ward, R.S.; Binley, A.M. Global patterns of nitrate storage in the vadose zone. Nat. Commun. 2017, 8, 1416. [Google Scholar] [CrossRef]
- Klaas, K.S.Y.; Imteaz, M.A.; Arulrajah, A. Development of groundwater vulnerability zones in a data-scarce eogenetic karst area using Head-Guided Zonation and particle tracking simulation methods. Water Res. 2017, 122, 17–26. [Google Scholar] [CrossRef]
- Pinardi, M.; Soana, E.; Laini, A.; Bresciani, M.; Bartoli, M. Soil system budgets of N, Si and P in an agricultural irrigated watershed: Surplus, differential export and underlying mechanisms. Biogeochemistry 2018, 140, 175–197. [Google Scholar] [CrossRef]
- Castaldelli, G.; Soana, E.; Racchetti, E.; Pierobon, E.; Mastrocicco, M.; Tesini, E.; Fano, E.A.; Bartoli, M. Nitrogen budget in a lowland coastal area within the po river basin (Northern Italy): Multiple evidences of equilibrium between sources and internal sinks. Environ. Manag. 2013, 52, 567–580. [Google Scholar] [CrossRef] [PubMed]
- Schroeder, D. Structure and weathering of potassium containing minerals. Proc. Cong. Int. Potash Inst. 1979, 11, 43–63. [Google Scholar]
- Bertsch, P.M.; Thomas, G.W. Potassium status of temperate region soils. In Potassium in Agriculture; Munson, R.D., Ed.; American Society of Agronomy: Madison, WI, USA, 1985; pp. 131–162. [Google Scholar]
- Rizeei, H.M.; Azeez, O.S.; Pradhan, B.; Khamees, H.H. Assessment of groundwater nitrate contamination hazard in a semi-arid region by using integrated parametric IPNOA and data-driven logistic regression models. Environ. Monit. Assess. 2018, 190, 633. [Google Scholar] [CrossRef] [PubMed]
- Kazemi, E.; Karyab, H.; Emamjome, M. Optimization of interpolation method for nitrate pollution in groundwater and assessing vulnerability with IPNOA and IPNOC method in Qazvin plain. J. Environ. Health Sci. Eng. 2017, 15, 23. [Google Scholar] [CrossRef] [PubMed]






| Nitrogen Supply from Inorganic Fertilization (kg/ha) | Nitrogen Supply from Organic Fertilization (kg/ha) | Nitrogen Supply from Sludge (kg/ha) | Hazard Classes (HF) |
|---|---|---|---|
| 0 | 0 | 0 | 1 |
| 1–25 | 1–150 | 1–150 | 2 |
| 26–100 | 151–300 | 151–500 | 3 |
| 100–180 | 300–500 | 501–1500 | 4 |
| >180 | >500 | >1500 | 5 |
| Nitrogen Content (%) | Soil Classification | FCa |
|---|---|---|
| >0.5 | Overly endowed | 1.04 |
| 0.22–0.5 | Rich | 1.02 |
| 0.15–0.22 | Well endowed | 1.00 |
| 0.1–0.15 | Moderately endowed | 0.98 |
| <0.1 | Poor | 0.96 |
| Rainfall (mm/year) | Temperature (T °C) | CFc |
|---|---|---|
| >1200 | 6–15 | 1.1 |
| 1050–1150 | 13 | 1.08 |
| 950–1100 | 14–16 | 1.06 |
| 800–1000 | 12 | 1.04 |
| 600–1000 | 15–16 | 1.02 |
| 600–800 | 12–13 | 1 |
| 500–900 | > 16 | 0.98 |
| 600–700 | 13–14 | 0.96 |
| <600 | 15–17 | 0.94 |
| Tillage | Type of Fertilization | CFpa |
|---|---|---|
| Fertirrigation | 1.04 | |
| Traditional | Total surface | 1.00 |
| Through leaves | 0.98 | |
| Minimum | Localized | 0.96 |
| No tillage | 0.94 |
| Irrigation System | CFi |
|---|---|
| Submersion/basin | 1.06 |
| Lateral flow irrigation/border | 1.04 |
| Drip irrigation/sprinkler | 1.02 |
| No irrigation | 1.00 |
| Potential Hazard Classes | ||||||
|---|---|---|---|---|---|---|
| Class 1 | Class 2 | Class 3 | Class 4 | Class 5 | Class 6 | |
| Unlikely | Scarce | Low | Moderate | High | Very high | |
| Site A | - | 60.1% | 11.7% | 28.2% | - | - |
| Site B | 1.6% | 49.3% | 47.3% | 1.7% | - | - |
© 2020 by the authors. Licensee MDPI, Basel, Switzerland. This article is an open access article distributed under the terms and conditions of the Creative Commons Attribution (CC BY) license (http://creativecommons.org/licenses/by/4.0/).
Share and Cite
Vigliotti, M.; Busico, G.; Ruberti, D. Assessment of the Vulnerability to Agricultural Nitrate in Two Highly Diversified Environmental Settings. Environments 2020, 7, 80. https://doi.org/10.3390/environments7100080
Vigliotti M, Busico G, Ruberti D. Assessment of the Vulnerability to Agricultural Nitrate in Two Highly Diversified Environmental Settings. Environments. 2020; 7(10):80. https://doi.org/10.3390/environments7100080
Chicago/Turabian StyleVigliotti, Marco, Gianluigi Busico, and Daniela Ruberti. 2020. "Assessment of the Vulnerability to Agricultural Nitrate in Two Highly Diversified Environmental Settings" Environments 7, no. 10: 80. https://doi.org/10.3390/environments7100080
APA StyleVigliotti, M., Busico, G., & Ruberti, D. (2020). Assessment of the Vulnerability to Agricultural Nitrate in Two Highly Diversified Environmental Settings. Environments, 7(10), 80. https://doi.org/10.3390/environments7100080

