3D Bayesian Inversion of Potential Fields: The Quebec Oka Carbonatite Complex Case Study
Abstract
1. Introduction
2. Bayesian Inversion of Potential Fields Algorithm
2.1. The Prior Probability
2.2. The Likelihood
2.3. The Posterior Probability
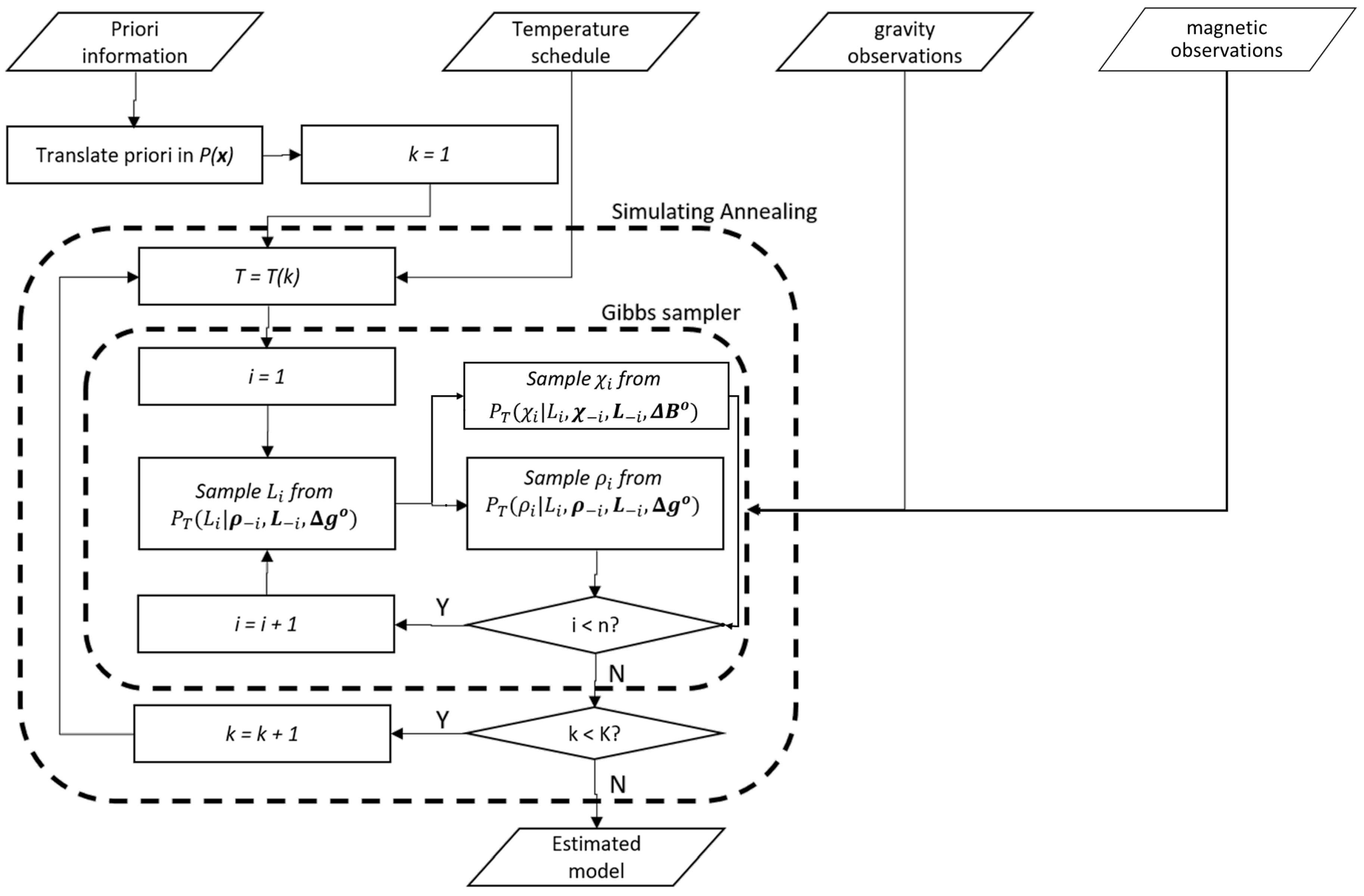
2.4. Maximum a-Posteriori by Monte Carlo Methods
3. The Oka Case Study
3.1. The Oka Carbonatite COMPLEX
3.2. The A-Priori Model
3.3. Gravity and Magnetic Observations
3.4. Inversion Results
4. Conclusions
- Once the a-priori model and constraints have been formalised, starting from the available information, the algorithm is able to properly manage the complexity of the problem providing meaningful new solutions in terms of geometries preserving sharp (in terms of density and susceptibility distribution) boundaries between different lithologies;
- Results will not require an additional interpretation step (e.g., the selection of equi-density or equi-susceptability surfaces to delineate the boundary of geological units);
- Available information (e.g., interpreted seismic profiles, boreholes, etc.) and a-priori knowledge can be entered in an easy and coherent way into the inversion algorithm, allowing to obtain results statistically coherent with the a-priori model;
- The proposed solution is also able to estimate information about the accuracy of the final results, in terms of density, susceptibility and geometries.
Supplementary Materials
Author Contributions
Funding
Data Availability Statement
Conflicts of Interest
References
- Sampietro, D.; Sanso, F. Uniqueness theorems for inverse gravimetric problems. In VII Hotine-Marussi Symposium on Mathematical Geodesy; Springer: Berlin/Heidelberg, Germany, 2012; pp. 111–115. [Google Scholar]
- Sansò, F.; Capponi, M.; Sampietro, D. Up and down through the gravity field. Handbuch der Geodäsie 2018, 6, 91–144. [Google Scholar]
- Sansó, F.; Sampietro, D. Analysis of the Gravity Field: Direct and Inverse Problems; Springer Nature: Berlin/Heidelberg, Germany, 2021. [Google Scholar]
- Li, Y.; Oldenburg, D.W. 3-D inversion of magnetic data. Geophysics 1996, 61, 394–408. [Google Scholar] [CrossRef]
- Li, Y.; Oldenburg, D.W. 3-D inversion of gravity data. Geophysics 1998, 63, 109–119. [Google Scholar] [CrossRef]
- Tikhonov, A.N. On the solution of ill-posed problems and the method of regularization. In Doklady Akademii Nauk; Russian Academy of Sciences: Pushchino, Russia, 1963; Volume 151, pp. 501–504. [Google Scholar]
- Portniaguine, O.N. Image Focusing and Data Compression in the Solution of Geophysical Inverse Problems; The University of Utah: Salt Lake City, UT, USA, 1999. [Google Scholar]
- Fregoso, E.; Gallardo, L.A. Cross-gradients joint 3D inversion with applications to gravity and magnetic data. Geophysics 2009, 74, L31–L42. [Google Scholar] [CrossRef]
- Zhang, Y.; Wang, Y. Three-dimensional gravity-magnetic cross-gradient joint inversion based on structural coupling and a fast gradient method. J. Comput. Math. 2019, 37, 758–777. [Google Scholar]
- Menichetti, V.; Guillen, A. Simultaneous interactive magnetic and gravity inversion. Geophys. Prospect. 1983, 31, 929–944. [Google Scholar] [CrossRef]
- Serpa, L.F.; Cook, K.L. Simultaneous inversion modeling of gravity and aeromagnetic data applied to a geothermal study in Utah. Geophysics 1984, 49, 1327–1337. [Google Scholar] [CrossRef]
- Zeyen, H.; Pous, J. 3-D joint inversion of magnetic and gravimetric data with a priori information. Geophys. J. Int. 1993, 112, 244–256. [Google Scholar] [CrossRef]
- Bosch, M.; Meza, R.; Jiménez, R.; Hönig, A. Joint gravity and magnetic inversion in 3D using Monte Carlo methods. Geophysics 2006, 71, G153–G156. [Google Scholar] [CrossRef]
- Frey, M.; Weinert, S.; Bär, K.; van der Vaart, J.; Dezayes, C.; Calcagno, P.; Sass, I. Integrated 3D geological modelling of the northern Upper Rhine Graben by joint inversion of gravimetry and magnetic data. Tectonophysics 2021, 813, 228927. [Google Scholar] [CrossRef]
- Pollack, A.; Cladouhos, T.T.; Swyer, M.W.; Siler, D.; Mukerji, T.; Horne, R.N. Stochastic inversion of gravity, magnetic, tracer, lithology, and fault data for geologically realistic structural models: Patua Geothermal Field case study. Geothermics 2021, 95, 102129. [Google Scholar] [CrossRef]
- Rossi, L. Bayesian Gravity Inversion by Monte Carlo Methods. Ph.D. Dissertation, Politecnico di Milano, Milan, Italy, 2017. [Google Scholar]
- Marchetti, P.; Sampietro, D.; Capponi, M.; Rossi, L.; Reguzzoni, M.; Porzio, F.; Sansò, F. Lithological constrained gravity inversion. A Bayesian approach. In Proceedings of the 81st EAGE Conference and Exhibition 2019, London, UK, 3–6 June 2019; EAGE Publishing BV: Houten, The Netherlands, 2019; pp. 1–5. [Google Scholar]
- Sampietro, D.; Capponi, M. Gravity for Lithosphere Architecture Determination and Analysis: The Central Eastern Mediterranean case study. Geophys. Prospect. 2021, 70, 173–192. [Google Scholar] [CrossRef]
- Capponi, M.; Sampietro, D.; Ebbing, J.; Ferraccioli, F. Antarctica 3-D crustal structure investigation by means of the Bayesian gravity inversion: The Wilkes Land case study. Geophys. J. Int. 2022, 229, 2147–2161. [Google Scholar] [CrossRef]
- Sampietro, D.; Capponi, M. Seismic Constrained Gravity Inversion: A Reliable Tool to Improve Geophysical Models Away from Seismic Information. Geosciences 2021, 11, 467. [Google Scholar] [CrossRef]
- Mosegaard, K.; Tarantola, A. Monte Carlo sampling of solutions to inverse problems. J. Geophys. Res. Solid Earth 1995, 100, 12431–12447. [Google Scholar] [CrossRef]
- Bayes, T. LII. An essay towards solving a problem in the doctrine of chances. By the late Rev. Mr. Bayes, FRS communicated by Mr. Price, in a letter to John Canton, AMFR S. Philos. Trans. R. Soc. Lond. 1763, 53, 370–418. [Google Scholar]
- Azencott, R. Simulated annealing. Semin. Bourbaki 1988, 697, 161–175. [Google Scholar]
- Geman, S.; Geman, D. Stochastic relaxation, Gibbs distributions, and the Bayesian restoration of images. IEEE Trans. Pattern Anal. Mach. Intell. 1984, 6, 721–741. [Google Scholar] [CrossRef]
- Nikolaev, A.G.; Jacobson, S.H. Simulated annealing. In Handbook of Metaheuristics; Springer: Berlin/Heidelberg, Germany, 2010; pp. 1–39. [Google Scholar]
- Treiman, A.H.; Essene, E.J. The Oka carbonatite complex, Quebec: Geology and evidence for silicate-carbonate liquid immiscibility. Am. Miner. 1985, 70, 1101–1113. [Google Scholar]
- Gold, D. Alkaline ultrabasic rocks in the Montreal area, Quebec. Ultramafic Relat. Rocks 1967, 288–302. [Google Scholar]
- Thomas, M.; Ford, K.; Keating, P. Exploration geophysics for intrusion-hosted rare metals. Geophys. Prospect. 2016, 64, 1275–1304. [Google Scholar] [CrossRef]
- Gold, D.P. Carbonatites, Diatremes and Ultra-Alkaline Rocks in the Oka Area, Quebec; Geological Association of Canada: Ottawa, ON, Canada, 1986. [Google Scholar]
- Eby, G.N. Geochronology of the Monteregian Hills alkaline igneous province, Quebec. Geology 1984, 12, 468–470. [Google Scholar] [CrossRef]
- Eby, G.N. Abundance and distribution of the rare-earth elements and yttrium in the rocks and minerals of the Oka carbonatite complex, Quebec. Geochim. Cosmochim. Acta 1975, 39, 597–620. [Google Scholar] [CrossRef]
- Chen, W.; Simonetti, A. Evidence for the multi-stage petrogenetic history of the Oka carbonatite complex (Québec, Canada) as recorded by perovskite and apatite. Minerals 2014, 4, 437–476. [Google Scholar] [CrossRef]
- Geophysics, S. The Oka Carbonatite Complex, Quebec: Deep Structure from Joint 3D Gravity and Magnetic Data Inversion. 2019. Available online: http://www.sgl.com/technicalpapers/Interpretation%20Example%203%20-%20Oka_Carbonatite_Complex_short-v3.pdf (accessed on 12 May 2022).
- Canada, N.R. Geoscience Data Repository for Geophysical Data. 2016. Available online: https://www.re3data.org/repository/r3d100011990 (accessed on 12 May 2022).
- Sampietro, D.; Capponi, M.; Mansi, A.; Gatti, A.; Marchetti, P.; Sansò, F. Space-Wise approach for airborne gravity data modelling. J. Geod. 2017, 91, 535–545. [Google Scholar] [CrossRef]
- Finlay, C.C.; Kloss, C.; Olsen, N.; Hammer, M.D.; Tøffner-Clausen, L.; Grayver, A.; Kuvshinov, A. The CHAOS-7 geomagnetic field model and observed changes in the South Atlantic Anomaly. Earth Planets Space 2020, 72, 1–31. [Google Scholar] [CrossRef]
- Sampietro, D.; Capponi, M. Practical tips for 3D regional gravity inversion. Geosciences 2019, 9, 351. [Google Scholar] [CrossRef]
- Lentz, D.; Eby, N.; Lavoie, S.; Park, A. Diatremes, Dykes, and Diapirs: Revisiting the Ultra-Alkaline to Carbonatitic Magmatism of the Monteregian Hills. Available online: https://faculty.uml.edu/nelson_eby/Field%20Trip%20guides/GAC-MAC%202006%20Field%20Guide%20B4.pdf (accessed on 12 May 2022).
- Ramberg, I.B. Gravity studies of the Fen complex, Norway, and their petrological significance. Contrib. Mineral. Petrol. 1973, 38, 115–134. [Google Scholar] [CrossRef]










| Layer | Mean [kg/m] | Density Variability [kg/m] |
|---|---|---|
| Carbonatite | 2880 | 25 |
| Silicate | 2930 | 100 |
| Fenite | 2700 | 52 |
| Gneiss/anorthosite | 2740 | 52 |
| Layer | Mean [S.I.] | Susceptibility Variability [S.I.] |
|---|---|---|
| Carbonatite | 0 | 3 |
| Silicate | 0.3 | 0.016 |
| Fenite | 0 | 3 |
| Gneiss/anorthosite | 0.03 | 0.01 |
Publisher’s Note: MDPI stays neutral with regard to jurisdictional claims in published maps and institutional affiliations. |
© 2022 by the authors. Licensee MDPI, Basel, Switzerland. This article is an open access article distributed under the terms and conditions of the Creative Commons Attribution (CC BY) license (https://creativecommons.org/licenses/by/4.0/).
Share and Cite
Sampietro, D.; Capponi, M.; Maurizio, G. 3D Bayesian Inversion of Potential Fields: The Quebec Oka Carbonatite Complex Case Study. Geosciences 2022, 12, 382. https://doi.org/10.3390/geosciences12100382
Sampietro D, Capponi M, Maurizio G. 3D Bayesian Inversion of Potential Fields: The Quebec Oka Carbonatite Complex Case Study. Geosciences. 2022; 12(10):382. https://doi.org/10.3390/geosciences12100382
Chicago/Turabian StyleSampietro, Daniele, Martina Capponi, and Gerardo Maurizio. 2022. "3D Bayesian Inversion of Potential Fields: The Quebec Oka Carbonatite Complex Case Study" Geosciences 12, no. 10: 382. https://doi.org/10.3390/geosciences12100382
APA StyleSampietro, D., Capponi, M., & Maurizio, G. (2022). 3D Bayesian Inversion of Potential Fields: The Quebec Oka Carbonatite Complex Case Study. Geosciences, 12(10), 382. https://doi.org/10.3390/geosciences12100382

