Increasing Cattle Herd Size or Density in C3 Grass–Legume Meadows Reduces Dietary Quality
Simple Summary
Abstract
1. Introduction
2. Materials and Methods
2.1. Study Area
2.2. Animal Management and Sampling
2.3. Statistical Analyses
3. Results
4. Discussion
5. Conclusions
Author Contributions
Funding
Institutional Review Board Statement
Informed Consent Statement
Data Availability Statement
Conflicts of Interest
References
- Boval, M.; Dixon, R. The importance of grasslands for animal production and other functions: A review on management and methodological progress in the tropics. Animal 2012, 6, 748–762. [Google Scholar] [CrossRef] [PubMed]
- Zhao, Y.; Liu, Z.; Wu, J. Grassland ecosystem services: A systematic review of research advances and future directions. Landsc. Ecol. 2020, 35, 793–814. [Google Scholar] [CrossRef]
- Li, Q.; Yu, P.; Li, G.; Zhou, D. Grass–legume ratio can change soil carbon and nitrogen storage in a temperate steppe grassland. Soil Tillage Res. 2016, 157, 23–31. [Google Scholar] [CrossRef]
- Brophy, L.S.; Heichel, G.H.; Russelle, M.P. Nitrogen transfer from forage legumes to grass in a systematic planting design. Crop. Sci. 1987, 27, 753–758. [Google Scholar] [CrossRef]
- Suso, M.J.; Bebeli, P.J.; Christmann, S.; Mateus, C.; Negri, V.; de Carvalho, M.A.A.P.; Torricelli, R.; Veloso, M.M. Enhancing legume ecosystem services through an understanding of plant–pollinator interplay. Front. Plant Sci. 2016, 7, 333. [Google Scholar] [CrossRef]
- Phelan, P.; Moloney, A.P.; McGeough, E.J.; Humphreys, J.; Bertilsson, J.; O’riordan, E.G.; O’kiely, P. Forage legumes for grazing and conserving in ruminant production systems. Crit. Rev. Plant Sci. 2015, 34, 281–326. [Google Scholar] [CrossRef]
- Galyean, M.L.; Perino, L.J.; Duff, G.C. Interaction of cattle health/immunity and nutrition. J. Anim. Sci. 1999, 77, 1120–1134. [Google Scholar] [CrossRef]
- D’Occhio, M.; Baruselli, P.; Campanile, G. Influence of nutrition, body condition, and metabolic status on reproduction in female beef cattle: A review. Theriogenology 2019, 125, 277–284. [Google Scholar] [CrossRef]
- Hersom, M.J. Opportunities to enhance performance and efficiency through nutrient synchrony in forage-fed ruminants. J. Anim. Sci. 2008, 86 (Suppl. S14), E306–E317. [Google Scholar] [CrossRef]
- da Silva, M.S.; Tremblay, G.F.; Bélanger, G.; Lajeunesse, J.; Papadopoulos, Y.A.; Fillmore, S.A.; Jobim, C.C. Forage energy to protein ratio of several legume–grass complex mixtures. Anim. Feed. Sci. Technol. 2014, 188, 17–27. [Google Scholar] [CrossRef]
- Cook, C.W.; Stoddart, L.A.; Harris, L.E. Effects of grazing intensity upon the nutritive value of range forage. J. Range Manag. 1953, 6, 51. [Google Scholar] [CrossRef]
- Garnick, S.; Barboza, P.S.; Walker, J.W. Assessment of animal-based methods used for estimating and moni-toring rangeland herbivore diet composition. Rangel. Ecol. Manag. 2018, 71, 449–457. [Google Scholar] [CrossRef]
- Stuth, J.; Jama, A.; Tolleson, D. Direct and indirect means of predicting forage quality through near infrared reflectance spectroscopy. Field Crop. Res. 2003, 84, 45–56. [Google Scholar] [CrossRef]
- Lyons, R.K.; Stuth, J.W. Fecal NIRS equations for predicting diet quality of free-ranging cattle. J. Range Manag. 1992, 45, 238. [Google Scholar] [CrossRef]
- Craine, J.M.; Elmore, A.J.; Olson, K.C.; Tolleson, D. Climate change and cattle nutritional stress. Glob. Chang. Biol. 2010, 16, 2901–2911. [Google Scholar] [CrossRef]
- Jorns, T.R.; Scasta, J.D.; Derner, J.D.; Augustine, D.J.; Porensky, L.M.; Raynor, E.J.; the CARM Stakeholder Group. Adaptive multi-paddock grazing management reduces diet quality of yearling cattle in shortgrass steppe. Rangel. J. 2024, 45, 160–172. [Google Scholar] [CrossRef]
- Sanderson, M.A.; Wedin, W.F. Phenological stage and herbage quality relationships in temperate grasses and legumes. Agron. J. 1989, 81, 864–869. [Google Scholar] [CrossRef]
- Scasta, J. Seasonal forage dynamics of three grasses with different origins and photosynthetic pathways in a rural North American cold steppe. Livest. Res. Rural. Dev. 2017, 29, 208. [Google Scholar]
- Tolleson, D.R.; Angerer, J.P.; Kreuter, U.P.; Sawyer, J.E. Growing Degree Day: Noninvasive remotely sensed method to monitor diet crude protein in free-ranging cattle. Rangel. Ecol. Manag. 2020, 73, 234–242. [Google Scholar] [CrossRef]
- Dorn, R.D. Vascular Plants of Wyoming, 3rd ed.; Mountain West Publishing: Cheyenne, WY, USA, 2001. [Google Scholar]
- Wagenmakers, E.J.; Kucharský, Š.; van Doorn, J.; van den Bergh, D. Accessible and Sustainable Statistics with JASP. 2023. Available online: https://osf.io/preprints/psyarxiv/ud2vj/download (accessed on 15 January 2025).
- Biesanz, J.C.; Falk, C.F.; Savalei, V. Assessing mediational models: Testing and interval estimation for indirect effects. Multivar. Behav. Res. 2010, 45, 661–701. [Google Scholar] [CrossRef]
- Rosseel, Y. Lavaan: An R package for structural equation modeling and more. Version 0.5–12 (BETA). J. Stat. Softw. 2012, 48, 1–36. [Google Scholar] [CrossRef]
- Cornelissen, P.; Vulink, J.T. Density-dependent diet selection and body condition of cattle and horses in heterogeneous landscapes. Appl. Anim. Behav. Sci. 2015, 163, 28–38. [Google Scholar] [CrossRef]
- Scasta, J.D.; Beck, J.L.; Angwin, C.J. Meta-analysis of diet composition and potential conflict of wild horses with livestock and wild ungulates on western rangelands of North America. Rangel. Ecol. Manag. 2016, 69, 310–318. [Google Scholar] [CrossRef]
- Bergman, C.M.; Fryxell, J.M.; Gates, C.C.; Fortin, D. Ungulate foraging strategies: Energy maximizing or time minimizing? J. Anim. Ecol. 2001, 70, 289–300. [Google Scholar] [CrossRef]
- Wyffels, S.A. Influence of Stocking Density on Grazing Beef Cattle Performance, Diet Composition Foraging Efficiency, and Diet Quality on A Late-Spring Early-Summer Native Bunchgrass Prairie. Masters’ Thesis, Oregon State University, Corvallis, OR, USA, 2009. [Google Scholar]
- McCollum, F.T.; Gillen, R.L.; Brummer, J.E. Cattle diet quality under short duration grazing on tallgrass prairie. J. Range Manag. 1994, 47, 489. [Google Scholar] [CrossRef]
- Clark, A.; DelCurto, T.; Vavra, M.; Dick, B.L. Stocking rate and fuels reduction effects on beef cattle diet com-position and quality. Rangel. Ecol. Manag. 2013, 66, 714–720. [Google Scholar] [CrossRef]
- Peterson, D.; Brownlee, M.; Kelley, T. Stocking density affects diet selection. Rangelands 2013, 35, 62–66. [Google Scholar] [CrossRef]
- Landau, S.Y.; Dvash, L.; Yehuda, Y.; Muklada, H.; Peleg, G.; Henkin, Z.; Voet, H.; Ungar, E.D. Impact of animal density on cattle nutrition in dry Mediterranean rangelands: A faecal near-IR spectroscopy-aided study. Animal 2018, 12, 265–274. [Google Scholar] [CrossRef]
- Thompson, L.; Rowntree, J. Invited Review: Methane sources, quantification, and mitigation in grazing beef systems. Appl. Anim. Sci. 2020, 36, 556–573. [Google Scholar] [CrossRef]
- Cuchillo-Hilario, M.; Wrage-Mönnig, N.; Isselstein, J. Forage selectivity by cattle and sheep co-grazing swards differing in plant species diversity. Grass Forage Sci. 2018, 73, 320–329. [Google Scholar] [CrossRef]
- Hossain, E.; Kabir, M.A.; Zheng, L.; Swain, D.L.; McGrath, S.; Medway, J. Near-infrared spectroscopy for analysing livestock diet quality: A systematic review. Heliyon 2024, 10, e40016. [Google Scholar] [CrossRef]
- Smith, R.G.; Davis, A.S.; Jordan, N.R.; Atwood, L.W.; Daly, A.B.; Grandy, A.S.; Hunter, M.C.; Koide, R.T.; Mortensen, D.A.; Ewing, P.; et al. Structural Equation modeling facilitates transdisciplinary research on agriculture and climate change. Crop. Sci. 2014, 54, 475–483. [Google Scholar] [CrossRef]







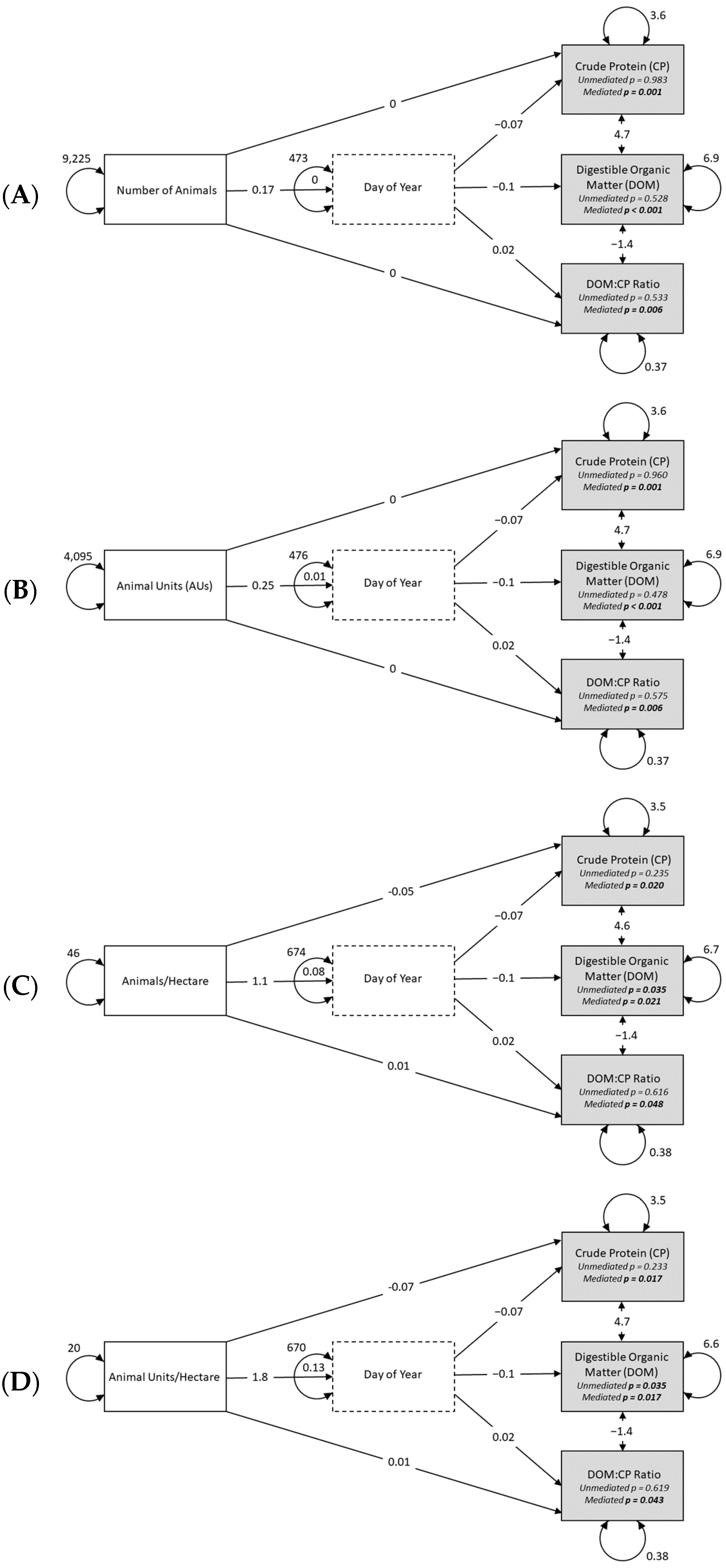
| Unmediated Direct Effects | Estimate 1 | Estimate 2 | SE | z-Value | p-Value | 95% CIs |
|---|---|---|---|---|---|---|
| # Animals → CP | 1.195 × 10−6 | −3.852 × 10−4 | 5.646 × 10−5 | 0.021 | 0.983 | −1.095 × 10−4 to 1.119 × 10−4 |
| # Animals → DOM | −3.626 × 10−5 | −0.003 | 5.750 × 10−5 | −0.631 | 0.528 | −1.190 × 10−4 to 7.644 × 10−5 |
| # Animals → DOM:CP | −7.888 × 10−4 | −7.888 × 10−4 | 0.001 | −0.623 | 0.533 | −0.003 to 0.002 |
| Mediated Total Effects | ||||||
| # Animals → DoY → CP | −1.737 × 10−4 | −0.012 | 5.358 × 10−5 | −3.242 | 0.001 | −2.787 × 10−4 to −6.868 × 10−5 |
| # Animals → DoY → DOM | −2.165 × 10−4 | −0.020 | 5.607 × 10−5 | −3.861 | <0.001 | −3.264 × 10−4 to −1.066 × 10−4 |
| # Animals → DoY → DOM:CP | 0.003 | 0.003 | 0.001 | 2.739 | 0.006 | 8.062 × 10−4 to 0.005 |
| Unmediated Direct Effects | Estimate 1 | Estimate 2 | SE | z-Value | p-Value | 95% CIs |
|---|---|---|---|---|---|---|
| # AUs → CP | −4.304 × 10−6 | −0.071 | 8.624 × 10−5 | −0.050 | 0.960 | −1.733 × 10−4 to 1.647 × 10−4 |
| # AUs → DOM | −6.233 × 10−5 | −0.132 | 8.791 × 10−5 | −0.709 | 0.478 | −2.346 × 10−4 to 1.100 × 10−4 |
| # AUs → DOM:CP | −0.001 | 0.010 | 0.002 | −0.561 | 0.575 | −0.005 to 0.003 |
| Mediated Total Effects | ||||||
| # AUs → DoY → CP | −2.632 × 10−4 | −0.018 | 8.139 × 10−5 | −3.234 | 0.001 | −4.227 × 10−4 to −1.037 × 10−4 |
| # AUs → DoY → DOM | −3.287 × 10−4 | −0.031 | 8.489 × 10−5 | −3.872 | <0.001 | −4.950 × 10−4 to −1.623 × 10−4 |
| # AUs → DoY → DOM:CP | 0.004 | 0.004 | 0.002 | 2.740 | 0.006 | 0.001 to 0.007 |
| Unmediated Direct Effects | Estimate 1 | Estimate 2 | SE | z-Value | p-Value | 95% CIs |
|---|---|---|---|---|---|---|
| Animals/ha → CP | −6.126 × 10−4 | −0.045 | 5.159 × 10−4 | −1.187 | 0.235 | −0.002 to 3.985 × 10−4 |
| Animals/ha → DOM | −8.894 × 10−4 | −0.084 | 4.227 × 10−4 | −2.104 | 0.035 | −0.002 to −6.085 × 10−5 |
| Animals/ha → DOM:CP | 0.006 | −0.006 | 0.013 | 0.502 | 0.616 | −0.018 to 0.031 |
| Mediated Total Effects | ||||||
| Animals/ha → DoY → CP | −0.002 | −0.120 | 7.459 × 10−4 | −2.320 | 0.020 | −0.003 to −2.686 × 10−4 |
| Animals/ha → DoY → DOM | −0.002 | −0.199 | 9.136 × 10−4 | −2.309 | 0.021 | −0.004 to −3.192 × 10−4 |
| Animals/ha → DoY → DOM:CP | 0.028 | 0.028 | 0.014 | 1.974 | 0.048 | 2.006 × 10−4 to 0.056 |
| Unmediated Direct Effects | Estimate 1 | Estimate 2 | SE | z-Value | p-Value | 95% CIs |
|---|---|---|---|---|---|---|
| AUs/ha → CP | −9.597 × 10−4 | −0.071 | 8.052 × 10−4 | −1.192 | 0.233 | −0.003 to 6.185 × 10−4 |
| AUs/ha → DOM | −0.001 | −0.132 | 6.639 × 10−4 | −2.113 | 0.035 | −0.003 to −1.018 × 10−4 |
| AUs/ha → DOM:CP | 0.010 | 0.010 | 0.020 | 0.497 | 0.619 | −0.029 to 0.048 |
| Mediated Total Effects | ||||||
| AUs/ha → DoY → CP | −0.003 | −0.188 | 0.001 | −2.380 | 0.017 | −0.005 to −4.795 × 10−4 |
| AUs/ha → DoY → DOM | −0.003 | −0.313 | 0.001 | −2.386 | 0.017 | −0.006 to −5.924 × 10−4 |
| AUs/ha → DoY → DOM:CP | 0.044 | 0.044 | 0.022 | 2.022 | 0.043 | 0.001 to 0.087 |
Disclaimer/Publisher’s Note: The statements, opinions and data contained in all publications are solely those of the individual author(s) and contributor(s) and not of MDPI and/or the editor(s). MDPI and/or the editor(s) disclaim responsibility for any injury to people or property resulting from any ideas, methods, instructions or products referred to in the content. |
© 2025 by the authors. Licensee MDPI, Basel, Switzerland. This article is an open access article distributed under the terms and conditions of the Creative Commons Attribution (CC BY) license (https://creativecommons.org/licenses/by/4.0/).
Share and Cite
Scasta, J.D.; Furquim, F.F. Increasing Cattle Herd Size or Density in C3 Grass–Legume Meadows Reduces Dietary Quality. Animals 2025, 15, 230. https://doi.org/10.3390/ani15020230
Scasta JD, Furquim FF. Increasing Cattle Herd Size or Density in C3 Grass–Legume Meadows Reduces Dietary Quality. Animals. 2025; 15(2):230. https://doi.org/10.3390/ani15020230
Chicago/Turabian StyleScasta, John Derek, and Fernando Forster Furquim. 2025. "Increasing Cattle Herd Size or Density in C3 Grass–Legume Meadows Reduces Dietary Quality" Animals 15, no. 2: 230. https://doi.org/10.3390/ani15020230
APA StyleScasta, J. D., & Furquim, F. F. (2025). Increasing Cattle Herd Size or Density in C3 Grass–Legume Meadows Reduces Dietary Quality. Animals, 15(2), 230. https://doi.org/10.3390/ani15020230

