Construction and Operation of a Respiration Chamber of the Head-Box Type for Methane Measurement from Cattle
Simple Summary
Abstract
1. Introduction
2. Materials and Methods
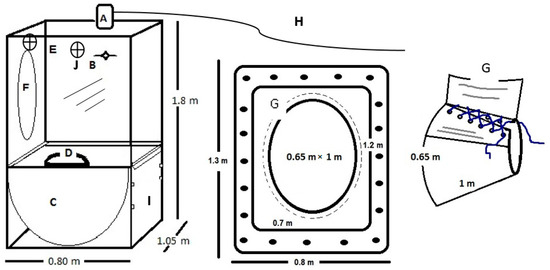
2.1. Design and System Components.
2.2. Operation of the CH4-Measurement System to Determine the Production of CH4 by Cattle.
2.3. Methane Recovery Test and Calibration of the Whole System
2.4. Analyzer Calibration
2.5. Experimental Procedure for the in vivo Measurement of CH4 Emissions
2.6. Animals and Diet
2.7. Measurement of Methane Production and Feed Digestibility
2.8. Chemical Analysis of the Feed and Stool
2.9. Comparative Costs of the Respiration Chamber
3. Results and Discussion
4. Conclusions
Author Contributions
Funding
Conflicts of Interest
References
- Beach, R.H.; Creason, J.; Bushey, O.S.; Ragnauth, S.; Ogle, S.; Li, C.; Ingraham, P.; Salas, W. Global mitigation potential and costs of reducing agricultural non-CO2 greenhouse gas emissions through 2030. J. Integr. Env. Sci. 2016, 12, 87–105. [Google Scholar] [CrossRef]
- Charmley, E.; Williams, S.R.O.; Moate, P.J.; Hegarty, R.S.; Herd, R.M.; Oddy, V.H.; Reyenga, P.; Staunton, K.M.; Anderson, A.; Hanna, M.C. A universal equation to predict methane production of forage-fed cattle in Australia. Anim. Prod. Sci. 2016, 56, 169–180. [Google Scholar] [CrossRef]
- Hristov, A.N.; Ott, T.; Tricarico, J.; Rotz, A.; Waghorn, G.; Adesogan, A.; Dijkstra, J.; Montes, F.; Oh, J.; Kebreab, E.; et al. Mitigation of methane and nitrous oxide emissions from animal operations: III. A review of animal management-related mitigation options. J. Anim. Sci. 2013, 91, 5095–5113. [Google Scholar] [CrossRef] [PubMed]
- Chaokaur, A.; Nishida, T.; Phaowphaisal, I.; Sommart, K. Effects of feeding level on methane emissions and energy utilization of Brahman cattle in the tropics. Agric. Ecosyst. Environ. 2015, 99, 225–230. [Google Scholar] [CrossRef]
- IPCC Guidelines for National Greenhouse Gas Inventories; Volume 4: Agriculture, Forestry and Other Land Uses. Chapter 10: Emissions from Livestock and Manure Management. Prepared by the National Greenhouse Gas Inventories Programme; Eggleston, H.S., Buendia, L., Miwa, K., Ngara, T., Tanabe, K., Eds.; IGES: Hayama, Japan, 2006; pp. 10.1–10.34. [Google Scholar]
- INECC, SEMARNAT. Base de Datos del Inventario Nacional de Emisiones de Gases de Efecto Invernadero 2013 del sector Agropecuario. Instituto Nacional de Ecología y Cambio Climático and Secretaría de Medio Ambiente y Recursos Naturales. In: Primer Informe Bienal de Actualización ante la Convención Marco de las Naciones Unidas Sobre el Cambio Climático. México. 277 p 2015. Available online: http://unfccc.int/national_reports/nonannex_i_natcom/reporting_on_climate_change/items/8722.php (accessed on 7 October 2019).
- Castelán-Ortega, O.A.; Ku-Vera, J.C.; Estrada-Flores, J.G. Modelling methane emissions and methane inventories for cattle production systems in Mexico. Atmósfera 2014, 27, 185–191. [Google Scholar]
- Ruíz-Suárez, L.G.; González-Avalos, E. Modeling emissions from cattle in México. Sci. Total Environ. 1997, 206, 177–186. [Google Scholar] [CrossRef]
- Rendón-Huerta, J.A.; Pinos-Rodríguez, J.M.; García-López, J.C.; Yañez-Estrada, L.G.; Kebreab, E. Trends in greenhouse gas emissions from dairy cattle in México between 1970 and 2010. Anim. Prod. Sci. 2014, 54, 292–298. [Google Scholar] [CrossRef]
- Moe, P.W.; Tyrrel, H.F. Methane production in dairy cows. J. Dairy. Sci. 1979, 62, 1583–1586. [Google Scholar] [CrossRef]
- Suzuki, T.; Phaowphaisal, I.; Pholsen, P.; Narmsilee, R.; Indramannee, S.; Nitipot, P.; Chaokaur, A.; Sommart, K.; Khotprom, N.; Panichpol, V.; et al. In vivo nutritive value of Pangola grass (Digitaria eriantha) Hay by novel indirect calorimeter with a Ventilated Hood in Thailand. JARQ 2008, 42, 123–129. [Google Scholar] [CrossRef]
- Place, S.E.; Pan, Y.; Zhao, Y.; Mitloehner, F.M. Construction and operation of a Ventilated Hood System for measuring greenhouse and volatile Organic Compound emission from cattle. Animals 2011, 1, 443–446. [Google Scholar] [CrossRef]
- Gerrits, W.; Labussière, E.; Reynolds, C.; Metges, C.; Kuhla, B.; Lund, P.; Weisbjerg, M.R.; Dijkstra, J. Letter to the Editor: Recovery test results as a prerequisite for publication of gaseous exchange measurements. J. Dairy Sci. 2018, 101, 4703–4704. [Google Scholar] [CrossRef] [PubMed]
- Arceo-Castillo, J.I.; Montoya-Flores, M.D.; Molina-Botero, I.C.; Piñeiro-Vázquez, A.T.; Aguilar-Pérez, C.F.; Ayala-Burgos, A.J.; Solorio-Sánchez, F.J.; Castelán-Ortega, O.A.; Quintana-Owen, P.; Ku-Vera, J.; et al. Effect of the volume of methane released into respiration chambers on full system methane recovery. Anim. Feed Sci. Tech. 2019, 249, 54–61. [Google Scholar] [CrossRef]
- Klein, L.; Wright, A.D. Construction and operation of open-circuit methane chambers for small ruminants. Aust. J. Exp. Agr. 2006, 46, 1257–1262. [Google Scholar] [CrossRef]
- Gardiner, T.D.; Coleman, M.D.; Innocenti, F.; Tompkins, J.; Connor, A.; Garnsworthy, P.C.; Moorby, J.M.; Reynols, C.K.; Waterhouse, A.; Wills, D.; et al. Determination of the absolute accuracy of UK chamber facilities used in measuring methane emissions from livestock. Measurement 2015, 66, 272–279. [Google Scholar] [CrossRef]
- AOAC International Official Methods of Analysis, 16th ed.; AOAC Int.: Gaithersburg, MD, USA, 1996.
- Van Soest, P.J.; Robertson, J.B.; Lewis, B.A. Methods for dietary fibre, neutral detergent fibre and non-starch polysaccharides in relation to animal nutrition. J. Dairy Sci. 1991, 74, 3583–3597. [Google Scholar] [CrossRef]
- Haigh, P.M. A note on the relationship between oven and toluene determined dry matter concentrations in Maize silages. Ir. J. Agric. Food Res. 1995, 34, 193–195. [Google Scholar]
- Aubry, A.; Yan, T. Metha-analysis of calorimeter data to establish relationships between methane and carbon dioxide emissions or oxygen consumption for dairy cattle. Anim. Nutr. 2015, 1, 128–134. [Google Scholar] [CrossRef]
- Appuhamy, A.D.R.N.J.; France, J.; Kebreab, E. Models for predicting enteric methane emissions from dairy cows in North America, Europe, and Australia and New Zealand. Glob. Chang. Biol. 2016, 22, 3039–3056. [Google Scholar] [CrossRef]
- Niu, M.; Kebreab, E.; Hristov, A.; Oh, J.; Arndt, C.; Bannink, A.; Bayat, A.R.; Brito, A.F.; Boland, T.; Casper, D.; et al. Prediction of enteric methane production, yield and intensity in dairy cattle using an intercontinental database. Glob. Chang. Biol. 2018, 24, 3368–3389. [Google Scholar] [CrossRef]
- Van Lingen, H.J.; Niu, M.; Kebreab, E.; Valadares-Filho, S.C.; Rooke, J.A.; Duthie, C.A.; Schwarm, A.; Kreuzer, M.; Hynd, P.I.; Caetano, M.; et al. Prediction of enteric methane production, yield and intensity of beef cattle using an intercontinental database. Agric. Ecosyst. Environ. 2019, 283, 106575. [Google Scholar] [CrossRef]
- Hammond, K.J.; Humphiries, D.J.; Crompton, L.A.; Green, C.; Reynolds, C.K. Methane emissions from cattle: Estimates from short-term measurements using a GreenFeed system compared with measurements obtained using respiration chambers or Sulphur hexafluoride tracer. Anim. Feed Sci. Tech. 2015, 203, 41–52. [Google Scholar] [CrossRef]
- Jiao, H.; Yan, T.; Wills, D.A.; Carson, A.F.; McDowell, D.A. Development of prediction models for quantification of total methane emission from enteric fermentation of young Holstein cattle at various ages. Agric. Ecosyst. Environ. 2014, 183, 160–166. [Google Scholar] [CrossRef]
- Jiao, H.; Yan, T.; Wills, D.A.; Carson, A.F.; McDowell, D.A. Maintenance energy requirements of young Holstein cattle from calorimetric measurements at 6, 12, 18 and 22 months of age. Livest. Sci. 2015, 178, 150–157. [Google Scholar] [CrossRef]



| Variable | Assay 1 | Assay 2 | Assay 3 | Assay 4 | Assay 5 | Assay 6 | Mean | Stand Dev. |
|---|---|---|---|---|---|---|---|---|
| Volume of air flow through the chamber, L/min | 494.7 | 500.9 | 501.4 | 501.5 | 501.5 | 499.6 | 499.9 | 2.6 |
| Duration of assay, min | 30.9 | 59.0 | 22.9 | 21.0 | 19.2 | 103 | 42.9 | |
| Volume of air through the chamber, m3 | 15.4 | 29.5 | 11.4 | 10.5 | 9.2 | 52.0 | 21.4 | 16.7 |
| CH4 released, g | 5.3 | 7.7 | 2.8 | 3.1 | 2 | 28.5 | 8.2 | 10.1 |
| CH4 measured, g | 5.2 | 8.2 | 3.0 | 3.2 | 2.0 | 28.5 | 8.4 | |
| Ambient CH4 entering the chamber, % | 0.0031 | 0.0018 | 0.0017 | 0.0017 | 0.0016 | 0.0010 | 0.0020 | 0.0006 |
| Methane recovery rate | 0.99 | 1.07 | 1.12 | 1.05 | 1.01 | 0.99 | 1.04 | 0.05 |
| Variable | Heifers | Cows |
|---|---|---|
| Concentrate | ||
| DM | 885.3 | 888.5 |
| OM | 829.4 | 826.4 |
| CP | 219.4 | 221.1 |
| NDF | 326.4 | 340.7 |
| ADF | 94.5 | 123.5 |
| Hemicellulose | 231.9 | 217.2 |
| Cellulose | 51.3 | 83.3 |
| Lignin | 43.2 | 40.2 |
| Silage | ||
| DM | 366.6 | 408.4 |
| CP | 121.8 | 114.7 |
| NDF | 487.2 | 511.5 |
| ADF | 368.5 | 377.6 |
| Hemicellulose | 118.7 | 135.4 |
| Cellulose | 261.5 | 314.2 |
| Lignin | 106.9 | 88.6 |
| GE of the whole diet | 17.0 | 16.7 |
| Variable | Cows | Stand. Dev. | 95% Conf. Intervals | Heifers | Stand. Dev. | 95% Conf. Intervals |
|---|---|---|---|---|---|---|
| Mean | Mean | |||||
| Live weight, kg | 593.4 | 50.9 | 512–674 | 338.5 | 27.8 | 294–382 |
| DMI, kg d−1 | 24.9 | 0.5 | 24–25 | 10.4 | 0.5 | 9.6–11 |
| DDM intake, kg d−1 | 18.6 | 1.1 | 16–20 | 6.5 | 0.7 | 5.3–7.5 |
| Digestibility of diet, % | 74.9 | 3.1 | 69–79 | 62.2 | 3.9 | 55–68 |
| Gross energy intake, MJ d−1 | 424 | 8.5 | 16.9–17.1 | 173.0 | 7.8 | 160–185 |
| Digestibility of gross energy, % | 76.1 | 2.7 | 71–80 | 63.8 | 4.1 | 57–70 |
| CH4 emission, L d−1 | 687 | 123 | 490–882 | 248.0 | 40.0 | 184–311 |
| CH4 emission, g d−1 | 492 | 88.3 | 351–632 | 177.6 | 28.6 | 132–223 |
| CH4, L kg−1 of DMI | 27.6 | 4.8 | 19–35 | 24.0 | 4.8 | 16–31 |
| CH4, L kg−1 DDM intake | 36.7 | 5.3 | 28–45 | 39.0 | 9.8 | 23–54 |
| CH4, g kg−1 of DMI | 19.7 | 3.4 | 14–25 | 17.1 | 3.4 | 11.7–22.6 |
| CH4, g kg−1 DDM intake | 26.3 | 3.8 | 20–32 | 27.9 | 7.0 | 16–39 |
| CH4, g kg−1 milk | 21.1 | 3.3 | 15–26 | - | - | - |
| Ym, % | 6.4 | 1.1 | 4.6–8.1 | 5.7 | 1.1 | 3.8–7.5 |
| Milk yield, kg d−1 | 23.3 | 1.8 | 20–26 | - | - | - |
© 2020 by the authors. Licensee MDPI, Basel, Switzerland. This article is an open access article distributed under the terms and conditions of the Creative Commons Attribution (CC BY) license (http://creativecommons.org/licenses/by/4.0/).
Share and Cite
Castelán Ortega, O.A.; Pedraza Beltrán, P.E.; Hernández Pineda, G.S.; Benaouda, M.; González Ronquillo, M.; T Molina, L.; Ku Vera, J.C.; Montelongo Pérez, H.D.; Vázquez Carrillo, M.F. Construction and Operation of a Respiration Chamber of the Head-Box Type for Methane Measurement from Cattle. Animals 2020, 10, 227. https://doi.org/10.3390/ani10020227
Castelán Ortega OA, Pedraza Beltrán PE, Hernández Pineda GS, Benaouda M, González Ronquillo M, T Molina L, Ku Vera JC, Montelongo Pérez HD, Vázquez Carrillo MF. Construction and Operation of a Respiration Chamber of the Head-Box Type for Methane Measurement from Cattle. Animals. 2020; 10(2):227. https://doi.org/10.3390/ani10020227
Chicago/Turabian StyleCastelán Ortega, Octavio Alonso, Paulina Elizabeth Pedraza Beltrán, Gloria Stefanny Hernández Pineda, Mohammed Benaouda, Manuel González Ronquillo, Luisa T Molina, Juan Carlos Ku Vera, Hugo Daniel Montelongo Pérez, and María Fernanda Vázquez Carrillo. 2020. "Construction and Operation of a Respiration Chamber of the Head-Box Type for Methane Measurement from Cattle" Animals 10, no. 2: 227. https://doi.org/10.3390/ani10020227
APA StyleCastelán Ortega, O. A., Pedraza Beltrán, P. E., Hernández Pineda, G. S., Benaouda, M., González Ronquillo, M., T Molina, L., Ku Vera, J. C., Montelongo Pérez, H. D., & Vázquez Carrillo, M. F. (2020). Construction and Operation of a Respiration Chamber of the Head-Box Type for Methane Measurement from Cattle. Animals, 10(2), 227. https://doi.org/10.3390/ani10020227

