The Influence of Personality Traits on Safety Behavior in Construction: The Role of Psychological–Cognitive Mediators
Abstract
1. Introduction
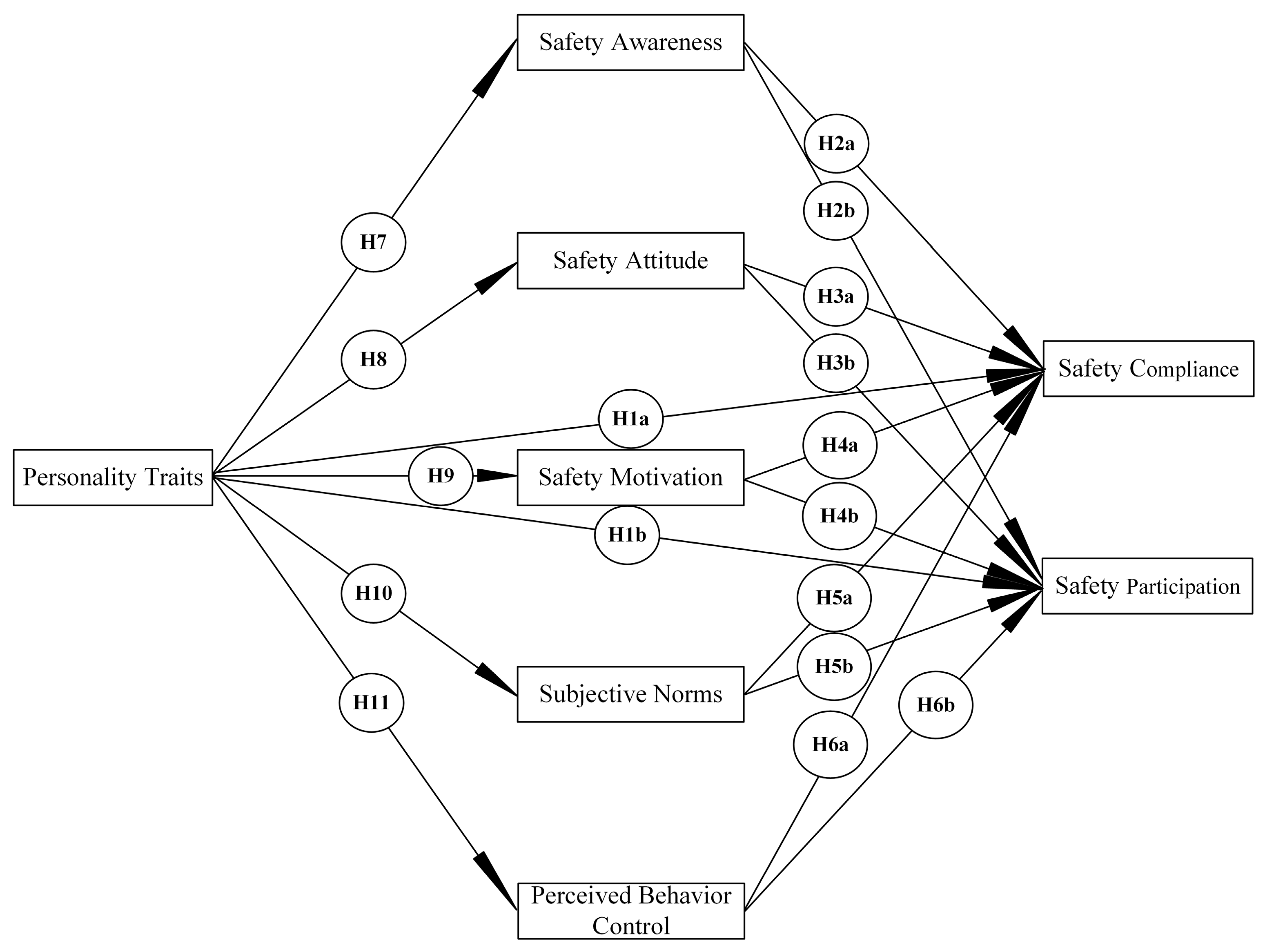
2. Literature Review and Hypothesis Development
2.1. Safety Behavior
2.2. Personality Trait
2.3. Psychological and Cognitive Factors
3. Research Methods
3.1. Measurement
3.2. Participants
3.3. Data Analysis Methods
4. Results
4.1. Measurement Model
4.2. Structural Model
5. Discussion
5.1. Theoretical Contributions
5.2. Practical Implications
5.3. Limitations and Future Research
6. Conclusions
Author Contributions
Funding
Institutional Review Board Statement
Informed Consent Statement
Data Availability Statement
Acknowledgments
Conflicts of Interest
References
- Chini, A.R.; Valdez, H.E. ISO 9000 and the US construction industry. J. Manag. Eng. 2003, 19, 69–77. [Google Scholar] [CrossRef]
- Pan, Y.; Zhang, L. Roles of artificial intelligence in construction engineering and management: A critical review and future trends. Automat. Constr. 2021, 122, 103517. [Google Scholar] [CrossRef]
- Tam, C.M.; Zeng, S.X.; Deng, Z.M. Identifying elements of poor construction safety management in China. Saf. Sci. 2004, 42, 569–586. [Google Scholar] [CrossRef]
- Im, H.-J.; Kwon, Y.-J.; Kim, S.-G.; Kim, Y.-K.; Ju, Y.-S.; Lee, H.-P. The characteristics of fatal occupational injuries in Korea’s construction industry, 1997–2004. Saf. Sci. 2009, 47, 1159–1162. [Google Scholar] [CrossRef]
- HSE. Construction Statistics in Great Britain, 2024; Health and Safety Executive: London, UK, 2024.
- NBSC. China Statistical Yearbook 2008–2018; National Bureau of Statistic of China: Beijing, China, 2020.
- Feng, Y.; Zhang, S.; Wu, P. Factors influencing workplace accident costs of building projects. Saf. Sci. 2015, 72, 97–104. [Google Scholar] [CrossRef]
- Tompa, E.; Mofidi, A.; Van Den Heuvel, S.; van Bree, T.; Michaelsen, F.; Jung, Y.; Porsch, L.; van Emmerik, M. Economic burden of work injuries and diseases: A framework and application in five European Union countries. BMC Public Health 2021, 21, 49. [Google Scholar] [CrossRef]
- Brooks, S.K.; Rogers, M.B.; Wessely, S.; Patel, S.S.; Greenberg, N. Psychosocial impacts of post-disaster compensation processes: Narrative systematic review. BMC Psychol. 2024, 12, 539. [Google Scholar] [CrossRef]
- Guo, S.; Ding, L.; Zhang, Y.; Skibniewski, M.J.; Liang, K. Hybrid recommendation approach for behavior modification in the Chinese construction industry. J. Constr. Eng. Manag. 2019, 145, 04019035. [Google Scholar] [CrossRef]
- Winge, S.; Albrechtsen, E.; Mostue, B.A. Causal factors and connections in construction accidents. Saf. Sci. 2019, 112, 130–141. [Google Scholar] [CrossRef]
- Soltanmohammadlou, N.; Sadeghi, S.; Hon, C.K.H.; Mokhtarpour, F. Real-time locating systems and safety in construction sites: A literature review. Saf. Sci. 2019, 117, 229–242. [Google Scholar] [CrossRef]
- Guo, B.H.; Zou, Y.; Fang, Y.; Goh, Y.M.; Zou, P.X. Computer vision technologies for safety science and management in construction: A critical review and future research directions. Saf. Sci. 2021, 135, 105130. [Google Scholar] [CrossRef]
- Wolf, M.; Teizer, J.; Wolf, B.; Bükrü, S.; Solberg, A. Investigating hazard recognition in augmented virtuality for personalized feedback in construction safety education and training. Adv. Eng. Inform. 2022, 51, 101469. [Google Scholar] [CrossRef]
- Yassin, A.S.; Martonik, J.F. The effectiveness of the revised scaffold safety standard in the construction industry. Saf. Sci. 2004, 42, 921–931. [Google Scholar] [CrossRef]
- Liu, J.; Wang, X.; Nie, X.; Lu, R. Incentive mechanism of construction safety from the perspective of mutual benefit. Buildings 2022, 12, 536. [Google Scholar] [CrossRef]
- Kines, P.; Andersen, L.P.S.; Spangenberg, S.; Mikkelsen, K.L.; Dyreborg, J.; Zohar, D. Improving construction site safety through leader-based verbal safety communication. J. Saf. Res. 2010, 41, 399–406. [Google Scholar] [CrossRef]
- Dong, S.; Li, H.; Martin, S.; Qin, Y. An experimental study of intrusion behaviors on construction sites: The role of age and gender. Saf. Sci. 2019, 115, 425–434. [Google Scholar] [CrossRef]
- Yang, J.; Ye, G.; Xiang, Q.; Kim, M.; Liu, Q.; Yue, H. Insights into the mechanism of construction workers’ unsafe behaviors from an individual perspective. Saf. Sci. 2021, 133, 105004. [Google Scholar] [CrossRef]
- Fang, D.; Zhao, C.; Zhang, M. A cognitive model of construction workers’ unsafe behaviors. J. Constr. Eng. Manag. 2016, 142, 04016039. [Google Scholar] [CrossRef]
- Costa, P.; Mccrae, R. Neo PI-R Professional Manual; Psychological Assessment Resources: Odessa, FL, USA, 1992. [Google Scholar]
- John, O.P.; Srivastava, S. The Big-Five trait taxonomy: History, measurement, and theoretical perspectives. In Handbook of Personality: Theory and Research; Pervin, L.A., John, O.P., Eds.; Guilford Press: New York, NY, USA, 1999. [Google Scholar]
- Gao, Y.; González, V.A.; Yiu, T.W. Exploring the relationship between construction workers’ personality traits and safety behavior. J. Constr. Eng. Manag. 2020, 146, 04019111. [Google Scholar] [CrossRef]
- Xia, N.; Tang, Y.; Li, D.; Pan, A. Safety Behavior among Construction Workers: Influences of Personality and Leadership. J. Constr. Eng. Manag. 2021, 147, 04021019. [Google Scholar] [CrossRef]
- Liang, Q.; Zhou, Z.; Ye, G.; Shen, L. Unveiling the mechanism of construction workers’ unsafe behaviors from an occupational stress perspective: A qualitative and quantitative examination of a stress–cognition–safety model. Saf. Sci. 2022, 145, 105486. [Google Scholar] [CrossRef]
- Florez, L.; Armstrong, P.; Cortissoz, J.C. Does compatibility of personality affect productivity? Exploratory study with construction crews. J. Manag. Eng. 2020, 36, 04020049. [Google Scholar] [CrossRef]
- Beus, J.M.; Dhanani, L.Y.; Mccord, M.A. A meta-analysis of personality and workplace safety: Addressing unanswered questions. J. Appl. Psychol. 2015, 100, 481–498. [Google Scholar] [CrossRef]
- Hasanzadeh, S.; Dao, B.; Esmaeili, B.; Dodd, M.D. Role of personality in construction safety: Investigating the relationships between personality, attentional failure, and hazard identification under fall-hazard conditions. J. Constr. Eng. Manag. 2019, 145, 04019052. [Google Scholar] [CrossRef]
- Wang, C.M.; Xu, B.B.; Zhang, S.J.; Chen, Y.Q. Influence of personality and risk propensity on risk perception of Chinese construction project managers. Int. J. Proj. Manag. 2016, 34, 1294–1304. [Google Scholar] [CrossRef]
- Zhang, J.; Xiang, P.; Zhang, R.; Chen, D.; Ren, Y. Mediating effect of risk propensity between personality traits and unsafe behavioral intention of construction workers. J. Constr. Eng. Manag. 2020, 146, 04020023. [Google Scholar] [CrossRef]
- Endsley, M.R. Toward a theory of situation awareness in dynamic systems. Hum. Factors 1995, 37, 32–64. [Google Scholar] [CrossRef]
- Guldenmund, F.W. The nature of safety culture: A review of theory and research. Saf. Sci. 2000, 34, 215–257. [Google Scholar] [CrossRef]
- Neal, A.; Griffin, M.A. A study of the lagged relationships among safety climate, safety motivation, safety behavior, and accidents at the individual and group levels. J. Appl. Psychol. 2006, 91, 946–953. [Google Scholar] [CrossRef]
- Li, Y.; Yan, G. The heterogeneity in the relationships between psychological drivers and construction and demolition waste management intention and behaviors among tunnel construction managers: Insights from personality profiles. Sustainability 2025, 17, 2286. [Google Scholar] [CrossRef]
- Ajzen, I. The theory of planned behavior. Organ. Behav. Hum. Decis. Process. 1991, 50, 179–211. [Google Scholar] [CrossRef]
- Doerr, A.J. When and how personality predicts workplace safety: Evaluating a moderated mediation model. J. Saf. Res. 2020, 75, 275–283. [Google Scholar] [CrossRef] [PubMed]
- Burke, M.J.; Sarpy, S.A.; Tesluk, P.E.; Smith-Crowe, K. General safety performance: A test of a grounded theoretical model. Pers. Psychol. 2002, 55, 429–457. [Google Scholar] [CrossRef]
- Xia, N.; Xie, Q.; Griffin, M.A.; Ye, G.; Yuan, J. Antecedents of safety behavior in construction: A literature review and an integrated conceptual framework. Accid. Anal. Prev. 2020, 148, 105834. [Google Scholar] [CrossRef]
- Wang, Y.; Liu, C.; Xu, H.; Geng, X.; Wang, Y.; Liu, Y. Analysis of the Causes of Falling Accidents on Building Construction Sites in China Based on the HFACS Model. Buildings 2025, 15, 1412. [Google Scholar] [CrossRef]
- Kim, J.; Youm, S.; Shan, Y.; Kim, J. Analysis of Fire Accident Factors on Construction Sites Using Web Crawling and Deep Learning Approach. Sustainability 2021, 13, 11694. [Google Scholar] [CrossRef]
- Curcuruto, M.; Conchie, S.M.; Mariani, M.; Violante, F.S. The role of prosocial and proactive safety behaviors in predicting safety performance. Saf. Sci. 2015, 80, 317–323. [Google Scholar] [CrossRef]
- Griffin, M.A.; Neal, A. Perceptions of safety at work: A framework for linking safety climate to safety performance, knowledge, and motivation. J. Occup. Health Psychol. 2000, 5, 347. [Google Scholar] [CrossRef]
- Liu, S.; Wei, Y.; Yang, D.; Zhang, J. A systematic review of antecedents of workers’ safety behavior: A grounded theory analysis. Saf. Sci. 2025, 185, 106778. [Google Scholar] [CrossRef]
- Hofmann, D.A.; Jones, L.M. Leadership, collective personality, and performance. J. Appl. Psychol. 2005, 90, 509–522. [Google Scholar] [CrossRef] [PubMed]
- Gosling, S.D.; Rentfrow, P.J.; Swann, W.B. A very brief measure of the Big-Five personality domains. J. Res. Pers. 2003, 37, 504–528. [Google Scholar] [CrossRef]
- Clarke, S.; Robertson, I. An examination of the role of personality in work accidents using meta-analysis. Appl. Psychol. 2008, 57, 94–108. [Google Scholar]
- Christian, M.S.; Bradley, J.C.; Wallace, J.C.; Burke, M.J. Workplace safety: A meta-analysis of the roles of person and situation factors. J. Appl. Psychol. 2009, 94, 1103–1127. [Google Scholar] [CrossRef]
- Clarke, S.; Robertson, I.T. A meta-analytic review of the Big Five personality factors and accident involvement in occupational and non-occupational settings. J. Occup. Organ. Psychol. 2005, 78, 355–376. [Google Scholar] [CrossRef]
- Goh Yang, M.; Binte Sa’adon Nur, F. Cognitive factors influencing safety behavior at height: A multimethod exploratory study. J. Constr. Eng. Manag. 2015, 141, 04015003. [Google Scholar] [CrossRef]
- Wong, T.K.M.; Man, S.S.; Chan, A.H.S. Exploring the acceptance of PPE by construction workers: An extension of the technology acceptance model with safety management practices and safety consciousness. Saf. Sci. 2021, 139, 105239. [Google Scholar] [CrossRef]
- Panuwatwanich, K.; Al-Haadir, S.; Stewart, R.A. Influence of safety motivation and climate on safety behaviour and outcomes: Evidence from the Saudi Arabian construction industry. Int. J. Occup. Saf. Ergon. 2017, 23, 60–75. [Google Scholar]
- Mohajeri, M.; Ardeshir, A.; Banki, M.T.; Malekitabar, H. Discovering causality patterns of unsafe behavior leading to fall hazards on construction sites. Int. J. Constr. Manag. 2022, 22, 3034–3044. [Google Scholar] [CrossRef]
- Li, Z.; Bao, X.; Sheng, Y.; Xia, Y. Research on unsafe behavior of construction workers under the bidirectional effect of formal rule awareness and conformity mentality. Front. Psychol. 2021, 12, 794394. [Google Scholar] [CrossRef]
- Wang, M.; Sun, J.; Du, H.; Wang, C. Relations between safety climate, awareness, and behavior in the Chinese construction industry: A hierarchical linear investigation. Adv. Civ. Eng. 2018, 2018, 6580375. [Google Scholar] [CrossRef]
- Chu, Z.; Cheng, M. How does psychological capital affect construction workers’ proactive safety behavior? The roles of autonomous safety motivation and perceived organizational support. Work 2025, 82, 814–829. [Google Scholar] [CrossRef]
- Goh, Y.M.; Ubeynarayana, C.U.; Wong, K.L.X.; Guo, B.H. Factors influencing unsafe behaviors: A supervised learning approach. Accid. Anal. Prev. 2018, 118, 77–85. [Google Scholar] [CrossRef]
- Hu, Z.; Chan Weng, T.; Hu, H. Personalized construction safety interventions considering cognitive-related factors. J. Constr. Eng. Manag. 2023, 149, 04023137. [Google Scholar] [CrossRef]
- Hagger, M.S.; Cheung, M.W.; Ajzen, I.; Hamilton, K. Perceived behavioral control moderating effects in the theory of planned behavior: A meta-analysis. Health Psychol. 2022, 41, 155–167. [Google Scholar] [CrossRef] [PubMed]
- Niu, L.; Zhao, R. The effect of safety attitudes on coal miners’ human errors: A moderated mediation model. Sustainability 2022, 14, 9917. [Google Scholar] [CrossRef]
- Man, S.S.; Chan, A.H.S.; Alabdulkarim, S.; Zhang, T. The effect of personal and organizational factors on the risk-taking behavior of Hong Kong construction workers. Saf. Sci. 2021, 136, 105155. [Google Scholar] [CrossRef]
- Rau, P.P.; Liao, P.C.; Guo, Z.; Zheng, J.; Jing, B. Personality factors and safety attitudes predict safety behaviour and accidents in elevator workers. Int. J. Occup. Saf. Ergon. 2020, 26, 719–727. [Google Scholar] [CrossRef]
- Tao, D.; Liu, Z.; Diao, X.; Tan, H.; Qu, X.; Zhang, T. Antecedents of self-reported safety behaviors among commissioning workers in nuclear power plants: The roles of demographics, personality traits and safety attitudes. Nucl. Eng. Technol. 2021, 53, 1454–1463. [Google Scholar] [CrossRef]
- Conner, M.; Abraham, C. Conscientiousness and the theory of planned behavior: Toward a more complete model of the antecedents of intentions and behavior. Pers. Soc. Psychol. Bull. 2001, 27, 1547–1561. [Google Scholar] [CrossRef]
- Henning, J.B.; Stufft, C.J.; Payne, S.C.; Bergman, M.E.; Mannan, M.S.; Keren, N. The influence of individual differences on organizational safety attitudes. Saf. Sci. 2009, 47, 337–345. [Google Scholar] [CrossRef]
- Hu, Z.; Chan, W.T.; Hu, H. Characterizing the relationship between personality traits and safety motivation among construction workers. Heliyon 2023, 9, e20370. [Google Scholar] [CrossRef]
- Moncel, C.; Osmont, A.; Dauvier, B. Associations between the Big Five personality traits and everyday and experimental risk taking: A literature review in adolescence and adulthood. Pers. Individ. Differ. 2025, 236, 112982. [Google Scholar] [CrossRef]
- Barańczuk, U. The Five Factor Model of personality and social support: A meta-analysis. J. Res. Pers. 2019, 81, 38–46. [Google Scholar] [CrossRef]
- Sadeh, N.; And Bredemeier, K. Individual differences at high perceptual load: The relation between trait anxiety and selective attention. Cogn. Emot. 2011, 25, 747–755. [Google Scholar] [CrossRef]
- Luo, J.; Zhang, B.; Cao, M.; Roberts, B.W. The Stressful Personality: A Meta-Analytical Review of the Relation Between Personality and Stress. Pers. Soc. Psychol. Rev. 2023, 27, 128–194. [Google Scholar] [CrossRef]
- Barańczuk, U. The Five-Factor Model of Personality and Generalized Self Efficacy. J. Individ. Differ. 2021, 42, 183–193. [Google Scholar] [CrossRef]
- Schmeisser, Y.; Renström, E.A.; Bäck, H. Who follows the rules during a crisis?—Personality traits and trust as predictors of compliance with containment recommendations during the COVID-19 Pandemic. Front. Polit. Sci. 2021, 3, 739616. [Google Scholar] [CrossRef]
- Podsakoff, P.M.; Mackenzie, S.B.; Lee, J.Y.; Podsakoff, N.P. Common method biases in behavioral research: A critical review of the literature and recommended remedies. J. Appl. Psychol. 2003, 88, 879–903. [Google Scholar] [CrossRef] [PubMed]
- Aroke, O.; Hasanzadeh, S.; Esmaeili, B.; Dodd, M.D.; Brock, R. Using worker characteristics, personality, and attentional distribution to predict hazard identification performance: A moderated mediation analysis. J. Constr. Eng. Manag. 2022, 148, 04022033. [Google Scholar] [CrossRef]
- Chen, Y.; Mccabe, B.; Hyatt, D. A resilience safety climate model predicting construction safety performance. Saf. Sci. 2018, 109, 434–445. [Google Scholar] [CrossRef]
- Mohajeri, M.; Ardeshir, A.; Malekitabar, H.; Rowlinson, S. Structural model of internal factors influencing the safety behavior of construction workers. J. Constr. Eng. Manag. 2021, 147, 04021156. [Google Scholar] [CrossRef]
- Guo, B.H.W.; Yiu, T.W.; Gonzalez, V.A. Predicting safety behavior in the construction industry: Development and test of an integrative model. Saf. Sci. 2016, 84, 1–11. [Google Scholar] [CrossRef]
- Xie, Q.; Xia, N.; Yang, G. Do family affairs matter? Work–family conflict and safety behavior of construction workers. J. Manag. Eng. 2022, 38, 04021074. [Google Scholar] [CrossRef]
- Vinodkumar, M.N.; Bhasi, M. Safety management practices and safety behaviour: Assessing the mediating role of safety knowledge and motivation. Accid. Anal. Prev. 2010, 42, 2082–2093. [Google Scholar] [CrossRef] [PubMed]
- Man, S.S.; Alabdulkarim, S.; Chan, A.H.S.; Zhang, T. The acceptance of personal protective equipment among Hong Kong construction workers: An integration of technology acceptance model and theory of planned behavior with risk perception and safety climate. J. Saf. Res. 2021, 79, 329–340. [Google Scholar] [CrossRef]
- Peng, L.; Chan, A.H. Exerting explanatory accounts of safety behavior of older construction workers within the theory of planned behavior. Int. J. Environ. Res. Public Health 2019, 16, 3342. [Google Scholar] [CrossRef]
- Man, S.S.; Chan, A.H.S.; Alabdulkarim, S. Quantification of risk perception: Development and validation of the construction worker risk perception (CoWoRP) scale. J. Saf. Res. 2019, 71, 25–39. [Google Scholar] [CrossRef]
- Anderson, J.C.; Gerbing, D.W. Structural equation modeling in practice: A review and recommended two-step approach. Psychol. Bull. 1988, 103, 411. [Google Scholar] [CrossRef]
- Man, S.S.; Chang, F.; Chan, A.H.S. Affective risk perception index as a screening tool for construction workers. Saf. Sci. 2024, 175, 106527. [Google Scholar] [CrossRef]
- Hair, J.F.; Black, W.C.; Babin, B.J.; Anderson, R.E. Multivariate Data Analysis, 7th ed.; Prentice-Hall: Upper Saddle River, NJ, USA, 2009. [Google Scholar]
- Taylor, J.A.; Davis, A.L.; Shepler, L.J.; Lee, J.; Cannuscio, C.; Zohar, D.; Resick, C. Development and validation of the fire service safety climate scale. Saf. Sci. 2019, 118, 126–144. [Google Scholar] [CrossRef]
- Kline, R.B. Principles and Practice of Structural Equation Modeling; Guilford Press: New York, NY, USA, 2015. [Google Scholar]
- Deng, S.W.; Zhu, H.L.; Cai, Y.L.; Pan, Y.G. Group cognitive characteristics of construction workers’ unsafe behaviors from personalized management. Saf. Sci. 2024, 175, 106492. [Google Scholar] [CrossRef]
- Fornell, C.; Larcker, D.F. Structural equation models with unobservable variables and measurement error: Algebra and statistics. J. Mark. Res. 1981, 18, 382–388. [Google Scholar] [CrossRef]
- Mccord, M.A.; Westerberg, B. The Perceived Controllability of the Big Five Personality Traits at Work. In The Oxford Handbook of Individual Differences in Organizational Contexts; Oxford University Press: Oxford, UK, 2024. [Google Scholar]
- Yang, L.; Bashiru Danwana, S.; Issahaku, F.Y.; Matloob, S.; Zhu, J. Investigating the effects of personality on the safety behavior of gold mine workers: A moderated mediation approach. Int. J. Environ. Res. Public Health 2022, 19, 16054. [Google Scholar] [CrossRef] [PubMed]
- Li, X.; Yi, W.; Chi, H.-L.; Wang, X.; Chan, A.P. A critical review of virtual and augmented reality (VR/AR) applications in construction safety. Automat. Constr. 2018, 86, 150–162. [Google Scholar] [CrossRef]

| Variable | Item | Content | Reference |
|---|---|---|---|
| Safety compliance | SC1 | I always use the required safety equipment when performing my tasks | [23,33] |
| SC2 | I sometimes skip safety procedures to complete tasks more quickly. | ||
| SC3 | I consistently follow safety procedures to ensure a safe working environment. | ||
| SC4 | I do not follow safety rules that I consider unnecessary | ||
| Safety participation | SP1 | I actively promote safety programs at my workplace. | [23,33] |
| SP2 | I make additional efforts to improve workplace safety. | ||
| SP3 | I voluntarily undertake activities to improve workplace safety. | ||
| SP4 | I do not report safety issues that I observe to my supervisor. | ||
| Safety awareness | SA1 | I remain alert to potential safety hazards and actively avoid them. | [25,74] |
| SA2 | I continue working even when I am uncertain about the safety of the task. | ||
| SA3 | I am cautious when I am unsure about the safety of the work | ||
| SA4 | I am clear about my safety responsibilities at work. | ||
| Safety attitude | ST1 | Work accidents are primarily attributable to external factors rather than occurring spontaneously. | [60,75] |
| ST2 | Safety procedures and rules are useful for preventing accidents. | ||
| ST3 | Taking risks at work is an enjoyable experience | ||
| ST4 | Accidents at work are unavoidable, no matter what we do. | ||
| Safety motivation | SM1 | I do not report the safety hazards I encounter at work to my supervisor | [75,76,77,78] |
| SM2 | I feel uncomfortable or guilty if I do not follow safety procedures at work | ||
| SM3 | I am willing to inform my colleagues about potential workplace hazards | ||
| SM4 | I always strive to work safely on site. | ||
| Subjective norm | SN1 | In my team, productivity is prioritized over safety | [25,79,80] |
| SN2 | My leader would reprimand me for engaging in unsafe behavior. | ||
| SN3 | My family and friends prefer that I adhere to safe work practices | ||
| SN4 | My colleagues actively encourage me to follow safe work practices. | ||
| Perceived behavioral control | PBC1 | I know how to use safety equipment required for my job. | [25,79,80,81] |
| PBC2 | My safety performance at work is beyond my control. | ||
| PBC3 | Even when taking risks, I can manage work conditions to ensure I work safely. | ||
| PBC4 | I have the necessary resources, knowledge, and skills to perform risky tasks safely at work. |
| Category | Item | Frequency | Percentage (%) |
|---|---|---|---|
| Age | <20 | 11 | 2.55 |
| 21–30 | 109 | 25.29 | |
| 31–40 | 113 | 26.22 | |
| 41–50 | 99 | 22.97 | |
| 51–60 | 93 | 21.58 | |
| >60 | 6 | 1.39 | |
| Gender | Male | 392 | 90.95 |
| Female | 39 | 9.05 | |
| Education level | Primary or below | 74 | 17.17 |
| Junior high school | 142 | 32.95 | |
| High school | 130 | 30.16 | |
| College or above | 85 | 19.72 | |
| Work experience (years) | <1 | 54 | 12.53 |
| 1–3 | 96 | 22.27 | |
| 3–6 | 102 | 23.67 | |
| 6–10 | 112 | 25.99 | |
| >10 | 67 | 15.55 |
| Constructs | Item | SFL | Cronbach’s Alpha | CR | AVE |
|---|---|---|---|---|---|
| Extraversion (E) | W1 | 0.800 | 0.920 | 0.920 | 0.591 |
| W2 | 0.744 | ||||
| W3 | 0.827 | ||||
| W4 | 0.757 | ||||
| W5 | 0.779 | ||||
| W6 | 0.733 | ||||
| W7 | 0.749 | ||||
| W8 | 0.759 | ||||
| Agreeableness (A) | A1 | 0.814 | 0.931 | 0.931 | 0.602 |
| A2 | 0.784 | ||||
| A3 | 0.786 | ||||
| A4 | 0.753 | ||||
| A5 | 0.785 | ||||
| A6 | 0.817 | ||||
| A7 | 0.704 | ||||
| A8 | 0.796 | ||||
| A9 | 0.737 | ||||
| Conscientiousness (C) | C1 | 0.804 | 0.920 | 0.921 | 0.563 |
| C2 | 0.750 | ||||
| C3 | 0.772 | ||||
| C4 | 0.748 | ||||
| C5 | 0.726 | ||||
| C6 | 0.741 | ||||
| C7 | 0.772 | ||||
| C8 | 0.748 | ||||
| C9 | 0.689 | ||||
| Neuroticism (N) | N1 | 0.786 | 0.923 | 0.923 | 0.601 |
| N2 | 0.777 | ||||
| N3 | 0.782 | ||||
| N4 | 0.777 | ||||
| N5 | 0.772 | ||||
| N6 | 0.767 | ||||
| N7 | 0.753 | ||||
| N8 | 0.787 | ||||
| Openness (O) | O1 | 0.769 | 0.932 | 0.932 | 0.579 |
| O2 | 0.753 | ||||
| O3 | 0.801 | ||||
| O4 | 0.718 | ||||
| O5 | 0.749 | ||||
| O6 | 0.787 | ||||
| O7 | 0.763 | ||||
| O8 | 0.756 | ||||
| O9 | 0.743 | ||||
| O10 | 0.766 | ||||
| Safety awareness (SA) | SA1 | 0.797 | 0.876 | 0.876 | 0.638 |
| SA2 | 0.790 | ||||
| SA3 | 0.792 | ||||
| SA4 | 0.815 | ||||
| Safety attitude (ST) | ST1 | 0.719 | 0.812 | 0.812 | 0.520 |
| ST2 | 0.715 | ||||
| ST3 | 0.704 | ||||
| ST4 | 0.746 | ||||
| Safety motivation (SM) | SM1 | 0.755 | 0.820 | 0.821 | 0.534 |
| SM2 | 0.709 | ||||
| SM3 | 0.703 | ||||
| SM4 | 0.754 | ||||
| Subjective norm (SN) | SN1 | 0.747 | 0.827 | 0.828 | 0.546 |
| SN2 | 0.720 | ||||
| SN3 | 0.725 | ||||
| SN4 | 0.763 | ||||
| Perceived behavioral control (PBC) | PBC1 | 0.743 | 0.812 | 0.814 | 0.523 |
| PBC2 | 0.702 | ||||
| PBC3 | 0.718 | ||||
| PBC4 | 0.730 | ||||
| Safety compliance (SC) | SC1 | 0.766 | 0.863 | 0.865 | 0.615 |
| SC2 | 0.799 | ||||
| SC3 | 0.778 | ||||
| SC4 | 0.794 | ||||
| Safety participation (SP) | SP1 | 0.768 | 0.871 | 0.872 | 0.630 |
| SP2 | 0.798 | ||||
| SP3 | 0.788 | ||||
| SP4 | 0.820 |
| Construct | Mean | SD | 1 | 2 | 3 | 4 | 5 | 6 | 7 | 8 | 9 | 10 | 11 | 12 |
|---|---|---|---|---|---|---|---|---|---|---|---|---|---|---|
| 1. E | 23.360 | 8.235 | 0.769 | - | - | - | - | - | - | - | - | |||
| 2. A | 28.234 | 9.331 | −0.078 | 0.776 | - | - | - | - | - | - | - | |||
| 3. C | 30.311 | 8.859 | −0.145 ** | 0.066 | 0.751 | - | - | - | - | - | - | |||
| 4. N | 23.313 | 8.420 | 0.031 | 0.052 | −0.066 | 0.775 | - | - | - | - | - | |||
| 5. O | 27.220 | 9.645 | 0.106 * | 0.001 | −0.092 | −0.004 | 0.761 | - | - | - | - | |||
| 6. SA | 13.039 | 3.423 | −0.144 * | 0.205 ** | 0.244 ** | 0.020 | 0.099 * | 0.799 | - | - | - | |||
| 7. ST | 13.360 | 3.194 | −0.327 ** | 0.210 ** | 0.222 ** | −0.125 ** | −0.309 ** | 0.162 ** | 0.721 | - | - | |||
| 8. SM | 13.383 | 3.298 | −0.227 ** | 0.233 ** | 0.331 ** | −0.148 ** | −0.242 ** | 0.168 ** | 0.481 ** | 0.731 | ||||
| 9. SN | 12.703 | 3.205 | −0.272 ** | 0.187 ** | 0.160 ** | −0.098 * | −0.218 ** | 0.159 ** | 0.455 ** | 0.400 ** | 0.739 | |||
| 10. PBC | 13.545 | 3.359 | 0.022 | 0.082 | 0.326 ** | −0.082 | −0.159 ** | 0.150 * | 0.453 ** | 0.454 ** | 0.346 ** | 0.723 | ||
| 11. SC | 13.979 | 3.599 | −0.385 ** | 0.276 ** | 0.435 ** | −0.135 ** | −0.368 ** | 0.266 ** | 0.628 ** | 0.621 ** | 0.495 ** | 0.543 ** | 0.785 | |
| 12. SP | 13.647 | 3.810 | −0.351 ** | 0.272 ** | 0.400 ** | −0.078 | −0.264 ** | 0.250 ** | 0.599 ** | 0.583 ** | 0.464 ** | 0.543 ** | 0.547 ** | 0.794 |
| Fit Indices | Model | Recommended Values | Results |
|---|---|---|---|
| Chi-square to degrees of freedom ratio (χ2/df) | 1.534 | <5 | Acceptable |
| Comparative fit index (CFI) | 0.931 | ≥0.9 | Acceptable |
| Tucker–Lewis index (TLI) | 0.927 | ≥0.9 | Acceptable |
| Root mean square error of approximation (RMSEA) | 0.035 | <0.08 | Acceptable |
| Standardized root mean square residual (SRMR) | 0.040 | <0.08 | Acceptable |
| Hypotheses | Direct Effect | p | Results | Hypotheses | Indirect Effect | p | 95% CI | |||
|---|---|---|---|---|---|---|---|---|---|---|
| Lower | Upper | |||||||||
| H1a | E→SC | −0.218 | 0.008 | Supported | H12a | E→SA→SC | −0.013 | 0.018 | −0.033 | −0.002 |
| A→SC | 0.110 | 0.011 | Supported | A→SA→SC | 0.020 | 0.006 | 0.004 | 0.047 | ||
| C→SC | 0.163 | 0.006 | Supported | C→SA→SC | 0.026 | 0.007 | 0.006 | 0.059 | ||
| N→SC | −0.043 | 0.207 | Not supported | N→SA→SC | 0.003 | 0.456 | −0.007 | 0.019 | ||
| O→SC | −0.181 | 0.005 | Supported | O→SA→SC | 0.014 | 0.014 | 0.001 | 0.034 | ||
| H1b | E→SP | −0.183 | 0.009 | Supported | H12b | E→SA→SP | −0.007 | 0.209 | −0.021 | 0.003 |
| A→SP | 0.105 | 0.037 | Supported | A→SA→SP | 0.011 | 0.123 | −0.003 | 0.044 | ||
| C→SP | 0.118 | 0.014 | Supported | C→SA→SP | 0.015 | 0.157 | −0.006 | 0.050 | ||
| N→SP | 0.037 | 0.330 | Not supported | N→SA→SP | 0.002 | 0.270 | −0.002 | 0.000 | ||
| O→SP | −0.033 | 0.598 | Not supported | O→SA→SP | 0.008 | 0.136 | −0.002 | 0.028 | ||
| H2a | SA→SC | 0.098 | 0.009 | Supported | H13a | E→ST→SC | −0.071 | 0.018 | −0.121 | −0.021 |
| H2b | SA→SP | 0.057 | 0.197 | Not supported | A→ST→SC | 0.052 | 0.004 | 0.023 | 0.103 | |
| H3a | ST→SC | 0.223 | 0.018 | Supported | C→ST→SC | 0.042 | 0.006 | 0.016 | 0.080 | |
| H3b | ST→SP | 0.268 | 0.002 | Supported | N→ST→SC | −0.033 | 0.015 | −0.074 | −0.006 | |
| H4a | SM→SC | 0.251 | 0.006 | Supported | O→ST→SC | −0.075 | 0.014 | −0.145 | −0.029 | |
| H4b | SM→SP | 0.247 | 0.012 | Supported | H13b | E→ST→SP | −0.086 | 0.004 | −0.148 | −0.042 |
| H5a | SN→SC | 0.119 | 0.026 | Supported | A→ST→SP | 0.062 | 0.002 | 0.030 | 0.131 | |
| H5b | SN→SP | 0.112 | 0.040 | Supported | C→ST→SP | 0.051 | 0.004 | 0.017 | 0.109 | |
| H6a | PBC→SC | 0.304 | 0.008 | Supported | N→ST→SP | −0.040 | 0.004 | −0.095 | −0.011 | |
| H6b | PBC→SP | 0.331 | 0.013 | Supported | O→ST→SP | −0.089 | 0.003 | −0.170 | −0.046 | |
| H7 | E→SA | −0.130 | 0.017 | Supported | H14a | E→SM→SC | −0.046 | 0.006 | −0.096 | −0.019 |
| A→SA | 0.200 | 0.004 | Supported | A→SM→SC | 0.064 | 0.009 | 0.027 | 0.112 | ||
| C→SA | 0.264 | 0.009 | Supported | C→SM→SC | 0.084 | 0.003 | 0.046 | 0.148 | ||
| N→SA | 0.030 | 0.535 | Not supported | N→SM→SC | −0.043 | 0.004 | −0.095 | −0.015 | ||
| O→SA | 0.141 | 0.025 | Not supported | O→SM→SC | −0.063 | 0.003 | −0.145 | −0.035 | ||
| H8 | E→ST | −0.320 | 0.015 | Supported | H14b | E→SM→SP | −0.045 | 0.005 | −0.096 | −0.017 |
| A→ST | 0.233 | 0.004 | Supported | A→SM→SP | 0.063 | 0.005 | 0.033 | 0.110 | ||
| C→ST | 0.189 | 0.015 | Supported | C→SM→SP | 0.082 | 0.009 | 0.043 | 0.142 | ||
| N→ST | −0.148 | 0.005 | Supported | N→SM→SP | −0.042 | 0.005 | −0.089 | −0.014 | ||
| O→ST | −0.334 | 0.014 | Supported | O→SM→SP | −0.062 | 0.005 | −0.127 | −0.031 | ||
| H9 | E→SM | −0.183 | 0.015 | Supported | H15a | E→SN→SC | −0.032 | 0.015 | −0.066 | −0.007 |
| A→SM | 0.257 | 0.015 | Supported | A→SN→SC | 0.025 | 0.009 | 0.006 | 0.056 | ||
| C→SM | 0.334 | 0.014 | Supported | C→SN→SC | 0.015 | 0.009 | 0.002 | 0.041 | ||
| N→SM | −0.170 | 0.005 | Supported | N→SN→SC | −0.014 | 0.014 | −0.067 | −0.007 | ||
| O→SM | −0.253 | 0.016 | Supported | O→SN→SC | −0.030 | 0.024 | −0.074 | −0.004 | ||
| H10 | E→SN | −0.266 | 0.018 | Supported | H15b | E→SN→SP | −0.029 | 0.112 | −0.146 | −0.064 |
| A→SN | 0.207 | 0.005 | Supported | A→SN→SP | 0.023 | 0.022 | 0.004 | 0.064 | ||
| C→SN | 0.129 | 0.019 | Supported | C→SN→SP | 0.014 | 0.022 | 0.001 | 0.047 | ||
| N→SN | −0.118 | 0.008 | Supported | N→SN→SP | −0.013 | 0.034 | −0.039 | 0.000 | ||
| O→SN | −0.228 | 0.005 | Supported | O→SN→SP | −0.025 | 0.025 | −0.077 | −0.003 | ||
| H11 | E→PBC | 0.079 | 0.222 | Not supported | H16a | E→PBC→SC | 0.024 | 0.263 | −0.013 | 0.061 |
| A→PBC | 0.102 | 0.064 | Not supported | A→PBC→SC | 0.031 | 0.054 | −0.002 | 0.064 | ||
| C→PBC | 0.378 | 0.028 | Supported | C→PBC→SC | 0.115 | 0.012 | 0.051 | 0.191 | ||
| N→PBC | −0.090 | 0.134 | Not supported | N→PBC→SC | −0.027 | 0.094 | −0.068 | 0.002 | ||
| O→PBC | −0.183 | 0.012 | Supported | O→PBC→SC | −0.056 | 0.005 | −0.113 | −0.022 | ||
| - | - | - | - | - | H16b | E→PBC→SP | 0.026 | 0.222 | −0.013 | 0.074 |
| - | - | - | - | - | A→PBC→SP | 0.034 | 0.027 | 0.006 | 0.075 | |
| - | - | - | - | - | C→PBC→SP | 0.125 | 0.016 | 0.063 | 0.176 | |
| - | - | - | - | - | N→PBC→SP | −0.030 | 0.104 | −0.073 | 0.002 | |
| - | - | - | - | - | O→PBC→SP | −0.061 | 0.009 | −0.117 | −0.023 | |
Disclaimer/Publisher’s Note: The statements, opinions and data contained in all publications are solely those of the individual author(s) and contributor(s) and not of MDPI and/or the editor(s). MDPI and/or the editor(s) disclaim responsibility for any injury to people or property resulting from any ideas, methods, instructions or products referred to in the content. |
© 2025 by the authors. Licensee MDPI, Basel, Switzerland. This article is an open access article distributed under the terms and conditions of the Creative Commons Attribution (CC BY) license (https://creativecommons.org/licenses/by/4.0/).
Share and Cite
Sun, J.; Chang, F.; Zhou, Z. The Influence of Personality Traits on Safety Behavior in Construction: The Role of Psychological–Cognitive Mediators. Buildings 2025, 15, 4507. https://doi.org/10.3390/buildings15244507
Sun J, Chang F, Zhou Z. The Influence of Personality Traits on Safety Behavior in Construction: The Role of Psychological–Cognitive Mediators. Buildings. 2025; 15(24):4507. https://doi.org/10.3390/buildings15244507
Chicago/Turabian StyleSun, Jingnan, Fangrong Chang, and Zilong Zhou. 2025. "The Influence of Personality Traits on Safety Behavior in Construction: The Role of Psychological–Cognitive Mediators" Buildings 15, no. 24: 4507. https://doi.org/10.3390/buildings15244507
APA StyleSun, J., Chang, F., & Zhou, Z. (2025). The Influence of Personality Traits on Safety Behavior in Construction: The Role of Psychological–Cognitive Mediators. Buildings, 15(24), 4507. https://doi.org/10.3390/buildings15244507
