Test and Analysis of Concrete Beams Reinforced by Polyurethane Concrete–Prestressed Steel Wires (PUC–PSWs)
Abstract
1. Introduction
2. Materials
2.1. Concrete and Steel Bar
2.2. Polyurethane Concrete
2.3. Steel Wires
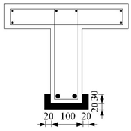
3. Test Beam Design
3.1. Design of Test Beam
3.2. Hardening Procedure
4. Loads and Measurements
5. Test Results and Analysis
5.1. Load–Displacement Curves
5.2. Cracks
5.3. Yield Load and Ultimate Load
5.4. Strain Analysis
6. Conclusions
Author Contributions
Funding
Data Availability Statement
Conflicts of Interest
References
- Yardim, Y.; Periku, E.; Köroglu, M.A. Assessment of reinforced concrete bridge deficiencies under service loads. Balt. J. Road Bridge Eng. 2022, 17, 167–188. [Google Scholar] [CrossRef]
- Cheng, H. The influence of structural and materials on bridge stability and stabilization measures. Highlights Sci. Eng. Technol. 2022, 18, 127–133. [Google Scholar] [CrossRef]
- Kumar, P.; Imam, B. Footprints of air pollution and changing environment on the sustainability of built infrastructure. Sci. Total Environ. 2013, 444, 85–101. [Google Scholar] [CrossRef] [PubMed]
- Liu, H.; Li, J.; Zhang, J.; Pang, D. Decision analysis of a reinforcement scheme for in-service prestressed concrete box girder bridges based on AHP and evaluation of the reinforcement effect. Buildings 2022, 12, 1771. [Google Scholar] [CrossRef]
- Kim, S.H.; Park, J.S.; Jung, W.T.; Kim, T.K.; Park, H.B. Experimental study on strengthening effect analysis of a deteriorated bridge using external prestressing method. Appl. Sci. 2021, 11, 2478. [Google Scholar] [CrossRef]
- Recupero, A.; Spinella, N.; Colajanni, P.; Scilipoti, C.D. Increasing the capacity of existing bridges by using unbonded prestressing technology: A case study. Adv. Civ. Eng. 2014, 1, 840902. [Google Scholar] [CrossRef]
- Hu, W.; Li, Y.; Yuan, H. Review of experimental studies on application of FRP for strengthening of bridge structures. Adv. Mater. Sci. Eng. 2020, 1, 8682163. [Google Scholar] [CrossRef]
- Macdonald, M.D.; Calder, A.J.J. Bonded steel plating for strengthening concrete structures. Int. J. Adhes. Adhes. 1982, 2, 119–127. [Google Scholar] [CrossRef]
- Adhikary, B.B.; Mutsuyoshi, H.; Sano, M. Shear strengthening of reinforced concrete beams using steel plates bonded on beam web: Experiments and analysis. Constr. Build. Mater. 2000, 14, 237–244. [Google Scholar] [CrossRef]
- Roberts, T.M.; Hajikazemi, H. Theoretical study of the behavior of reinforced concrete beams streng-thened by externally bonded steel plates. Proc. Inst. Civ. Eng. 1989, 87, 39–55. [Google Scholar]
- Ehsani, M.R.; Saadatmanesh, H. Fiber composite plates for strengthening bridge beams. Compos. Struct. 1990, 15, 343–355. [Google Scholar] [CrossRef]
- Ramos, G.; Casas, J.R.; Alarcón, A. Repair and strengthening of segmental bridges using carbon fibers. Eng. Struct. 2004, 26, 609–618. [Google Scholar] [CrossRef]
- Herbrand, M.; Adam, V.; Classen, M.; Kueres, D.; Hegger, J. Strengthening of existing bridge structures for shear and bending with carbon textile-reinforced mortar. Materials 2017, 10, 1099. [Google Scholar] [CrossRef] [PubMed]
- Zhang, K.; Qi, T.; Zhu, Z.; Xue, X.; Shen, X. Strengthening of a reinforced concrete bridge with a composite of prestressed steel wire ropes embedded in polyurethane cement. J. Perform. Constr. Facil. 2021, 35, 04021063. [Google Scholar] [CrossRef]
- Li, K.; Liu, W.; Zhang, K.; Wang, X.; Zhu, J.; Sheikh, S. Bond behavior of stainless steel wire ropes embedded in engineered cementitious composites. Constr. Build. Mater. 2021, 281, 122622. [Google Scholar] [CrossRef]
- Kim, T.K.; Jung, W.T.; Park, J.S.; Park, H.B. Experimental study on effects of additional prestressing using fiber reinforced polymers and strands on deterioration of PSC bridge structure. Polymers 2022, 14, 1115. [Google Scholar] [CrossRef]
- Obaydullah, M.; Jumaat, Z.; Alengaram, U.J.; ud Darain, K.M.; Huda, M.N.; Hosen, M.A. Prestressing of NSM steel strands to enhance the structural performance of prestressed concrete beams. Constr. Build. Mater. 2016, 129, 289–301. [Google Scholar] [CrossRef]
- Jia, L.; Tao, L.; Hong, H.; Jian, J.; Zhi, H. Experimental test on bridge reinforcement by enlarging section-prestress method. E3S Web Conf. EDP Sci. 2020, 165, 04015. [Google Scholar] [CrossRef]
- Liu, Z.Q.; Guo, Z.X.; Ye, Y. Flexural behaviour of RC beams strengthened with prestressed steel wire ropes polymer mortar composite. J. Asian Archit. Build. Eng. 2022, 21, 48–65. [Google Scholar] [CrossRef]
- Park, J.; Park, S.K.; Hong, S. Experimental study of flexural behavior of reinforced concrete beam strengthened with prestressed textile-reinforced mortar. Materials 2020, 13, 1137. [Google Scholar] [CrossRef]
- Lei, J.; Feng, F.; Xu, S.; Wen, W.; He, X. Study on mechanical properties of modified polyurethane concrete at different temperatures. Appl. Sci. 2022, 12, 3184. [Google Scholar] [CrossRef]
- Wang, Y.; Sun, Q.; Ding, H.; Leng, S.; Cui, H.; Xu, B.; Cui, H. Investigation of interfacial bonding properties of polyurethane concrete and cement concrete/steel reinforcement. Adv. Mater. Sci. Eng. 2022, 1, 5644468. [Google Scholar] [CrossRef]
- Jiang, K.; Su, Q.; Bai, H.; Feng, X. Researching on the mechanic properties of early-strength polyurethane concrete and its affecting factors. Appl. Mech. Mater. 2014, 518, 225–230. [Google Scholar] [CrossRef]
- Jiang, Z.; Tang, C.; Yang, J.; You, Y.; Lv, Z. A lab study to develop polyurethane concrete for bridge deck pavement. Int. J. Pavement Eng. 2022, 23, 1404–1412. [Google Scholar] [CrossRef]
- Chen, J.; Ma, X.; Wang, H.; Xie, P.; Huang, W. Experimental study on anti-icing and deicing performance of polyurethane concrete as road surface layer. Constr. Build. Mater. 2018, 161, 598–605. [Google Scholar] [CrossRef]
- Yahye, M.A.; Liu, L.; Wu, H.; Sun, Y.; Sun, H.; Ma, J.; Zhang, L. Experimental research on mechanical properties of Fiber-Reinforced Polyurethane Elastic Concrete (FRPEC). Constr. Build. Mater. 2022, 328, 126929. [Google Scholar]




























| Chemical Composition | Percentage (%) | 
|---|---|
| Polyether | 25 | 
| Isocyanate | 25 | 
| Portland cement | 45 | 
| Molecular sieve | 5 | 
| Group | Beam Number | Number of Steel Wire | Prestress (MPa) | Embedded Material | Material Thickness (mm) | Anchorage Form | Preload | Reinforcement under Load | 
|---|---|---|---|---|---|---|---|---|
| Control beam | CB | - | - | - | - | - | - | - | 
| PSW | A1 | 5 | 700 | - | - | Anchor gear | - | - | 
| A2 | 5 | 700 | Mortar | 20 | Anchor gear + Mortar | - | - | |
| A2-1 | 7 | 700 | Mortar | 20 | Anchor gear + Mortar | - | - | |
| A3 | 5 | 700 | Mortar | 20 | Anchor gear + Mortar | Preload | - | |
| PUC–PSW | A4 | 0 | 700 | PUC | 20 | - | - | - | 
| A5 | 5 | 700 | PUC | 20 | Anchor gear + PUC | - | - | |
| A6 | 5 | 700 | PUC | 20 | PUC | - | - | |
| A7 | 5 | 700 | PUC | 20 | Anchor gear + PUC | Preload | - | |
| A8 | 5 | 700 | PUC | 30 | Anchor gear + PUC | - | - | |
| A9 | 2 | 700 | PUC | 20 | Anchor gear + PUC | - | - | |
| A9-1 | 2 | 700 | PUC | 25 | Anchor gear + PUC | - | - | 
| Beam Number | Cross Section | Beam Number | Cross Section | 
|---|---|---|---|
| A1 |  | A5, A6, A7 |  | 
| A2, A3 |  | A8 |  | 
| A2-1 |  | A9 |  | 
| A4 |  | A9-1 |  | 
| Group Number | Beam Number | Cracking Load (kN) | Increase Ratio (%) | Yield Load (kN) | Increase Ratio (%) | Ultimate Load (kN) | Increase Ratio (%) | 
|---|---|---|---|---|---|---|---|
| Control beam | CB | 20 | - | 74.3 | - | 101.0 | - | 
| Steel wire | A1 | 40 | 100 | 91.4 | 23.0 | 143.1 | 41.7 | 
| A2 | 40 | 100 | 96.7 | 30.1 | 141.3 | 39.9 | |
| A2-1 | 50 | 150 | 103.2 | 38.9 | 161.8 | 60.2 | |
| A3 | - | - | 94.1 | 26.6 | 144.5 | 43.1 | |
| PUC–PSW | A4 | 25 | 25 | 98.8 | 33.0 | 168.7 | 67.0 | 
| A5 | 45 | 125 | 120.0 | 61.5 | 204.3 | 102.3 | |
| A6 | 50 | 150 | 112.0 | 50.7 | 133.1 | 31.8 | |
| A7 | - | - | 118.6 | 59.6 | 192.2 | 90.3 | |
| A8 | 55 | 175 | 137.0 | 84.4 | 228.5 | 126.2 | |
| A9 | 30 | 50 | 110.3 | 48.5 | 179.0 | 77.2 | |
| A9-1 | 35 | 75 | 130.2 | 75.2 | 207.8 | 105.7 | 
| Disclaimer/Publisher’s Note: The statements, opinions and data contained in all publications are solely those of the individual author(s) and contributor(s) and not of MDPI and/or the editor(s). MDPI and/or the editor(s) disclaim responsibility for any injury to people or property resulting from any ideas, methods, instructions or products referred to in the content. | 
© 2024 by the authors. Licensee MDPI, Basel, Switzerland. This article is an open access article distributed under the terms and conditions of the Creative Commons Attribution (CC BY) license (https://creativecommons.org/licenses/by/4.0/).
Share and Cite
Li, W.; Qiu, J.; Wang, Y.; Zheng, X.; Zhang, K. Test and Analysis of Concrete Beams Reinforced by Polyurethane Concrete–Prestressed Steel Wires (PUC–PSWs). Buildings 2024, 14, 2746. https://doi.org/10.3390/buildings14092746
Li W, Qiu J, Wang Y, Zheng X, Zhang K. Test and Analysis of Concrete Beams Reinforced by Polyurethane Concrete–Prestressed Steel Wires (PUC–PSWs). Buildings. 2024; 14(9):2746. https://doi.org/10.3390/buildings14092746
Chicago/Turabian StyleLi, Wei, Jiaqi Qiu, Yi Wang, Xilong Zheng, and Kexin Zhang. 2024. "Test and Analysis of Concrete Beams Reinforced by Polyurethane Concrete–Prestressed Steel Wires (PUC–PSWs)" Buildings 14, no. 9: 2746. https://doi.org/10.3390/buildings14092746
APA StyleLi, W., Qiu, J., Wang, Y., Zheng, X., & Zhang, K. (2024). Test and Analysis of Concrete Beams Reinforced by Polyurethane Concrete–Prestressed Steel Wires (PUC–PSWs). Buildings, 14(9), 2746. https://doi.org/10.3390/buildings14092746
 
        

 
       