Two-Stage Analysis Method for the Mechanical Response of Adjacent Existing Tunnels Caused by Foundation Pit Excavation
Abstract
1. Introduction
2. Two-Stage Analysis Method
3. Additional Stress Calculation of the First Stage
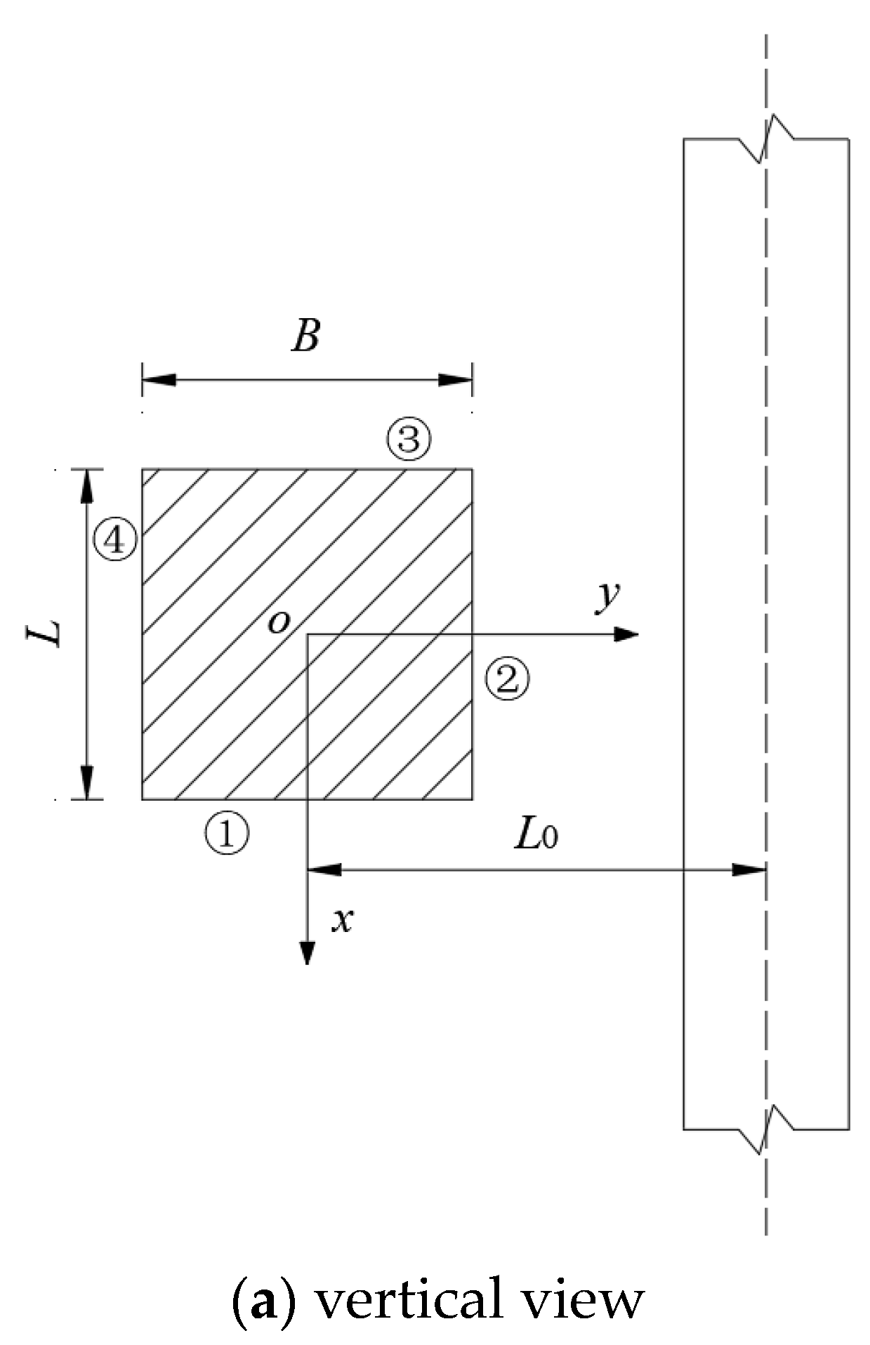
3.1. Base and Foundation Pit Side Wall Unloading
3.2. Considering the Influence of the Enclosure Structure
3.3. Considering the Precipitation Effect
3.4. Considering the Double-Hole Effect
3.5. Considering the Residual Stress of Soil and Soil Nonlinearity
4. The Second Stage of the Tunnel Displacement and Internal Force Calculation
4.1. Considering the Shear Action
4.2. Considering the Effect of Lateral Soil
4.3. Considering the Buried Depth Effect of the Tunnel
4.4. Considering the Non-Uniformity of Soil
4.5. Considering the Effect of the Segment Joint and the Constraint Effect of the Tunnel End
4.6. Considering the Nonlinearity of the Segment Joint and Foundation
5. Engineering Case Verification
6. Conclusions
Author Contributions
Funding
Data Availability Statement
Acknowledgments
Conflicts of Interest
References
- Tang, C.Z.; Peng, X.Q.; Wang, Y. Analysis and treatment of accidents in foundation pit engineering of a municipal tunnel in Wuhan. Chin. J. Geotech. Eng. 2012, 34, 735–738. (In Chinese) [Google Scholar]
- Xiao, X.C.; Yuan, J.R.; Zhu, Y.F. Analysis of the causes of the accident at section C824 of the metro loop line in Singapore (I)—general situation of the project and the accident process. Mod. Tunn. Technol. 2009, 46, 66–72. (In Chinese) [Google Scholar]
- Zhang, H.; Zhang, C.R.; Shi, Z.H.; Huang, M.S.; Wang, H.R.; Zhang, Z.J. Numerical simulation of the influence of foundation pit excavation on tunnel based on IGS small strain model. Chin. J. Geotech. Eng. 2021, 43, 72–75. (In Chinese) [Google Scholar]
- Li, L.; Liu, G.B.; Lu, X.; Ye, J.N.; Huang, Q. Grouting protection test and numerical simulation of subway tunnel excavation adjacent to foundation pit. Chin. J. Undergr. Space Eng. 2021, 17, 387–396. (In Chinese) [Google Scholar]
- Wang, P.C.; Wang, J.; Zhou, S.Q. Numerical simulation analysis of dewatering excavation construction of deep foundation pit across existing tunnel. J. Hefei Univ. Technol. (Nat. Sci.) 2020, 43, 499–506. (In Chinese) [Google Scholar]
- Zuo, Z.B.; Huang, Y.L.; Wu, X.J.; Wang, X. Numerical simulation of the influence of foundation pit construction on the double-track subway tunnel below. J. Beijing Jiaotong Univ. 2019, 43, 50–56. (In Chinese) [Google Scholar]
- Wang, P.C.; Fang, X.; Xu, W.; Wang, J. Numerical simulation of excavation process of existing tunnel foundation pit. J. Hefei Univ. Technol. (Nat. Sci.) 2019, 42, 506–511+540. (In Chinese) [Google Scholar]
- Ma, B.H. Deformation Monitoring and Numerical Simulation of Foundation Pit above Subway Tunnel. Master’s Thesis, Hubei University of Technology, Wuhan, China, 2019. (In Chinese). [Google Scholar]
- Zhang, Z.G.; Xi, X.G.; Wu, L. Numerical simulation and field measurement analysis of the influence of foundation pit excavation on adjacent large-diameter river-crossing tunnels. Tunn. Constr. 2018, 38, 1480–1488. (In Chinese) [Google Scholar]
- Xu, S.F.; Zhou, Q.H.; Zheng, W.H.; Zhu, Y.Q.; Wang, Z. The influence of foundation pit construction on the deformation of adjacent operating tunnels. Chin. J. Geotech. Eng. 2021, 43, 804–812. (In Chinese) [Google Scholar]
- Xu, Z.H.; Zong, L.D.; Shen, J.; Wang, W.D. Deformation analysis of soft soil deep foundation pit adjacent to subway tunnel. Chin. J. Geotech. Eng. 2019, 41, 41–44. (In Chinese) [Google Scholar]
- Ding, Z.; Zhang, X.; Jin, J.K.; Wang, L.Z. Whole process excavation of foundation pit and deformation measurement analysis of adjacent subway tunnel. Rock Soil Mech. 2019, 40, 415–423. (In Chinese) [Google Scholar]
- Chen, R.P.; Liu, S.L.; Meng, F.Y.; Ye, J.N. Centrifugal model test on the influence of foundation pit excavation on the side tunnel in soft clay stratum. Chin. J. Geotech. Eng. 2020, 42, 1132–1138. (In Chinese) [Google Scholar]
- Xu, X.B.; Hu, Q.; Zeng, L.B.; Wang, J.C.; Wang, Z. Model test study on the influence of isolation piles on the side tunnel of foundation pit in dry sand foundation. Chin. J. Rock Mech. Eng. 2020, 39, 3015–3022. (In Chinese) [Google Scholar]
- Chen, R.P.; Ashraf, A.M.; Meng, F.Y. Centrifugal model test on the influence of foundation pit excavation on the side tunnel and the effect of partition wall. Chin. J. Geotech. Eng. 2018, 40, 6–11. (In Chinese) [Google Scholar]
- Liang, F.Y.; Chu, F.; Song, Z.; Li, Y.S. Centrifugal model test on deformation characteristics of deep foundation pit adjacent to subway hub. Rock Soil Mech. 2012, 33, 657–664. (In Chinese) [Google Scholar]
- Rui, R.; Zhai, Y.X.; Xu, Y.Q.; He, Q. Experimental study on the influence of adjacent stratum loss on earth pressure and surface settlement of underground retaining structure. Chin. J. Geotech. Eng. 2021, 43, 644–652. (In Chinese) [Google Scholar]
- Ji, M.J.; Liu, G.B. Displacement prediction method of subway tunnel caused by excavation unloading. J. Tongji Univ. (Nat. Sci.) 2001, 29, 531–535. (In Chinese) [Google Scholar]
- Zhang, J.F.; Wang, J.H.; Wen, S.L. Nonlinear rheology of underlying tunnel uplift caused by soft soil foundation pit. Civ. Constr. Environ. Eng. 2012, 34, 10–15. (In Chinese) [Google Scholar]
- Guo, Y.C.; Li, C.L.; Jin, J.W.; Li, M.Y. Research on the uplift deformation and calculation depth of the underlying tunnel caused by foundation pit excavation. J. Shenyang Jianzhu Univ. (Nat. Sci.) 2019, 35, 875–884. (In Chinese) [Google Scholar]
- Sun, H.S.; Chen, Y.D.; Zhang, J.H.; Kuang, T.S. Analytical investigation of tunnel deformation caused by circular foundation pit excavation. Comput. Geotech. 2019, 106, 193–198. [Google Scholar] [CrossRef]
- Shen, G.Z.; Zhao, H.H.; Zhao, K.; Li, Y. Hermite difference method for tunnel longitudinal displacement caused by deep foundation pit excavation. Chin. J. Undergr. Space Eng. 2020, 16, 841–848. (In Chinese) [Google Scholar]
- Liu, J.W.; Shi, C.H.; Lei, M.F.; Cao, C.Y.; Lin, Y.X. Improved analytical method for evaluating the responses of a shield tunnel to adjacent excavations and its application. Tunn. Undergr. Space Technol. 2020, 98, 103339. [Google Scholar] [CrossRef]
- Zhou, Z.L.; Chen, S.G.; Tu, P.; Zhang, H.S. An analytic study on the deflection of subway tunnel due to adjacent excavation of foundation pit. J. Mod. Transp. 2015, 23, 287–297. [Google Scholar] [CrossRef]
- Zhou, Z.L.; Chen, S.G.; Chen, L.; Tu, P. Simplified theoretical analysis of the influence of foundation pit construction on the uplift deformation of the underlying subway tunnel. Chin. J. Geotech. Eng. 2015, 37, 2224–2234. (In Chinese) [Google Scholar]
- Zhou, J.; Zhou, W.; Chen, B.Q. Calculation of additional stress caused by irregular foundation pit excavation adjacent to subway tunnel. J. Chongqing Jiaotong Univ. (Nat. Sci.) 2017, 36, 17–21++27. (In Chinese) [Google Scholar]
- Zhang, Z.G.; Jiang, K.M.; Wang, Z.W.; Xing, L.; Wei, G.; Ding, Z. Theoretical analysis of longitudinal deformation of existing tunnels induced by foundation pit excavation considering Pasternak foundation model. Tunn. Constr. 2020, 40, 57–67. (In Chinese) [Google Scholar]
- Zhang, B.Q.; Huang, W.; Chen, F.Q.; Wang, Q.Y. Analytical Study on the Transverse Internal Forces of Shield Tunnel Segments due to Adjacent Excavations in Soft Clays. KSCE J. Civ. Eng. 2021, 25, 4842–4855. [Google Scholar] [CrossRef]
- Mindlin, R.D. Force at a point in the interior of a semi-infinite solid. Physics 1936, 7, 195–202. [Google Scholar] [CrossRef]
- Chen, Y.; Li, Y.S. Calculation method of tunnel uplift caused by excavation unloading. Chin. J. Undergr. Space Eng. 2005, 1, 91–94. (In Chinese) [Google Scholar]
- Wang, T.; Li, H.; Xu, R.Q. Deformation analysis of shield tunnel caused by large area loading (unloading) above. Mod. Transp. Technol. 2008, 5, 29–31+57. (In Chinese) [Google Scholar]
- Zhang, Z.G.; Huang, M.S.; Wang, W.D. Influence of adjacent excavation on existing soft soil tunnel. Rock Soil Mech. 2009, 30, 1373–1380. (In Chinese) [Google Scholar]
- Jiang, Z.H.; Zhang, Y.X. Calculation method of influence of foundation pit excavation on longitudinal displacement of adjacent tunnel. Civ. Constr. Environ. Eng. 2013, 35, 7–11+39. (In Chinese) [Google Scholar]
- Zhang, Z.G.; Zhang, M.X.; Wang, W.D. Two-stage analysis of the influence of foundation pit excavation on adjacent subway tunnels. Rock Soil Mech. 2011, 32, 2085–2092. (In Chinese) [Google Scholar]
- Zhang, Z.G.; Huang, M.S.; Wang, W.D. Evaluation of deformation response for adjacent tunnels due to soil unloading in excavation engineering. Tunn. Undergr. Space Technol. 2013, 38, 244–253. [Google Scholar] [CrossRef]
- Wei, G.; Zhao, C.L. Calculation method of additional load of adjacent subway tunnel caused by foundation pit excavation. Chin. J. Rock Mech. Eng. 2016, 35, 3408–3417. (In Chinese) [Google Scholar]
- Wei, G.; Zhao, C.L. Research on displacement calculation of adjacent existing subway tunnels caused by foundation pit excavation. Mod. Tunn. Technol. 2018, 55, 124–132. (In Chinese) [Google Scholar]
- Yang, G.H. Practical calculation method of deep foundation pit supporting structure and its application. Rock Soil Mech. 2004, 25, 1885–1896+1902. (In Chinese) [Google Scholar]
- Feng, S.J.; Chen, X.X.; Gao, G.Y.; Zhang, J.X. Analysis of mechanical behavior of diaphragm wall by iterative incremental method. Rock Soil Mech. 2009, 30, 226–230. (In Chinese) [Google Scholar]
- Zhang, X.M.; Ou, X.F.; Yang, J.S.; Fu, J.Y. Deformation response of an existing tunnel to upper excavation of foundation pit and associated dewatering. Int. J. Geomech. 2017, 17, 04016112. [Google Scholar] [CrossRef]
- Ou, X.F.; Zhang, X.M.; Liu, X.Q.; Yang, J.S.; Liu, J.Q.; Han, X.F. Analytical calculation method for deformation of underlying tunnel caused by foundation pit excavation and dewatering. J. China Railw. Soc. 2019, 41, 147–154. (In Chinese) [Google Scholar]
- Li, H.B. Research on Deformation Mechanism and Control of Subway Tunnel Caused by Shaft Excavation of Large Foundation Pit. Ph.D. Thesis, China University of Mining and Technology, Beijing, China, 2021. (In Chinese). [Google Scholar]
- Zhou, Z.L.; Chen, S.G.; Zhang, H.S.; Tu, P.; Zhang, H. Research on the calculation method of the influence of open-cut unloading on the deformation of the underlying double-hole subway tunnel. J. China Railw. Soc. 2016, 38, 109–117. (In Chinese) [Google Scholar]
- Bu, K.Z.; Zheng, X.C.; Zhang, W.Z.; Guo, J.R.; Shen, X. Calculation method of displacement of existing double-track subway tunnel under composite foundation caused by foundation pit excavation. Tunn. Constr. 2019, 39, 783–794. (In Chinese) [Google Scholar]
- Bu, K.Z.; Zheng, X.C.; Zhang, W.Z.; Guo, J.R.; Shen, X. Study on the calculation of additional load of double-line subway tunnel under composite foundation caused by foundation pit excavation. Railw. Stand. Des. 2019, 63, 126–133. (In Chinese) [Google Scholar]
- Zhang, Q. Vertical Deformation and Its Control of Existing Subway Tunnels under Excavation Unloading. Ph.D. Thesis, Beijing Jiaotong University, Beijing, China, 2012. (In Chinese). [Google Scholar]
- Zhang, J.F.; Chen, J.J.; Wang, J.H.; Zhu, Y.F. Prediction of tunnel displacement induced by adjacent excavation in soft soil. Tunn. Undergr. Space Technol. 2013, 36, 24–33. [Google Scholar] [CrossRef]
- Zhang, S.M.; Feng, T.; Wang, X.Q.; Sun, M.M. Analytical solution of vertical deformation caused by symmetrical excavation of foundation pit. Sci. Technol. Eng. 2016, 16, 263–270. (In Chinese) [Google Scholar]
- Liu, L. Research on the Influence of Foundation Pit Excavation on the Deformation of the Existing Subway Tunnel. Master’s Thesis, Xi’an University of Architecture and Technology, Xi’an, China, 2021. (In Chinese). [Google Scholar]
- Xu, G.Y.; Huang, S.Y. Calculation and analysis of the influence of foundation pit excavation on the deformation of the underlying shield tunnel. J. Chongqing Jiaotong Univ. (Nat. Sci.) 2021, 40, 78–85. (In Chinese) [Google Scholar]
- Winkler, E. Die Lehre von der Elasticitaet und Festigkeit (The Theory of Elasticity and Strength); Dominicus: Prag, Czechoslovakia, 1867. [Google Scholar]
- Kneifati, M.C. Analysis of plates on a Kerr foundation model. J. Eng. Mec. 1985, 111, 1325–1342. [Google Scholar] [CrossRef]
- Pasternak, P.L. On a New Method of Analysis of an Elastic Foundation by Means of Two-Constants. Ph.D. Thesis, Gosudarstvennoe Izdatelstvo Literaturi po Stroitelstvu I Arkhitecture, Moscow, Soviet, 1954. [Google Scholar]
- Vlasov, V.Z. Beams, Plates and Shells on Elastic Foundations; Israel Program for Scientific Translations: Jerusalem, Soviet, 1966. [Google Scholar]
- Kerr, A.D. A study of a new foundation model. Acta Mech. 1965, 1, 135–147. [Google Scholar] [CrossRef]
- Timoshenko, S.P. On the correction for shear of the differential equation for transverse vibration of prismatic bars. Philos. Mag. 1921, 41, 744–746. [Google Scholar] [CrossRef]
- Zong, X. Research on the longitudinal deformation of the underlying tunnel caused by the unloading of foundation pit excavation. Rock Soil Mech. 2016, 37, 571–577+596. (In Chinese) [Google Scholar]
- Liang, R.Z.; Xia, T.D.; Huang, M.S.; Lin, C.G. Simplified analytical method for evaluating the effects of adjacent excavation on shield tunnel considering the shearing effect. Comput. Geotech. 2017, 81, 167–187. [Google Scholar] [CrossRef]
- Liang, R.Z.; Lin, C.G.; Xia, T.D.; Wu, S.M. Analysis of longitudinal deformation of adjacent tunnels due to excavation considering tunnel shear effect. Chin. J. Rock Mech. Eng. 2017, 36, 223–233. (In Chinese) [Google Scholar]
- Feng, G.H.; Xu, C.J.; Zheng, M.W.; Xue, W.J.; Yang, K.F.; Guan, L.X. Research on the longitudinal deformation of the existing tunnel caused by the excavation of the foundation pit under the consideration of shear deformation. J. China Railw. Soc. 2022, 44, 132–141. (In Chinese) [Google Scholar]
- Feng, G.H.; Chen, G.Z.; Zhang, D.; Sun, F.; Wan, P.; Li, Y.J.; Yang, Y.; Xu, C.J. Analytical solution of uplift deformation of existing tunnel induced by excavation of foundation pit. J. Railw. Sci. Eng. 2023, 20, 3908–3917. (In Chinese) [Google Scholar]
- Feng, G.H.; Xu, X.; Hou, S.L.; Fan, R.D.; Yang, K.F.; Guan, L.X.; Xu, C.J. The excavation of foundation pit based on Kerr foundation model causes the deformation of the existing tunnel. J. Shanghai Jiaotong Univ. 2022, 56, 474–485. (In Chinese) [Google Scholar]
- Liu, J.W.; Shi, C.H.; Lei, M.F.; Peng, L.M.; Cao, C.Y.; Lin, Y.X. Analytical calculation method for the influence of foundation pit excavation on the underlying subway tunnel. J. Cent. South Univ. (Sci. Technol.) 2019, 50, 2215–2225. (In Chinese) [Google Scholar]
- Huang, X.; Huang, H.W.; Zhang, D.M. Study on longitudinal deformation of existing shield tunnel caused by excavation unloading. Chin. J. Geotech. Eng. 2012, 34, 1241–1249. (In Chinese) [Google Scholar]
- Tang, X. Simplified calculation method for deformation of existing tunnel caused by foundation pit excavation. Railw. Stand. Des. 2023, 67, 80–87. (In Chinese) [Google Scholar]
- Vesić, A.B. Bending of beams resting on isotropic elastic solid. J. Eng. Mech. Div. 1961, 87, 35–53. [Google Scholar] [CrossRef]
- Attewell, P.B.; Yeates, J.; Selby, A.R. Soil Movements Induced by Tunnelling and Their Effects on Pipelines and Structures; Blackie and Son Ltd.: London, UK, 1986; pp. 128–132. [Google Scholar]
- Yu, J.; Zhang, C.R.; Huang, M.S. Soil–pipe interaction due to tunnelling: Assessment of Winkler modulus for underground pipelines. Comput. Geotech. 2013, 50, 17–28. [Google Scholar] [CrossRef]
- Liang, R.Z.; Wu, W.B.; Yu, F.; Jiang, G.S.; Liu, J.W. Simplified method for evaluating shield tunnel deformation due to adjacent excavation. Tunn. Undergr. Space Technol. 2018, 71, 94–105. [Google Scholar] [CrossRef]
- Xu, R.Q.; Cheng, K.; Ying, H.W.; Lin, C.G.; Liang, R.Z.; Feng, S.Y. Deformation response of tunnel under unloading of foundation pit considering buried depth and shear effect. Rock Soil Mech. 2020, 41, 195–207. (In Chinese) [Google Scholar]
- Cheng, K.; Xu, R.Q.; Ying, H.W.; Liang, R.Z.; Lin, C.G.; Gan, X.L. Simplified algorithm for deformation response of existing tunnel under unloading of overlying foundation pit. Chin. J. Rock Mech. Eng. 2020, 39, 637–648. (In Chinese) [Google Scholar]
- Ying, H.W.; Cheng, K.; Yu, J.L.; Xu, R.Q.; Qiu, Z.J.; Zhan, X.B.; Qin, J.S.; Lou, C.H. Displacement prediction of adjacent shield tunnel induced by foundation pit excavation considering continuous foundation deformation. J. Zhejiang Univ. (Eng. Sci.) 2021, 55, 318–329. (In Chinese) [Google Scholar]
- Huang, M.H.; Hu, Z.G.; Zhou, Z.L.; Zhou, S.H.; Tan, X. Hermite spectrum analysis method for vertical deformation of underlying tunnel caused by foundation pit excavation. J. Saf. Environ. 2024, 24, 488–495. (In Chinese) [Google Scholar]
- Jiang, J.; Qiu, J.T.; Ou, X.D.; Long, T.Y.; Hou, K.W.; Lai, Z.R. Simplified calculation method of deformation of underlying subway tunnel caused by foundation pit excavation. J. Railw. Soc. 2021, 43, 118–126. (In Chinese) [Google Scholar]
- Burmister, D.M. The general theory of stresses and displacements in layered systems. I. J. Appl. Phys. 1945, 16, 89–94. [Google Scholar] [CrossRef]
- Burmister, D.M. The general theory of stresses and displacements in layered soil systems. II. J. Appl. Phys. 1945, 16, 126–127. [Google Scholar] [CrossRef]
- Burmister, D.M. The general theory of stresses and displacements in layered soil systems. III. J. Appl. Phys. 1945, 16, 296–302. [Google Scholar] [CrossRef]
- Zhou, S.H.; He, C.; Xiao, J.H. Energy calculation method for deformation of shield tunnel adjacent to subway caused by foundation pit excavation under staggered platform effect. China Railw. Sci. 2016, 37, 53–60. (In Chinese) [Google Scholar]
- Wei, G.; Yu, G.H.; Zhang, J.; Zhang, Z.G.; Wang, L.Z. Research on calculation of shear dislocation deformation of adjacent shield tunnel caused by foundation pit excavation. J. China Railw. Soc. 2019, 41, 149–155. (In Chinese) [Google Scholar]
- Chen, S.; Wu, H.N.; Chen, R.P.; Shen, S.L.; Liu, Y. Study on the deformation of collinear tunnel caused by long-distance foundation pit excavation above. J. Shanghai Jiaotong Univ. 2021, 55, 698–706. (In Chinese) [Google Scholar]
- Shen, S.L.; Wu, H.N.; Cui, Y.J.; Yin, Z.Y. Long-term settlement behaviour of metro tunnels in the soft deposits of Shanghai. Tunn. Undergr. Space Technol. 2014, 40, 309–323. [Google Scholar] [CrossRef]
- Wei, G.; Hong, W.Q.; Wei, X.J.; Zhang, X.H.; Luo, J.W. Calculation of rotation and dislocation deformation of adjacent shield tunnel caused by foundation pit excavation. Chin. J. Geotech. Eng. 2019, 41, 1251–1259. (In Chinese) [Google Scholar]
- Wei, G.; Zhang, X.H. Calculation of rotation and dislocation deformation of underlying shield tunnel caused by foundation pit excavation. J. Cent. South Univ. (Sci. Technol.) 2019, 50, 2273–2284. (In Chinese) [Google Scholar]
- Wei, G.; Zhao, Y.; Sun, Q. Deformation calculation of shield tunnel with anti-floating anchor caused by foundation pit excavation. J. Cent. South Univ. (Sci. Technol.) 2021, 52, 4158–4167. (In Chinese) [Google Scholar]
- Zhang, X.H. Study on the Influence of Foundation Pit Excavation on the Stress and Deformation of Shield Tunnel Structure. Master’s Thesis, Zhejiang University, Hangzhou, China, 2020. (In Chinese). [Google Scholar]
- Yu, Z.W. Mechanical Model and Application of Adjacent Construction Crossing Existing Shield Tunnel. Ph.D. Thesis, China University of Mining and Technology, Beijing, China, 2021. (In Chinese). [Google Scholar]
- Wang, R.L. Analysis of longitudinal deformation of shield tunnel in Shanghai metro. Undergr. Eng. Tunn. 2009, 1–6+56. (In Chinese) [Google Scholar]
- Wang, Z.X.; Shi, C.H.; Gong, C.J.; Cao, C.Y.; Liu, J.W.; Peng, Z. Analytical method for calculating the influence of excavation of adjacent station (working well) foundation pit on the underlying shield tunnel. Rock Soil Mech. 2022, 43, 2176–2190. (In Chinese) [Google Scholar]
- Zhang, Z.G.; Chen, J.; Zhu, Z.G.; Pan, Y.T.; Wu, Z.T.; Chen, Z.K. Analysis of lateral deformation of adjacent subway tunnel induced by excavation of foundation pit considering nonlinear effect of lining joint. China J. Highw. Transp. 2023. in press (In Chinese). Available online: https://kns.cnki.net/kcms/detail/61.1313.U.20221104.1642.003.html (accessed on 16 June 2024).
- Kang, C.; Ye, C.; Liang, R.Z.; Sun, L.W.; Fang, Y.X.; Wu, W.B. Study on longitudinal nonlinear deformation of underlying shield tunnel induced by foundation pit excavation. Chin. J. Rock Mech. Eng. 2020, 39, 2341–2350. (In Chinese) [Google Scholar]
- Wang, L.X.; Liang, R.Z.; Li, Z.C.; Kang, C.; Xiao, M.Z.; Wu, W.B.; Gao, K.; Guo, Y. Study on uplift deformation of existing shield tunnel induced by excavation of foundation pit. Eng. Mech. 2022, 39, 130–140. (In Chinese) [Google Scholar]
- Liang, R.Z. Simplified analytical method for evaluating the effects of overcrossing tunnelling on existing shield tunnels using the nonlinear Pasternak foundation model. Soils Found. 2019, 59, 1711–1727. [Google Scholar] [CrossRef]


















| Name of Stratum or Structure | Thickness or Diameter h/r (m) | Volumetric Weight γ (kN/m3) | Elastic Modulus E (MPa) | Poisson Ratio ν | Cohesion c (kPa) | Angle of Internal Friction φ (°) |
|---|---|---|---|---|---|---|
| Stratum | 60.00 | 18.50 | 20.00 | 0.30 | 35.00 | 15.00 |
| Tunnel structure | outside diameter 6.70 inside diameter 5.30 | 24.00 | 32,500.00 | 0.25 | — | — |
| Diaphragm wall | 0.80 | 26.30 | 31,500.00 | 0.20 | — | — |
| Steel support | outside diameter 0.61 inside diameter 0.58 | 78.50 | 210,000.00 | 0.30 | — | — |
| Parameters | Definition | Parameters | Definition |
|---|---|---|---|
| The additional stress on the tunnel caused by the unloading of the soil at the bottom of the foundation pit after excavation | h1 | Water level before precipitation | |
| Additional stress on the tunnel caused by unloading the soil on one side of the pit wall after excavation of the foundation pit | h2 | Water level after precipitation | |
| The total additional stress on the tunnel caused by the unloading of the soil at the bottom and walls of the foundation pit after excavation | γw | Volume weight of water | |
| x1 | The horizontal coordinate of a point on the tunnel axis | i | Water surface slope or gradient |
| L0 | The horizontal distance between the center of the foundation pit and the center of the tunnel | Additional effective stress in soil caused by precipitation | |
| z0 | Depth of tunnel | b | Contact pressure between tunnel b and soil |
| (ξ, η) | A point in the uniformly distributed rectangular load at the bottom of the pit | Lm | Integration range along the b-axis of the tunnel |
| (η, τ) | A point in the triangular distribution load on the sidewall | α | Residual unloading stress coefficient |
| γ | Volume weight of soil | h | When calculating residual stress, calculate the thickness of the soil above the point |
| K0 | Coefficient of lateral pressure | q(x) | Distributed loads on tunnels |
| Ω | Integral region on the bottom area of the pit | w(x) | The deflection of the tunnel |
| Γ | Integral region on the sidewall area | k, c | The foundation bed coefficient |
| ν | Poisson’s ratio of soil | G, 2t | Shear stiffness of tunnels |
| R1 | D | The outer diameter of the tunnel | |
| R2 | EI | Bending stiffness of tunnels | |
| T1 | T1, T2 | Lateral soil force on tunnel | |
| T2 | δ | Coefficient that can consider the influence of tunnel depth | |
| L | The length of the foundation pit | Es | The elastic modulus of soil |
| B | The width of the foundation pit | Δhi | The thickness of the i-th layer of soil |
| d | The depth of the foundation pit | Kθ | Rotational stiffness |
| c | Cohesive of soil | qu | Ultimate foundation reaction force |
| φ | Angle of internal friction of soil | ku | The ratio of the ultimate foundation reaction qu to the required deformation of the foundation soil |
Disclaimer/Publisher’s Note: The statements, opinions and data contained in all publications are solely those of the individual author(s) and contributor(s) and not of MDPI and/or the editor(s). MDPI and/or the editor(s) disclaim responsibility for any injury to people or property resulting from any ideas, methods, instructions or products referred to in the content. |
© 2024 by the authors. Licensee MDPI, Basel, Switzerland. This article is an open access article distributed under the terms and conditions of the Creative Commons Attribution (CC BY) license (https://creativecommons.org/licenses/by/4.0/).
Share and Cite
Mao, H.; Hu, Z.; Wang, W.; Liu, Z.; Yang, H.; Li, B.; Wang, Y. Two-Stage Analysis Method for the Mechanical Response of Adjacent Existing Tunnels Caused by Foundation Pit Excavation. Buildings 2024, 14, 2246. https://doi.org/10.3390/buildings14072246
Mao H, Hu Z, Wang W, Liu Z, Yang H, Li B, Wang Y. Two-Stage Analysis Method for the Mechanical Response of Adjacent Existing Tunnels Caused by Foundation Pit Excavation. Buildings. 2024; 14(7):2246. https://doi.org/10.3390/buildings14072246
Chicago/Turabian StyleMao, Hongtao, Zhinan Hu, Wenzheng Wang, Zhichun Liu, Huijun Yang, Biao Li, and Yonggang Wang. 2024. "Two-Stage Analysis Method for the Mechanical Response of Adjacent Existing Tunnels Caused by Foundation Pit Excavation" Buildings 14, no. 7: 2246. https://doi.org/10.3390/buildings14072246
APA StyleMao, H., Hu, Z., Wang, W., Liu, Z., Yang, H., Li, B., & Wang, Y. (2024). Two-Stage Analysis Method for the Mechanical Response of Adjacent Existing Tunnels Caused by Foundation Pit Excavation. Buildings, 14(7), 2246. https://doi.org/10.3390/buildings14072246
