Thermal Control Strategy for the Sustainable Use of Large Classrooms Responding to User Demands in a School Building
Abstract
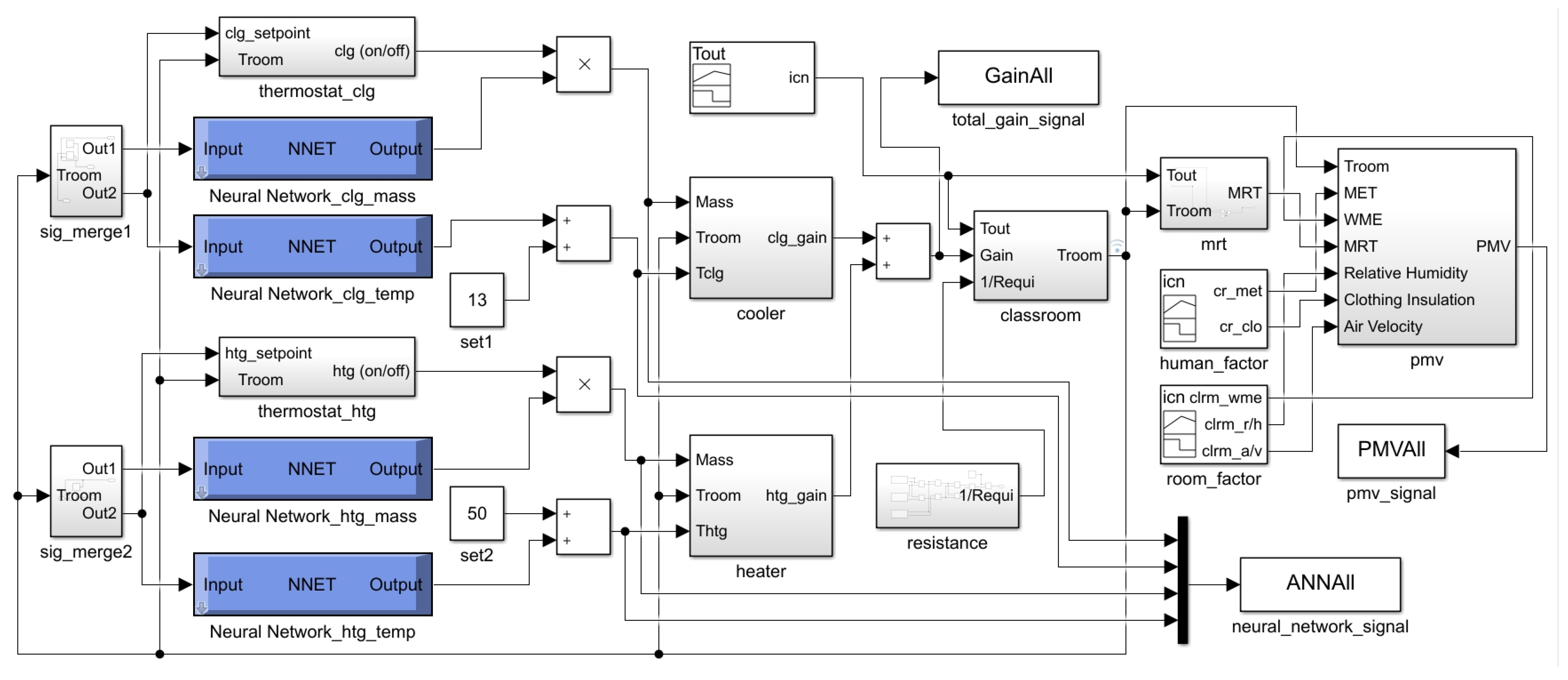
1. Thermal Controls in Building Spaces
- (1)
- Using simulation techniques, the energy consumption level and indoor thermal comfort are calculated when the class is conducted using the existing two types of classrooms.
- (2)
- Using simulation techniques, the energy consumption level and indoor thermal comfort are calculated when two types of classes are taught in one classroom.
- (3)
- By increasing the utilization of existing idle classrooms, we seek methods for sustainable school management techniques in preparation for the reduction of the school-age population.
2. Research Framework
2.1. Simulation Scenarios
2.2. Thermal Methods
2.3. Adaptive Methods
2.4. Simulation Model Methods
3. Results and Discussion
4. Conclusions
Funding
Data Availability Statement
Conflicts of Interest
Nomenclature
| A | area of materials (m2) |
| c | specific heat capacity (J/kg·°C) |
| D | depth or thickness of materials (m) |
| fcl | ratio of clothed surface area to DuBois surface |
| hc | convection heat transfer coefficient (W/m2·°C) |
| hin, hout | convection heat transfer coefficient inside, outside (W/m2·°C) |
| hr | radiative heat transfer coefficient |
| k | thermal conductivity (W/m·°C) |
| L | thermal load (J) |
| ṁht | mass flow-rate from the thermal system (kg/h) |
| ṁin | mass flow-rate into the room (kg/h) |
| ṁout | mass flow-rate from the room (kg/h) |
| mrm | mass flow-rate inside the room (kg) |
| M | metabolic rate (W/ m2·h) |
| heat loss of the metabolic process | |
| Qloss | heat loss by convection and transmission (J) |
| Qgain | heat gain by convection and transmission (J) |
| R | thermal resistance (°C/W) |
| t | time (h) |
| Ta | temperature of air (°C) |
| Tcl | mean surface temperature of a clothed body |
| Tht | temperature of air from the thermal system (°C) |
| Tout | temperature of outdoor air (°C) |
| Trm | temperature of the room (°C) |
| Tset | temperature of the thermostat set-point (°C) |
| U | internal energy (J) |
| W | work (J) |
| Wa | ratio of air humidity |
| Wsk | ratio of saturated humidity of the skin temperature |
References
- Mckoy, D.; Tesiero, R.; Acquaah, Y.; Gokaraju, B. Review of HVAC Systems History and Future Applications. Energies 2023, 16, 6109. [Google Scholar] [CrossRef]
- Huang, G.; Ng, S.; Li, D.; Zhang, Y. State of the art review on the HVAC occupant-centric control in different commercial buildings. J. Build. Eng. 2024, 96, 110445. [Google Scholar] [CrossRef]
- Ahn, J.; Chung, D.; Cho, S. Performance analysis of space heating smart control models for energy and control effectiveness in five different climate zones. Build. Environ. 2017, 115, 316–331. [Google Scholar] [CrossRef]
- Abuhussain, M.; Alotaibi, B.; Aliero, M.; Asif, M.; Alshenaifi, M.; Dodo, Y. Adaptive HVAC System Based on Fuzzy Controller Approach. Appl. Sci. 2023, 13, 11354. [Google Scholar] [CrossRef]
- Alcalá, R.; Benítez, J.M.; Casillas, J.; Cordón, O.; Pérez, R. Fuzzy Control of HVAC Systems Optimized by Genetic Algorithms. Appl. Intell. 2003, 18, 155–177. [Google Scholar] [CrossRef]
- Ahn, J.; Cho, S.; Chung, D. Analysis of energy and control efficiencies of fuzzy logic and artificial neural network technologies in the heating energy supply system responding to the changes of user demands. Appl. Energy 2017, 190, 222–231. [Google Scholar] [CrossRef]
- Barbadilla-Martun, E.; Ragel-Bonilla, J.; Aparicio-Ruiz, P.; Guadix, J. Analysing the indoor temperature ranges for an efficient control of HVAC systems. Energy Build. 2023, 301, 113681. [Google Scholar] [CrossRef]
- Liu, X.; Wu, Y.; Wu, H. Enhancing HVAC energy management through multi-zone occupant-centric approach: A multi-agent deep reinforcement learning solution. Energy Build. 2024, 303, 113770. [Google Scholar] [CrossRef]
- Thakre, C.; Vijay, R. Impact of low-frequency noise on a residential zone due to commercial HVAC systems. J. Build. Eng. 2024, 91, 109616. [Google Scholar] [CrossRef]
- Grillone, B.; Mor, G.; Danov, S.; Cipriano, J.; Sumper, A. A data-driven methodology for enhanced measurement and verification of energy efficiency savings in commercial buildings. Appl. Energy 2021, 301, 117502. [Google Scholar] [CrossRef]
- Barone, G.; Buonomano, A.; Forzano, C.; Giuzio, G.; Palombo, A.; Russo, G. A new thermal comfort model based on physiological parameters for the smart design and control of energy-efficient HVAC systems. Renew. Sustain. Energy Rev. 2023, 173, 113015. [Google Scholar] [CrossRef]
- Xu, Z.; Wang, H.; Xing, C.; Tao, T.; Mao, J.; Liu, Y. Physics guided wavelet convolutional neural network for wind-induced vibration modeling with application to structural dynamic reliability analysis. Eng. Struct. 2023, 297, 117027. [Google Scholar] [CrossRef]
- Zhou, S.; Shah, A.; Leung, P.; Zhu, X.; Liao, Q. A comprehensive review of the applications of machine learning for HVAC. Decarbon 2023, 2, 1000023. [Google Scholar] [CrossRef]
- Ciampi, F.; Rega, A.; Diallo, T.; Pelella, F.; Choley, J.; Patalano, S. Energy consumption prediction of industrial HVAC systems using Bayesian Networks. Energy Build. 2024, 309, 114039. [Google Scholar] [CrossRef]
- Yoon, S.; Ahn, J. Comparative Analysis of Energy Use and Human Comfort by an Intelligent Control Model at the Change of Season. Energies 2020, 13, 6023. [Google Scholar] [CrossRef]
- Obradovic, D.; Alic, M.; Culo, K. The Issue of Estimating the Maintenance and Operation Costs of Buildings: A Case Study of a School. Eng 2024, 5, 1209–1231. [Google Scholar] [CrossRef]
- Turhan, C.; Atalay, A.; Akkurt, G. An Integrated Decision-Making Framework for Mitigating the Impact of Urban Heat Islands on Energy Consumption and Thermal Comfort of Residential Buildings. Sustainability 2023, 15, 9674. [Google Scholar] [CrossRef]
- Agouzoul, A.; Simeu, E.; Tabaa, M. Advancing Sustainable Building Practices: Intelligent Methods for Enhancing Heating and Cooling Energy Efficiency. Sustainability 2024, 16, 2879. [Google Scholar] [CrossRef]
- Skala, A.; Grela, J.; Laton, D.; Banczykm, K.; Markiewicz, M.; Ozadowicz, A. Implementation of Building a Thermal Model to Improve Energy Efficiency of the Central Heating System—A Case Study. Energies 2023, 16, 6830. [Google Scholar] [CrossRef]
- Ahn, J.; Cho, S. Anti-logic or common sense that can hinder machine’s energy performance: Energy and comfort control models based on artificial intelligence responding to abnormal indoor environments. Appl. Energy 2017, 204, 117–130. [Google Scholar] [CrossRef]
- Liu, X.; Gou, Z. Occupant-centric HVAC and window control: A reinforcement learning model for enhancing indoor thermal comfort and energy efficiency. Build. Environ. 2024, 250, 111197. [Google Scholar] [CrossRef]
- Moon, J.; Ahn, J. Improving sustainability of ever-changing building spaces affected by users’ fickle taste: A focus on human comfort and energy use. Energy Build. 2020, 208, 109662. [Google Scholar] [CrossRef]
- Youssef, A.; Caballero, N.; Aerts, J. Development and comparison of adaptive data-driven models for thermal comfort assessment and control. Total Environ. Res. Themes 2023, 8, 100083. [Google Scholar] [CrossRef]
- Laouadi, A. A New General Formulation for the PMV Thermal Comfort Index. Buildings 2022, 12, 1572. [Google Scholar] [CrossRef]
- USEIA. Commercial Buildings Energy Consumption Survey Final Results. USEIA. Available online: http://www.eia.gov/consumption/commercial/ (accessed on 18 August 2024).
- Ahn, J. Development of Energy Performance Metrics for Airport Terminal Buildings Using Multivariate Regression Modeling; North Carolina State University: Raleigh, NC, USA, 2016. [Google Scholar]
- Ahn, J.; Cho, S.; Chung, D. Development of a statistical analysis model to benchmark the energy use intensity of subway stations. Applied Energy 2016, 179, 488–496. [Google Scholar] [CrossRef]
- Ahn, J. A benchmark methodology to assess the energy performance of train station complexes. KIEAE J. 2019, 19, 5–12. [Google Scholar] [CrossRef]
- Wang, L.; Wang, Y.; Fei, F.; Yao, W.; Sun, L. Study on winter thermal environment characteristics and thermal comfort of university classrooms in cold regions of China. Energy Build. 2023, 291, 113126. [Google Scholar] [CrossRef]
- Barbosa, E.; Labaki, L.; Castro, A.; Lopes, F. Energy Efficiency and Thermal Comfort Analysis in a Higher Education Building in Brazil. Sustainability 2024, 16, 462. [Google Scholar] [CrossRef]
- Baba, A.; Shahrour, I.; Baba, M. Indoor Environmental Quality for Comfort Learning Environments: Case Study of Palestinian School Buildings. Buildings 2024, 14, 1296. [Google Scholar] [CrossRef]
- Rodiriguez, M.; Coronado, M.; Medina, J. Thermal comfort in educational buildings: The Classroom-Comfort-Data method applied to schools in Bogotá, Colombia. Build. Environ. 2021, 194, 107682. [Google Scholar] [CrossRef]
- Strelets, K.; Zaborova, D.; Serbin, I.; Petrochenko, M.; Zavodnova, E. Analysis of Microclimatic Comfort Conditions in University Classrooms. Sustainability 2024, 16, 3388. [Google Scholar] [CrossRef]
- Custodio, D.; Ghisi, E.; Rupp, R. Thermal comfort in university classrooms in humid subtropical climate: Field study during all seasons. Build. Environ. 2024, 258, 111644. [Google Scholar] [CrossRef]
- Settimo, G.; Indinnimeo, L.; Inglessis, M.; De Felice, M.; Morilino, R.; Di Coster, A.; Carriera, F.; Di Fiore, C.; Avino, P. CO2 Levels in Classrooms: What Actions to Take to Improve the Quality of Environments and Spaces. Sustainability 2024, 16, 8619. [Google Scholar] [CrossRef]
- Nowak-Dzieszko, K.; Mijakowski, M.; Muller, J. Simulating the Natural Seasonal Ventilation of a Classroom in Poland Based on Measurements of the CO2 Concentration. Energies 2024, 17, 4591. [Google Scholar] [CrossRef]
- The Engineering Toolbox. Building Elements—Heat Loss vs. Thermal Resistivity. Engineering Toolbox 2003. Available online: https://www.engineeringtoolbox.com/heat-loss-buildings-d_194.html (accessed on 15 November 2024).
- Cui, W.; Liu, G.; Wang, Y.; Li, K. Integrated optimization of the building envelope and the HVAC system in office building retrofitting. Case Stud. Therm. Eng. 2024, 62, 105185. [Google Scholar] [CrossRef]
- Yoon, H. A research of the suitable area and module in elementary school classroom (Focusing on elementary schools of northern province of Gyeonggi-do). J. Sustain. Des. Educ. Environ. Res. 2021, 20, 1–10. [Google Scholar]
- Korean Law Information Center. Decree on Standards for Special School Facilities and Equipment. Korean Law Information Center 0224. Available online: https://www.law.go.kr/LSW/eng/engLsSc.do?menuId=2§ion=lawNm&query=school&x=0&y=0#liBgcolor5 (accessed on 8 May 2024).
- Incropera, F.P.; DeWitt, D.P.; Bergman, T.L.; Lavine, A.S. Fundamentals of Heat and Mass Transfer; Wiley: New York, NY, USA, 2018. [Google Scholar]
- The Engineering Toolbox. Predicted Mean Vote Index. Engineering Toolbox 2010. Available online: https://www.engineeringtoolbox.com/predicted-mean-vote-index-PMV-d_1631.html (accessed on 27 March 2024).
- National Institute of Building Science. Space Types. Whole Building Design Guide. 2018. Available online: https://www.wbdg.org/space-types (accessed on 15 October 2022).
- Ahamed, K.; Akthar, S. A Study on Neural Network Architectures. Comput. Eng. Intell. Syst. 2016, 7. [Google Scholar]
- Vamsi, R. What’s a Neural Network? Available online: https://medium.com (accessed on 23 June 2024).
- Ahn, J. Improvement of the Performance Balance between Thermal Comfort and Energy Use for a Building Space in the Mid-Spring Season. Sustainability 2020, 12, 9667. [Google Scholar] [CrossRef]
- Palladio, D.; Nardi, I.; Burati, C. Artificial Neural Network for the Thermal Comfort Index Prediction: Development of a New Simplified Algorithm. Energies 2020, 13, 4500. [Google Scholar] [CrossRef]








| Name/Property | Value | ||
|---|---|---|---|
| Type | Classroom | ||
| Single | Double, Smart Double | ||
| Size (Width × Depth × Height, m) | 8.1 × 8.1 × 3.0 | 8.1 × 16.2 × 3.0 | |
| Roof | Area (m2) | 65.6 | 131.2 |
| Thermal Resistance (°C/W) | 1.156 × 10−2 | 1.156 × 10−2 | |
| Wall | Area (m2) | 97.2 | 145.8 |
| Thermal Resistance (°C/W) | 5.758 × 10−3 | 5.758 × 10−3 | |
| Doors and Windows | Area (m2) | 7.0 | 14.0 |
| Thermal Resistance (°C/W) | 2.139 × 10−3 | 2.139 × 10−3 | |
| Controller | Time Table of Use | ||
|---|---|---|---|
| Single | Double | Smart Double | |
| APR/24 | 07:00~19:00 | - | 07:00~19:00 |
| APR/25 | 07:00~19:00 | - | 07:00~19:00 |
| APR/26 | 07:00~12:00 | 14:00~19:00 | 07:00~12:00, 14:00~19:00 |
| APR/27 | 07:00~12:00 | 14:00~19:00 | 07:00~12:00, 14:00~19:00 |
| APR/28 | 07:00~12:00 | - | 07:00~12:00 |
| APR/29 | 07:00~12:00 | 14:00~19:00 | 07:00~12:00, 14:00~19:00 |
| APR/30 | - | 07:00~19:00 | 07:00~19:00 |
| Symbol | Unit | Element | Value | |
|---|---|---|---|---|
| cv | J/m3∙°C | Name | Layer | 4.186 × 106 |
| D | mm | Roof | R.C./Insulation/G.B. | 150/220 |
| Wall | Brick Tile/R.C./Insulation/G.B. | 5/155/135/25 | ||
| Window | Single Pane | 100 | ||
| Door | Wood | 100 | ||
| W/m2∙°C | - | 0.043 | ||
| W/m2∙°C | - | 0.11 | ||
| Time Table | Conditions in Class | Adaptive Process | ||
|---|---|---|---|---|
| Occupancy (%) | PMV (α) | ΔPMV (β) | Set-Point Temperature (°C) | |
| 00:00~07:00 | 0 | any case | any case | Off |
| 07:00~12:00 | 100 | −0.5 ≤ α ≤ 0.5 | |β| < 0.1 | +0.1 or −0.1 |
| |β| ≥ 0.1 | +0.2 or −0.2 | |||
| 12:00~12:30 | 10 | α < −0.5 or α > 0.5 | |β| < 0.1 | +0.5 or −0.5 |
| |β| ≥ 0.1 | +1.0 or −1.0 | |||
| 12:30~13:30 | 0 | any case | any case | Off |
| 13:30~14:00 | 10 | −0.5 ≤ α ≤ 0.5 | |β| < 0.1 | +0.1 or −0.1 |
| |β| ≥ 0.1 | +0.2 or −0.2 | |||
| 14:00~19:00 | 100 | α < −0.5 or α > 0.5 | |β| < 0.1 | +0.5 or −0.5 |
| |β| ≥ 0.1 | +1.0 or −1.0 | |||
| 19:00~24:00 | 0 | any case | any case | Off |
| Controller | Energy Use (kWh) | ||
|---|---|---|---|
| Single + Double | Smart Double | ||
| Thermostat | Adaptive | Trained by ANN | |
| APR/24 | 2.12 | 2.27 | 2.20 |
| APR/25 | 1.74 | 1.88 | 1.76 |
| APR/26 | 2.79 | 2.82 | 2.59 |
| APR/27 | 2.44 | 2.48 | 2.44 |
| APR/28 | 1.01 | 1.02 | 0.95 |
| APR/29 | 2.29 | 2.49 | 2.24 |
| APR/30 | 2.71 | 2.86 | 2.53 |
| Average | 2.16 | 2.26 | 2.10 |
| Efficiency | - | 4.63% ↓ | 2.78% ↑ |
| Controller | RMSE of PMV Values | ||
|---|---|---|---|
| Single + Double | Smart Double | ||
| Thermostat | Adaptive | Trained by ANN | |
| APR/24 | 0.56 | 0.21 | 0.17 |
| APR/25 | 0.55 | 0.21 | 0.16 |
| APR/26 | 0.38 | 0.14 | 0.10 |
| APR/27 | 0.38 | 0.13 | 0.10 |
| APR/28 | 0.21 | 0.07 | 0.05 |
| APR/29 | 0.46 | 0.17 | 0.11 |
| APR/30 | 0.56 | 0.21 | 0.15 |
| Average | 0.44 | 0.16 | 0.12 |
| Efficiency | - | 63.64% ↑ | 72.73% ↑ |
Disclaimer/Publisher’s Note: The statements, opinions and data contained in all publications are solely those of the individual author(s) and contributor(s) and not of MDPI and/or the editor(s). MDPI and/or the editor(s) disclaim responsibility for any injury to people or property resulting from any ideas, methods, instructions or products referred to in the content. |
© 2024 by the author. Licensee MDPI, Basel, Switzerland. This article is an open access article distributed under the terms and conditions of the Creative Commons Attribution (CC BY) license (https://creativecommons.org/licenses/by/4.0/).
Share and Cite
Ahn, J. Thermal Control Strategy for the Sustainable Use of Large Classrooms Responding to User Demands in a School Building. Buildings 2024, 14, 3809. https://doi.org/10.3390/buildings14123809
Ahn J. Thermal Control Strategy for the Sustainable Use of Large Classrooms Responding to User Demands in a School Building. Buildings. 2024; 14(12):3809. https://doi.org/10.3390/buildings14123809
Chicago/Turabian StyleAhn, Jonghoon. 2024. "Thermal Control Strategy for the Sustainable Use of Large Classrooms Responding to User Demands in a School Building" Buildings 14, no. 12: 3809. https://doi.org/10.3390/buildings14123809
APA StyleAhn, J. (2024). Thermal Control Strategy for the Sustainable Use of Large Classrooms Responding to User Demands in a School Building. Buildings, 14(12), 3809. https://doi.org/10.3390/buildings14123809
