Next Article in Journal
Mechanical and Numerical Assessment of Localized Soil Voids Under PCCP Joints
Previous Article in Journal
Research on the 3D Visualization Method of Web-Based Seismic Wave CT Results and the Application in Underground Caverns
 
 
Font Type:
Arial Georgia Verdana
Font Size:
Aa Aa Aa
Line Spacing:
Column Width:
Background:
Article

Performance and Applicability Analysis of Indirect Evaporative Cooling Units in Data Centers Across Various Humidity Regions

1
School of Civil Engineering, Chongqing University, Chongqing 400045, China
2
Southern Power Grid Integrated Energy Co., Guangzhou 510635, China
3
Yue Neng Building, No. 45-6, Tianhe Road, Yuexiu District, Guangzhou 510075, China
*
Author to whom correspondence should be addressed.
Buildings 2024, 14(11), 3623; https://doi.org/10.3390/buildings14113623
Submission received: 6 September 2024 / Revised: 5 November 2024 / Accepted: 9 November 2024 / Published: 14 November 2024
(This article belongs to the Section Building Energy, Physics, Environment, and Systems)

Abstract

Indirect evaporative cooling (IEC), which utilizes natural cooling sources, is an advanced and promising technology to reduce the energy consumption of cooling systems in a data center (DC). This study presents a model of an IEC air-conditioning unit in a DC using TRNSYS simulation software validated using actual operational data to investigate the adaptability of IEC units in data centers located in regions with varying humidity levels, providing a reference for their application and promotion in DCs. Based on this premise, the authors analyzed the meteorological characteristics of Urumqi (a dry region), Beijing (a region with medium humidity), and Shanghai (a region with high humidity), which are representative cities in different humidity zones. The analysis identified the annual operating hours of the unit’s three operation modes, including fresh-air indirect heat transfer (FAIHT), IEC, and hybrid. Simultaneously, the authors conducted a simulation of the unit’s yearly energy consumption and determined time change curves for annual energy consumption, hourly coefficient of performance (COP) throughout the year, and mechanical cooling in various locations. The results indicate that IEC air-conditioning systems are highly effective in promoting the efficiency of data centers in various humidity regions. Dry locations demonstrate the greatest adaptability, followed by regions with medium humidity and, finally, regions with high humidity. The findings indicate that IEC units provide significant energy efficiency and cost-effectiveness when deployed in typical urban DCs across various humidity zones in China. The average annual power-usage effectiveness (PUE) of each city’s DC utilizing the unit is less than 1.3, and the unit’s annual operational cost savings exceed 30%.

1. Introduction

As the digital era progresses, the fourth industrial revolution, led by digital technology, is bringing about remarkable transformations in human productive activities and daily life. Since the commercial application of 5G technology began in 2019, the DC, as the physical support platform for various digital technology applications, has seen its heyday [1]. With reference to the annual growth trend of the global server market, the number of new servers added worldwide has remained relatively stable in recent years, and it is expected that this steady growth trend will be maintained in the coming years. China’s development in this field is also aligned with this trend. By the end of 2021, the number of DC racks in China reached 5.2 million, with an average annual growth rate of over 30% during the past five years, and the proportion of large DC racks has reached 80% [2]. As of 2017, global DC energy consumption accounted for 3% of the world’s total energy consumption. Based on current electricity price estimates, it is expected that by 2025, global DC electricity costs will exceed USD 10 billion, of which cooling systems will account for 60% of the total electricity consumption [3,4]. Therefore, reducing the energy consumption of DC cooling systems is essential for achieving energy savings while maintaining the stable running of IT equipment [5].
In the field of energy efficiency optimization in DCs, the adoption of natural cooling technologies to replace or supplement traditional mechanical cooling systems has become a research focus [6], with IEC being a key research priority. The indirect evaporative cooler represents the most significant carrier of IEC technology. Consequently, scholars worldwide have conducted extensive research on the performance and influencing factors of the indirect evaporative cooler. Manfredo et al. [7] experimentally analyzed two different IEC systems, one using a plate heat exchanger with a standard epoxy coating (STD) and the other with a new hydrophilic coating (HPHI). It was found that the contact angle of the HPHI coatings was always lower than that of the STD coatings when water was sprayed on the indirect cooler side, but there was no significant difference in the wet bulb efficiency of the two coatings. Velasco et al. [8] experimentally investigated IEC heat exchangers using polycarbonate due to its low cost, light weight, and corrosion resistance, effectively controlling the plate thickness reduction due to low thermal conductivity. It was found that the cooling capacity of the cooler increased significantly as the inlet air temperature gradually increased from 25 °C to 40 °C. Sun [9] used response surface methodology (RSM) to experimentally design the effect of different influencing factors on the performance of a tubular indirect evaporative cooler, optimized the performance of the indirect evaporative cooler, and finally predicted the optimum efficiency under specific conditions and analyzed its reliability, which provided a reference for optimizing the unit for application in engineering.
Research on IEC in DCs has been conducted extensively. DC cooling systems utilizing IEC technology have great energy-saving potential in comparison to conventional cooling systems. Ham et al. [10] investigated the energy conservation of DC powered by wind energy. The wind-side IEC system in the DC simplifies the system and saves between 47.5% and 67.2% of energy compared to traditional cooling systems. Chen et al. [11] investigated the energy-saving capacity of IEC combined with mechanical cooling in major cities of Saudi Arabia, considering different operational scenarios. Yin Bi et al. [12] conducted an experimental study of dew-point IEC systems in several climates and found that up to 91.6% savings in air-conditioning power consumption could be achieved in DCs using IEC systems. BA Weert [13] presented a plan to implement energy-efficient changes in order to create environmentally friendly DCs. By implementing the new IEC air-conditioning system and efficiently utilizing the air-side cold source, the DC can achieve a 70% reduction in cooling energy consumption during summer and over 90% reduction during winter under constant load conditions. Bogdan [14] provided a comprehensive explanation of the theory and principle of IEC. Additionally, Bogdan applied this cooling method and its associated equipment and technology to evaluate its suitability for commercial, DC, and residential applications. The findings indicate that, despite the increased water consumption associated with IEC systems, their overall energy use has a negligible impact on global warming.
Researchers and teams worldwide are collaborating with companies to integrate IEC with mechanical refrigeration systems through research, development, and platform testing. They are working together to design and experiment with modular units. This technological convergence fosters innovation in cooling equipment and provides a novel solution for energy conservation and emission reduction [15]. SPEAKMAN introduced the AIRMAX unit, which modifies the operating mode of the IEC unit to incorporate various operation modes. This allows the unit to adjust its functioning based on changes in the outdoor wet bulb temperature, reducing the unit’s operating energy usage by 40% to 80% [16]. X. Cui et al. conducted a preliminary analysis of the indirect evaporative heat exchanger and steam-compression refrigeration system [17]. The indirect evaporative heat exchanger functions as an energy-saving pre-cooling device, while the introduction of outdoor low-temperature air reduces the mechanical refrigeration load by 35%. A Swedish company developed a composite system consisting of a mechanical refrigerator and a tubular indirect evaporative cooler for DCs located in Sydney and Norway. A study revealed that for 70% of the year, changing the unit’s settings to different modes did not require activation of the compressor. This greatly decreases the energy consumption of the DC [18]. Min-HWi Kima et al. [19] designed and tested an IEC heat exchanger in an IEC unit. The results showed that the air-conditioning system had a good energy-saving effect, reducing the total annual energy consumption by 46%.
Container DC and modular DC demonstrate the trend toward modular and integrated refrigeration systems [20,21,22,23]. Therefore, the researchers merged IEC technology with mechanical refrigeration functions to develop a modular and integrated structural design. This innovation presents novel approaches, technologies, and equipment for cooling DCs. IEC air-conditioning units can be preassembled or installed on-site to expedite the delivery of data centers [24]. Hence, the combination of IEC and mechanical refrigeration technology in a composite air-conditioning unit is expected to gain popularity and have a promising future in large-scale new DC air-conditioning systems.
Most current research focuses on the performance of IEC units, such as those studies conducted by Romero et al. [25], Pacak et al. [26], Li et al. [27], and Yan et al. [28], but there is a lack of research on how to use these units in DCs located in China’s humid regions. The primary focus of this paper is to develop a TRNSYS simulation model for an IEC air-conditioning unit. This model will simulate the unit’s annual dynamic energy consumption. The simulation will be based on determining the temperature parameters of the DC’s supply and return air. This study examines the yearly performance of IEC air-conditioning systems in various humidity regions in China. It also evaluates the suitability and energy usage of IEC air-conditioning units employed in typical urban DCs in different humidity regions. Simultaneously, the energy-saving assessment index of the unit is compared to that of the traditional cooling unit in the DC, depending on the cooling load of air conditioning.

2. Material and Methods

2.1. Model Parameter Design of the DC

The main focus of this study is the data center room located in a small DC in Datong, Shanxi Province, China. The cooling load of the DC is simulated using DeST-c (commercial building version). The model is depicted in Figure 1. The DC covers a total area of 1760 m2. The data center room, test room, switch room, battery room, and rest room are all functional areas within a DC. The DC has a height of 5 m and a primary room area of 957 m2. The DC operated 192 cabinets, dissipating a total of 1497.6 kW of power (192 cabinets at 7.8 kW each) continuously throughout the year. The DC employs a closed design with separate cold and hot channels to minimize the occurrence of bypass airflow, thereby conserving energy.
The relevant parameters of this small DC are designed as shown in Table 1 below. There are no permanent staff in the DC area, the indoor-light power density is 13.5 W/m2, the fresh-air volume is set at 40 m3/h per person in the lounge and office areas, and the air change rate in the test room, distribution room, and other rooms is set at 0.7 times/h.

2.2. Location Selection for DC Model

China’s vast territory, covering approximately 9.6 million square kilometers, and its diverse and intricate topography have collectively shaped a distinctive climatic landscape. Meteorological data indicate a gradual decrease in relative humidity from the southeast to the northwest geographically. The applicability of IEC technology is strongly influenced by environmental parameters. Consequently, the greater the duration over which a DC utilizes evaporative cooling, the more effective the IEC technology becomes. The application of IEC technology in China can be divided into three categories according to the specific climatic conditions: dry, medium-humidity, and high-humidity regions [29]. Accordingly, this paper selects the dry region of Urumqi, the medium-humidity region of Beijing, and the high-humidity region of Shanghai to analyze and discuss, thus laying the foundation for the equipment selection and comparison for data centers. The cities’ climatic characteristics are shown in Table 2.

2.3. Calculation and Analysis of Operating-Mode-Switching Set Values

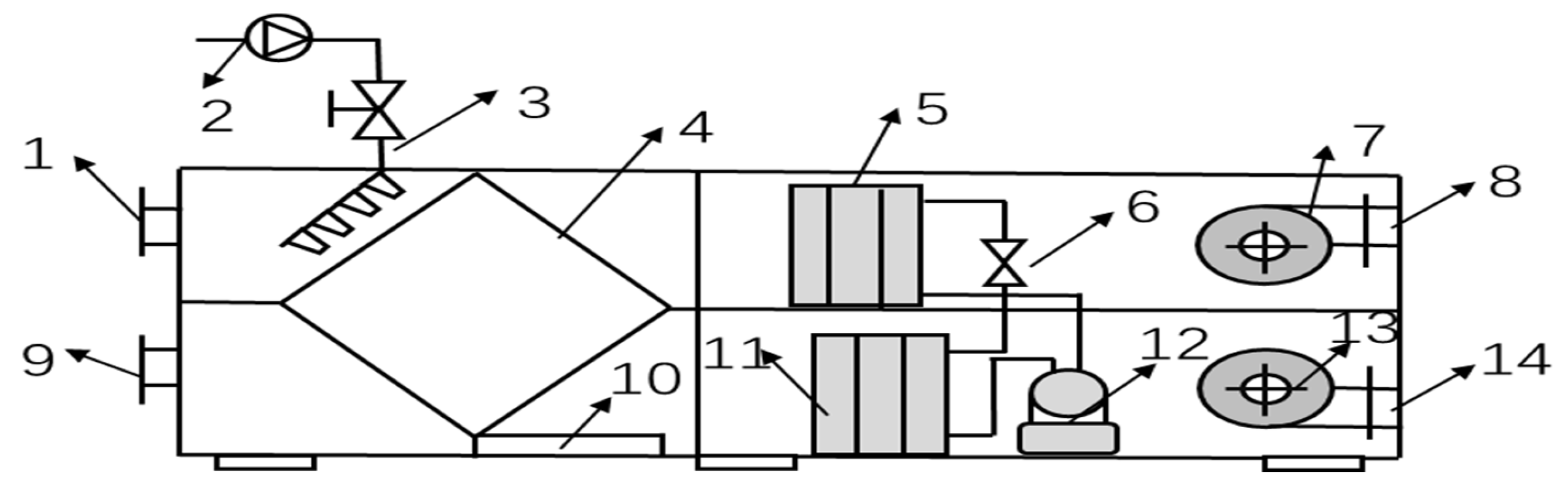
The basic structure of the unit is shown in Figure 2. below. The unit mainly consists of a set of IEC equipment and a set of mechanical refrigeration (direct expansion) equipment.
In Figure 2, the components are: 1—fresh-air inlet (secondary air); 2—water pump; 3—IEC spray system; 4—IEC heat-exchange core; 5—evaporator; 6—throttling device; 7—primary air side fan; 8—primary air outlet (DC supply air); 9—primary air inlet (DC return air); 10—water-collection flume; 11—air-cooled condenser; 12—compressor; 13—secondary air side fan; 14—secondary air exhaust outlet.
The IEC unit operates in three operation modes: fresh-air indirect heat-transfer (FAIHT) mode, IEC mode, and hybrid mode. In the FAIHT mode, only the primary and secondary air fans are running, providing 100% natural cooling. In the IEC mode, the spray pump and recirculation water pump are active, while the mechanical cooling system is off. In the hybrid mode, both the evaporative cooling and mechanical cooling systems are active, with all components running to meet cooling requirements.
The switching between the three operation modes depends on the dry and wet bulb temperatures of the external environment. Determining these temperatures relies on the temperature settings of the supply and return air in the data center’s server room and the heat-transfer efficiency of the heat-transfer core. Based on the 17th edition of China’s design specification and the set temperature of the DC, the set switching temperatures of the aforementioned three operating modes are calculated.
FAIHT mode: This operation mode is suitable for winter and some spring and fall periods, when the outdoor dry bulb temperature is relatively low. The heat-transfer efficiency of the unit’s heat-transfer core is about 60% under the FAIHT mode [30], and under the premise of meeting the DC’s supply/return-air temperature, the maximum fresh-air dry bulb temperature under the FAIHT mode can be obtained according to the heat-transfer efficiency, so as to carry out the switching of the different modes.
η = t gl t g 2 t gl t gl
where η = heat-transfer efficiency of IEC cores (%);
t gl = dry bulb temperature of air-conditioned return air in the DC (°C);
t g 2 = dry bulb temperature of air-conditioned air supplied to the DC (°C); and
t gl = dry bulb temperature of fresh outdoor air (°C).
IEC mode: This operation mode is generally suitable for the spring and fall transition seasons when the external dry bulb temperature is relatively moderate. In this mode, the low-temperature air generated in the evaporative cooling process is used as the cooling source to cool the indoor air. The heat-transfer efficiency of the heat-transfer core of the unit under the IEC operation mode is about 70% [30], and under the premise of meeting the supply/return-air temperature of the DC, the maximum wet bulb temperature of fresh air corresponding to the IEC mode can be obtained according to the heat-transfer efficiency.
η = t gl t g 2 t gl t sl
where η = heat-transfer efficiency of IEC cores (%);
t gl = dry bulb temperature of air-conditioned return air in the DC (°C);
t g 2 = dry bulb temperature of air-conditioned air supplied to the DC (°C); and
t sl = wet bulb temperature of fresh outdoor air (°C).
When the outdoor wet bulb temperature is higher than the maximum fresh-air wet bulb temperature t sl , the IEC mode is no longer able to process the DC’s hot return air to meet the set air-supply temperature, and mechanical refrigeration is needed to make up for the cooling requirement. At this time the unit is running hybrid mode.
In summary, according to Formulas (1) and (2), the supply-air temperature of the DC machine room is set to 24 °C, and the return-air temperature is set to 36 °C. The unit’s heat-transfer core has a heat-transfer efficiency of 60% in FAIHT mode and 70% in IEC mode, as shown in Table 3, which shows the calculation of the switching values for the three modes of operation of the IEC air-conditioning unit.

2.4. Unit Model Establishment

TRNSYS18 is a simulation software specifically designed for HVAC systems, featuring a unique modular analysis approach with modules for HVAC, solar collectors, and indirect evaporative cooling, allowing for quick and easy model construction. It calculates parameters for each component based on energy balance principles and performs system control analysis and controller design. Additionally, TRNSYS’s open code allows for customization using languages such as C and Fortran, making it highly adaptable to different scenarios. The software can obtain dynamic energy-consumption data throughout the year, making it one of the most flexible and user-friendly tools in the field of building-energy simulation. Based on TRNSYS, this paper develops a simulation model for indirect evaporative cooling units and simulates their energy consumption in typical cities with various humidity levels as a reference for data center applications.
To comprehensively evaluate the energy efficiency of the system, the coefficient of performance (COP) and power-usage effectiveness (PUE) are analyzed. The COP is defined as the ratio of the cooling output to the energy input of the system, serving as a key index for assessing cooling efficiency.
The power-usage effectiveness P U E metric, introduced by ASHRAE and Green Grid, seeks to thoroughly assess the energy efficiency of DC infrastructures [31]. The use of PUE enhances energy efficiency in DC, while effectively addressing the requirements of societal progress.
The basic calculation method for the P U E is [32]:
P U E = Total   facility   power IT   equipment   power   = 1 + C L F + P L F + O L F .
In the formula, C L F is the cooling-load factor, P L F is the power-load factor, and OLF is other load factors.
PUE represents the actual power capacity that a DC can provide to its IT equipment. A lower PUE value indicates a higher proportion of the DC’s power consumption used by the IT equipment, resulting in lower energy consumption by other equipment in the machine room and greater energy savings for the room [33]. The CLF measures the proportion of energy used by the cooling system compared to the total energy used by the IT devices in the data room. A smaller CLF value indicates lower energy consumption by the air-conditioning system in the data center and, therefore, a higher level of energy efficiency in the climate system. A more comprehensive assessment of the cooling system and overall energy efficiency of the data center can be conducted by computing these two metrics.
IEC air-conditioning-unit model building mainly uses the following modules: meteorological data-processing module (Type15), IEC module (Type757b), air-to-air heat-exchange module (Type760a), fixed-frequency fan module (Type112b), variable-frequency fan module (Type111b), mechanical cooling module (Type665), and other auxiliary modules such as calculator (Equation), output component (Type65), and integrator (Type24).
The air-inlet temperature of the fixed-frequency fan is set to 36 °C, with an air volume of 56,000 m3, and the power of the fan is 23 kW. When the outdoor temperature is lower than 16 °C, the IEC module does not spray water.
The connection between the different parts is established sequentially, following the unit model and the specific characteristics of each module. This aids in troubleshooting the entire IEC air-conditioning system. The annual simulation duration is 8760 h, with each individual simulation step lasting for one hour. The unit is configured according to the various operating modes of the IEC unit to achieve the desired supply/return-air temperature [34] in the DC. The TRNSYS model interface of the unit is selected, as depicted in Figure 3 and Figure 4.

2.5. Verification of Unit Model

To validate the accuracy of the simulation model for the IEC unit, the simulation results are compared to the real-world operational data of the unit. During TRNSYS operation, the machine room’s return-air temperature is adjusted to 36 °C, and the supply-air temperature is set to 24 °C. Energy consumption and coefficient of performance (COP) values are analyzed based on the return-air temperature requirements. This analysis will consider the different operation modes of the unit and compare the actual operation data from a DC in Datong, Shanxi, under the same working conditions.
Figure 5 illustrates that the average relative error of the simulation value for the secondary fan in the FAIHT mode is 4.82%. Additionally, the average relative error of the simulated value for total energy consumption compared to unit operation data is 5.95%, while the average relative error for the COP simulation value and unit operation data is 2.13%. The average relative error between the simulated value of the secondary fan in the IEC mode and the actual operating data is 9.10%. Similarly, the average relative error between the simulated value of the total power and the actual operating data is approximately 6.22%. Lastly, the average relative error between the simulated value of the COP and the actual operating data of the unit is 6.60%. When operating in hybrid mode, the average discrepancy between the simulated and actual values of the unit’s total power is 4.17%. Similarly, the average discrepancy between the simulated and actual values of the compressor’s energy consumption is 8.54%, and the average discrepancy between the simulated and actual values of the unit’s COP is 4.50%. The relative error falls within acceptable thresholds. Since all relative errors are less than 10%, it can be assumed that the simulation experiments are basically in agreement with the actual operating data.

3. Results and Discussion

3.1. Analysis of Operating-Mode Hours of IEC Air-Conditioning Units in Typical Cities

In order to analyze the operation mode of the units in each city, the outdoor air parameters of the three cities were modeled separately using TRNSYS simulation and modeling software combined with meteorological data from the Meteonorm 8 database. Meteorological data for Urumqi, Beijing, and Shanghai were imported into the model as the Figure 6 shows, and the annual changes parameters as dry bulb temperature, wet bulb temperature, and relative humidity were obtained and shown in Figure 7 and Figure 8. The meteorological data for each of the selected cities correspond to a typical year, which is based on and calculated from historical weather records over multiple years. These typical annual data are used to represent the average climatic conditions of the selected cities. The models built in TRNSYS are shown below.
Urumqi is located in the northwest of China, with a temperate continental climate and a dry region. The annual maximum dry bulb temperature is 37.5 °C, the minimum dry bulb temperature is −23.6 °C, and the average dry bulb temperature is 7.99 °C. The annual maximum wet bulb temperature is 21.76 °C, the minimum wet bulb temperature is −23.6 °C, and the average wet bulb temperature is 3.13 °C. The annual maximum relative humidity is 100%, the minimum relative humidity is 13%, and the average relative humidity is 54.08%.
Beijing, located at the northwestern end of the North China Plain, has a temperate continental monsoon climate, with higher temperatures and more rainfall in summer, cold and dry winters, and shorter springs and falls, making it a moderately humid region. Its annual maximum dry bulb temperature is 38.9 °C, its minimum dry bulb temperature is −14 °C, and its average dry bulb temperature is 12.94 °C. Its annual maximum wet bulb temperature is 30.94 °C, its minimum wet-bulb temperature is −14.89 °C, and its average wet bulb temperature is 8.18 °C. Its annual maximum relative humidity is 99%, its minimum relative humidity is 10%, and its average relative humidity is 51.76%.
Located in East China, Shanghai has a subtropical monsoon climate and is a high-humidity region. The annual maximum dry bulb temperature is 38.9 °C, the minimum dry bulb temperature is −4.0 °C, and the average dry bulb temperature is 17.62 °C. The annual maximum wet bulb temperature is 31.53 °C, the minimum wet bulb temperature is −5.16 °C, and the average wet bulb temperature is 14.02 °C. The annual maximum relative humidity is 100%, the minimum relative humidity is 27%, and the average relative humidity is 68.9%.

3.1.1. Analysis of Operating-Mode Hours of Units in Dry Regions—Urumqi as an Example

Through the analysis of meteorological parameters and Figure 9, it can be seen that when IEC air-conditioning units are used in the DC in the Urumqi region, the fresh-air indirect heat-exchange-mode operates throughout much of the year, primarily in winter and parts of spring and fall, the operation of hybrid mode only appears in summer, and the IEC mode is mainly distributed in summer and parts of spring and fall.
The unit in the Urumqi region only requires the mechanical supplementary cooling device for auxiliary refrigeration from June to August, with an operating time of 237 h, accounting for about 3% of the annual running time. The IEC mode operates for 3011 h annually, mainly from March to October, accounting for 34% of the annual running time. The rest of the time, only running the fresh-air indirect heat-exchange mode is sufficient to meet the requirements of the supply temperature, with an annual running time of 5512 h, accounting for about 63% of the annual running time. It shows that the unit can meet the requirements of the DC in Urumqi by using the outdoor natural cooling source most of the time, and the IEC air-conditioning unit demonstrates significant energy-saving potential in Urumqi.

3.1.2. Analysis of Operating-Mode Hours of Units in Moderate-Humidity Regions—Beijing as an Example

Similarly, it can be seen based on the analysis of meteorological parameters in Beijing and as shown in Figure 10, when IEC air-conditioning units are applied to the Beijing DC, the FAIHC mode operates primarily during winter and parts of spring and fall, with limited running time in summer. The mixed mode is mainly operated in summer, while the IEC mode operates mainly during the transition seasons.
In Beijing, the duration of fresh-air indirect heat-transfer-mode operation gradually decreases from January to May and rises from September to December, with an annual operation time of 4807 h, accounting for about 54% of the annual operation time. IEC mode operates primarily from March to October, with an annual operation time of 2151 h, accounting for about 25% of the annual running time. From May to September, it is necessary to turn on the mechanical refrigeration equipment for auxiliary refrigeration, and the unit operates in mixed mode at this time, with an annual running time of 1802 h, accounting for about 21% of the annual running time. It shows that in Beijing, a medium-humidity region, it is suitable to run the fresh-air indirect heat exchange mode in winter, and it is more suitable to run the IEC mode in the transitional season of spring and fall, while the unit needs to run the mixed cooling mode in the hot summer. The characteristics of the time distributions of the three modes of operation of the units in Beijing are similar to those of Urumqi as a whole, with an increase in the annual operating time of the hybrid mode and, overall, the units have a good potential for energy saving.

3.1.3. Analysis of Operating-Mode Hours of Units in High-Humidity Regions—Shanghai as an Example

In accordance with the switching conditions of the unit’s operating mode, Figure 11 and an analysis of the weather model for Shanghai show that the time when the unit operates in FAIHT mode in the DC in the Shanghai region is mainly concentrated in winter and small portions of spring and fall, with no operation in summer. The mixed-mode running time is mainly concentrated in summer. The IEC-mode running time is mainly concentrated in the transition season.
In Shanghai, FAIHT-mode operation is mainly concentrated in January to March and November to December, with a total annual operation time of 3755 h, accounting for about 43% of the annual running time. The IEC heat-transfer-mode operation time is mainly concentrated in April to May and October, and its annual operation time is 2169 h, accounting for 25% of the annual operation time. The mixed-mode operation time of the unit from April to October increases and then decreases, and reaches a maximum value in July, and the mixed-mode annual operation time is 2836 h, accounting for 32% of the annual operation time. This indicates that in the Shanghai region, which has high humidity, most of the year, the unit cannot meet the cold-load demand of the DC by using only the outdoor natural cooling source, and it is necessary to turn on the mechanical supplemental cooling unit to supplement the cooling capacity. From Figure 11, the time distribution among the three operation modes in the Shanghai data center is relatively balanced, the FAIHT mode and IEC mode each accounts for a large portion of the annual running time, indicating that the unit has energy-saving potential even in high-humidity regions.

3.2. Performance Analysis of a Typical Urban IEC Air-Conditioning Unit

Typically, the cooling demand of a DC remains relatively constant throughout the year, indicating that the cooling load of the plant room can be regarded as consistent. The supply/return temperatures of the machine room are set to 24 °C/36 °C. In the FAIHT mode, the entire machine operates only the primary and secondary fans. In the IEC mode, the machine opens more circulation pumps on the basis of the FAIHT mode. Finally, in the hybrid mode, the machine opens the compressor on the basis of the indirect IEC mode. The power of the primary fan is basically unchanged throughout the year, and only the power of the secondary fan is adjusted according to the outdoor dry and wet bulb temperatures to match the air temperature in the DC.

3.2.1. Performance Analysis of Units in Dry Regions—A Case Study from Urumqi

  • Energy-consumption analysis
Based on the simulation results of the unit’s annual operation in Urumqi, the monthly power consumption and the hourly power-operation figures were obtained. During the operation of the IEC air-conditioning unit at the Urumqi DC, Table 4 shows that the power consumption was at its lowest in February, at only 1.64 × 103 kW·h, and reached its peak in July, at 3.13 × 103 kW·h. Furthermore, from Figure 12a, the highest annual operating energy consumption per hour is 60.2 kW, occurring at 5295 h in summer. The outdoor dry bulb temperature and wet bulb temperature during this time are 27.55 °C and 21.76 °C, respectively. The lowest value of 23.27 kW occurred at 82 h in winter, corresponding to an outdoor dry and wet bulb temperature of −23.28 °C.
Figure 12b illustrates the power consumption of the unit in different modes throughout the year at the Urumqi DC. The unit’s total annual power consumption is 279,498.77 kW·h. The FAIHT mode has the longest operation time, reaching 5512 h, resulting in the highest annual power consumption of 155,387.77 kW·h, accounting for 55.60%. The IEC mode has an annual power consumption of 111,266.62 kW·h, accounting for 39.81%. The hybrid mode only operates for 237 h, resulting in the lowest total annual power consumption of 12,844.38 kW·h, accounting for 4.60%.
2.
Unit supplementary-cooling-capacity analysis
Provided that the machine room’s supply/return-air temperatures are maintained, the cooling loads handled by the unit in different operating modes can be calculated. When considering the cooling load of each operation mode throughout the year, it was found that the FAIHT mode carries the largest cooling load, accounting for 62.92% of the total. The IEC mode comes in second, while the hybrid mode has the lowest load, accounting for only 2.71%. It is evident that in a dry region such as Urumqi, the prevailing low outdoor dry bulb temperature and wet bulb temperature enable the use of fresh air and the IEC mode for effective cooling.
When the IEC mode is insufficient to provide cooling throughout the year, the IEC precooling is activated. This mode involves decreasing the temperature of the high-temperature return air in the room and subsequently utilizing mechanical refrigeration to further decrease the temperature in order to satisfy the cooling requirements. When the DC unit in Urumqi operates in hybrid mode, it utilizes both IEC and mechanical cooling simultaneously. Figure 13b depicts the temporal fluctuations in mechanical cooling capacity. Figure 13 clearly indicates that the unit will require supplementary mechanical cooling beginning in June. The refrigeration and cooling provision in the Urumqi region are sporadic and transient. The required annual cooling capacity is precisely 7253.52 kilowatt hours, with a maximum capacity of 54.4 kilowatt hours per hour. At certain intervals, the unit necessitates the addition of mechanical refrigeration. The duration of this process spans from June to August, encompassing a total of 237 h annually. The maximum cooling capacity per unit is currently set at 189.1 kilowatt hours. Evidently, the cooling requirement in Urumqi is considerably below the specified cooling capacity of the unit. Hence, it is recommended to customize the cooling system according to its specific needs in order to minimize the initial cost of the unit.
3.
COP analysis
By performing calculations on the cooling capacity and energy consumption of the unit throughout a year, the hourly COP of the unit can be determined. Table 5 displays the monthly average COP simulation outcomes of the unit in the Urumqi DC. The COP of the air-conditioning unit varies considerably depending on the season and the outdoor dry and wet bulb temperatures. The unit’s monthly average COP reaches its maximum value of 9.13 in January and its minimum value of 5.35. The unit’s yearly average COP is 7.34. Based on the data presented in Figure 14, the unit’s annual COP varies between 3.65 and 9.45. The COP exhibits significant variations as a result of diverse operational modes throughout the year. During January, when the outdoor temperature in Urumqi is extremely low, the unit operates only in FAIHT mode in order to fulfill the cooling requirements of the room, resulting in the highest COP. During June and July, when the outdoor temperature is elevated, the unit primarily functions in IEC mode and hybrid mode. This results in a notable decrease in COP compared to the winter season.
In summary, the annual average dry ball temperature in Urumqi is low. The two modes of operation, FAIHT and IEC mode, have the highest cooling load and energy consumption. Throughout the year, the data show that the IEC air-conditioning unit in Urumqi has a good adaptation effect and performs well in terms of energy consumption and COP.

3.2.2. Performance Analysis of Units in Dry Regions—A Case Study from Beijing

  • Energy-consumption analysis
Similarly, based on the annual-operation simulation results of the unit in the Beijing DC presented in Table 6,we have acquired the monthly power-consumption data and the annual hourly operation power map of the unit. During the operational period at the Beijing DC, the IEC air-conditioning unit had its lowest monthly power consumption in February, measuring just 1.80 × 103 kW·h. In contrast, its maximum monthly power consumption occurred in July, measuring 4.71 × 103 kW·h. The maximum energy consumption per hour was 90.48 kW, occurring at 4867 h in the summer. The corresponding outdoor dry bulb and wet bulb temperatures were 34.11 °C and 31.05 °C, respectively. On the other hand, the minimum energy consumption per hour was 23.75 °kW, observed at the 82nd hour in winter. The corresponding outdoor dry bulb and wet bulb temperatures were −14.11 °C and −14.90 °C, respectively.
Figure 15b illustrates the power usage of the unit in various modes throughout the year when operating in the Beijing DC. The figure illustrates that the unit functions in three different modes, with an annual power consumption of 339,930.91 kW·h. The FAIHT mode has the longest annual operation time, totaling 4807 h. As a result, it has the highest annual power consumption of 142,160.07 kW·h, which accounts for 41.82% of the total. In comparison, the IEC mode has an annual power consumption of 84,704.84 kW·h, accounting for 24.92%. The hybrid mode has an annual operation time of only 1802 h and a power consumption of 113,066.00 kW·h, which is second only to the FAIHT mode and accounts for 33.26%.
2.
Unit supplementary-cooling-capacity analysis
As in the case of the unit’s operation in the Urumqi data center, the cooling loads handled by the unit in different modes in the Beijing data center were calculated. On the premise of meeting the supply/return-air temperatures of the server room, from the cooling loads handled by each operation mode of the unit in the whole year in Figure 16a, it can be seen that the FAIHT mode handles the biggest cooling load throughout the year, accounting for 54.87% of the total. There is no significant difference in the cold loads between the IEC and hybrid modes. IEC accounts for 24.56% of the cooling load, while the hybrid cooling mode accounts for 20.57%. This indicates that in moderately humid places like Beijing, the FAIHT and IEC modes are sufficient for meeting the cooling-load requirements for a significant portion of the year. But, the length of time it takes to turn on the hybrid mode for supplemental cooling is longer than in Urumqi.
Figure 16b illustrates the variation in mechanical cooling capacity over time when the IEC air-conditioning unit is operational in the Beijing DC. The necessity for mechanical refrigeration starts in May, and during this time, mechanical cooling is intermittent, occurring only at isolated moments on certain days. After mid-June, both the duration and intensity of mechanical cooling gradually increase. During July and August, mechanical cooling is required more frequently and with greater intensity. In September, the duration and intensity of mechanical cooling gradually decrease. Typically, the DC in Beijing requires an annual supplementary cooling capacity of 116,011.34 kW·h. Additionally, the maximum supplementary cooling capacity per unit hour is 172.48 kW·h. The mechanical cooling capacity typically begins operating between May and September. Beijing has a broader range of mechanical cooling time compared to Urumqi. July and August in particular are high-load periods for mechanical refrigeration.
3.
COP analysis
Table 7 clearly demonstrates that the COP of the unit is significantly affected by the season as well as the external dry and wet bulb temperatures. In January, the unit reached the greatest monthly average COP value of 8.61, while in August, the lowest monthly average COP value was 3.72. The yearly average COP value of the unit is 6.33. According to Figure 17, the annual running COP change curve shows that the unit’s annual COP fluctuates between 2.43 and 9.26. The discrepancy in COP is due to the low outdoor air temperature in January in Beijing, and the FAIHT mode is capable of satisfying the cold-load requirements of the equipment room, resulting in the highest COP. Conversely, in August, the outdoor temperature is relatively high, and the unit operates predominantly in mixed mode, which results in a significant decrease in the COP compared to winter.
In conclusion, in a medium-humidity region such as Beijing, the operational time, energy consumption, and proportion of the load handled by the FAIHT mode and IEC mode remain dominant. The data from the energy consumption and COP of IEC air-conditioning units in the Beijing DC throughout the year indicate that these units are also well-suited for use in the Beijing DC.

3.2.3. Performance Analysis of Units in Dry Regions—A Case Study from Shanghai

  • Energy-consumption analysis
Based on the analysis of Shanghai’s meteorological conditions and while maintaining the supply- and return-air temperatures of the data center, the hourly operating power of the secondary fan was obtained through simulation. Presented in Table 8, during operation periods at the Shanghai DC, the unit’s monthly power usage reached its minimum in February, at only 2.04 × 103 kW·h, and reached its maximum in July, at 5.34 × 103 kW·h. The annual maximum operating energy consumption per hour was 92.02 kW, which happened at the 5104th hour in summer. The outdoor dry bulb temperature and wet bulb temperature during this time were 37.46 °C and 31.52 °C, respectively. On the other hand, the minimum operating energy consumption per hour was 25.20°kW, occurring at the 553rd hour in winter. The corresponding outdoor dry bulb temperature and wet bulb temperature during this time were −4.14 °C and −5.26 °C, respectively.
Figure 18b displays the overall power consumption of each mode in the Shanghai DC. The total power consumption amounts to 398,085.42 kW·h. The FAIHT mode has an annual power consumption of 120,652.80 kW·h, which accounts for approximately 30.31% of the total. The IEC mode has an annual power consumption of 89,895.68 kW·h, accounting for about 22.58%. The hybrid mode has the highest annual power consumption of 187,536.94 kW·h, representing 47.11% of the total.
2.
Unit supplementary-cooling-capacity analysis
From Figure 19a when considering the cooling load handled by the three modes of the unit throughout the year, the FAIHT mode handles the biggest cooling load, amounting to 42.87%. The load proportion for the IEC mode is 24.76%, while for the hybrid mode it is 32.37%. This indicates that in regions with high humidity, such as Shanghai, there are certain periods during the year when it is possible to utilize the FAIHT mode and IEC mode to cool down the hot return air. However, it is also important to note that the mechanical cooling system is frequently used for a significant portion of the time.
Figure 19b depicts the variation in mechanical cooling capacity over time in Shanghai. According to the diagram, starting from April, the unit is required to use mechanical cooling. In April, mechanical cooling operates intermittently, with only a few isolated instances requiring mechanical cooling and the cooling capacity being quite low. From May to June, the intensity and duration of mechanical cooling gradually increase, with a few days where mechanical refrigeration is not necessary. During July and August, the duration and intensity of mechanical cooling continue to increase, with almost daily operation required, leading to high-load conditions for the equipment. Starting in September, the demand for mechanical cooling gradually decreases in both duration and intensity. By October, only minimal cooling replenishment is required occasionally. Overall, in the Shanghai DC, the annual mechanical refrigeration make-up cooling capacity is 219,850.5580 kW·h, with a maximum unit hourly make-up cooling capacity of 178.5080 kW·h. Furthermore, mechanical refrigeration cooling is required over a longer period throughout the year, whereas the period of high load for mechanical refrigeration cooling is concentrated specifically in July to August.
3.
COP analysis
The statistical results presented in Table 9 are the monthly average COP values of the DC unit in Shanghai. The COP of this unit had clear seasonal patterns and was influenced by the fluctuations in dry and wet bulb temperatures in the external air. In January, the monthly average COP reached its peak at 7.53, whereas it dropped to its lowest point in July at 3.13. The annual average COP was 5.42. The unit’s hourly COP curve, depicted in Figure 20, demonstrates fluctuations in COP values ranging from 2.39 to 8.73. The significant variation in COP values is mostly attributed to the cold weather conditions in Shanghai during the winter season (specifically in January). As a result, the unit can operate solely in the FAIHT mode to fulfill the cooling-load requirements of the machine room, leading to a high COP value. During the summer months of July and August, the unit is required to function in hybrid mode for the majority of the time due to the elevated outdoor temperature. As a result, the compressor operates under high load and consumes a significant amount of power. Thus, in comparison to winter, the COP value experiences a substantial decrease.
In summary, IEC air-conditioning units also have energy-saving effects in Shanghai. The hybrid mode of the unit does not carry the largest cooling load, but it does consume the largest amount of electricity. This indicates that the unit can use limited outdoor cold sources when operating in high-humidity regions, and most of the energy consumption is from mechanical cooling.

4. Comparative Analysis of Different Air-Conditioning Systems in DC

To verify the energy-saving benefits of IEC air-conditioning units, they are compared to traditional air-conditioning systems in DCs. This study compares a precision air conditioner with an air-cooled condenser (PACAC) and a standard water-cooled chiller + air-conditioning unit (WACS) to an IEC air-conditioning unit.

4.1. Comparative Analysis of Energy Consumption of Air-Conditioning Systems

Option one: The cold and hot channels of the DCs in every city were shut down. The air temperature within the DCs was set to 24 °C, while the return temperature in the hot channel was set to 36 °C. A model was constructed in DeST using real DC building information. According to the DC evaporative-cooling air-conditioning technical specification [35], which has different requirements for the thermal performance of the enclosure structure in the climatic zones of the three cities mentioned above, the maximum heat-transfer coefficient of the enclosure structure of the DC in each city was calculated by combining with the condition that the inner surface of the outer wall of the DC does not condense. Finally, the maximum cooling loads of the DCs in Urumqi, Beijing, and Shanghai were simulated to be 1421 kW, 1472 kW, and 1482 kW, respectively.
Option two: Selection of 10 PACACs that have a refrigeration capacity of 150 kW and a power rating of 52.5 kW each.
Option three: Traditional WACSs require the installation of a cooling source, such as chiller unit, cooling tower, freezing water pump, cooling water pump, and air-conditioning unit. The relevant equipment selection is shown in Table 10.
By considering three different air-conditioning systems, we can determine the annual energy usage of the air-conditioning system in the DCs. The year-round running energy consumption of the IEC unit is determined using the TRNSYS simulation calculation mentioned before. The water consumption of the unit in the IEC mode and the hybrid mode can be determined using the following formula [36]:
W = 0.001 d h d 0 q .
In the formula, W is the evaporation water consumption; the unit is kg/s. d h is the humidity content of the outdoor-air wet bulb temperature at the saturation state; the unit is g/kg. d 0 is the humidity content of outdoor air; the unit is g/kg. q is the air volume of the secondary fan; the unit is kg/s.
The formula provided can be used to calculate the power- and water-consumption-saving rates of IEC air-conditioning units in comparison to traditional air-conditioning systems over the course of a year [36].
Φ = W 0 W 1 W 1 .
In the formula, Φ is the energy-saving rate or water-saving rate of the IEC air conditioner; the unit is %. W 0 is the annual electricity or water consumption of a conventional air-conditioning system; the unit is kW·h or m3. W 1 is the annual power or water consumption of the IEC air-conditioning unit; the unit is kW·h or m3.
The comparison results are derived by individually analyzing the energy consumption of IEC air-conditioning units and conventional air-conditioning units in DC. Please refer to Table 11 for more details.
Table 11 demonstrates that the energy-saving rate of IEC air-conditioning systems in Urumqi, Beijing, and Shanghai was 57.46%, 48.26%, and 39.41% accordingly. The energy-saving effect was clearly evident.
Table 12 shows that the annual power consumption and water consumption of IEC air-conditioning units used in DCs are lower than those of conventional WACSs. The power-saving rates of IEC air-conditioning systems in Urumqi, Beijing, and Shanghai were 41.11%, 35.96%, and 29.95%, respectively. Similarly, the water-saving rates in these cities were 78.26%, 75.01%, and 68.75%, respectively. The energy and water-conservation benefits of IEC air-conditioning devices are readily apparent.
By comparing Table 11 and Table 12, it is evident that the PACAC has the highest annual energy consumption, followed by the WACS, and the IEC air-conditioning system has the lowest energy consumption. Furthermore, when compared to Beijing and Shanghai, the DC air-conditioning system in the Urumqi region utilizes an IEC air-conditioning unit that achieves the highest rates of electricity and water conservation. This demonstrates that the energy consumption of the IEC air-conditioning unit is strongly influenced by the local climate conditions. In regions with lower air temperature and humidity, the unit has lower annual power consumption and water consumption. Consequently, the unit’s ability to save electricity and water is more pronounced in such regions.

4.2. PUE Comparative Analysis of the DCs

The combined energy usage of IT equipment in the DCs is 1497.6 kW. Additionally, the electrical distribution for other lighting is estimated at 100 kW [34]. Table 13 below displays the yearly average PUE values of the DCs when various air-cooling systems are employed in different regions.
Table 13 clearly demonstrates that IEC air-conditioning systems have significant energy-saving effects. Moreover, the annual average PUE values of the DCs in all three regions are consistently below 1.3, because utilizing outdoor natural cold sources significantly decreases the energy usage of air-conditioning systems in DCs. The average annual PUE values for PACACs in the three locations reach a maximum of 1.42, while the average annual PUE values for WACSs fall between these two values. Based on the analysis of how climate conditions affect the PUE values of DCs in various regions, it is evident that as a DC moves from a region with hot summers and cold winters to a colder region, the average annual PUE value decreases in correlation with the decrease in outdoor air temperature and relative humidity. Based on these facts, the Shanghai DC has the greatest average annual PUE value, followed by Beijing, while Urumqi has the lowest average annual PUE value.

5. Conclusions

This study utilizes pre-existing IEC air-conditioning systems and applies them to DCs located in three cities with varying humidity levels. A unit model is constructed using TRNSYS simulation software, and its accuracy is validated through a comparative analysis with actual operational data. To evaluate and compare the adaptability of units in different regions, the authors collected data on unit time allocation, energy consumption, and COP parameter curves for typical cities, assuming that the DC’s supply and return temperatures are met. The authors analyzed IEC compared with PACACs in DCs. Based on this analysis, the authors reached the following conclusion:
  • In Urumqi, the unit operated in FAIHT mode and IEC mode for approximately 97.29% of the year, thereby nearly accomplishing 100% natural cooling. The unit’s total energy consumption for the year was 279,498.77 kW·h, and it had an annual mechanical cooling capacity of 7253.52 kW·h. The unit’s average annual COP was 7.34.
  • In Beijing, the unit was able to utilize natural cooling sources for around 79% of the year. The total annual energy consumption of the unit was 339,930.91 kW·h, with an annual requirement of 116,011.34 kW·h for mechanical cooling. The average annual COP of this unit was 6.33.
  • In Shanghai, the unit was able to utilize natural cooling sources for around 43% of the year. The total annual energy consumption of the unit was 398,085.42 kW·h, and the yearly demand for mechanical cooling was 219,850.55 kW·h. The unit had an average annual COP of 5.42.
  • The most effective application of an IEC air conditioner was at the Urumqi DC, followed by Beijing and, finally, Shanghai. The adaption impact is ordered as dry regions > medium-humidity regions > high-humidity regions;
  • The energy consumption of an IEC air-conditioning system was compared to that of a PACAC. In Urumqi, Beijing, and Shanghai, the energy-saving rates of the IEC system were 57.46%, 48.26%, and 39.41%, respectively. The energy-saving effect is clearly evident.
  • The IEC air-conditioning system has reduced annual power usage and water consumption compared to the WACS. The power-saving rates of the IEC air-conditioning systems in Urumqi, Beijing, and Shanghai were 41.11%, 35.96%, and 29.95%, respectively. The water-saving rates were 78.26%, 75.01%, and 68.75%, respectively. The energy- and water-saving impacts were significant in all three cities.
  • The annual energy consumption of PACAC was the highest, followed by WACS, and the IEC air-conditioning system was the lowest;
  • The energy consumption of the IEC air-conditioning unit is directly influenced by the climate conditions of the region. In regions with lower air temperature and humidity, the unit will have lower annual electricity and water consumption. This will result in more significant energy- and water-saving effects.
  • The average yearly PUE value of IEC air-conditioning units is the lowest, falling below 1.3. The PACAC has the greatest average yearly PUE value, which reaches 1.42. The WACS has an average yearly PUE value that falls between the values of the IEC system and the PACAC.
This paper provides some references for the application and promotion of IEC air conditioners in DCs in different humidity regions. However, due to time constraints, this paper has the following shortcomings and future improvements.
  • During the implementation of the project, the staff must take into account the energy consumption resulting from the air-filtration treatment, as it varies in different places due to variances in the air environment. This aspect of energy consumption is not accounted for in the overall energy consumption of the units in this article. It is important to thoroughly consider this aspect in future research and ensure its applicability to practical projects.
  • This study does not directly measure the operating-energy consumption of units in various humidity locations. Instead, it examines the annual operating-energy consumption of IEC air-conditioning units in different humidity regions using simulated experiments. Future studies can corroborate the findings of this paper by combining them with field experiments.
  • In the field of practical implementation, it is necessary to conduct further research on the units and address challenges and issues related to the design and operation processes. These include the coupling of the building facade and the unit, the selection of materials for the heat-exchange core, the requirements for water-quality treatment, etc. Moreover, in the current research, we focused on existing IEC units, which combined indirect evaporative cooling and mechanical refrigeration, while some other potential alternative technologies to cover the mechanical refrigeration load were not considered.

Author Contributions

Methodology, J.L.; software, L.L.; investigation, B.Z.; resources, X.X. and B.Z.; data curation, L.L.; writing—original draft preparation, Q.W.; writing—review and editing, Q.W. and X.Y.; supervision, J.L.; project administration, X.X. All authors have read and agreed to the published version of the manuscript.

Funding

This research received no external funding.

Data Availability Statement

The original contributions presented in the study are included in the article, further inquiries can be directed to the corresponding author.

Conflicts of Interest

Author Xiaoping Xia is employed by the company Southern Power Gird Integrated Energy Co, China. Author Bin Zhang is employed by the company Yue Neng Building, China. The remaining authors declare that the research was conducted in the absence of any commercial or financial relationships that could be construed as a potential conflict of interest.

Abbreviations

The following abbreviations are used in this manuscript:
DCData center
IECIndirect evaporative cooling
COPCoefficient of performance
PUEPower-usage effectiveness
PACACPrecision air conditioner with air-cooled condenser
WACSWater-cooled air-conditioning system
FAIHTFresh-air indirect heat transfer

References

  1. Li, C.; Li, J. Thermal characteristics of a flat plate pulsating heat pipe module for onsite cooling of high power server CPUs. Therm. Sci. Eng. Prog. 2023, 37, 101542. [Google Scholar] [CrossRef]
  2. CAICT. White Paper on Data Center (2022). In Proceedings of the New Data Center Seminar and Data Center White Paper (2022) Conference, Beijing, China, 27 April 2022. [Google Scholar]
  3. Moazamigoodarzi, H.; Tsai, P.J.; Pal, S.; Ghosh, S.; Puri, I.K. Influence of cooling architecture on data center power consumption. Energy 2019, 183, 525–535. [Google Scholar] [CrossRef]
  4. Petrovi’c, S.; Colangelo, A.; Balyk, O.; Delmastro, C.; Gargiulo, M.; Simonsen, M.; Karlsson, K. The role of data centers in the future Danish energy system. Energy 2020, 194, 116928. [Google Scholar] [CrossRef]
  5. Shao, X.; Zhang, Z.; Song, P.; Feng, Y.; Wang, X. A review of energy efficiency evaluation metrics for data centers. Energy Build. 2022, 271, 112308. [Google Scholar] [CrossRef]
  6. Dai, J.; Das, D.; Pecht, M. Prognostics-based risk mitigation for telecom equipment under free air-cooling conditions. Appl. Energy 2012, 99, 423–429. [Google Scholar] [CrossRef]
  7. Guilizzoni, M.; Milani, S.; Liberati, P.; De Antonellis, S. Effect of plates coating on performance of an indirect evaporative cooling system. Int. J. Refrig. 2019, 104, 367–375. [Google Scholar] [CrossRef]
  8. Velasco Gómez, E.; Tejero González, A.; Rey Martínez, F.J. Experimental characterisation of an indirect evaporative cooling prototype in two operating modes. Appl. Energy 2012, 97, 340–346. [Google Scholar] [CrossRef]
  9. Sun, T.; Tang, T.; Yang, C.; Yan, W.; Cui, X.; Chu, J. Cooling performance and optimization of a tubular indirect evaporative cooler based on response surface methodology. Energy Build. 2023, 285, 112880. [Google Scholar] [CrossRef]
  10. Ham, S.W.; Kim, M.H.; Choi, B.N.; Jeong, J.W. Energy saving potential of various air-side economizers in a modular data center. Appl. Energy 2015, 138, 258–275. [Google Scholar] [CrossRef]
  11. Chen, Q.; Ja, M.K.; Burhan, M.; Shahzad, M.W.; Ybyraiymkul, D.; Zheng, H.; Ng, K.C. Experimental study of a sustainable cooling process hybridizing indirect evaporative cooling and mechanical vapor compression. Energy Rep. 2022, 8, 7945–7956. [Google Scholar] [CrossRef]
  12. Bi, Y.; Wang, Y.; Ma, X.; Zhao, X. Investigation on the energy saving potential of using a novel dew point cooling system in data centers. Energies 2017, 10, 1732. [Google Scholar] [CrossRef]
  13. Weerts, B.A.; Gallaher, D.; Weaver, R.; VanGeet, P.E.O. Green data center cooling: Achieving 90% reduction: Airside economization and unique indirect evaporative cooling. In Proceedings of the 2012 IEEE Green Technologies Conference, Tulsa, OK, USA, 19–20 April 2012; IEEE: New York, NY, USA, 2012; pp. 1–6. [Google Scholar]
  14. Porumb, B.; Ungureşan, P.; Tutunaru, L.F.; Şerban, A.; Balan, M. A review of indirect evaporative cooling technology. Energy Procedia 2016, 85, 461–471. [Google Scholar] [CrossRef]
  15. Chen, M.; Huang, X.; Jin, Y.; Wu, M.; Chen, H.; Wang, X.; Miao, H. Performance test and applicability analysis of indirect evaporative cooling air conditioning unit for data center. Fluid Mach. 2022, 50, 7–13. [Google Scholar] [CrossRef]
  16. Air Max Hybrid Roof Top Unit Performance Western Cooling Challenge Laboratory Test Results; California Davis, Western Cooling Efficiency Center: Davis, CA, USA, 2012.
  17. Munters Data Center Cooling Solutions. Jan [EBOL]. Available online: https://www.munters.com (accessed on 21 March 2018).
  18. Cui, X.; Chua, K.; Islam, M.; Ng, K. Performance evaluation of an indirect pre-cooling evaporative heat exchanger operating in hot and humid climate. Energy Convers. Manag. 2015, 102, 140–150. [Google Scholar] [CrossRef]
  19. Kim, M.H.; Jeong, D.S.; Jeong, J.W. Practical thermal performance correlations for a wet-coil indirect evaporative cooler. Energy Build. 2015, 96, 285–298. [Google Scholar] [CrossRef]
  20. Wang, C.H.; Tsui, Y.Y.; Wang, C.C. On cold-aisle containment of a container datacenter. Appl. Therm. Eng. 2017, 112, 133–142. [Google Scholar] [CrossRef]
  21. Chu, W.X.; Hsu, C.S.; Tsui, Y.Y.; Wang, C.C. Experimental investigation on thermal management for small container data center. J. Build. Eng. 2019, 21, 317–327. [Google Scholar] [CrossRef]
  22. Berezovskaya, Y.; Yang, C.W.; Mousavi, A.; Vyatkin, V.; Minde, T.B. Modular Model of a Data Centre as a Tool for Improving Its Energy Efficiency. IEEE Access 2020, 8, 46559–46573. [Google Scholar] [CrossRef]
  23. Xiong, X.; Fulpagare, Y.; Lee, P.S. A numerical investigation of fan wall cooling system for modular air-cooled data center. Build. Environ. 2021, 205, 108287. [Google Scholar] [CrossRef]
  24. Chu, J.; Huang, X. Research status and development trends of evaporative cooling air-conditioning technology in data centers. Energy Built Environ. 2023, 4, 86–110. [Google Scholar] [CrossRef]
  25. Romero-Lara, M.J.; Comino, F.; Ruiz de Adana, M. Experimental assessment of the energy performance of a renewable air-cooling unit based on a dew-point indirect evaporative cooler and a desiccant wheel. Energy Convers. Manag. 2024, 310, 118486. [Google Scholar] [CrossRef]
  26. Pacak, A.; Sierpowski, K.; Baran, B.; Malecha, Z.; Worek, W.; Cetin, S.; Pandelidis, D. Impact of air distribution on dew point evaporative cooler thermal performance. Appl. Therm. Eng. 2023, 224, 120137. [Google Scholar] [CrossRef]
  27. Li, C.; Mao, R.; Wang, Y.; Zhang, J.; Lan, J.; Zhang, Z. Experimental study on direct evaporative cooling for free cooling of data centers. Energy 2024, 288, 129889. [Google Scholar] [CrossRef]
  28. Rampazzo, M.; Lionello, M.; Beghi, A.; Sisti, E.; Cecchinato, L. A static moving boundary modelling approach for simulation of indirect evaporative free cooling systems. Appl. Energy 2019, 250, 1719–1728. [Google Scholar] [CrossRef]
  29. Wang, Z. Climate Zoning Research for Air Conditioning System Design. Master’s Thesis, Zhejiang University, Hangzhou, China, 2019. [Google Scholar]
  30. Jia, C. Design and Application of Evaporative Cooling + Mechanical Refrigeration Combined Air Conditioning Unit. Master’s Thesis, Xi’an Polytechnic University, Xi’an, China, 2020. [Google Scholar]
  31. Xiao, X. Energy saving analysis of indirect evaporative cooling air conditioning unit in data center. HVAC 2019, 49, 5. [Google Scholar]
  32. Bizo, D.; Ascierto, R.; Lawrence, A.; Davis, J. Uptime Institute Global Data Center Survey 2021; UII-511; Uptime Institute: New York, NY, USA, 2021. [Google Scholar]
  33. Gillis, A.S.; Fontecchio, M. What Is Pue (Power Usage Effectiveness)? Data Center Website. 2022. Available online: https://www.techtarget.com/searchdatacenter/definition/power-usage-effectiveness-PUE (accessed on 14 April 2024).
  34. He, H.; Huang, X.; Zhang, H.; Sun, T.; Luo, R. Experimental study on distribution and retention of water in dew-point indirect evaporative cooler. J. Xi Polytech. Univ. 2019, 33, 395–400. [Google Scholar] [CrossRef]
  35. T/DZJN10-2020; Data Center Evaporative Cooling Air Conditioning Technical Specification. China Electronics Energy-Saving Technology Association Data Center Energy-Saving Technology Committee: Beijing, China, 2020.
  36. GB50179-2015; Energy Saving Design Standard for Public Buildings. China Building Industry Press: Beijing, China, 2015.
Figure 1. Physical model diagram of the DC.
Figure 1. Physical model diagram of the DC.
Buildings 14 03623 g001
Figure 2. Schematic diagram of the structure of an indirect evaporative cooling air-conditioning unit.
Figure 2. Schematic diagram of the structure of an indirect evaporative cooling air-conditioning unit.
Buildings 14 03623 g002
Figure 3. IEC air-conditioning unit FAIHT-mode simulation diagram.
Figure 3. IEC air-conditioning unit FAIHT-mode simulation diagram.
Buildings 14 03623 g003
Figure 4. TRNSYS simulation diagram of IEC air-conditioning unit.
Figure 4. TRNSYS simulation diagram of IEC air-conditioning unit.
Buildings 14 03623 g004
Figure 5. Energy consumption curves of the unit in different modes: (a) FAIHT mode; (b) IEC mode; (c) hybrid mode.
Figure 5. Energy consumption curves of the unit in different modes: (a) FAIHT mode; (b) IEC mode; (c) hybrid mode.
Buildings 14 03623 g005
Figure 6. Model diagram of climate-parameter acquisition.
Figure 6. Model diagram of climate-parameter acquisition.
Buildings 14 03623 g006
Figure 7. Outdoor-air dry bulb and wet bulb temperature distributions throughout the year: (a) Urumqi; (b) Beijing; (c) Shanghai.
Figure 7. Outdoor-air dry bulb and wet bulb temperature distributions throughout the year: (a) Urumqi; (b) Beijing; (c) Shanghai.
Buildings 14 03623 g007aBuildings 14 03623 g007b
Figure 8. Relative humidity distribution of outdoor air throughout the year: (a) Urumqi; (b) Beijing; (c) Shanghai.
Figure 8. Relative humidity distribution of outdoor air throughout the year: (a) Urumqi; (b) Beijing; (c) Shanghai.
Buildings 14 03623 g008
Figure 9. The number of hours of available time per year for the three operating modes of units in different months in Urumqi.
Figure 9. The number of hours of available time per year for the three operating modes of units in different months in Urumqi.
Buildings 14 03623 g009
Figure 10. The number of hours of available time per year for the three operating modes of units in different months in Beijing.
Figure 10. The number of hours of available time per year for the three operating modes of units in different months in Beijing.
Buildings 14 03623 g010
Figure 11. The number of hours of available time per year for the three operating modes of units in different months in Shanghai.
Figure 11. The number of hours of available time per year for the three operating modes of units in different months in Shanghai.
Buildings 14 03623 g011
Figure 12. Energy consumption of the units in Urumqi: (a) annual operating power of the unit; (b) annual power consumption of the three modes of the unit.
Figure 12. Energy consumption of the units in Urumqi: (a) annual operating power of the unit; (b) annual power consumption of the three modes of the unit.
Buildings 14 03623 g012
Figure 13. Supplementary cooling capacity of the unit: (a) cooling load borne by each mode; (b) annual mechanical cooling capacity of the unit.
Figure 13. Supplementary cooling capacity of the unit: (a) cooling load borne by each mode; (b) annual mechanical cooling capacity of the unit.
Buildings 14 03623 g013
Figure 14. Unit hourly COP throughout the year in Urumqi.
Figure 14. Unit hourly COP throughout the year in Urumqi.
Buildings 14 03623 g014
Figure 15. Energy consumption of the unit: (a) annual operating power of the unit; (b) annual power consumption of the three modes of the unit.
Figure 15. Energy consumption of the unit: (a) annual operating power of the unit; (b) annual power consumption of the three modes of the unit.
Buildings 14 03623 g015
Figure 16. Supplementary cooling capacity of the unit: (a) cooling load handled by each mode; (b) annual mechanical cooling capacity of the unit.
Figure 16. Supplementary cooling capacity of the unit: (a) cooling load handled by each mode; (b) annual mechanical cooling capacity of the unit.
Buildings 14 03623 g016
Figure 17. Unit hourly COP throughout the year in Beijing.
Figure 17. Unit hourly COP throughout the year in Beijing.
Buildings 14 03623 g017
Figure 18. Energy consumption of the unit: (a) annual operating power of the unit; (b) annual power consumption of the three modes of the unit.
Figure 18. Energy consumption of the unit: (a) annual operating power of the unit; (b) annual power consumption of the three modes of the unit.
Buildings 14 03623 g018
Figure 19. Supplementary cooling capacity of the unit: (a) cooling load handled by each mode; (b) annual mechanical cooling capacity of the unit.
Figure 19. Supplementary cooling capacity of the unit: (a) cooling load handled by each mode; (b) annual mechanical cooling capacity of the unit.
Buildings 14 03623 g019
Figure 20. Unit hourly COP throughout the year in Shanghai.
Figure 20. Unit hourly COP throughout the year in Shanghai.
Buildings 14 03623 g020
Table 1. Interior design parameters of each functional area of the DC.
Table 1. Interior design parameters of each functional area of the DC.
Functional AreaRoom Size (m2)Temperature RangeRelative Humidity Range
Data room (cold aisle)——24 °C40~60%
Data room (hot aisle)——36 °C——
Switching room6 × 2020~30 °C23~27%
Battery room6 × 2015~25 °C40~70%
Lounge8 × 1420~24 °C50~60%
Office area8 × 2018~26 °C50~60%
Test room6 × 822~26 °C40~70%
Table 2. Typical urban climate characteristics.
Table 2. Typical urban climate characteristics.
CityWet Bulb Temperature for Summer Air-Conditioning Calculations/°CDry Bulb Temperature for Summer Air-Conditioning Calculations/°CDry Bulb Temperature for Summer Ventilation Calculations/°CDry Bulb Temperature Calculated for Air Conditioning in Winter/°CDry Bulb Temperature for Winter Ventilation Calculations/°CClimatic Characteristics/°C
Urumqi18.534.127.4−27.0−19.2Ts < 23 °C
Beijing26.533.529.9−9.9−7.623 °C ≤ Ts ≤ 28 °C
Shanghai28.334.030.8−4.03.5Ts > 28 °C
Table 3. Outdoor-environment parameter switching setpoints.
Table 3. Outdoor-environment parameter switching setpoints.
Unit Operation ModeOutdoor Dry/Wet Bulb TemperatureVentilatorWater StorageCompactors
FAIHT modeT ≤ 16 °COnOffOff
IEC modeT > 16 °C and Ts ≤ 19 °COnOnOff
Hybrid modeTs > 19 °COnOnOn
Table 4. Simulation results of monthly power consumption of units.
Table 4. Simulation results of monthly power consumption of units.
MonthJan.Feb.Mar.Apr.MayJun.Jul.Aug.Sep.Oct.Nov.Dec.
Power consumption (×103 kW·h)1.791.642.062.312.602.813.132.992.522.321.921.82
Table 5. Unit monthly average COP simulation results.
Table 5. Unit monthly average COP simulation results.
MonthJan.Feb.Mar.Apr.MayJun.Jul.Aug.Sep.Oct.Nov.Dec.
Power consumption (×103 kW·h)1.791.642.062.312.602.813.132.992.522.321.921.82
Table 6. Simulation results of monthly power consumption of units.
Table 6. Simulation results of monthly power consumption of units.
MonthJan.Feb.Mar.Apr.MayJun.Jul.Aug.Sep.Oct.Nov.Dec.
Power consumption (×103 kW·h)1.911.802.282.412.943.684.714.473.222.542.091.94
Table 7. Unit monthly average COP simulation results.
Table 7. Unit monthly average COP simulation results.
MonthJan.Feb.Mar.Apr.MayJun.Jul.Aug.Sep.Oct.Nov.Dec.
COP8.618.257.586.675.684.463.583.725.066.527.668.45
Table 8. Simulation results of monthly power consumption of units.
Table 8. Simulation results of monthly power consumption of units.
MonthJan.Feb.Mar.Apr.MayJun.Jul.Aug.Sep.Oct.Nov.Dec.
Power consumption (×103 kW·h)2.192.042.452.723.404.195.345.274.113.212.592.30
Table 9. Unit monthly average COP simulation results.
Table 9. Unit monthly average COP simulation results.
MonthJan.Feb.Mar.Apr.MayJun.Jul.Aug.Sep.Oct.Nov.Dec.
COP7.537.316.725.924.913.893.133.173.955.186.217.17
Table 10. Selection of WACS equipment.
Table 10. Selection of WACS equipment.
EquipmentTypeMain ParametersQuantity
Cooling towerSXT-150TPower (kW)2.25
Water-cooled chillerTL-100WSCPower (kW)745
Refrigeration
output (kW)
321
Air-conditioning unit——Power (kW)1015
Refrigeration
output (kW)
130
Freezing water pump65-160IAPower (kW)5.55
Head of delivery (m)21
Rate of flow (m3/h)61
Cooling water pump80-125APower (kW)155
Head of delivery (m)24
Rate of flow (m3/h)72
Table 11. Comparison of energy consumption of IEC air-conditioning systems and PACACs.
Table 11. Comparison of energy consumption of IEC air-conditioning systems and PACACs.
CityPACACIEC Annual
Power Consumption (kW·h)
Annual Water Consumption (m3)The Power Saving Rate (%)
Unit Power
(kW)
Run-Up Time
(h)
Annual Power Consumption (kW·h)
Urumqi52587604,599,0001,956,49015,923.657.46
Beijing52587604,599,0002,379,51619,369.748.26
Shanghai52587604,599,0002,786,59524,524.539.41
Table 12. Comparison of energy consumption of IEC air-conditioning systems and WACSs.
Table 12. Comparison of energy consumption of IEC air-conditioning systems and WACSs.
CityWSCS IEC Water-Saving Rate (%)The Power-Saving Rate (%)
Annual Water Consumption (m3)Annual Power Consumption (kW·h)Annual Water Consumption (m3)Annual Power Consumption (kW·h)
Urumqi73,248.63,322,07215,923.61,956,49078.2641.11
Beijing77,478.83,715,64219,369.72,379,51675.0135.96
Shanghai78,478.43,978,02124,524.52,786,59568.7529.95
Table 13. PUE values of different air-conditioning systems in DCs in different regions.
Table 13. PUE values of different air-conditioning systems in DCs in different regions.
ItemCityTotal Energy Consumption of the Air-Conditioning System (kW·h)Total Energy Consumption of IT Equipment (kW·h)Total Energy Consumption of Machine Room (kW·h)CLFPUE
IECUrumqi1,956,49013,118,97615,951,4660.141.21
Beijing2,379,51613,118,97616,374,4920.181.24
Shanghai2,786,59513,118,97616,781,5710.211.27
PACAC——34,599,00013,118,97618,593,9760.351.42
WACSUrumqi3,322,07213,118,97617,317,0480.251.32
Beijing3,715,64213,118,97617,710,6180.281.35
Shanghai3,978,02113,118,97617,972,9970.301.37
Disclaimer/Publisher’s Note: The statements, opinions and data contained in all publications are solely those of the individual author(s) and contributor(s) and not of MDPI and/or the editor(s). MDPI and/or the editor(s) disclaim responsibility for any injury to people or property resulting from any ideas, methods, instructions or products referred to in the content.

Share and Cite

MDPI and ACS Style

Wei, Q.; Lu, J.; Xia, X.; Zhang, B.; Ying, X.; Li, L. Performance and Applicability Analysis of Indirect Evaporative Cooling Units in Data Centers Across Various Humidity Regions. Buildings 2024, 14, 3623. https://doi.org/10.3390/buildings14113623

AMA Style

Wei Q, Lu J, Xia X, Zhang B, Ying X, Li L. Performance and Applicability Analysis of Indirect Evaporative Cooling Units in Data Centers Across Various Humidity Regions. Buildings. 2024; 14(11):3623. https://doi.org/10.3390/buildings14113623

Chicago/Turabian Style

Wei, Qian, Jun Lu, Xiaoping Xia, Bin Zhang, Xiang Ying, and Leihong Li. 2024. "Performance and Applicability Analysis of Indirect Evaporative Cooling Units in Data Centers Across Various Humidity Regions" Buildings 14, no. 11: 3623. https://doi.org/10.3390/buildings14113623

APA Style

Wei, Q., Lu, J., Xia, X., Zhang, B., Ying, X., & Li, L. (2024). Performance and Applicability Analysis of Indirect Evaporative Cooling Units in Data Centers Across Various Humidity Regions. Buildings, 14(11), 3623. https://doi.org/10.3390/buildings14113623

Note that from the first issue of 2016, this journal uses article numbers instead of page numbers. See further details here.

Article Metrics

Back to TopTop