Next Article in Journal
A Study of the Optical Properties and Stability of Cs0.33WO3 with Different Particle Sizes for Energy-Efficient Window Films in Building Glazing
Previous Article in Journal
GFRP-Reinforced Concrete Columns: State-of-the-Art, Behavior, and Research Needs
 
 
Font Type:
Arial Georgia Verdana
Font Size:
Aa Aa Aa
Line Spacing:
Column Width:
Background:
Article

Experimental Study and Design Method of Cold-Formed Thin-Walled Steel Unequal-Leg Angles under Axial Compression

1
School of Civil Engineering and Architecture, Nanchang Institute of Technology, Nanchang 330099, China
2
Jiangxi Province Key Laboratory of Structural Safety of Hydraulic and Hydropower Engineering, Nanchang Institute of Technology, Nanchang 330099, China
*
Author to whom correspondence should be addressed.
Buildings 2024, 14(10), 3132; https://doi.org/10.3390/buildings14103132
Submission received: 15 August 2024 / Revised: 18 September 2024 / Accepted: 27 September 2024 / Published: 30 September 2024
(This article belongs to the Special Issue Structural Performance of Building Steel)

Abstract

An experimental study of cold-formed thin-walled steel unequal-leg angles (CFTWS-ULAs) under axially oriented pressure is presented in this paper. Firstly, the initial imperfections and material properties of the angle specimens were measured in detail. The angle specimens were tested under fixed-ended conditions. The results of the experiments showed that the angle specimens with small slenderness ratios were susceptible to local buckling, the angle specimens whose legs had high slenderness ratios and low width–thickness ratios were found to easily suffer from the occurrence of flexural buckling, and the angle specimens whose legs had high width–thickness ratios were found to easily suffer from the occurrence of interactive buckling between local buckling and flexural buckling. The finite element analysis of the ULAs was conducted using ABAQUS6.14 finite element software by creating a model. The buckling modes and ultimate bearing capacities of the test specimens were compared, and the finite element analysis verified that the established model built using the finite element is credible and subsequent parametric analysis was performed. The slenderness ratio had the most significant impact on the ultimate bearing capacities of the unequal-leg angles, as indicated by the analysis results. When the width–thickness ratio and the width ratio of the legs fell within a specific range, the ultimate bearing capacities of the unequal-leg angles increased as the width–thickness ratio and the width ratio of the legs increased. Finally, the comparison results showed that the design strengths predicted by the specifications were very conservative, because the local buckling and torsional buckling were calculated at the same time. Therefore, a recommendation was proposed that the calculation of the load-carrying capacity of an unequal-leg angle should ignore torsional buckling.

1. Introduction

With the advancement of the steel industry and the increasing demand for structural performance, the application of cold-formed steel in the construction field has become increasingly widespread in recent years. Cross-sections of CFTWS members mainly include a channel section, lipped channel section, and angle section. There are many studies on CFTWS channel and lipped channel members [1,2,3,4,5,6,7]. Although the cold-formed angle section is quite simple, the design of the load-carrying capacity and buckling mode are quite complicated for designers [8]. CFTWS with excellent mechanical properties and high bearing capacity has a large number of applications in construction structures, such as bridge structures and so on. What is more important, the centroid and shear center of a CFTWS-ULA do not coincide, and it is difficult to distinguish between torsional buckling and local buckling. So, further research on the design method of the load-carrying capacity and buckling mode of the angle section is important; particularly, there is a need to develop a design method for CFTWS-ULAs under axial compression.
In the past few years, many experimental and theoretical studies on CFTWS-ULAs under axial pressure have shown that the load-carrying capacity of the slender angle column should only consider flexural buckling. The experimental studies and calculation analysis by Young et al. put forward the same proposal [9,10]. The study performed by Young et al. [11] was conservative in its calculation of the axial compressive bearing capacity of equal-leg angles (ELAs), according to NAS and AS/NZS standards, and suggested ignoring the additional bending moment added into the specifications. Behzadi-Sofiani et al. [12] investigated ELAs under axial pressure, comparing the difference between fixed-ended conditions, and found that the torsional buckling and local buckling loads were essentially the same for short columns. The experimental study of complex-lipped equal-leg angle members under axial compression by Yao et al. [13,14] indicated that the nature of instability between the distortion buckling and the torsional buckling was the same. Ban et al. [15] conducted compression tests on high-intensity steel equal-leg angles, which concluded that the CFTWS member mainly experienced a failure in terms of the flexural–torsional buckling and suggested that the global buckling coefficient should be improved. Some scholars have researched the buckling behaviors and design methods of unequal-leg angles. The tests and analysis of CFTWS-ULAs by Young et al. [16,17] indicated that the North American specifications were not safe in regard to short and intermediate angle columns and were too precautionary for long angle columns. The testing of CFTWS-ULA members under axially oriented pressure [18] showed that the elastic flexural–torsional buckling load was only related to the slenderness ratio, while the elastic–plastic flexural–torsional buckling load was related to both the length and the long leg width. The tests and analysis of CFTWS-ULAs and complex-lipped angles (CFTWS-CLAs) under axially oriented pressure demonstrated that the direct strength method was too conservative, and a modified formula was developed [19,20].
The current specifications do not include a suitable design provision to calculate the ultimate carrying capacity of CFTWS-ULAs, because local buckling and torsional buckling are both considered in the calculation method. Therefore, this paper is focused on the buckling behavior and design method of CFTWS-ULAs under axially oriented pressure. First of all, tests on the CFTWS-ULAs under axially oriented pressure between both fixed-ended conditions are conducted to analyze the buckling behavior and ultimate bearing capacity. Then, the effect of different parameters on the ultimate bearing capacity is simulated using ABAQUS software. Finally, herein, this paper innovatively proposes a suggested method that considers local buckling, flexure, and local flexure interaction buckling. The design method of CFTWS-ULAs under axial compression is analyzed and proposed.

2. Experimental Investigation

2.1. Specimens

The ULA specimens were manufactured from a 2 mm, high-intensity, galvanized steel plate, which had a nominal yield strength of 550 MPa. The cross-section form of the specimens is shown in Figure 1, where a and b are the widths of the long and the short legs of the angle specimens, respectively, and t is the plate thickness of the angle specimens. The numbering rule in terms of the specimens is shown in Figure 2. The angle of the specimens is related to four different dimensions of the cross-sections, namely UPA3030, UPA4030, UPA6040, and UPA8060. There are four lengths for every kind of cross-section, namely 400 mm, 900 mm, 1500 mm, and 2100 mm. The dimensions of the angle specimens, both nominal and measured, can be found in Table 1 and Table 2, where λ denotes the slenderness ratio of the angle specimen.

2.2. Material Properties

In this paper, experiments were conducted to obtain material characteristics. The three specimens were cut from the center of the angle leg, which was the same batch as the specimens. The sizes, dimensions, and test method of coupons were in accordance with the GB/T228.1-2021 [21]. The test stress–strain curves of three coupons are shown in Figure 3. The material characteristics (average values) according to the tensile test are as follows: elastic modulus is 2.11 × 105 MPa, yield strength is 403 MPa, ultimate tensile strength is 522.8 MPa, and elongation after fracture is 31.3%.

2.3. Initial Geometric Imperfections

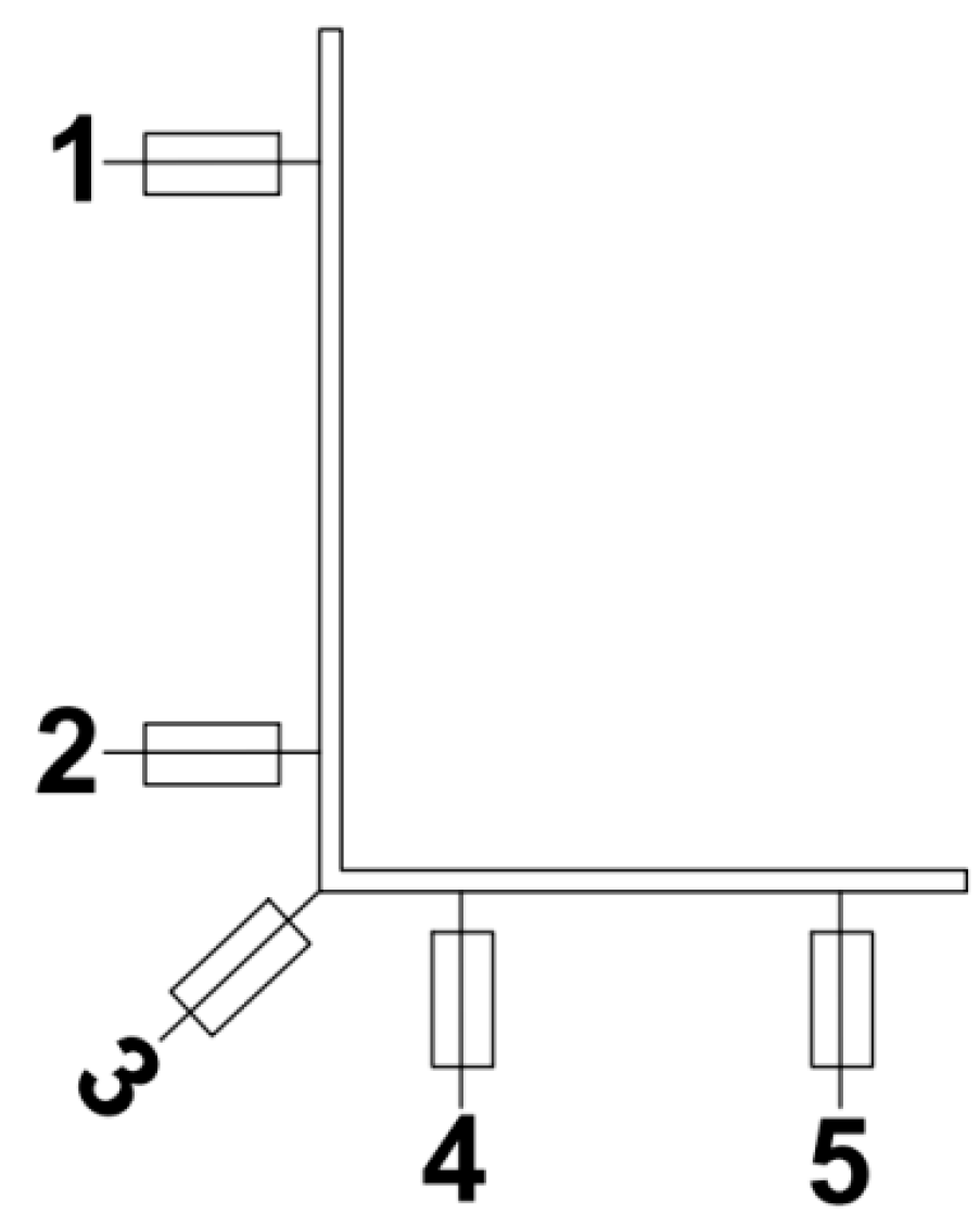
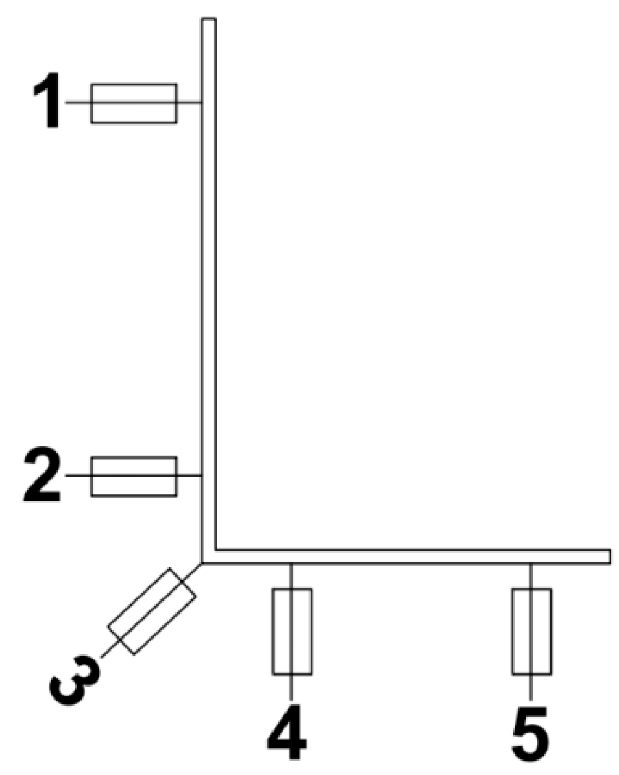
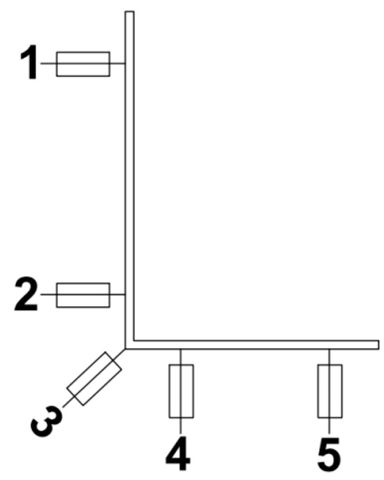
Initial geometric imperfections have a great influence on the buckling modes and ultimate bearing capacities of the CFTWS-ULAs. Before the test, the initial geometric imperfections of all specimens were determined using a micrometer. The measurement locations are shown in Figure 4. The outer convex deformation is taken as positive and the inner concave deformation is taken as negative. The numbers 1, 2, 4, and 5 indicate the localized initial geometric imperfections along the longitudinal direction, which are 10 mm away from the edge of the leg. Point 3 indicates the initial flexural geometric imperfection. The initial geometric imperfections of some typical CFTWS-ULA specimens along the longitudinal direction are shown in Figure 5. As shown in Figure 5, it can be seen that the values of initial local geometric imperfections are larger than that of the initial flexural geometric imperfections. The initial global flexural geometric imperfections of all specimens are less than L/750.

2.4. Test Bench and Operation

The vertical load was applied using a 30 kN hydraulic jack and reaction force frame system. The deformation data of the angle specimens during the test were collected using a YJ16 position sensor. Figure 6 depicts the device setup. The angle specimens were placed between two end plates so that the loading force was uniform at both ends. The loading plates at both ends were the 20 mm steel plates with 10 mm deep grooves. The angle specimens were inserted into the grooves to ensure that the ends of the specimens were fixed. The displacement meters were arranged as shown in Figure 7. Four displacement meters D1, D2, D3, and D4 were put at the mid-length section of specimens to measure the torsional deformation of the angle specimens and the displacement meter D5 was put at the top plate to measure the vertical displacement of angle specimens.

2.5. Test Results

The buckling and failure types for the CFTWS-ULA specimens under axially oriented pressure are shown in Figure 8, Figure 9, Figure 10 and Figure 11. The specimens mainly displayed local buckling, flexural buckling, and local–flexural interaction buckling, which were denoted by L, F, and L + F. Table 3 represents the buckling types and the ultimate load-carrying capacities of all CFTWS-ULA specimens. Figure 12 exhibits the curves of the axial compression and the axial deformation of CFTWS-ULA specimens.

2.5.1. 400 mm Unequal-Leg Angles

The buckling modes of the 400 mm CFTWS-ULA specimens are shown in Figure 8. In the initial loading stage, the deformation of the specimens was not easily noticeable. The angle specimens gradually showed the local buckling deformation when the loads were applied to 60–70% of the ultimate load capacities. With the gradual increase in loading, the specimens with a width–thickness ratio of 15 failed with the interactive buckling of the local buckling and the flexural buckling, as shown in Figure 8a. The specimens with width–thickness ratios of 20, 30, and 40 failed with the local buckling and yield, as shown in Figure 8b.

2.5.2. 900 mm Unequal-Leg Angles

The buckling types of the 900 mm CFTWS-ULA specimens are shown in Figure 9. The deformation of the angle specimens was not obvious at the early stage of loading. The specimens gradually displayed local buckling when the loads were applied to 80–90% of the ultimate load capacities. As the loading gradually increases, the specimens with width–thickness ratios of 15, 20, and 30 failed with the interactive buckling of the local buckling and the flexural buckling, as shown in Figure 9a. The specimens with width–thickness ratios of 40 failed with the local buckling and yield, as shown in Figure 9b.
Figure 9. Buckling types of the 900 mm CFTWS-ULA specimens.
Figure 9. Buckling types of the 900 mm CFTWS-ULA specimens.
Buildings 14 03132 g009

2.5.3. 1500 mm Unequal-Leg Angles

The buckling modes of the CFTWS-ULA specimens with a length of 1500 mm are exhibited in Figure 10. The deformation of the angle specimens was not really obvious at the initial step of loading. The specimens of UPA4030, UPA6040, and UPA8060 gradually displayed local buckling when the loads were applied to 70–80% of the ultimate load capacities. With the gradual increase in loading, the specimens with a width–thickness ratio of 15 failed with the flexural buckling, as shown in Figure 10a. The specimens with width–thickness ratios of 20 and 30 failed as a result of interactive buckling, involving both the local and flexural buckling, as depicted in Figure 10b. The specimens with width–thickness ratios of 40 failed with the local buckling and yield, as shown in Figure 10c.
Figure 10. Buckling types of the 1500 mm CFTWS-ULA specimens.
Figure 10. Buckling types of the 1500 mm CFTWS-ULA specimens.
Buildings 14 03132 g010
2.5.4. 2100 mm Unequal-Leg Angles
The buckling modes of the 2100 mm CFTWS-ULA specimens are shown in Figure 11. The deformation of specimens was not obvious at the beginning of loading. With the gradual increase in loading, the specimens with a width–thickness ratio of 15 failed with flexural buckling, as shown in Figure 11a. For the specimens with width–thickness ratios of 20, 30, and 40 (Figure 11b), local–flexural interaction buckling was found.
Figure 11. Buckling types of the 2100 mm CFTWS-ULA specimens.
Figure 11. Buckling types of the 2100 mm CFTWS-ULA specimens.
Buildings 14 03132 g011
The axially oriented pressure tests of CFTWS-ULAs fixed at both ends show that local buckling easily occurs when the slenderness ratio of the member is small. If the slenderness ratio is large and the ratio of width to thickness is small, flexural buckling can easily be found. If the slenderness ratio and the ratio of width to thickness are large, it is easy to find the interaction buckling of local buckling and flexural buckling.
Figure 12 shows the load–axial displacement curves of CFTWS-ULA specimens with lengths of 400 mm, 900 mm, 1500 mm, and 2100 mm, respectively. The law of change of load–axial displacement curves is consistent for different CFTWS-ULAs. The ultimate bearing capacities increase with the increase in the width–thickness ratios of the CFTWS-ULAs. The axial displacement corresponding to the ultimate bearing capacity also increases with the increase in length of the CFTWS-ULA.
Figure 12. Test load–axial displacement curves of CFTWS-ULAs.
Figure 12. Test load–axial displacement curves of CFTWS-ULAs.
Buildings 14 03132 g012aBuildings 14 03132 g012b

3. Finite Element Analysis

3.1. Establishment of Finite Element Model

ABAQUS is a finite element software that was utilized to simulate the CFTWS-ULA under axially oriented pressure. S4R shell elements and the ideal elastic-plastic model based on material characteristics obtained from coupon tests were used in the finite element analysis. The boundary conditions of the model are shown in Figure 13. The upper and lower ends were coupled to the centers RP-1 and RP-2, respectively. The top-end RP-1 restrained five degrees of freedom and released the vertical degrees of freedom to apply the load. The lower-end RP-2 restrained all the translational and rotational degrees of freedom. The restraints mean the fixed-ended conditions. The selected mesh size was 5 mm × 5 mm, which was suitable for the angle specimens by comparisons. The finite analysis was divided into two stages: at first, the elastic eigenvalue buckling analysis was conducted to obtain the buckling stress and the buckling type. In the second stage, the nonlinear analysis was conducted to obtain the ultimate load-carrying capacities and load–displacement curves. The arc-length method was used. The first-order buckling mode obtained from the elastic eigenvalue buckling was used as the shape of initial imperfections in the finite element analysis. The maximum values of the initial imperfections were taken as the measured initial imperfections, as shown in Table 2.

3.2. Validation of Finite Element Model

The buckling types and load–displacement curves of the CFTWS-ULA specimens were compared with the results of finite element simulation analysis, as shown in Figure 14 and Figure 15. The circled parts in Figure 14 are the failure areas of the CFTWS-ULAs in the tests and the red areas in the finite element are the corresponding failure parts. The buckling types and load–displacement curves analyzed by finite elements are the same as with the experiment results. The ultimate bearing capacities of angle specimens analyzed by the finite elements are shown in Table 4. The mean and coefficient of variation of the ratio of the ultimate bearing capacity of the test to the finite element analysis result are 0.9896 and 0.0002, which shows that the established finite element model is reliable.

4. Parametric Study

4.1. Parametric Design

In this paper, the ultimate load-carrying capacities and buckling properties of CFTWS-ULAs are comprehensively analyzed. The CFTWS-ULAs with the different cross-sectional parameters are simulated and analyzed by using a validated finite element model.
It can be seen that the width of the legs and the slenderness ratios of CFTWS-ULAs are the main factors that affect the buckling behavior and ultimate bearing capacity from the test results. So, these cross-sections of CFTWS-ULAs are selected for analysis by finite element as follows: the width–thickness ratios a/t of legs are 20, 30, 40, 50, and 60, thickness of angles is 2 mm, width ratios of the short leg to the long leg b/a are 0.4, 0.6, 0.8, and 1, and each cross-section has eight kinds of slenderness ratios, such as 10, 20, 40, 60, 80, 100, 120, and 150. There are a total of 160 CFTWS-ULA members.

4.2. Factors Affecting the Capacity of Axial Compression CFTWS-ULAs

4.2.1. Effect of Slenderness Ratio

The slenderness ratio is an important factor affecting the stability behavior and bearing capacity of a CFTWS-ULA. The curves of ultimate bearing capacities to slenderness ratios analyzed by the finite element for the unequal-leg angles with width–thickness ratios of 30 and 40 are shown in Figure 16. As shown in Figure 16, it can be seen that the ultimate bearing capacities of CFTWS-ULAs are greatly affected by the slenderness ratio. As the slenderness ratio of the angles increases, the ultimate bearing capacities of CFTWS-ULAs with different cross-sections decrease.

4.2.2. Effect of the Width Ratio of Legs

The width ratio of two legs is the ratio of the long leg to the short leg of the CFTWS-ULA. The cross-sectional area at the same width–thickness ratio affects the ultimate load-carrying capacity of the CFTWS-ULA as well as the buckling mode. The curves of ultimate bearing capacities to width ratios of legs (short leg to long leg) analyzed by the finite element for the CFTWS-ULAs with width–thickness ratios of 20 and 30 are shown in Figure 17. By comparing the analyzed results in Figure 17, it can be found that the width ratio of two legs is an important factor that influences the load-carrying capacity of the CFTWS-ULA. The ultimate capacities of the CFTWS-ULAs increase with the increase in the width ratio of two legs. The larger the width ratio of two legs, the smaller the load-carrying capacity of the CFTWS-ULA when the width–thickness ratio of legs is certain.

4.2.3. Effect of Width–Thickness Ratio

The width–thickness ratio reflects the cross-sectional shape characteristics of the cold-formed steel member and is an important parameter in the buckling behavior and capacity of the cold-formed steel member. Figure 18 demonstrates the relevant simulation and analysis results of CFTWS-ULAs. As shown in Figure 18, it can be seen that the increase in the width–thickness ratio leads to the expansion of the bearing capacity for the CFTWS-ULAs. When the slenderness ratio is fixed, the rate of the increase in the bearing capacity gradually slows down with the increase in the width–thickness ratio for the CFTWS-ULAs.

5. Design Recommendations

5.1. North American Specification

The North American Specification [22] uses the direct strength method to calculate the ultimate bearing capacities of the CFTWS-ULA columns. The ultimate bearing capacity Pd takes the smaller value of the global buckling capacity Pne and local–global interaction buckling capacity Pnl, which is calculated as follows.
The capacity of the global buckling capacity Pne is calculated as follows:
P n e = 0.658 λ c 2 F y A g             λ c 1.5 0.877 λ c 2 F y A g                           λ c > 1.5
where λ c = F y / F c r e , Fy is the yield strength, Fcre is the elastic global buckling stress of the CFTWS-ULA, and Ag is the gross area of the CFTWS-ULA.
The elastic global buckling stress Fcre for the CFTWS-ULA can be obtained using Equation (2).
F c r e σ e x F c r e σ e y F c r e σ t F c r e 2 F c r e σ e y x 0 r 0 2 F c r e 2 F c r e σ e x y 0 r 0 2 = 0
where σ e x denotes the flexural buckling stress around the primary x-axis, σ e y is the flexural buckling stress about the main y-axis, and σ t is the torsional buckling stress.
The calculation formulas are as follows:
σ e x = π 2 E K x L x / r x 2   ,   σ e y = π 2 E K y L y / r y 2   , σ t = 1 A g r 0 2 G J + π 2 E C w K t L t 2
where Kx, Ky, and Kt are the effective length factors for the flexural buckling about the x-axis, y-axis, and the twisting buckling, respectively.
The local–global interactive buckling capacity Pnl shall be calculated as follows:
P n l = P n e                   λ l 0.776 1 0.15 P c r l P n e 0.4 P c r l P n e 0.4 P n e   λ l > 0.776
where λ l = P n e / P c r l , Pne, and Pcrl are the axial strength of the overall buckling and the elastic local buckling strength.

5.2. Chinese Specification

In the China Technical Code for Cold-Formed Thin-Walled Steel Structures [23], the ultimate bearing capacity of the CFTWS-ULA can be calculated by using Equation (5):
P e = φ A e F y
where, φ is the global buckling coefficient, which calculated by the larger slenderness ratio between the weak axis and the strong axis and Ae is the effective area.

5.3. Elastic Local Buckling Stresses and Torsional Buckling Stresses for the CFTWS-ULAs

The local buckling stress and the torsional buckling stress of the CFTWS-ULA specimens under axial compression are shown in Table 4. The mean value and COV of ratios of the local buckling stress to the torsional buckling stress are 1.0497 and 0.0006, which indicates that the local buckling stress and the torsional buckling stress of the CFTWS-ULA specimens are basically the same. Therefore, it can be concluded that the nature of the buckling failure is the same for both buckling modes. However, the calculation methods for the bearing capacity of CFTWS-ULA in the existing specifications consider the effects of both buckling models. Therefore, this paper hereby suggests that only local buckling should be considered and torsional buckling should be ignored when the load-carrying capacity of CFTWS-ULAs is calculated.

5.4. New Design Proposals

The comparisons of ultimate bearing capacities of the CFTWS-ULA specimens between the test results Pt with the results Pd calculated using the North American specification and the results Pe calculated using the Chinese specification are shown in Table 4. The average value and COV of the ratios of the test results to the results calculated using the North American specification are 2.1896 and 0.5797, respectively. The mean and coefficient of variation of the ratios of the test results to the results calculated using the Chinese specification are 1.3862 and 0.0442, respectively. These comparisons indicate that the specification calculation results are too conservative. The main reason is that the local buckling and overall torsional buckling are identical in the nature of instability. However, the specification method considers both the local buckling and the overall torsional buckling when the load-carrying capacities of CFTWS-ULAs are calculated. So, it is suggested that the load-carrying capacity calculation for the cold-formed steel unequal-leg angles should consider the local buckling and ignore the torsional buckling.
For the direct strength method in the North American specification, the elastic overall buckling stress Fcre is taken only as the smaller of two flexural buckling stresses about two principal axes, i.e., the smaller of σ e x = π 2 E / K x L x / r x 2 and σ e y = π 2 E / K y L y / r y 2 is taken as the elastic overall buckling stress of the CFTWS-ULA.
For the effective width method in the Chinese specification, the slenderness ratio is only taken as the larger slenderness ratio of the overall flexural buckling about two principal axes when the coefficient of stability of the overall buckling is calculated.
The results of the load-carrying capacity of all CFTWS-ULA specimens calculated with the modified methods and the comparison with the test results are shown in Table 4. Comparison of the test results with the results predicted by the modified formula based on the direct strength method shows that the modified results coincide with the experimental results. The mean value and the COV are 1.0803 and 0.0082, respectively. The average value and the coefficient of variation of the ratio of the test results to the results calculated by the modified effective width method are 1.0908 and 0.0137, respectively. These comparisons indicate that the modified methods have good accuracy and applicability.

6. Conclusions

(1) In this paper, axial compression tests were conducted on 32 CFTWS-ULAs. The buckling modes and failure laws of CFTWS-ULA columns during the test were summarized and analyzed in detail. The test results showed that the CFTWS-ULAs with a smaller slenderness ratio underwent local buckling. The CFTWS-ULAs with the larger slenderness ratio and the smaller width–thickness ratio of legs underwent flexural buckling. The CFTWS-ULAs with the larger width–thickness ratio of legs underwent local–flexural interaction buckling.
(2) In addition, a nonlinear finite element model was established to obtain the buckling deformation and load–axial displacement curves. The analysis results were compared with those of the test specimens. The results showed that the established model was able to better predict the buckling mode, failure mode, and the ultimate load-carrying capacity of the CFTWS-ULAs. The validated model was applied to finite element parametric analysis to obtain the effects of different parameters on the ultimate load-carrying capacities of CFTWS-ULAs with the different parameters subjected to axial compression. The effects of the different slenderness ratios, the width–thickness ratios of legs, and the width ratios of two legs of the CFTWS-ULAs were analyzed. The analyzed results showed that the ultimate load-carrying capacities of CFTWS-ULAs decreased with the increase in the slenderness ratio. When the width–thickness ratio was certain, the effect of the width ratio of two legs that was greater than 0.8 on the ultimate bearing capacity of the CFTWS-ULAs decreased with the increase in the width ratios of two legs. When the slenderness ratio was certain, the effect of the width–thickness ratio that was greater than 50 on the ultimate bearing capacity decreased with the increase in the width–thickness ratios.
(3) The direct strength method in the North American specification and the effective width method in the Chinese specification were used to calculate the ultimate bearing capacities of CFTWS-ULAs under axial compression. The comparisons of the load-carrying capacities demonstrated that the calculated load-carrying capacities using two specification methods were too conservative for the test results because the specification methods consider the local buckling and the torsional buckling at the same time. For the CFTWS-ULA, the local buckling and the torsional buckling are the same in terms of stability. Therefore, the recommendation was proposed that the calculation method of the load-carrying capacity of the CFTWS-ULA should only consider the local buckling and ignore the torsional buckling. The ultimate bearing capacities of CFTWS-ULA specimens calculated by the proposed methods were compared with the test results. The comparisons showed that the proposed methods could more accurately calculate the ultimate bearing capacity of the CFTWS-ULA and can be used in engineering design.

7. Future Research

This paper has investigated the ultimate bearing capacities and the buckling modes of CFTWS-ULAs under axial compression. Further investigation should be conducted in the future.
  • This paper only focused on the cold-formed thin-walled unequal-leg angle; the buckling behavior and design method of cold-formed thin-walled steel lipped equal-leg and unequal-leg angles should be investigated.
  • This paper only focused on the axial compressed cold-formed thin-walled unequal-leg angle; the buckling behavior and design method of cold-formed thin-walled steel angles under eccentrical compression should be investigated.

Author Contributions

Conceptualization, X.Y. and Y.G.; methodology, Y.G.; validation, K.Z.; investigation, K.Z.; data curation, C.C.; writing—original draft preparation, Z.N.; writing—review and editing, X.Y. and Y.L.; funding acquisition, X.Y. All authors have read and agreed to the published version of the manuscript.

Funding

This research was funded by Key Project of Jiangxi Provincial Natural Science Foundation of China, grant number (20242BAB26074), and the National Natural Science Foundation of China, grant number (51868049).

Data Availability Statement

All the data included in this study are available upon request by contacting the corresponding author.

Conflicts of Interest

The authors declare no conflicts of interest.

References

  1. Li, Y.; Wang, S.; Shen, Z.; Yao, X. Experimental study and bearing capacity analysis of high-strength cold-formed thin-wall steel flanged slot section axial compression members. J. Build. Struct. 2010, 31, 17–25. [Google Scholar]
  2. Huang, L.; Yang, W.; Xu, J. Comparison of design methods for axial buckling capacity of cold-formed thin-wall channel steel. J. Xi’an Univ. Archit. Technol. (Nat. Sci. Ed.) 2010, 52, 177–183. [Google Scholar]
  3. Yao, X.; Yin, J.; Guo, Y. Test and design method for axial compression column of thin-wall flanged channel steel with web openings. Ind. Archit. 2021, 51, 113–122+208. [Google Scholar]
  4. Yao, X. Study on bearing capacity test and design method of cold-formed thin-wall steel short axial compression column with web openings. J. Ningxia Univ. (Nat. Sci. Ed.) 2022, 43, 41–50. [Google Scholar]
  5. Moen, C.D.; Schafer, B.W.; Asce, M. Direct Strength Method for Design of Cold-Formed Steel Columns with Holes. J. Struct. Eng. 2011, 137, 559–570. [Google Scholar] [CrossRef]
  6. Shi, X.; Cheng, X. Experimental study on axial compression of short columns of thin and flexible H-section steel members. J. Xi’an Univ. Archit. Technol. (Nat. Sci. Ed.) 2022, 54, 675–683. [Google Scholar]
  7. Zhong, W.; Duan, S.; Cui, W.; Tan, Z.; Zhen, Y.; Meng, B. Study on collapse resistance of composite beam and column structure with open web. J. Xi’an Univ. Archit. Technol. (Nat. Sci. Ed.) 2022, 54, 500–507. [Google Scholar]
  8. Dhanalakshmi, M.; Shanmugam, N.E. Design for openings in equal-angle cold formed steel stub columns. Thin-Walled Struct. 2001, 39, 167–187. [Google Scholar] [CrossRef]
  9. Ben, Y. Tests and design of fixed-ended cold-formed steel plain angle columns. J. Struct. Eng. 2004, 130, 1931–1940. [Google Scholar]
  10. Ben, Y.; Ellobody, E. Buckling Analysis of Cold-Formed Steel Lipped Angle Columns. J. Struct. Eng. 2005, 131, 1570–1579. [Google Scholar]
  11. Ben, Y.; Asce, M. Experimental Investigation of Cold-Formed Steel Lipped Angle Concentrically Loaded Compression Members. J. Struct. Eng. 2005, 131, 1390–1396. [Google Scholar]
  12. Behnam, B.S.; Leroy, G.; Wadee, M.A.; Pedro, B.D.; Dinar, C. Behaviour and design of fixed-ended steel equal-leg angle section columns. J. Constr. Steel Res. 2021, 182, 106649. [Google Scholar]
  13. Yao, X.; Zhang, S.; Cheng, J.; Guo, Y.; Chen, M.; Xiong, Q.; Liu, Y.; Hu, C. Study on flexural bearing capacity test and design method of complex flanged equal limb Angle steel under axial compression. J. Ningxia Univ. (Nat. Sci. Ed.) 2022, 43, 358–367. [Google Scholar]
  14. Yao, X.; Ruan, C.; Liu, Y.; Liu, Y.; Chen, H.; Guo, Y.; Zeng, K. Experiment and design of cold-formed steel equal-leg lipped angle under axial compression. Results Eng. 2024, 23, 102716. [Google Scholar] [CrossRef]
  15. Ban, H.; Shi, G.; Liu, Z.; Shi, Y.; Wang, Y.; Xing, H.; Li, M. Experiment of stability behavior of Q420 equal leg angles under axial compress. J. Build. Struct. 2011, 32, 60–67+112. [Google Scholar]
  16. Ben, Y.; Ehab, E. Design of cold-formed steel unequal angle compression members. Thin-Walled Struct. 2007, 45, 330–338. [Google Scholar]
  17. Ben, Y.; Ju, C. Column tests of cold-formed steel non-symmetric lipped angle sections. J. Constr. Steel Res. 2008, 64, 808–815. [Google Scholar]
  18. Li, J.; Li, Z.; Tang, Z.; Yang, F.; Han, J. Research on stability coefficient of cold formed unequal Angle steel axial compression bar. Electr. Power Constr. 2008, 7, 4–7. [Google Scholar]
  19. Yao, X.; Hu, C.; Liu, Y.; Guo, Y. Buckling experiment and design method of cold-formed thin-walled steel unequal-leg lipped angle under axial compression. J. Southwest Jiaotong Univ. 2023, 1–10. [Google Scholar]
  20. Yao, X.; Hu, C.; Nie, Z.; Guo, Y. Experiment and design method of cold-formed thin-walled steel unequal-legged complex-lipped angles under axial compression. Prog. Build. Steel Struct. 2023, 26, 1–11. [Google Scholar]
  21. GB/T228.1-2021; Metallic Materials Tensile Tests Part 1: Test Method at Room Temperature. Standards Press of China: Beijing, China, 2021.
  22. SIAI S100-16; North American Specification for the Design of Cold-Formed Steel Structural Members. American Iron and Steel Institute: Washington, DC, USA, 2016.
  23. GB50018-2002; Technical Specification for Cold-Formed Thin-Walled Steel Structures. Ministry of Construction of the People’s Republic of China. China Planning Press: Beijing, China, 2002.
Figure 1. Cross-section of unequal-leg angle.
Figure 1. Cross-section of unequal-leg angle.
Buildings 14 03132 g001
Figure 2. Specimen numbering rules.
Figure 2. Specimen numbering rules.
Buildings 14 03132 g002
Figure 3. Stress–strain curves.
Figure 3. Stress–strain curves.
Buildings 14 03132 g003
Figure 4. The measurement position of longitudinal initial geometric imperfections.
Figure 4. The measurement position of longitudinal initial geometric imperfections.
Buildings 14 03132 g004
Figure 5. Initial geometric imperfections of CFTWS-ULA specimens.
Figure 5. Initial geometric imperfections of CFTWS-ULA specimens.
Buildings 14 03132 g005
Figure 6. Device set-up.
Figure 6. Device set-up.
Buildings 14 03132 g006
Figure 7. Displacement meter layout.
Figure 7. Displacement meter layout.
Buildings 14 03132 g007
Figure 8. Buckling types of the 400 mm CFTWS-ULA specimens.
Figure 8. Buckling types of the 400 mm CFTWS-ULA specimens.
Buildings 14 03132 g008
Figure 13. Finite element model of CFTWS-ULA specimen.
Figure 13. Finite element model of CFTWS-ULA specimen.
Buildings 14 03132 g013
Figure 14. Comparison of buckling types between experiment and finite element analysis.
Figure 14. Comparison of buckling types between experiment and finite element analysis.
Buildings 14 03132 g014
Figure 15. Comparison of load–displacement curves between test and finite element analysis.
Figure 15. Comparison of load–displacement curves between test and finite element analysis.
Buildings 14 03132 g015
Figure 16. Curves between slenderness ratios and ultimate bearing capacities.
Figure 16. Curves between slenderness ratios and ultimate bearing capacities.
Buildings 14 03132 g016
Figure 17. Curves between width ratio of legs and ultimate bearing capacities.
Figure 17. Curves between width ratio of legs and ultimate bearing capacities.
Buildings 14 03132 g017
Figure 18. Curves of width-to-thickness ratios and ultimate bearing capacities.
Figure 18. Curves of width-to-thickness ratios and ultimate bearing capacities.
Buildings 14 03132 g018
Table 1. Nominal geometric dimensions of CFTWS-ULA specimens.
Table 1. Nominal geometric dimensions of CFTWS-ULA specimens.
Cross-Sectiona/mmb/mmt/mm
UPA303030302
UPA403040302
UPA604060402
UPA806080602
Table 2. Measured geometric dimensions of CFTWS-ULA specimens.
Table 2. Measured geometric dimensions of CFTWS-ULA specimens.
Specimena/mmb/mmt/mmL/mml
UPA3030-400-130.8630.151.96400.0030.53
UPA3030-400-230.2530.672.03400.0030.54
UPA3030-900-131.0130.391.99900.0070.18
UPA3030-900-230.4531.031.97900.0070.20
UPA3030-1500-130.6130.822.111499.00117.96
UPA3030-1500-230.4931.412.021498.95117.23
UPA3030-2100-130.8530.842.002099.00164.96
UPA3030-2100-230.7030.292.032100.00167.23
UPA4030-400-140.2530.951.96400.0027.50
UPA4030-400-240.4830.861.98399.6027.45
UPA4030-900-140.1430.521.92900.0064.34
UPA4030-900-240.2030.931.96900.0063.63
UPA4030-1500-140.7030.942.041500.00106.91
UPA4030-1500-240.9631.172.071500.00105.97
UPA4030-2100-140.2731.222.002100.00149.25
UPA4030-2100-240.3630.581.882101.13152.02
UPA6040-400-160.7340.842.03400.0020.43
UPA6040-400-260.9140.801.99400.0020.46
UPA6040-900-160.4041.362.00900.0046.80
UPA6040-900-260.9440.741.94900.0047.37
UPA6040-1500-161.0741.172.011500.0079.03
UPA6040-1500-260.9141.472.011498.0078.42
UPA6040-2100-161.4140.931.982101.23111.67
UPA6040-2100-261.8040.291.952101.17113.26
UPA8060-400-180.8360.911.97400.0013.91
UPA8060-400-281.1061.722.05400.0013.74
UPA8060-900-180.6961.512.01900.5031.98
UPA8060-900-281.1161.211.90900.0032.06
UPA8060-1500-181.8960.942.041500.0054.07
UPA8060-1500-281.4861.082.021499.4054.00
UPA8060-2100-181.5460.901.972101.0776.13
UPA8060-2100-280.9160.521.972101.0776.57
Table 3. Comparison of ultimate bearing capacities and buckling types of test, finite element analysis, calculated by North American specification, Chinese code, and the modified methods.
Table 3. Comparison of ultimate bearing capacities and buckling types of test, finite element analysis, calculated by North American specification, Chinese code, and the modified methods.
SpecimenBuckling ModePt/KNPfe/KNPd/KNPmd/KNPe/KNPme/KNPt/PfePt/PdPt/PmdPt/PePt/Pme
ExperimentFinite Element
UPA3030-400-1L + FL + F36.8536.95 26.98 36.48 30.18 31.72 0.9971.3661.0101.2211.162
UPA3030-400-2L + FL + F39.2439.6929.36 38.77 31.93 33.32 0.983 1.336 1.012 1.229 1.178
UPA3030-900-1L + FL + F36.5436.90 25.29 30.18 24.52 26.01 0.990 1.445 1.2111.490 1.405
UPA3030-900-2L + FL + F35.5736.00 24.83 29.73 24.30 25.76 0.9881.4321.1961.464 1.381
UPA3030-1500-1FF17.6917.18 15.41 17.02 14.83 15.35 1.030 1.148 1.0401.193 1.153
UPA3030-1500-2FF16.7517.24 14.86 16.65 14.50 15.04 0.972 1.1271.006 1.155 1.113
UPA3030-2100-1FF8.638.94 7.88 8.27 7.59 7.73 0.965 1.096 1.044 1.1371.116
UPA3030-2100-2FF8.318.66 7.71 8.10 7.45 7.60 0.960 1.0771.0261.116 1.094
UPA4030-400-1LL36.6237.28 22.88 35.85 30.53 33.90 0.982 1.601 1.021 1.2001.080
UPA4030-400-2LL38.2638.00 23.39 36.40 30.81 34.35 1.0071.6361.051 1.242 1.114
UPA4030-900-1L + FL + F29.8830.43 19.99 28.76 24.55 27.05 0.982 1.495 1.039 1.217 1.105
UPA4030-900-2L + FL + F31.3231.95 21.19 30.09 25.72 28.00 0.980 1.478 1.041 1.2181.118
UPA4030-1500-1L + FL + F21.621.82 17.24 21.57 16.97 18.04 0.990 1.253 1.001 1.273 1.198
UPA4030-1500-2L + FL + F22.2422.53 17.94 22.36 17.51 18.83 0.987 1.240 0.995 1.270 1.181
UPA4030-2100-1L + FL + F12.5612.33 10.22 11.71 10.42 10.85 1.018 1.229 1.0731.205 1.158
UPA4030-2100-2L + FL + F10.8911.07 9.03 10.56 9.41 9.76 0.984 1.207 1.0311.158 1.116
UPA6040-400-1LL48.0748.47 17.17 41.24 32.95 44.05 0.9922.800 1.1661.459 1.091
UPA6040-400-2LL46.2347.15 16.11 39.81 31.67 43.03 0.981 2.870 1.161 1.460 1.074
UPA6040-900-1L + FL + F40.9641.35 16.18 36.89 30.12 38.83 0.9912.532 1.110 1.360 1.055
UPA6040-900-2L + FL + F38.8939.39 14.58 34.65 27.72 37.00 0.987 2.667 1.122 1.403 1.051
UPA6040-1500-1L + FL + F30.9931.35 15.20 30.06 23.98 30.02 0.989 2.0391.031 1.292 1.032
UPA6040-1500-2L + FL + F31.0131.41 15.30 30.31 24.19 30.28 0.987 2.027 1.023 1.2821.024
UPA6040-2100-1L + FL + F22.3622.61 13.01 21.04 16.61 19.18 0.989 1.719 1.063 1.346 1.166
UPA6040-2100-2L + FL + F21.5421.77 12.29 19.99 15.85 18.48 0.989 1.753 1.078 1.359 1.166
UPA8060-400-1LL57.3457.25 12.06 44.77 28.57 55.35 1.002 4.754 1.281 2.007 1.036
UPA8060-400-2LL60.1261.01 13.56 48.25 31.63 58.34 0.985 4.432 1.246 1.9011.031
UPA8060-900-1LL55.1355.57 12.78 44.65 29.38 53.29 0.992 4.314 1.235 1.876 1.035
UPA8060-900-2LL51.1951.04 10.73 40.35 25.19 50.02 1.003 4.7691.269 2.033 1.023
UPA8060-1500-1LL45.0145.15 12.95 41.32 28.16 49.22 0.997 3.476 1.0891.598 0.915
UPA8060-1500-2LL43.9744.29 12.65 40.71 27.61 48.72 0.993 3.475 1.080 1.593 0.902
UPA8060-2100-1L + FL + F30.7730.98 11.51 33.60 23.44 37.56 0.993 2.674 0.9161.313 0.819
UPA8060-2100-2L + FL + F30.1830.74 11.59 33.42 23.37 36.99 0.982 2.6040.903 1.292 0.816
UPA3030-400-1L + FL + F36.8536.95 26.98 36.48 30.18 31.72 0.9971.3661.0101.2211.162
Mean0.9898 2.1896 1.0803 1.3862 1.0908
Coefficient of variation0.0002 0.5797 0.0082 0.0442 0.0137
Note: Pt, Pfe, Pd, Pmd, Pe, and Pme are the test ultimate capacities, the ultimate capacities analyzed by finite element, the ultimate capacities computed by the Direct Strength Method in North American specification, the ultimate capacities computed by the Modified Direct Strength Method, the ultimate capacities computed by the Chinese Code, and the ultimate capacities computed by the Modified Chinese code, respectively.
Table 4. Local buckling stress and torsional buckling stress of the cold-formed steel unequal-leg angle specimens under axial compression.
Table 4. Local buckling stress and torsional buckling stress of the cold-formed steel unequal-leg angle specimens under axial compression.
SpecimenstFcrlst/FcrlSpecimenstFcrlst/Fcrl
UPA3030-400-1335.26 330.79 1.01 UPA6040-400-1116.42 110.45 1.05
UPA3030-400-2361.00 356.30 1.01 UPA6040-400-2111.26 106.05 1.05
UPA3030-900-1341.46 335.99 1.02 UPA6040-900-1113.60 107.41 1.06
UPA3030-900-2333.36 330.86 1.01 UPA6040-900-2105.85 100.12 1.06
UPA3030-1500-1383.38 381.19 1.01 UPA6040-1500-1112.70 107.28 1.05
UPA3030-1500-2345.61 341.31 1.01 UPA6040-1500-2112.95 107.32 1.05
UPA3030-2100-1341.79 339.61 1.01 UPA6040-2100-1108.52 103.55 1.05
UPA3030-2100-2359.74 357.97 1.00 UPA6040-2100-2104.55 100.29 1.04
UPA4030-400-1234.11 219.92 1.06 UPA8060-400-159.27 55.47 1.07
UPA4030-400-2237.61 220.97 1.08 UPA8060-400-263.49 59.17 1.07
UPA4030-900-1227.46 211.96 1.07 UPA8060-900-161.57 57.61 1.07
UPA4030-900-2234.94 218.91 1.07 UPA8060-900-254.71 51.20 1.07
UPA4030-1500-1249.45 234.30 1.06 UPA8060-1500-162.23 58.50 1.06
UPA4030-1500-2253.79 236.56 1.07 UPA8060-1500-261.43 57.73 1.06
UPA4030-2100-1242.83 226.30 1.07 UPA8060-2100-158.44 54.93 1.06
UPA4030-2100-2215.77 202.76 1.06 UPA8060-2100-259.35 55.56 1.07
Mean1.0497
Coefficient of variation0.0006
Disclaimer/Publisher’s Note: The statements, opinions and data contained in all publications are solely those of the individual author(s) and contributor(s) and not of MDPI and/or the editor(s). MDPI and/or the editor(s) disclaim responsibility for any injury to people or property resulting from any ideas, methods, instructions or products referred to in the content.

Share and Cite

MDPI and ACS Style

Guo, Y.; Nie, Z.; Yao, X.; Liu, Y.; Chen, C.; Zeng, K. Experimental Study and Design Method of Cold-Formed Thin-Walled Steel Unequal-Leg Angles under Axial Compression. Buildings 2024, 14, 3132. https://doi.org/10.3390/buildings14103132

AMA Style

Guo Y, Nie Z, Yao X, Liu Y, Chen C, Zeng K. Experimental Study and Design Method of Cold-Formed Thin-Walled Steel Unequal-Leg Angles under Axial Compression. Buildings. 2024; 14(10):3132. https://doi.org/10.3390/buildings14103132

Chicago/Turabian Style

Guo, Yanli, Zeyu Nie, Xingyou Yao, Yilin Liu, Chong Chen, and Kaihua Zeng. 2024. "Experimental Study and Design Method of Cold-Formed Thin-Walled Steel Unequal-Leg Angles under Axial Compression" Buildings 14, no. 10: 3132. https://doi.org/10.3390/buildings14103132

APA Style

Guo, Y., Nie, Z., Yao, X., Liu, Y., Chen, C., & Zeng, K. (2024). Experimental Study and Design Method of Cold-Formed Thin-Walled Steel Unequal-Leg Angles under Axial Compression. Buildings, 14(10), 3132. https://doi.org/10.3390/buildings14103132

Note that from the first issue of 2016, this journal uses article numbers instead of page numbers. See further details here.

Article Metrics

Back to TopTop